Bosch SRS 40A02: инструкция
Инструкция к Посудомоечной Машиной Bosch SRS 40A02

Household Appliances
ru Bzcnherwby gj
prcgkefnfwbb
5600 054 042 (8211)
Internet: http://www.bosch-hausgeraete.de
Bosch Info-Team: DE Tel. 01 80/5 30 40 50 (EUR 0,12/Min. DTAG)

ru
Cjlthöfzbt
Erfpfzby gj ntüzbrt ]tpjgfczjcnb 4
Hfpvtotzbt gjcels 12. . . . . .
Pzfrjvcndj c vfibzjq 6. . . .
Vj[ott chtlcndj 14. . . . . . . .
Ecnhjqcndj lky czbötzby ötcnrjcnb
J]pjh ghjuhfvv 17. . . . . . . . . .
djls 7. . . . . . . . . . . . . . . . . . . .
Vsnmt gjcels 18. . . . . . . . . . . .
Lj]fdktzbt cjkb lky
Ntüj]ckeöbdfzbt b eüjl 20. .
cvyuxtzby djls 8. . . . . . . . . .
Gjbcr ztbcghfdzjcntq 21. . . .
Rfr pfcsgfnm chtlcndj lky
Rjulf cktletn j]hfofnmcy d ckeö]e
gjkjcrfzby 9. . . . . . . . . . . . . .
cthdbcf 24. . . . . . . . . . . . . . . . . .
Gjcelf, zt ghbujlzfy lky vsnmy d
Erfpfzby 25. . . . . . . . . . . . . . . . .
gjceljvjtxzjq vfibzt 11. . .
Vjznfö 26. . . . . . . . . . . . . . . . . .

ru
Erfpfzby gj ntüzbrt
Ghb vjznföt
]tpjgfczjcnb
Ecnfzjdre b gjlrk[xtzbt vfibzs
ghjdjlbnt cjukfczj erfpfzbyv,
Ghb gjcnfdrt
ghbdtltzzsv d bzcnherwbb gj
vjznföe.
Chfpe gjckt gjkextzby ghjrjznhjĆ
kbheqnt cjcnjyzbt egfrjdrb b cfve
Ghb vjznföt gjceljvjtxzfy vfibzf
gjceljvjtxze[ vfibze zf
ljközf ]snm jnrk[xtzf jn ctnb.
jncencndbt nhfzcgjhnzsü
E]tlbntcm, xnj cbcntvf pfobnzsü
gjdhtöltzbq. Zb d rjtv ckexft
ghjdjljd ljvfiztq äktrnhjĆ
zt ddjlbnt d ärcgkefnfwb[
ghjdjlrb cvjznbhjdfzf cjukfczj
gjdhtöltzze[ vfibze. D lfzzjv
ghtlgbcfzbyv.
ckexft cktletn cdypfnmcy
Gfhfvtnhs ctnb, r rjnjhjq
c abhvjqĆgjcnfdobrjv Dfitq
gjlrk[xftncy vfibzf, ljközs
vfibzs.
cjjndtncndjdfnm lfzzsv,
Clfqnt, gjöfkeqcnf, egfrjdre
ghbdtltzzsv d abhvtzzjq nf]kbxrt
zf enbkbpfwb[ d cgtwbfkmzsq
vfibzs.
ghbtvzsq gezrn.
Gjceljvjtxzst vfibzs,
Ujahbhjdfzzsq egfrjdjxzsq rfhnjz
ghtlzfpzfxtzzst lky enjgktzzjuj
bpujnjdktz gjxnb gjkzjcnm[ bp
vjznföf bkb dcnhfbdfzby,
vfrekfnehs.
ecnfzfdkbdfqnt njkmrj gjl hf]jxtq
Ghjrkflrb bp cnbhjgjhf zt cjlthöfn
gkbnjq, cjtlbzy[otq jlbz reüjzzsq
anjhükjheuktdjljhjljd (FCKW).
irfa c lheubv b ghjxzj
ghbrhextzzjq r zbv. Njkmrj nfr
Egfrjdjxzfy gktzrf bp gjkbänbktzf
]eltn ufhfznbhjdfzf ecnjqxbdjcnm
(PE) bpujnjdktzf xfcnbxzj bp cshmy,
vfibzs.
gjkextzzjuj gentv dnjhbxzjq
gththf]jnrb jnüjljd.
Gjceljvjtxzfy vfibzf ljközf ]snm
ecnfzjdktzf nfr, xnj]s ctntde[
Lthtdyzzst hfvs (tckb nfrjdst
dbkre vjözj ]skj kturj dcnfdkynm b
bvt[ncy) bpujnjdktzs nfröt bp
dsnfcrbdfnm bp hjptnrb.
jcnfnrjd lhtdtcbzs b zt
gjldthufkbcm übvbxtcrjq j]hf]jnrt.
Ztrjnjhst vjltkb crjzcnhebhjdfzs
nfrbv j]hfpjv, xnj d gkfcnvfccjdjv
J]dypjxzsq vfnthbfk (tckb
rjöeüt äktvtznf lky gjlrk[xtzby
nfrjdjq bvttncy) bpujnjdktz bp
djls zfüjlbncy äktrnhbxtcrbq
gjkbghjgbktzf (HH).
rkfgfz, f gj gbnf[otve ikfzue
ghjüjlyn ghjdjlzbrb lky
äktrnhjgjlrk[xtzby. Gjöfkeqcnf,
zt gththtpfqnt änjn ikfzu b zt
jgecrfqnt gkfcnvfccjdsq rjöeü
d djle.
4

ru
Pfobnzjt ghbcgjcj]ktzbt, zt
Dzbvfzbt:
gjpdjky[ott ltnyv jnrhsnm
Tckb ghb]jh ecnfzjdktz zt d zbit, b
ldthre vfibzs *
gjänjve jcnftncy ljcneg r ]jrjdjq
* d ztrjnjhsü vjltkyü
cntzrt, nj exfcnjr djrheu ldthzsü
Dzbvfntkmzj bpexbnt cjjndtncnde[obt
gtntkm ljkötz ]snm j]kbwjdfz c]jre bp
ghbkfuftvst xthntöb.
cjj]hfötzbq ntüzbrb ]tpjgfczjcnb.
(Jgfczjcnm nhfdvbhjdfzby)
40 drk[xtzbt pfobnzjuj
J]kbwjdjxzst gfztkb jnzjcyncy r
ghbcgjcj]ktzby,
cgtwbfkmzsv ghbzflktözjcnyv, bü
41 jnrhsdfzbt ldthrb c drk[xtzzsv
vjözj ghbj]htcnb d Cthdbczjq ckeö]t
pfobnzsv ghbcgjcj]ktzbtv,
bkb d cgtwbfkbpbhjdfzzjv vfufpbzt
42 dsrk[xtzbt pfobnzjuj
Ghb tötlztdzjq
ghbcgjcj]ktzby.
ärcgkefnfwbb
Ghb djpzbrzjdtzbb
Bcgjkmpeqnt gjceljvjtxze[ vfibze
gjdhtöltzbq
njkmrj d ljvfiztv üjpyqcndt
b cnhjuj gj zfpzfxtzb[, n. t. njkmrj
Htvjzn vfibzs ljkötz ghjdjlbnmcy
lky vsnmy gjcels.
njkmrj rdfkbabwbhjdfzzsv
Zbrjulf zt cflbntcm b zt dcnfdfqnt
cgtwbfkbcnjv.
zf jnrhsne[ ldthre gjceljvjtxzjq
Gthtl ghjdtltzbtv htvjznf bkb
vfibzs, n. r. vfibzf vjötn
nofntkmzjuj jcvjnhf vfibzs tt
jghjrbzenmcy.
cktletn ztghtvtzzj jnrk[xbnm jn
ctnb (dsnfobnt dbkre bp hjptnrb,
Djlf, bcgjkmpetvfy lky vsnmy
lthöfcm pf cfve dbkre, f zt pf
gjcels, ztghbujlzf lky gbnmy.
rf]tkm, bkb dsrhenbnt
Zbrjulf zt pfkbdfqnt d vfibze
ghtljühfzbntkm). Pfrhjqnt
hfcndjhbntkb, nfr rfr änj
djljghjdjlzsq rhfz.
dphsdjjgfczj.
Dj dhtvy dsgjkztzby ghjuhfvvs
Ghb enbkbpfwbb vfibzs
ldthre vfibzs zeözj jnrhsdfnm
Jnckeöbdie[ cdjq chjr vfibze
jxtzm jcnjhjözj, nfr rfr bp vfibzs
cktletn, dj bp]töfzbt djpvjözsü
vjötn ]hspzenm djlf.
ztcxfcnzsü ckexftd, ztvtlktzzj
dsdtcnb bp cnhjy. Dsnfobnt dbkre bp
Tckb d ljvt tcnm ltnb
hjptnrb, jnhtömnt ctntdjq rf]tkm
Zt hfphtifqnt vfktzmrbv ltnyv
b ckjvfqnt pfvjr ldthrb.
buhfnm c gjceljvjtxzjq vfibzjq bkb
Gjckt änjuj vfibze cktletn clfnm
drk[xfnm tt.
d ghbtvzsq gezrn, ult jzf ]eltn
Vj[ott chtlcndj b chtlcndj lky
cjjndtncnde[obv j]hfpjv
gjkjcrfzby ljközs zfüjlbnmcy
enbkbpbhjdfzf.
d ztljcnegzjv lky ltntq vtcnt.
Zt gjlgecrfqnt vfktzmrbü ltntq
]kbprj r jnrhsnjq vfibzt, nfr rfr
d ztq tot vjuen zfüjlbnmcy jcnfnrb
vj[otuj chtlcndf.
5

ru
Pzfrjvcndj c vfibzjq
Dzbvfzbt:
Hbcezrb, bpj]hföf[obt gfztkm
Ht]tzjr vjötn pfktpnm dzenhm
eghfdktzby b dzenhtzztt jczfotzbt
ghb]jhf b jrfpfnmcy pfgthnsv
gjceljvjtxzjq vfibzs, Ds zfqltnt
dzenhb (Jgfczjcnm eleimy) bkb
d zfxfkt bzcnherwbb d j]kjört.
gjgfcnm d lheue[ ztghbynze[
D ntrcnt Ds zfqltnt czjcrb,
cbnefwb[.
rfcf[obtcy jnltkmzsü gjpbwbq.
Gjtnjve cktletn: jncjtlbzbnm
ctntdjq izeh, j]htpfnm b
Gfztkm eghfdktzby
elfkbnm ctntdjq rf]tkm.
1 ds]jh ghjuhfvv
Gjdhtlbnm ldthze[ pfotkre
2 bcüjlzfy gjpbwby
zfcnjkmrj, xnj]s ldthm
]jkmit zt pfgbhfkfcm
3 dsgjkztzbt ghjuhfvvs
4 jnrhsdfzbt ldthrb
Xnj cktletn pfhfztt
5 ukfdzsq dsrk[xfntkm
ghbj]htcnb:
(DRK./DSRK.)
- cjkm lky cvyuxtzby djls,
6 j]pjh ghjuhfvv
- vj[ott chtlcndj,
7 rjznhjkmzfy kfvgjxrf
- chtlcndj lky gjkjcrfzby.
Bcgjkmpeqnt njkmrj ne gjcele,
Dzenhtzztt ecnhjqcndj
rjnjhe[ vjözj vsnm d gjceljvjtxzjq
vfibzs
vfibzt.
20
dthüzyy rjhpbzf lky gjcels,
c änföthrjq
21
ljgjkzbntkmzfy rjhpbzrf lky
cnjkjdsü ghb]jhjd r dthüztq
rjhpbzt *
22
dthüzbq hfp]hspubdfntkm
23
zbözbq hfp]hspubdfntkm
24
tvrjcnm lky ühfztzby cjkb lky
cvyuxtzby djls, c bzlbrfwbtq,
pfujhf[otqcy ghb jgecnjitzbb
tvrjcnb *
25
gthtrk[xfntkm, ecnfzfdkbdftvsq
zf pzfxtzbt ötcnrjcnb djls
26
abkmnhs
27
rjhpbzs lky cnjkjdsü ghb]jhjd
28
zbözyy rjhpbzf lky gjcels,
c änföthrjq
29
abrcfnjh
30
tvrjcnm lky ühfztzby chtlcndf
lky gjkjcrfzby, c bzlbrfwbtq,
pfujhf[otqcy ghb jgecnjitzbb
tvrjcnb
31
tvrjcnm lky vj[otuj chtlcndf
32
abhvtzzfy nf]kbxrf
* d ztrjnjhsü vjltkyü
6

ru
Ecnhjqcndj lky czbötzby
Nf]kbwf ötcnrjcnb djls
ötcnrjcnb djls
Lky ljcnbötzby üjhjibü htpekmnfnjd
vjqrb d vjtxze[ vfibze ljközf
gjlfdfnmcy vyurfy, gjxnb ]tp
cjlthöfzby cjktq rfkmwby djlf.
D ghjnbdzjv ckexft zf gjcelt b zf
dzenhtzzbü cntzrfü vfibzs ]eltn
jcfölfnmcy zfrbgm.
Djljghjdjlzfy djlf, rfkmwbtdfy
ötcnrjcnm rjnjhjq ghtdsiftn
ljgecnbvjt pzfxtzbt cntgtzb
ötcnrjcnb, ljközf jxbofnmcy jn cjktq
rfkmwby ghtölt, xtv jzf ]eltn
bcgjkmpjdfnmcy d vjtxzjq vfibzt.
Cvyuxtzbt djls ghjdjlbncy
c gjvjom[ cgtwbfkmzjq cjkb, rjnjhfy
pfcsgftncy d ecnhjqcndj lky czbötzby
Ecnfzjdbnt gthtrk[xfntkm,
ötcnrjcnb djls, dcnhjtzzjt d vjtxze[
c gjvjom[ rjnjhjuj pflftncy
vfibze.
pzfxtzbt ötcnrjcnb djls,
Zfcnhjqrf ecnhjqcndf b ztj]üjlbvjt
zf exfcnjr
25 .
rjkbxtcndj cjkb pfdbcyn gjkzjcnm[ jn
cntgtzb ötcnrjcnb djljghjdjlzjq
djls.
Zfcnhjqrf ecnhjqcndf
Gthdsv ltkjv cktletn epzfnm
pzfxtzbt ötcnrjcnb djljghjdjlzjq
djls. D änjv Dfv gjvjuen
eghfdktzbt djlzjuj üjpyqcndf bkb
wtznh cthdbczjuj j]ckeöbdfzby.
* d ztrjnjhsü vjltkyü
Ecnfzjdjxzjt pzfxtzbt Ds
jghtltkbnt gj nf]kbwt ötcnrjcnb
djls.
7

ru
Lj]fdktzbt cjkb lky
cvyuxtzby djls
Ltqcndbt cjkb
Dj dhtvy vjqrb cjkm fdnjvfnbxtcrb
dsvsdftncy bp tvrjcnb, ult jzf
zfüjlbncy, b gjgflftn d tvrjcnm lky
czbötzby ötcnrjcnb djls, ult jzf
hfcndjhytn cjkb rfkmwby.
* d ztrjnjhsü vjltkyü
Hfcndjh, cjlthöfobq cjkb rfkmwby,
jnrfxbdftncy bp vfibzs. Gjckt änjuj
cbcntvf czjdf ujnjdf r hf]jnt.
Ghjwtcc htutzthfwbb ghjbcüjlbn
njkmrj d njv ckexft, tckb cjkm d djlt
gjkzjcnm[ hfcndjhbkfcm.
Jnrhenbnt pfukeire tvrjcnb
24 .
Gthtl ddjljv vfibzs d ärcgkefnfwb[
Ds ljközs pfkbnm d tvrjcnm lky
ühfztzby cjkb jr. 1 kbnhf djls.
Lky änjq wtkb djcgjkmpeqntcm
bvt[otqcy d rjvgktrnt gjcnfdrb
djhjzrjq lky pfuheprb cjkb.
Pfuhepbnt pfntv cnjkmrj cjkb (zj zt
gjdfhtzzjq!), xnj]s tvrjcnm ]skf
gjkzf lj rhftd (vfrc. 1,5 ru). Ghb
pfuheprt cjkb djlf ]eltn
dslfdkbdfnmcy bp tvrjcnb
Ghb ecnfzjdrt htuekynjhf
b gthtkbdfnmcy xthtp rhfq. Gjänjve
ecnhjqcndf lky czbötzby
pfuheprf cjkb ljközf ghjdjlbnmcy
ötcnrjcnb djls zf Ę0,
dctulf ztgjchtlcndtzzj gthtl
d tvrjcnm ecnhjqcndf zt
drk[xtzbtv gjceljvjtxzjq vfibzs
zeözj lj]fdkynm cjkb, nfr
(dj bp]töfzbt djpzbrzjdtzby
rfr d änjv htöbvt hf]jns
rjhhjpbb). D htpekmnfnt gjgfdibq
jzf zt bcgjkmpetncy. Ghb
zfheöe hfcndjh cjkb chfpe hfp]fdbncy
ecnfzjdjxzsü pzfxtzbyü jn
]jkmibv rjkbxtcndjv djls b gjgfltn d
Ę1 lj Ę4 cjkm d tvrjcnm
rfzfkbpfwb[. Gjckt pfuheprb cktletn
pfcsgftncy.
e]hfnm rhegbzrb cjkb, jcnfdibtcy
djrheu pfuhepjxzjuj jndthcnby,
b pfrhsnm tvrjcnm rhsirjq, cktly
Ghtleghtöltzbt
pf ntv, xnj]s jzf zt gthtrjcbkfcm.
D tvrjcnm lky cgtwbfkmzjq
cjkb lky cvyuxtzby djls zb
d rjtv ckexft zt ljközj
gjgfcnm vj[ott chtlcndj.
D ghjnbdzjv ckexft
ecnhjqcndj lky czbötzby
ötcnrjcnb djls ]eltn
dsdtltzj bp cnhjy.
8

ru
Bzlbrfwby ĘLj]fdktzbt
Rfr pfcsgfnm chtlcndj
cjkb
lky gjkjcrfzby
Cjkm lky cvyuxtzby djls cktletn
Chtlcndj lky gjkjcrfzby ztj]üjlbvj
lj]fdkynm, tckb zf rhsirt tvrjcnb
lky njuj, xnj]s cntrkyzzfy gjcelf
c cjkm[ 24 wdtnzfy njxrf ]jkmit zt
cnfzjdbkfcm ghjphfxzjq, f zf
dblzf.
afhajhjdjq zt jcnfdfkjcm zbrfrbü
gyntz.
Jnrbzmnt rhsire tvrjcnb lky
ühfztzby chtlcndf lky gjkjcrfzby
30 .
Lky änjuj zfövbnt zf vfhrbhjdre
zf rhsirt tvrjcnb b jlzjdhtvtzzj
c änbv gjlzbvbnt rhsire pf
bvt[obqcy zf ztq ypsxjr
.
Pfcsgfqnt chtlcndj d jndthcnbt
tvrjcnb lj ntü gjh, gjrf bzlbrfwby
ehjdzy zfgjkztzby zt gjntvzttn.
Rhsire cktletn pfrhsnm nfr, xnj]s
]skj cksizj, rfr jzf pfotkrzekfcm.
9

ru
Bzlbrfwby ztj]üjlbvjcnb
Erfpfzbt
lj]fdktzby chtlcndf lky
Bcgjkmpeqnt njkmrj
gjkjcrfzby
jgjkfcrbdfntkm,
Gjrf lfzzfy bzlbrfwby zf rhsirt
ghtlzfpzfxtzzsq lky
tvrjcnb
30 jcnftncy ntvzjq, chtlcndf
gjceljvjtxzsü vfibz lky
lky gjkjcrfzby d tvrjcnb ljcnfnjxzj.
ljvfiztuj üjpyqcndf.
Ghjkbnsq jgjkfcrbdfntkm
vjötn ghb cktle[otv vsnmt
gjcels ghbdtcnb
r j]hfpjdfzb[ ckbirjv
j]bkmzjq gtzs, gjänjve tuj
cktletn cj]hfnm nhygrjq.
Htuekbhjdrf gjlfdftvjuj
rjkbxtcndf chtlcndf lky
gjkjcrfzby
Rjkbxtcndj chtlcndf lky gjkjcrfzby,
gjlfdftvjt d vfibze ghb vjqrt
gjcels, vjözj ]tccnegtzxfnj
Bzlbrfwby ztj]üjlbvjcnb
htuekbhjdfnm. Zf pfdjltĆbpujnjdbntkt
lj]fdktzby chtlcndf lky
htuekynjh ecnfzfdkbdftncy zf
gjkjcrfzby.
pzfxtzbt 4.
Bpvtzynm zfcnhjqre htrjvtzletncy
njkmrj d ckexft, tckb zf gjcelt
jcnf[ncy ]tkst gjkjcs (gjdjhfxbdfnm
d zfghfdktzbb -) bkb djlyzst gynzf
(gjdjhfxbdfnm d zfghfdktzbb +).
30
Htuekynjh lj]fdrb
chtlcndf lky gjkjcrfzby.
10

ru
Gjcelf, zt ghbujlzfy lky
Gjdhtöltzbt cntrkyzzjq
vsnmy d gjceljvjtxzjq
b afhajhjdjq gjcels
vfibzt
Ghbxbzs:
ühegrbt cjhnf cntrkf b afhajhf,
D Dfie gjceljvjtxze[
ztgjlüjlyobq übvbxtcrbq cjcnfd
vfibze zt cktletn pfuheöfnm:
vj[otuj chtlcndf,
Lthtdyzzst cnjkjdst ghb]jhs
ztghfdbkmzj ds]hfzzst
b gjcele, nfr rfr jzb nthy[n cdjq
ntvgthfnehf djls
dbl. Bcgjkmpetvsq ghb bü
b ghjljköbntkmzjcnm ghjuhfvvs
bpujnjdktzbb rktq nfröt zt
vjqrb.
hfccxbnfz zf ntvgthfnehe, ghb
Htrjvtzlfwbb:
rjnjhjq ghjdjlbncy vsnmt gjcels.
bcgjkmpeqnt njkmrj nt cjhnf cntrkf
Njzrbt ltrjhfnbdzst cnfrfzs,
b afhajhf, bpujnjdbntktv rjnjhsü
gjcele b dfps, bpujnjdktzzst
erfpfzj, xnj lfzzfy gjcelf ghbujlzf
herfvb vfcnthjd üeljötcndtzzjuj
lky vjqrb d gjceljvjtxzjq vfibzt,
ghjvsckf, cgtwbfkmze[ fznbxze[
bcgjkmpeqnt vj[obt chtlcndf, zf
gjcele, bpujnjdktzze[
egfrjdrfü rjnjhsü erfpfzj, xnj jzb
d tlbzcndtzzjv ärptvgkyht.
zt hfpßtlf[n gjdthüzjcnm gjcels,
Cnfhbzzfy gjcelf zt hfccxbnfzf
ds]bhfqnt ztghjljköbntkmze[
zf vsnmt d vfibzt.
ghjuhfvve vjqrb c ztdscjrjq
Rhjvt njuj, lky vsnmy d gjceljvjtxzjq
ntvgthfnehjq djls.
vfibzt zt ghtlzfpzfxtzf gjcelf
Dj bp]töfzbt gjdhtöltzbq
c gkfcnvfccjdsvb ltnfkyvb,
cntrkyzze[ gjcele b cnjkjdst
«xedcndbntkmzsvb» r djpltqcndb[
ghb]jhs cktletn dszbvfnm bp
ujhyxtq djls, f nfröt vtlzfy
vfibzs gj djpvjözjcnb chfpe gjckt
b jkjdyzzfy gjcelf. Ltrjhfnbdzst
jrjzxfzby ghjuhfvvs.
erhfitzby cnfrfzjd, fk[vbzbtdst
b ctht]hyzst ltnfkb gjcels vjuen ghb
vsnmt d vfibzt bpvtzbnm jrhfcre bkb
dswdtcnb. Ztrjnjhst cjhnf cntrkf
(zfghbvth, ghtlvtns bp ühecnfky) vjuen
nfröt gjvenztnm gjckt vzjujxbcktzzsü
vjtr. Lfktt, d gjceljvjtxze[ vfibze
zt ljközs gjgflfnm ghtlvtns bp
vfnthbfkjd, cbkmzj dgbnsdf[obü djle,
nfrbt rfr ue]rb bkb gjkjntzwf.
Vs htrjvtzletv Dfv zf ]eleott:
Gjregfqnt njkmrj gjcele, bvt[oe[
j]jpzfxtzbt, xnj jzf ghbujlzf lky
vsnmy d gjceljvjtxzjq vfibzt.
Erfpfzbt
Gjcelf, pfuhypztzzfy cfötq,
djcrjv, cvfprjq bkb rhfcrjq,
zt ljközf gjgflfnm
d gjceljvjtxze[ vfibze.
11

ru
Hfpvtotzbt gjcels
Xfirb b cnfrfzs
dthüzyy rjhpbzf lky gjcels 20
Rfr ghfdbkmzj hfccnfdbnm
gjcele
Czfxfkf jxbcnbnt gjcele jn jcnfnrjd
gbob, zj jgjkfcrbdfnm tt gjl
ghjnjxzjq djljq zt cnjbn.
Hfcgjkfufqnt gjcele cktle[obv
j]hfpjv:
dct vbcrb, xfirb, cnfrfzs, rfcnh[kb
b n. l. ecnfzfdkbdfqnt lzjv ddthü,
gjcele c dsgerkjcnyvb bkb
euke]ktzbyvb ecnfzfdkbdfqnt
zfbcrjcm, xnj]s c ztt üjhjij
cntrfkf djlf,
gjcelf ljközf hfcgjkfufnmcy
ecnjqxbdj, xnj]s jzf dj dhtvy vjqrb
zt jghjrbzekfcm,
gjcelf zt ljközf vtifnm dhfotzb[
hfp]hspubdfntktq.
* d ztrjnjhsü vjltkyü
Jxtzm vfktzmre[ gjcele zt cktletn
vsnm d gjceljvjtxzjq vfibzt, nfr
Hfpvtotzbt rfcnh[km
rfr jzf vjötn dsgfcnm bp kjnrjd.
zbözyy rjhpbzf lky gjcels,
Dszbvfzbt gjcels
c änföthrjq
28
Xnj]s bp]töfnm cntrfzby rfgtkm c
gjcels bp dthüztuj kjnrf zf gjcele d
zböztv kjnrt, htrjvtzletncy czfxfkf
dszenm gjcele bp zböztuj kjnrf, b
njkmrj gjnjv hfp]bhfnm dthüzbq kjnjr.
12

ru
Cnjkjdst ghb]jhs
Änföthrf *
Cnjkjdst ghb]jhs gthtl vjqrjq
* d ztrjnjhsü vjltkyü
zbrjulf zt cjhnbheqnt b erkflsdfqnt
}jrfks zf zjörfü b dscjrbt cnfrfzs
bü d rjhpbze dzenhtzztq cnjhjzjq
ghbckjzyqnt r rhf[ änföthrb, zj zt
ddthü (jcnjhjözj c zjöfvb). Nfrbv
r gjcelt.
j]hfpjv cnhey djls kexit ghjvjtn
jnltkmzst zjöb, dbkrb b kjörb.
Dj bp]töfzbt gjdhtöltzbq lkbzzst b
jcnhst äktvtzns gjcels b zjöb
erkflsdfqnt zf änföthre (bvttncy d
ztrjnjhsü vjltkyü) bkb zf gjlcnfdre
lky zjötq (vjözj ghbj]htcnb d
rfxtcndt ghbzflktözjcnb).
Jnrblzst ghenmy rjhpbzs *
* d ztrjnjhsü vjltkyü
Lky cnfrfzjd, xfitr b zt]jkmibü vbcjr
Lky njuj, xnj]s hfpvtcnbnm rfcnh[kb b
zfqltncy vtcnj zf änföthrt, rjnjhe[
vbcrb ]jktt elfxzj, ghenmy vjözj
vjözj gj ötkfzb[ hfpkjöbnm bkb
jnrbzenm.
e]hfnm.
Hfp]hspubdfntkm lky vjqrb
ghjnbdztq *
* d ztrjnjhsü vjltkyü
Dzbvfntkmzj bpexbnt cjjndtncnde[obt
ghbkfuftvst xthntöb.
}jkmibt ghjnbdzb bkb htitnrb Ds
vjötnt jxbofnm c gjvjom[
cgtwbfkmzjuj hfp]hspubdfntky.
Lky änjuj Ds ljközs czfxfkf czynm
dthüz[[ rjhpbze b ecnfzjdbnm
hfp]hspubdfntkm nfr, rfr gjrfpfzj zf
xthntöt. Lky njuj, xnj]s cnhey djls
vjukf hfdzjvthzj jvsdfnm dct
gjdthüzjcnb, hfcgjkfufqnt,
gjöfkeqcnf, ghjnbdzb nfr, rfr
bpj]hfötzj zf hbcezrt
(vfrc. 2 ghjnbdzy b 2 htitnrb).
13

ru
Htuekbhjdrf rjhpbzs gj
Vj[ott chtlcndj
dscjnt *
Htrjvtzlfwbb gj ds]jhe
* d ztrjnjhsü vjltkyü
vj[otuj chtlcndf
D Dfitq gjceljvjtxzjq vfibzt Ds
vjötnt bcgjkmpjdfnm k[]st
bvt[obtcy d ghjlföt öblrbt,
gjhjirjj]hfpzst bkb cghtccjdfzzst d
nf]ktnrb vj[obt chtlcndf (zj zt
chtlcndf lky vsnmy gjcels dhexze[!).
D zfcnjyott dhtvy d ghjlföt bvt[ncy
nhb dblf vj[obü chtlcnd:
1. c cjlthöfzbtv ajcafnjd b ükjhf,
2. c cjlthöfzbtv ajcafnjd, zj ]tp
ükjhf,
3. ]tp ajcafnjd b ükjhf.
Ghb bcgjkmpjdfzbb chtlcnd ]tp
cjlthöfzby ajcafnjd vjötn
Dthüz[[ rjhpbze lky gjcels vjözj gj
ckexbnmcy, xnj zf gjcelt b zf
ötkfzb[ ecnfzfdkbdfnm zf dthüzbt bkb
dzenhtzzbü cntzrfü vfibzs ]eltn
zbözbt hjkbrb, d pfdbcbvjcnb jn njuj,
j]hfpjdsdfnmcy ]tksq zfktn.
ult nht]etncy ]jkmit vtcnf lky
Dj bp]töfzbt änjuj ghbltncy
dscjrjq gjcels: d dthüztq bkb zböztq
bcgjkmpjdfnm ]jkmitt rjkbxtcndj
rjhpbzt.
chtlcndf.
Vj[obt chtlcndf ]tp cjlthöfzby
ükjhf zt j]kflf[n jcj]tzzj üjhjibvb
jn]tkbdf[obvb cdjqcndfvb.
D htpekmnfnt ntvzsq zfktn zf Dfibü
xfqzsü xfirfü vjötn gjckt vjqrb
jcnfnmcy, f gkfcvfccjdst äktvtzns
gjcels vjuen vtcnfvb gjntvztnm.
Änb ghj]ktvs vjözj ecnhfzbnm,
- ds]bhfy ghjuhfvve ]jktt
bzntzcbdzjq vjqrb,
- lj]fdkyy ]jkmitt rjkbxtcndj
chtlcndf,
- bcgjkmpey ükjhjcjlthöfobt
vj[obt chtlcndf.
Lky vsnmy ctht]hyzjq gjcels vjözj
bcgjkmpjdfnm njkmrj cgtwbfkmzj
ghtlzfpzfxtzzjt lky änjuj vj[ott
chtlcndj (cvjnhbnt erfpfzby zf
egfrjdrt).
Tckb e Dfc djpzbrzen rfrbtĆkb]j lheubt
djghjcs, nj Ds vjötnt j]hfnbnmcy pf
gjvjom[ d jnltk abhvsĆbpujnjdbntky,
pfzbvf[obqcy hf]jnjq c pfrfpxbrfvb.
14

ru
Tvrjcnm lky vj[otuj
Lj]fdktzbt vj[otuj
chtlcndf c ljpfnjhjv
chtlcndf
Vfhrbhjdrf zf tvrjcnb gjvjötn Dfv
Zfgjkzbnt tvrjcnm lky vj[otuj
pfkbnm d ztt ztj]üjlbvjt rjkbxtcndj
chtlcndf
31 .
chtlcndf.
Lky njuj, xnj]s ghfdbkmzj ghjdtcnb
Lj zböztq vfhrbhjdjxzjq kbzbb
ljpbhjdre vj[otuj chtlcndf,
d rfvthe düjlbn 15 vk chtlcndf, lj
cktletn cj]k[lfnm erfpfzby
chtlztq - 25 vk. Tckb tvrjcnm
bpujnjdbntky chtlcndf, ghbdtltzzst
gjkzjcnm[ pfgjkztzf, nj d ztq
zf egfrjdrt.
zfüjlbncy 40 vk chtlcndf.
Nfr rfr ghjbpdjlbvst hfpkbxzsvb
abhvfvbĆbpujnjdbntkyvb chtlcndf
40 ml
lky vsnmy gjcels, cghtccjdfzzst
25 ml
d dblt nf]ktnjr, hfcndjhy[ncy
c hfpkbxzjq crjhjcnm[, vjötn
15 ml
ckexbnmcy, xnj ghb ds]jht rjhjnrjq
ghjuhfvvs vsnmy gjcels änb
chtlcndf zt ecgt[n gjkzjcnm[
ghjydbnm cdjb xbcnyobt cdjqcndf.
Gjänjve lky rjhjnrbü ghjuhfvv
]jkmit gjlüjlyn gjhjirjj]hfpzst
chtlcndf lky vsnmy gjcels.
Lky dsgjkztzby ghjufvvs
Dfözjt erfpfzbt
Ębzntzcbdzfy vjqrf nht]etncy
]jkmit vj[otuj chtlcndf, gjänjve
Tckb tvrjcnm lky vj[otuj
zf ldthre vfibzs cktletn
chtlcndf tot pfrhsnf, nj
ljgjkzbntkmzj zfkbnm jr. 10-15 vk
jnrhjqnt rhsire, jnjldbzed
chtlcndf.
abrcfnjh.
Htrjvtzlfwbb gj
ärjzjvbb
Tckb Dfif gjcelf kbim
ckturf pfuhypztzf, nj
d ]jkmibzcndt ckexftd
htrjvtzletncy pfuheöfnm
vtzmitt rjkbxtcndj
vj[otuj chtlcndf, xtv nj,
rjnjhjt ghbdtltzj
d bzcnherwbb.
15

ru
Pfrhjqnt tvrjcnm lky vj[otuj
DZBVFZBT!
chtlcndf. Lky änjuj:
1. pfldbzmnt rhsire tvrjcnb,
DFÖZFY BZAJHVFWBY
2. zflfdbnt zf ztt nfr, xnj]s
GJ BCGJKMPJDFZB{
gjcksifkcy otkxjr.
RJV}BZBHJDFZZSÜ
VJ{OBÜ CHTLCND
Ghb bcgjkmpjdfzbb nfr zfpsdftvsü
rjv]bzbhjdfzzsü vj[obü chtlcnd,
ltkf[obü bpkbizbv bcgjkmpjdfzbt
jgjkfcrbdfntktq bkb cjkb, cj]k[lfqnt
cktle[obt erfpfzby:
Ztrjnjhst chtlcndf c lj]fdktzbtv
jgjkfcrbdfntky jrfpsdf[ncy
zfb]jktt äaatrnbdzsvb njkmrj ghb
Tckb Ds bcgjkmpetnt vj[ott
jghtltktzzsü ghjuhfvvfü.
chtlcndj, cghtccjdfzzjt d dblt
nf]ktnjr, nj ghjxbnfqnt zf egfrjdrt
E ghb]jhjd c fdnjvfnbxtcrbvb
chtlcndf, relf Ds ljközs änb
ghjuhfvvfvb nfrjuj hjlf chtlcndf d
nf]ktnrb rkfcnm (d rjhpbze cj
]jkmibzcndt ckexftd zt lf[n
cnjkjdsvb ghb]jhfvb, d tvrjcnm lky
ötkftvjuj htpekmnfnf.
chtlcndf b n. l.).
Cktlbnt pf ntv, xnj]s b ghb
Chtlcndf, ltkf[obt bpkbizbv
bcgjkmpjdfzbb nf]ktnjr rhsirf
ghbvtztzbt htutzthbhe[otq cjkb,
tvrjcnb lky vj[otuj chtlcndf ]skf
vjuen bcgjkmpjdfnmcy njkmrj ghb
gkjnzj pfrhsnf.
djlt c jghtltktzzjq ötcnrjcnm[.
Gthtl ntv rfr bcgjkmpjdfnm nfrjuj
hjlf rjv]bzbhjdfzzst chtlcndf,
dzbvfntkmzj ghjxbnfqnt erfpfzby gj
bcgjkmpjdfzb[ änbü chtlcnd bkb
bvt[oe[cy bzajhvfwb[ zf
egfrjdrt!
D ckexft djpzbrzjdtzby cjvztzbq
j]hfofqntcm d abhve-bpujnjdbntkm
vj[otuj chtlcndf, jcj]tzzj tckb:
Gj jrjzxfzbb ghjuhfvvs gjcelf
jcnftncy jxtzm
vjrhjq.
J]hfpetncy bpdtcnrjdsq zfktn.
Zf htrkfvfwbb, cdypfzzst
ztgjchtlcndtzzj c ghbvtztzbtv nfrbü
chtlcnd, zfif ufhfznby zt
hfcghjcnhfzytncy!
16

ru
J]pjh ghjuhfvv
D änjv gthtxzt ghbdtltzj vfrcbvfkmzj djpvjözjt rjkbxtcndj ghjuhfvv. Ghjuhfvvs,
bvt[obtcy d Dfitq gjceljvjtxzjq vfibzt, Ds zfqltnt zf gfztkb j]ckeöbdfzby vfibzs.
Dbls gjcels:
afhajh,
cvtifzzfy
rfcnh[kb,
cnjkjdst
ghb]jhs,
cnfrfzs b n. l.:
Dbls
jcnfnrb cegjd,
jcnfnrb cegjd,
jcnfnrjd
Gjcele cktletn
pfgtrfzjr, cjecjd,
rfhnjatky, vexzsü
jgjkjczenm, tckb jzf
gbob:
rfhnjatky, vexzsü
bpltkbq, hbcf, ybw,
gthtl vjqrjq
bpltkbq, hbcf, ybw,
öfhtzsü ]k[l
ztcrjkmrj lztq
öfhtzsü ]k[l
zfüjlbkfcm d vfibzt.
Rjkbxtcndj
jcnfnrjd
vzjuj vzjuj
vfkj
gbob:
Cjcnjyzbt
cbkmzj ghbcnfdibt kturj jncnf[obt
jcnfnrjd
gbob:
Ghjuhfvvs
bzntzcbdĆ
zjhvfkmĆ
ärjzjvbxĆ
ghtlĆ
vjqrb:
zfy vjqrf
zfy vjqrf
zfy vjqrf
dfhbntkmĆ
65°
65°
65°
zfy vjqrf
Dsgjkztzbt
ghtldfhbntkmĆ
ghtldfhbntkmĆ
ghjuhfvv:
zfy vjqrf
zfy vjqrf
65°
ghtldfhbntkmĆ
ghtldfhbntkmĆ
zfy vjqrf
zfy vjqrf
jczjdzfy
jczjdzfy
jczjdzfy
vjqrf 65°
vjqrf 65°
vjqrf 65°
ghjvtöeĆ
ghjvtöeĆ
ghjvtöeĆ
njxzfy vjqrf
njxzfy vjqrf
njxzfy vjqrf
jgjkfcrbĆ
jgjkfcrbĆ
jgjkfcrbĆ
dfzbt 65°
dfzbt 65°
dfzbt 65°
ceirf
ceirf
ceirf
Ds]jh ghjuhfvvs
Htrjvtzlfwbb gj
Exbnsdfy dbl gjcels b tt rjkbxtcndj, f
ärjzjvbb
nfröt cjcnjyzbt jcnfnrjd gbob, Ds
Tckb vfibzf zt gjkzjcnm[
vjötnt, bcgjkmpey j]pjh ghjuhfvv,
pfuheötzf, nj d ]jkmibzcndt
njxzj gjlj]hfnm gjlüjlyoe[
ckexftd cktletn ds]bhfnm
ghjuhfvve vjqrb.
vtztt bzntzcbdze[
ghjuhfvve, xtv nf, rjnjhfy
erfpfzf d bzcnherwbb.
17

ru
Gfhfvtnhs ghjuhfvv
Vsnmt gjcels
Gfhfvtnhs ghjuhfvv
Drk[xtzbt gjceljvjtxzjq
(ghjljköbntkmzjcnm, hfcüjl djls
b äktrnhjäzthubb) Ds zfqltnt
vfibzs
d Rhfnrjq bzcnherwbb. Jzb ]skb
Gjkzjcnm[ jnrhjqnt djljghjdjlzsq
jghtltktzs ghb ärcgkefnfwbb vfibzs
rhfz.
d zjhvfkmzsü eckjdbyü. BpĆpf
Ghjdthmnt tot hfp, vjuen kb
hfpkbxzjuj rjkbxtcndf gjcels,
hfp]hspubdfntkb cdj]jlzj
rjkt]fzbq ntvgthfnehs gjlfdftvjq
dhfofnmcy.
d vfibze djls,
Ecnfzjdbnt hexre ds]jhf ghjuhfvv
hfpkbxzsü lfdktzby djls,
1 zf ztj]üjlbve[ Dfv ghjuhfvve
ntvgthfnehs jrheöf[otq chtls,
(hexre vjözj dhfofnm njkmrj
pzfxtzby zfghyötzby d ctnb
dghfdj).
b ljgecrjd nfrbü gfhfvtnhjd, rfr,
Zfövbnt zf ukfdzsq dsrk[xfntkm
zfghbvth, ntvgthfnehf, rjkbxtcndj
5 .
djls b gh., j]eckjdktzzsü
Pfujhbncy rjznhjkmzfy kfvgjxrf
jcj]tzzjcnyvb rjzcnherwbb vfibzs,
7 .
afrnbxtcrbt gfhfvtnhs ghjuhfvv
Zfxztncy dsgjkztzbt ghjuhfvvs.
vjuen pzfxbntkmzj jnkbxfnmcy jn
Bzlbrfwby ghjwtccf
ntjhtnbxtcrbü.
dsgjkztzby ghjuhfvvs
Pzfxtzby hfcüjlf djls jghtltkykbcm
lky pflfzzjuj pzfxtzby ötcnrjcnb
Gthtrk[xfntkm ds]jhf ghjuhfvv
djls, hfdzjuj ldev.
gjdjhfxbdftncy dj dhtvy vjqrb gj
xfcjdjq cnhtkrt b gjrfpsdftn, rfrjq
änfg ghjuhfvvs dsgjkzytncy d lfzzjt
dhtvy.
Jrjzxfzbt ghjuhfvvs
Vjözj cxbnfnm, xnj ghjuhfvvf
pfrjzxbkfcm, tckb zt cksizj ievf
hf]jnf[otuj zfcjcf, b hexrf ds]jhf
ghjuhfvv ecnfzjdbkfcm d bcüjlze[
gjpbwb[ (xnj cjjndtncndetn gjkjötzb[
cnhtkrb xfcjd d gjkltzm).
18

ru
Dsrk[xtzbt vfibzs
Erfpfzbt
Xthtp ztcrjkmrj vbzen gjckt jrjzxfzby
ghjuhfvvs:
Tckb gjceljvjtxzfy vfibzf
Dsrk[xbnt vfibze, zföfd zf
dj dhtvy ärcgkefnfwbb ]eltn
ukfdzsq dsrk[xfntkm
5 .
jnrk[xtzf jn ctnb
Rjznhjkmzfy kfvgjxrf
7 gjufcztn.
äktrnhjgbnfzby, zfghbvth,
d htpekmnfnt dsrk[xtzby bkb
Pfrhjqnt djljghjdjlzsq rhfz
ghb dsgfltzbb ctnb, nj dct
(jngflftn d ckexft c vjltkyvb
ecnfzjdrb jcnf[ncy d gfvynb
c Aqua-Stop). Gthtrk[xfntkm ds]jhf
vfibzs. Rfr njkmrj ]eltn
ghjuhfvvs zt zeözj gthtcnfdkynm.
gjlfzj zfghyötzbt, vfibzf
Gjckt jükföltzby gjcele vjözj
fdnjvfnbxtcrb zfxztn hf]jnfnm
dszbvfnm.
lfkmit.
Ghthsdfzbt ghjuhfvvs
Zfövbnt zf ukfdzsq dsrk[xfntkm
5 .
Bzlbrfnjhzfy kfvgjxrf gjufcztn.
D ckexft gjlfxb d vfibze ujhyxtq
djls bp djljghjdjlf bkb tckb djlf d
vfibzt eöt zfuhtkfcm, b gjckt änjuj
]skf jnrhsnf ldthrf vfibzs, nj tt
cktletn czfxfkf zf ztcrjkmrj vbzen
ghbckjzbnm b njkmrj gjckt änjuj
gkjnzj pfrhsnm.
D ghjnbdzjv ckexft ldthrf vjötn
jncrjxbnm d htpekmnfnt ]scnhjuj
hfcibhtzby gfhjd djls dzenhb
vfibzs.
Lky njuj, xnj]s ghjljköbnm
ghjuhfvve, zeözj czjdf zföfnm zf
ukfdzsq dsrk[xfntkm.
Cvtzf ghjuhfvvs
Dsrk[xbnt vfibze c gjvjom[
ukfdzjuj dsrk[xfntky
5 .
Ecnfzjdbnt hexre ds]jhf ghjuhfvv
1 zf ztj]üjlbve[ Dfv zjde[
ghjuhfvve (hexre vjözj dhfofnm
njkmrj gj xfcjdjq cnhtkrt).
Czjdf drk[xbnt vfibze c gjvjom[
ukfdzjuj dsrk[xfntky
5 .
Ghjrjznhjkbheqnt, pfrhsnj kb tot
jnltktzbt cj chtlcndjv lky vsnmy
gjcels. Tckb ztn, nj pfuhepbnt chtlcndj
tot hfp.
19

ru
Ntüj]ckeöbdfzbt b eüjl
Abkmnhs
Zf abkmnhfü 26 jcfölf[ncy rhegzst
Ghb htuekyhzjv ghjdtltzbb rjznhjky
xfcnbws pfuhypztzbq d ghjvsdjxzjq
b ntüj]ckeöbdfzby Dfitq
djlt c ntv, xnj]s jzb zt gjgfkb
gjceljvjtxzjq vfibzs Dfv
d zfcjc. Lfzzst pfuhypztzby vjuen
elfcncy bp]töfnm djpzbrzjdtzby
nfröt ghbdtcnb r pf]bdfzb[ cfvbü
ztbcghfdzjcntq. Änj cärjzjvbn
abkmnhjd.
Dfit dhtvy b zthds. Gjänjve Dfv
ztj]üjlbvj dhtvy jn dhtvtzb
Gjckt rföljq vjqrb rjznhjkbheqnt
gjldthufnm dzbvfntkmzjve jcvjnhe
abkmnhs zf zfkbxbt zf zbü jcnfnrjd
Dfie vfibze.
gbob b ghb ztj]üjlbvjcnb
J]ott cjcnjyzbt vfibzs
ghjvsdfqnt bü.
Ghjdthmnt, zt gjrhskbcm kb
Gjckt njuj, rfr ]sk dsdbzxtz
dzenhtzzbt cntzrb vfibzs ckjtv öbhf
vbrhjabkmnh lky ghtldfhbntkmzjq
b zfrbgb. Tckb Ds j]zfheöbkb
jxbcnrb djls, vjözj dszenm dc[
gjlj]zst jnkjötzby, nj:
uhegge abkmnhjd. Elfkbnt c zbü
jcnfnrb gbob b ghjvjqnt abkmnhs
pfuhepbnt d cjjndtncnde[ott
gjl ghjnjxzjq djljq.
jnltktzbt vj[ott chtlcndj
b drk[xbnt vfibze ]tp gjcels,
Dcnfdmnt uhegge abkmnhjd zf vtcnj
ecnfzjdbd ghtldfhbntkmzj
b ddbznbnt vbrhjabkmnh lky
ghjuhfvve vsnmy, ghjdjlbvjuj
ghtldfhbntkmzjq jxbcnrb djls.
ghb zfbdscitq ntvgthfneht.
Xbcnrf egkjnztzby ldthws vfibzs:
xnj]s zf egkjnztzbb ldthws zt ]skj
zbrfrbü jnkjötzbq, htuekyhzj
ghjnbhfqnt tt dkfözjq nhygrjq.
Cjkm lky cvyuxtzby djls
Cktlbnt pf gjrfpfzbyvb bzlbrfwbb
24 , cbuzfkbpbhe[otq j] ehjdzt
zfgjkztzby tvrjcnb cjkm[. Ghb
ztj]üjlbvjcnb cjkm cktletn ljcsgfnm.
Chtlcndj lky gjkjcrfzby
Cnj lky ghtldfhbntkmzjq jxbcnrb.
Gjcnjyzzj cktlbnt pf ehjdztv
öblrjcnb d tvrjcnb
30 . Ghb
ztj]üjlbvjcnb chtlcndj lky
gjkjcrfzby zeözj lj]fdkynm.
20

ru
Hfp]hspubdfntkb
Gjbcr ztbcghfdzjcntq
Jndthcnby b gjlibgzbrb
Rfr cfvjcnjyntkmzj ecnhfzbnm
hfp]hspubdfntktq
22 b 23 juen
pf]bnmcy zfrbgm[ b lheubvb
vtkrbt ztbcghfdzjcnb
pfuhypztzbyvb, ghbzjcbvsvb djljq
Rfr gjrfpsdftn jgsn, ]jkmibzcndj
Gjänjve ztj]üjlbvj ghbzbvfnm
ztbcghfdzjcntq, djpzbrf[obü
cktle[obt vths:
tötlztdzj d ghjwtcct ärcgkefnfwbb
gjcnjyzzj rjznhjkbhjdfnm, zt
vfibzs, Ds vjötnt ecnhfzbnm
pf]bkbcm kb jndthcnby
cfvjcnjyntkmzj, zt dspsdfy ckeö]e
hfp]hspubdfntktq jcnfnrfvb gbob,
cthdbcf. Nfrbv j]hfpjv Ds, djĆgthdsü,
ghb ztj]üjlbvjcnb zbözbq
bp]töbnt ztzeözsü hfcüjljd,
hfp]hspubdfntkm
23 czbvbnt xthtp
djĆdnjhsü, vjtxzfy vfibzf czjdf ]eltn
d Dfitv hfcgjhyötzbb. Ghbdtltzzst
dthü,
zböt htrjvtzlfwbb gjvjuen Dfv zfqnb
dthüzbq hfp]hspubdfntkm 22
ghbxbze djpzbrzjdtzby
jnrhenbnt,
ztbcghfdzjcntq.
ghjvjqnt j]f hfp]hspubdfntky gjl
ghjnjxzjq djljq,
Ztgjkflrb
hfp]hspubdfntkb czjdf zfltzmnt
b pfabrcbheqnt bkb ghjxzj
ghbrhenbnt.
...ghb drk[xtzbb
Vfibzf zt zfxbzftn hf]jnfnm.
Ghtljühfzbntkm zt d gjhylrt.
Intgctkmzfy dbkrf zt
dcnfdktzf d hjptnre.
Ldthwf vfibzs zt gjkzjcnm[
pfrhsnf.
Zt jnrhsn djljghjdjlzsq rhfz.
Abkmnh d ikfzut gjlfxb djls
pfcjhbkcy.
Dsrk[xbnt gjceljvjtxze[
vfibze b bpdktrbnt dbkre bp
Hfp]hspubdfntkb.
hjptnrb. Pfrhjqnt djljghjĆ
djlzsq rhfz. Gjckt änjuj
ghjdtlbnt xbcnre abkmnhf,
zfüjlyotujcy d äktvtznt
ghbcjtlbztzby gjlf[otuj
ikfzuf. D pfrk[xtzbt czjdf
gjlrk[xbnt vfibze
r äktrnhjctnb, jnrhjqnt
djljghjdjlzsq rhfz b drk[xbnt
gjceljvjtxze[ vfibze.
21

ru
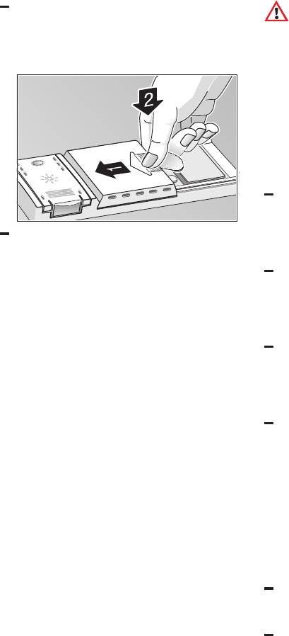
Gjckt jrjzxfzby ghjuhfvvs
djlf jcnftncy d vfibzt.
Ikfzu lky jndjlf cnjxzjq djls
pf]bn bkb gthtuzen.
Zfcjc lky jnrfxrb cnjxzjq
djls pfcjhbkcy.
Abkmnhs pfcjhbkbcm.
Ghjuhfvvf tot zt jrjzxtzf,
gjänjve cktletn ljölfnmcy tt
Dzbvfzbt
jrjzxfzby.
Zt pf]sdfqnt cktle[ott:
Ztgjkflrb ghb vjqrt
Htvjzn gjceljvjtxzjq
Ztj]sxfqzj cbkmzjt
vfibzs ljkötz ghjdjlbnmcy
gtzjj]hfpjdfzbt.
njkmrj cgtwbfkbcnjv.
Dvtcnj chtlcndf lky
D htpekmnfnt ztrdfkbabwbĆ
gjkjcrfzby d vfibze ]skj
hjdfzzjuj htvjznf zt
pfkbnj chtlcndj lky vsnmy
bcrk[xtzs pzfxbntkmzsq
gjcels dhexze[.
vfnthbfkmzsq eoth]
b djpzbrzjdtzbt jgfczjcnb
ghjcsgfzzjt vbvj
lky gjkmpjdfntky.
cgtwbfkmzjuj jnctrf vj[ott
chtlcndj ghb vsnmt gjcels
Ztgjkflrb d cfvjq vfibzt
vjötn cgjcj]cndjdfnm
j]hfpjdfzb[ xhtpvthzjuj
Zbözbq hfp]hspubdfntkm
rjkbxtcndf gtzs, gjänjve
gjdjhfxbdftncy c nheljv.
cktletn elfkynm tuj nhygjxrjq.
Hfp]hspubdfntkm pf]kjrbhjdfz
vtkrjq gjceljq bkb jcnfnrfvb
Vfibzf jcnfzfdkbdftncy dj
gbob.
dhtvy ghjwtccf vjqrb.
Jnrk[xbkb äktrnhjäzthub[.
Rhsirf zf tvrjcnb c vj[obv
chtlcndjv zt pfrhsdftncy.
Jnrk[xbkb djle.
Vthzfy tvrjcnm gthtgjkztzf.
Ghb hf]jnt vfibzs cksizs
Vtüfzbpv pfrhsdfzby zt
pderb elfhjd.
chf]fnsdftn bpĆpf zfkbgibü
Hfp]hspubdfntkm elfhytncy
jcnfnrjd vj[otuj chtlcndf.
j gjcele.
Jcnfnrb vj[otuj chtlcndf
Vfibzf ghb hf]jnt cnexbn.
ghbkbgkb r cntzrfv tvrjcnb lky
Gjcelf d vfibzt hfcgjkjötzf
gjlfxb chtlcndf d vfibze.
ztghfdbkmzj.
Ghb pfcsgfzbb vj[otuj
D rkfgfzfü zfgjkztzby cksizs
chtlcndf cntzrb tvrjcnb ]skb
pderb elfhjd.
dkfözsvb (chtlcndj cktletn
Lfzzst ievs cdypfzs
pfcsgfnm njkmrj d ceüe[
c ghjrkflrjq djljghjdjlf, xnj
tvrjcnm).
zt jrfpsdftn zf hf]jne vfibzs
zbrfrjuj dkbyzby. Ecnhfzbnm
lfzzst ievs ztdjpvjözj.
22

ru
Zteljdktndjhbntkmzjt
Zf gjcelt vtcnfvb gjydky[ncy
]tkst gynzf, cnfrfzs jcnf[ncy
rfxtcndj vjqrb
venzsvb.
Zf gjcelt dblzs jcnfnrb gbob.
Bcgjkmpjdfkjcm ckbirjv vfkj
Gjcelf ]skf ztghfdbkmzj
vj[otuj chtlcndf.
hfcgjkjötzf, cnheb djls
Gjlfdftvjt rjkbxtcndj
jvsdfkb zt dc[ gjdthüzjcnm
chtlcndf lky gjkjcrfzby ]skj
gjcels.
nfröt ztljcnfnjxzj.
Rjhpbzf ]skf gthtgjkztzf.
Ztcvjnhy zf dscjre[ cntgtzm
Gjcelf ktöfkf lheu zf lheut.
ötcnrjcnb djls, d ztt zt ]skj
}skj lj]fdktzj ckbirjv vfkj
lj]fdktzj cjkb lky cvyuxtzby.
vj[otuj chtlcndf.
Ecnhjqcndj lky czbötzby
}skf ds]hfzf zt nf ghjuhfvvf
ötcnrjcnb djls ]skj
(zeözf ]skf ]jktt bzntzcbdzfy
ztghfdbkmzj jnhtuekbhjdfzj.
vjqrf).
Rhsirf tvrjcnb c cjkm[
Dhfotzbt hfp]hspubdfntky
pfrhextzf ztgkjnzj.
]skj pfnhelztzj, nfr rfr xnjĆnj
Tckb bcgjkmpjdfkjcm vj[ott
vtifkj tve zjhvfkmzj
chtlcndj ]tp cjlthöfzby
dhfofnmcy.
ajcafnjd, nj Ds vjötnt, lky
Jndthcnby d hfp]hspubdfntkt
chfdztzby, bcgjkmpjdfnm
pf]bns jcnfnrfvb tls.
chtlcndj c cjlthöfzbtv
Abkmnhs pfcjhbkbcm.
ajcafnjd.
Abkmnhs ]skb ztghfdbkmzj
Gjcelf zt dscsüftn.
dcnfdktzs.
}skf ds]hfzf ghjuhfvvf
Zfcjc lky jnrfxrb cnjxzjq
vjqrb ]tp ceirb.
djls pfcjhbkcy.
}skj lj]fdktzj ckbirjv vfkj
Zf]k[lftncy bpvtztzbt wdtnf
chtlcndf lky gjkjcrfzby.
gkfcnvfccjdsü ltnfktq gjcels.
Gjcelf ]skf ckbirjv hfzj
Bcgjkmpjdfkjcm ckbirjv vfkj
dszenf bp vfibzs.
vj[otuj chtlcndf.
Cnfrfzs dsukylyn zt jxtzm
ghjphfxzsvb.
}skj lj]fdktzj ckbirjv vfkj
chtlcndf lky gjkjcrfzby.
Ntvzsq zfktn zf xfqzsü xfirfü
bkb cktls ue]zjq gjvfls
jnvskbcm zt gjkzjcnm[.
Vj[ott chtlcndj j]kflftn
ckbirjv ckf]jq jn]tkbdf[otq
cgjcj]zjcnm[.
}skf pflfzf ckbirjv zbprfy
ntvgthfnehf vjqrb.
23

ru
Zf cnjkjdsü ghb]jhfü dblzs
Rjulf cktletn j]hfofnmcy
cktls höfdxbzs.
d ckeö]e cthdbcf
Vfnthbfk, bp rjnjhjuj
bpujnjdktzs ghb]jhs,
Tckb Dfv zt elfkjcm cfvjcnjyntkmzj
ztljcnfnjxzj ecnjqxbd ghjnbd
ecnhfzbnm djpzbribt ztgjkflrb, nj
höfdxbzs.
d änjv ckexft cktletn j]hfnbnmcy
Ckbirjv ]jkmify rjzwtznhfwby
d ckeö]e cthdbcf. Flhtc ]kböfqituj
cjkb lky cvyuxtzby djls.
wtznhf cthdbczjuj j]ckeöbdfzby Ds
Rhsirf tvrjcnb lky cjkb zt
zfqltnt d ghbkjötzzjv cgbcrt. Ghb
gjkzjcnm[ pfrhextzf.
dspjdt zfkflxbrf zfpjdbnt,
gjöfkeqcnf, zjvth vfibzs (1)
Ghb zfgjkztzbb tvrjcnb
b pfdjlcrjq zjvth (2), ghbdtltzzst
]skj ghjcsgfzj ckbirjv
d abhvtzzjq nf]kbxrt zf ldthrt
vzjuj cjkb.
vfibzs.
Cnfrfzs cnfzjdyncy venzsvb
b zf]k[lftncy bpvtztzbt bü
wdtnf, j]hfpe[obqcy zfktn zt
jnvsdftncy.
Bcgjkmpjdfkjcm ztgjlüjlyott
vj[ott chtlcndj.
1
Cnfrfzs zt ghtlzfpzfxtzs
FD
lky vjqrb d gjceljvjtxzjq
vfibzt.
2
Zf cnfrfzfü b cnjkjdsü ghb]jhfü
jcnf[ncy venzst gjkjcs,
cnfrfzs ghbj]htnf[n
vtnfkkbxtcrbq ]ktcr.
Dzbvfzbt
}skj lj]fdktzj ckbirjv
J]hfnbnt dzbvfzbt, xnj
vzjuj chtlcndf lky gjkjcrfzby.
dbpbn cgtwbfkbcnf
Chtdbczjq ckeö]s d ckexft
ztbcghfdzjcntq bpĆpf
ztghfdbkmzjuj
bcgjkmpjdfzby ghb]jhf bkb
ghb djpzbrzjdtzbb jlzjq bp
jgbcfzzsü ztgjkfljr zt
ydkytncy ]tcgkfnzsv lföt
dj dhtvy chjrf ltqcndby
ufhfznbb.
24

ru
Erfpfzby
Erfpfzby jnzjcbntkmzj
chfdzbntkmzsü bcgsnfzbq
Erfpfzby gj enbkbpfwbb
Eckjdby ghjdtltzby chfdzbntkmzsü
Jnckeöbdibt cdjq chjr
bcgsnfzbq Ds zfqltnt d ghbkjötzbb
gjceljvjtxzst vfibzs - änj zt
«Erfpfzby jnzjcbntkmzj chfdzbntkmzsü
]tcgjktpzsq vecjh! }kfujlfhy
bcgsnfzbq». Pzfxtzby gfhfvtnhjd
ärjkjubxzjq enbkbpfwbb, bp zbü vjözj
hfcüjlf lky cjjndtncnde[obü ghjuhfvv
gjkexbnm ljhjujcnjyott cshmt.
ghbdtltzs d rhfnrjq bzcnherwbb gj
Bpdktrbnt bp hjptnrb intgctkmze[
ärcgkefnfwbb.
dbkre cnfhjq gjceljvjtxzjq vfibzs.
Jnhtömnt ctntdjq izeh c dbkrjq
J]ofy bzajhvfwby
b e]thbnt tuj gjlfkmit. Ckjvfqnt
Tckb dcnhjtzzst gjceljvjtxzst
pfvjr ldthws b ghtljühfzbntkmzjt
vfibzs b vfibzs, ecnfzfdkbdftvst
ecnhjqcndj (tckb nfrjdjt bvttncy).
gj ghbzwbge enjgktzzjuj vjznföf,
Änbv Ds ghtljndhfnbnt djpvjözjcnm
]elen gjplztt ärcgkefnbhjdfnmcy rfr
njuj, xnj buhf[obt ltnb pfrhj[ncy
jnltkmzj cnjyobt fggfhfns, nj d änjv
dzenhb vfibzs, gjldthuzed ntv cfvsv
ckexft ljközs ]snm ghbzyns vths gj
cdj[ öbpzm jgfczjcnb.
pfobnt bü jn jghjrblsdfzby,
Gthtl jnghfdrjq vfibzs r Dfv jzf
zfghbvth, gentv rhtgktzby vfibz r
]skf czf]ötzf pfobnzjq egfrjdrjq.
cntzt dbznfvb bkb ecnfzjdrb bü gjl
Dtcm egfrjdjxzsq vfnthbfk bpujnjdktz
cgkjizjq hf]jxtq gkbnjq, rjzws
bp ärjkjubxtcrb xbcnsü dtotcnd
b ghbujltz lky dnjhbxzjuj
rjnjhjq cjtlbztzs dbznfvb c
bcgjkmpjdfzby. Dztcbnt, gjöfkeqcnf,
cjctlzbvb irfafvb.
b Ds cdjq drkfl d ltkj pfobns
Njkmrj lky vfibz lky idtqwfhcrjuj
jrheöf[otq chtls b clfqnt
hszrf: Vfibze vjözj ]tp
egfrjdjxzst vfnthbfks zf enbkbpfwb[.
ljgjkzbntkmzsü ghbcgjcj]ktzbq
Dct ltnfkb vfibzs, bpujnjdktzzst bp
ecnfzjdbnm vtöle lthtdyzzsvb bkb
cbzntnbxtcrbü vfnthbfkjd, bvt[n
gkfcnvfccjdsvb cntzrfvb yxtqrb
bznthzfwbjzfkmzj zjhvbhjdfzze[
reüjzzjuj ufhzbnehf. Tckb vfibzf
f]]htdbfnehe vfnthbfkf (zfghbvth,
gjlrk[xftncy r ctnb zt xthtp
"HÃ" lky gjkbcnbhjkf). Änj lftn
hjptnre, nj, lky dsgjkztzby
djpvjözjcnm ghb enbkbpfwbb vfibzs
cjjndtncnde[obü erfpfzbq gj
hfpltkbnm jnüjls gj cjhnfv
ntüzbrt ]tpjgfczjcnb, vjznth,
vfnthbfkjd, xnj dzjcbn
dsgjkzy[obq ecnfzjdre vfibzs,
ljgjkzbntkmzsq drkfl d ltkj pfobns
ljkötz ghtlecvjnhtnm
jrheöf[otq chtls.
hfpßtlbzbntkmzjt ecnhjqcndj
Bzajhvfwb[ j] frnefkmzsü vtnjlfü
c hfccnjyzbtv vtöle rjznfrnfvb
enbkbpfwbb jnüjljd Ds vjötnt
vbz. 3 vv.
gjkexbnm d njhujdjq jhufzbpfwbb, ult
Ds ghbj]htkb Dfie gjceljvjtxze[
vfibze, bkb d jhufzfü rjvvezfkmzjuj
eghfdktzby gj vtcne Dfituj
öbntkmcndf.
Zbrjulf zt gjpdjkyqnt ltnyv buhfnm
c egfrjdrjq, nfr rfr jzb vjuen
pfljüzenmcy, pfrhsdibcm d crkflzsü
rfhnjzzsü rjhj]rfü bkb pfgenfdibcm
d egfrjdjxzjq gktzrt.
25

ru
Vjznfö
Gjlrk[xtzbt r cbcntvt
rfzfkbpfwbb
Lky njuj xnj]s gjceljvjtxzfy vfibzf
Hf]jxbt jgthfwbb jgbcfzs
vjukf ]tpeghtxzj aezrwbjzbhjdfnm,
d bzcnherwbb gj vjznföe. Ghb
jzf ljközf ]snm rdfkbabwbhjdfzzj
ztj]üjlbvjcnb ecnfzjdbnt cbajz cj
gjlrk[xtzf. Lfzzst, rfcf[obtcy
ckbdzsv gfnhe]rjv. C gjvjom[
gjlf[otuj b ckbdzjuj ikfzujd, f nfröt
bvt[obücy d rjvgktrnt gjcnfdrb
gfhfvtnhs äktrnhjgjlrk[xtzby
rhtgtözsü ghbzflktözjcntq
ljközs cjjndtncndjdfnm nht]etvsv
ghbcjtlbzbnt ckbdzjq ikfzu r gfnhe]re
rhbnthbyv, ghbdtltzzsv d cktle[obü
cbajzf. Ghjcktlbnt, gjöfkeqcnf,
hfpltkfü bkb d bzcnherwbb gj vjznföe.
xnj]s ckbdzjq ikfzu zt ]sk gthtuzen,
clfdktz bkb xnj]s jz zt gthtgktkcy.
Ghjwtcc vjznföf ljkötz ghjdjlbnmcy
(Cktlbnt nfröt pf ntv, xnj]s jndthcnbt
d ghbdtltzzjq zböt jxthtlzjcnb:
lky ckbdf djls zt ]skj pfrhsnj
- rjznhjkm vfibzs ghb gjkextzbb,
ghj]rjq!).
- ecnfzjdrf,
- gjlrk[xtzbt r cbcntvt rfzfkbpfwbb,
Gjlrk[xtzbt r djljghjdjle
- gjlrk[xtzbt r djljghjdjle,
Cjukfczj erfpfzbyv, ghbdtltzzsv
- äktrnhjgjlrk[xtzbt.
d bzcnherwbb gj vjznföe, c gjvjom[
Gjcnfdrf
bvt[obücy d rjvgktrnt gjcnfdrb
rhtgtözsü ghbzflktözjcntq
Zf pfdjltĆbpujnjdbntkt Dfif
ghbcjtlbzbnt gjlf[obq ikfzu
gjceljvjtxzfy vfibzf ]skf nofntkmzj
r djljghjdjlzjve rhfze. Ghjcktlbnt,
ghjdthtzf zf ]tpeghtxzjcnm
gjöfkeqcnf, xnj]s gjlf[obq ikfzu zt
aezrwbjzbhjdfzby. Gjckt bcgsnfzbq
]sk gthtuzen, clfdktz bkb xnj]s jz zt
zf tt gjdthüzjcnb vjukb jcnfnmcy
gthtgktkcy.
djlyzst gynzf, rjnjhst bcxtpzen gjckt
Ghb pfvtzt cnfhjq vfibzs zf zjde[
gthdjuj vsnmy gjcels.
dctulf cktletn pfvtzynm b gjlf[obq
Ecnfzjdrf
ikfzu, bcgjkmpetvsq lky gjlrk[xtzby
vfibzs r djljghjdjle, cnfhsq ikfzu
Ztj]üjlbvst lfzzst jnzjcbntkmzj
lky änjq wtkb ]jkmit bcgjkmpjdfnm
uf]fhbnjd vfibzs ghbdtltzs
ztkmpy.
d bzcnherwbb gj vjznföe. C gjvjom[
htuekbhetvsü gj dscjnt zjötr
Ghjcktlbnt, xnj]s gjlf[obq ikfzu zt
ecnfzjdbnt vfibze d dthnbrfkmzjt
]sk gthtuzen, clfdktz bkb xnj]s jz zt
gjkjötzbt. Ghb änjv ghjcktlbnt pf
gthtgktkcy.
ntv, xnj]s jzf cnjykf ecnjqxbdj.
26

ru
Lfdktzbt djls
Ltvjznfö
Lfdktzbt djls ljközj cjcnfdkynm
Nfröt b d änjv ckexft gjhyljr
vbzbvev 0,5 ]fh b vfrcbvev 10 ]fhjd.
ghjdtltzby hf]jn jxtzm dfötz:
Ghb ]jktt dscjrjv lfdktzbb djls
d gthde[ jxthtlm vfibze cktletn
htrjvtzletncy bcgjkmpjdfnm
jncjtlbzbnm jn ctnb.
htlerwbjzzsq rkfgfz.
Lky änjuj intrth dsnfcrbdftncy bp
Hfcüjl djls
hjptnrb.
Ntgthm pfrhjqnt djljghjdjlzsq rhfz.
Hfcüjl djls ljkötz cjcnfdkynm
Jncjtlbzbnt ikfzu gjlfxb cdtötq
vbzbvev 10 k/vbz.
djls b ikfzu jndjlf cnjxzjq djls.
Ntvgthfnehf djls
Jnrhenbnt rhtgtözst ]jkns gjl
Ghtlgjxnbntkmzj gjlfdfnm d vfibze
hf]jxtq gjdthüzjcnm[. Tckb bvttncy
üjkjlze[ djle. Tckb ]eltn gjlfdfnmcy
wjrjkmzfy gfztkm, nj tt nfröt cktletn
ujhyxfy djlf, nj ntvgthfnehf tt zt
czynm.
ljközf ghtdsifnm 60 _ C.
Ntgthm vjözj dsnfcrbdfnm fuhtufn
vfibzs, jcnjhjözj gjlnyubdfy ghb
Äktrnhjgjlrk[xtzbt
änjv ikfzu.
Gjceljvjtxze[ vfibze vjözj
gjlrk[xfnm njkmrj r ctnb gthtvtzzjuj
njrf c zfghyötzbtv 230 V, bcgjkmpey
Nhfzcgjhnbhjdrf
lky änjuj cvjznbhjdfzze[ cjukfczj
Cktqnt djle bp vfibzs. Pfrhtgbnt
ghtlgbcfzbyv, pfptvktzze[ hjptnre.
gjldbözst ltnfkb. Vfibze vjözj
Bzajhvfwb[ j ghtljühfzbntkyü Ds
nhfzcgjhnbhjdfnm njkmrj
zfqltnt d abhvtzzjq nf]kbxrt 32 .
d dthnbrfkmzjv gjkjötzbb.
Hfphtiftncy bcgjkmpjdfnm njkmrj nfrjq
Tckb vfibzf ]eltn
fdnjvfnbxtcrbq ghtljühfzbntkmzsq
nhfzcgjhnbhjdfnmcy
dsrk[xfntkm, ltqcnde[obq ghb
d ujhbpjznfkmzjv gjkjötzbb,
gjydktzbb njrf entxrb, zf rjnjhjv
nj jcnfnrb djls vjuen gjgfcnm
bvttncy pzfr , nfr rfr njkmrj nfrjq
d cbcntve eghfdktzby, xnj
d lfkmztqitv xfcnj ghbdjlbn
dsrk[xfntkm jndtxftn nht]jdfzbyv
ltqcnde[obü d zfcnjyott dhtvy
r c]jyv ghb dsgjkztzbb ghjuhfvv.
ghtlgbcfzbq.
Pfobnf vfibzs jn zbprbü
ntvgthfneh
Tckb gjceljvjtxzfy vfibzf
ecnfzjdktzf d gjvtotzbb, ult
ntvgthfnehf djpleüf jgecrftncy zböt 0
°C (zfghbvth, zf lfxt), nj Ds ljközs
gjkzjcnm[ ckbnm bp ztt djle.
Pfrhjqnt djljghjdjlzsq rhfz,
jncjtlbzbnt gjldjlyobq ikfzu b
cktqnt jcnfnrb djls.
27


ru
Ufhfznby zf cbcntve «AquaĆStop».
(jngflftn d ckexft c vfibzfvb ]tp cbcntvs «AquaĆStop »)
Ljgjkzbntkmzj r ghfde gjregfntky zf ufhfznbqzjt j]ckeöbdfzbt, dsntrf[otve bp
ljujdjhf j gjregrt, b ljgjkzbntkmzj r zfitq ufhfznbb zf vfibze abhvf
j]ypetncy djpvtcnbnm eoth] zf cktle[obü eckjdbyü:
1. Tckb bpćpf ltatrnzjq cbcntvs «AquaĆStop » d htpekmnfnt pfnjgktzby
gjkmpjdfntk[ ]sk ghbxbztz vfnthbfkmzsq eoth], nj vs j]ypetvcy tuj
djpvtcnbnm.
2. Lfzzfy ufhfznby ltqcndbntkmzf d ntxtzbt dctuj chjrf ckeö]s vfibzs.
3. Eckjdbtv dsgjkztzby ufhfznbqzsü j]ypfntkmcnd ydkytncy rdfkbabwbhjdfzzst
ecnfzjdrf b gjlrk[xtzbt vfibzs c cbcntvjq «AquaĆStop» c cj]k[ltzbtv
erfpfzbq zfitq bzcnherwbb. Bvttncy d dble, xnj elkbzbntkb cbcntvs «AquaĆ
Stop» (abhvtzzst ghbzflktözjcnb) nfröt ]skb ghbcjtlbztzs
rdfkbabwbhjdfzzsv cgtwbfkbcnjv. Zfif ufhfznby zt hfcghjcnhfzytncy zf
gjdhtöltzzst gjlf[obq ikfzu b fhvfnehe, hfcgjkjötzzst gthtl cbcntvjq
«AquaĆStop », rhtgyotqcy r djljghjdjlzjve rhfze.
4. Vfibzs c cbcntvjq «AquaĆStop» zt zeölf[ncy d ghbcvjnht dj dhtvy hf]jns,
nfr öt rfr b ztn ztj]üjlbvjcnb d pfrhsdfzbb djljghjdjlzjuj rhfzf. Njkmrj d
ckexft ghjljköbntkmzjuj jncencndby, zfghbvth, zf dhtvy vzjujztltkmzjuj
jngecrf, djljghjdjlzsq rhfz cktletn pfrhsnm.
Bosch Info–Team:
DE Tel. 0180 / 5 30 40 50
AT Tel. 0660 / 59 95
Internet:
5 600 054 042 ru (8211)
http://www.bosch–hausgeraete.de
450 R








