Bosch DKE 645D: инструкция
Характеристики, спецификации
Инструкция к Кухонной Вытяжке Bosch DKE 645D

B
RUS
Инструкция по эксплуатации
RUS
Инструкция по эксплуатации
Напечатано в России / ноябрь 2005 / 500 / GA2084
DKE 645D
DKE 945D
b
901525

Перед чтением настоящей инструкции по эксплуатации
откройте стр. 6 с рисунками.
Описание вытяжки
Режимы работы
Это можно обеспечить, если воздух при сго
Обшивка
рании топлива будет выводиться из поме
вытяжной
щения через незакрытые отверстия, напри
трубы
мер, через двери, окна, настенные вентиля
Переключатели
ционные шкафы или с помощью техничес
освещения/
ких мер, обеспечивающих блокировку дру
вентилятора
гих устройств при работе одного устройства
и т.д.
Применение только настенного вентиляци
онного шкафа не гарантирует, что предель
ное значение пониженного давления возду
ха не будет превышено.
Примечание. При оценке давления воздуха
следует учитывать всю систему вентиляции,
которая имеется в здании. Однако это пра
вило не применяется при эксплуатации обо
Решетка фильтраОсвещение
рудования для приготовления пищи, напри
мер, варочных панелей и газовых плит.
При обеспечении отвода воздуха необходи
мо придерживаться правил, установленных
Режимы работы
местными административными органами.
Если вытяжка используется в режиме цир
Режим отвода воздуха:
куляции воздуха – с угольным фильтром –
Вентилятор вытяжки всасывает кухон
эксплуатация возможна без какихлибо ог
ные испарения и удаляет их за пределы
раничений.
помещения через жиропоглощающий
фильтр.
Режим циркуляции воздуха:
Жиропоглощающий фильтр поглощает
Этот режим требует установки угольного
частицы жира, которые могут содер
фильтра (см. раздел «Фильтры и их тех
жаться в кухонных испарениях.
ническое обслуживание»).
Кухня почти полностью освобождается
от жиров и запахов.
Полный комплект для монтажа и
фильтры для замены можно приобрести
Если вытяжка в режиме отвода воздуха
в специализированных торговых
работает одновременно с нагреватель#
центрах. Соответствующие номера при
ным оборудованием, которое пользует#
надлежностей можно найти на стр. 5.
ся вытяжными трубами (например, отопи
тельные системы, проточные водонагрева
Вентилятор вытяжки всасывает кухон
тели или котлы, которые работают на газе,
ные испарения, которые очищаются в
жидком или твердом топливе), необходи#
жиропоглощающем и угольном фильт
мо обеспечить подачу воздуха в объеме,
рах. После этого очищенный воздух воз
достаточном для сгорания топлива.
вращается на кухню.
Жиропоглощающий фильтр поглощает
По соображениям безопасности требуется,
частицы жира, которые могут содер
чтобы в помещении, где установлено отопи
жаться в кухонных испарениях.
тельное или нагревательное оборудование
с открытым огнем, давление воздуха по
Угольный фильтр удаляет имеющиеся
сравнению с атмосферным было понижено
запахи.
не более чем на 4 Па (0,04 мбар).
Информация для предварительного ознакомления. Официальной информацией изготовителя не является.
1

Перед первым
Управление вытяжкой
использованием вытяжки
Самым эффективным способом удале
Важные указания:
ния кухонных испарений, образующихся при
Данная вытяжка соответствует примени
приготовлении пищи, является следующий
мым правилам техники безопасности.
способ:
Ремонт вытяжки должен выполняться толь
Включайте вытяжку сразу же, как толь
ко квалифицированным персоналом.
ко Вы начинаете готовить.
Неправильно выполненный ремонт вы#
Выключайте вытяжку через несколь
тяжки может привести к возникновению
ко минут после того, как Вы закончите
серьезной опасности для пользователя.
готовить.
Подключение вытяжки к электрической
сети и ввод ее в эксплуатацию должен вы
полнять только квалифицированный специ
алист.
Утилизацию упаковочного материала
следует проводить правильным образом
(см. инструкцию по монтажу).
Вкл/выкл
Настройка вентилятора
освещения
Эксплуатируйте вытяжку только с уста
новленными лампами.
Включение:
Никогда не эксплуатируйте вытяжку
Переведите правый движковый пере
без установленного жиропоглощающего
ключатель в требуемое положение на
фильтра.
стройки вентилятора.
Перегретые жир и масло легко воспла
Выключение:
меняются. Поэтому всегда следите за при
Переведите правый движковый пере
готовлением пищи с жиром или маслом, на
ключатель обратно в положение 0.
пример, в случае приготовления картофе
ляфри.
Освещение:
Освещение можно включить в любой
Не стерилизуйте продукты питания пла
момент, даже когда вентилятор выклю
менем непосредственно под вытяжкой.
чен.
Опасность воспламенения жиропогло
!
щающего фильтра изза пламени.
В случае эксплуатации вытяжки над оча
гом, в котором сгорает твердое топливо
(уголь, дерево и т.д.), действуют определен
ные ограничения (см. инструкцию по мон
тажу).
Всегда правильно эксплуатируйте газо
вые варочные панели.
Важное замечание:
Пламя газовых варочных панелей всегда
должно быть закрыто посудой.
Сильный нагрев пламенем газовых кон
!
форок может повредить вытяжку.
2
Информация для предварительного ознакомления. Официальной информацией изготовителя не является.

Фильтры и их техническое обслуживание
Жиропоглощающие фильтры:
Угольный фильтр:
Для поглощения частиц жира в кухонных
Предназначен для устранения запахов в
испарениях, образующихся при приго#
режиме циркуляции воздуха.
товлении пищи, используются металли#
Установка фильтра:
ческие фильтры.
1. Снимите металлические жиропоглоща
Фильтрующие прокладки выполнены из не
ющие фильтры (см. раздел «Снятие и ус
воспламеняющегося металла.
тановка металлических жиропоглощаю
щих фильтров»).
Внимание:
2. Вставьте угольный фильтр (рис. 2).
По мере насыщения фильтра остатками жи
ров не только увеличивается риск воспла
3. Вставьте язычок на место со щелчком
менения, но это может также оказывать от
(рис. 3).
рицательное воздействие на эффектив
4. Установите металлические жиропогло
ность работы вытяжки.
щающие фильтры (см. раздел «Снятие
и установка металлических жиропогло
Важное замечание:
щающих фильтров»).
Своевременная чистка металлических жи
ропоглощающих фильтров снижает вероят
Снятие фильтра:
ность воспламенения, которое возможно
1. Снимите металлические жиропоглоща
изза нагрева при жарении в большом ко
ющие фильтры.
личестве жира.
2. Нажмите на язычок и снимите угольный
Чистка металлических
фильтр вниз (рис. 3).
жиропоглощающих фильтров:
3. Установите металлические жиропогло
При нормальной эксплуатации (от одно
щающие фильтры.
го до двух часов ежедневно) металли
Замена угольного фильтра:
ческий жиропоглощающий фильтр сле
дует чистить каждые 810 недель.
При нормальной эксплуатации (от одно
го до двух часов ежедневно) угольный
Фильтры можно мыть в посудомоечной
фильтр следует заменять примерно
машине. Однако это может приводить к
один раз в год.
их незначительному обесцвечиванию.
Важное замечание:
Угольный фильтр можно приобрести у
уполномоченного агента по продаже
Сильно загрязненные металлические
оборудования нашей фирмы (см. допол
жиропоглощающие фильтры не следует
нительные принадлежности).
мыть в посудомоечной машине вместе
с посудой.
Используйте только фильтры нашей
фирмы. В этом случае Вы сможете
При ручной мойке фильтров сначала за
обеспечить наилучшие характеристики
мочите их в горячей мыльной воде. За
вытяжки.
тем очистите фильтры щеткой, тщатель
но прополощите и дайте воде стечь.
Утилизация старого угольного фильтра:
Снятие и установка металлических
В угольных фильтрах нет материалов,
жиропоглощающих фильтров:
которые загрязняют окружающую сре
ду. Поэтому их можно выбрасывать вме
1. Нажмите на защелку на жиропоглоща
сте с обычным домашним мусором.
ющих фильтрах в направлении стрелки
и потяните фильтры вниз (рис. 1).
2. Проведите чистку фильтров.
3. Установите очищенные фильтры на ме
сто в вытяжку.
Информация для предварительного ознакомления. Официальной информацией изготовителя не является.
3

Алюминиевые и пластмассовые
Чистка и уход
поверхности:
Используйте мягкую неворсистую ткань
Отсоедините вытяжку от электрической
для протирки стекол или микроволокни
сети, для чего выньте вилку из сетевой
стую ткань.
розетки или выключите предохранитель
Не используйте сухие тряпки.
в коробке предохранителей.
Используйте мягкое средство для чист
Одновременно с чисткой жиропоглоща
ки окон.
ющего фильтра проводите чистку всех
Не используйте агрессивные кислотные
доступных деталей корпуса от имею
или щелочные чистящие средства.
щихся отложений жира. Это значитель
Не используйте абразивные средства
но снижает опасность воспламенения и
для чистки.
гарантирует наиболее эффективное
функционирование вытяжки.
Для чистки кожуха вытяжки пользуйтесь
Замена ламп
горячей мыльной водой или мягким
средством для чистки окон.
1. Выключите вытяжку и отключите ее от
Не соскребайте присохшую грязь, а раз
электрической сети путем отсоедине
мягчайте ее влажной тряпкой.
ния вилки от сетевой розетки или вык
Никогда не пользуйтесь абразивными
лючения предохранителя в коробке пре
чистящими средствами или губками, ко
дохранителей.
торые могут поцарапать поверхность.
2. Снимите жиропоглощающие фильтры
Примечание. Никогда не чистите спир
(см. раздел «Фильтры и их техническое
том пластмассовые поверхности, т.к. по
обслуживание»).
верхность может стать матовой.
3. Нажмите на плафон лампы и снимите
Предостережение. Достаточно часто
его с планки для освещения (рис. 4).
проветривайте кухню, никогда не остав
4. Замените лампу (на имеющуюся в про
ляйте открытое пламя!
даже свечеобразную лампу накалива
ния, макс. 40 Вт, цоколь Е14). Рис. 5.
Чистите движковый переключатель толь
5. Поставьте на место плафон лампы.
ко мягкой влажной тряпкой (со слабым ра
6. Поставьте на место жиропоглощающие
створом моющего средства). Не используй
фильтры.
те для чистки движкового переключателя
средство для чистки нержавеющей стали.
7. Подключите опять вилку к сетевой ро
зетке или включите предохранитель в
Поверхности из нержавеющей стали:
коробке предохранителей.
Используйте мягкое неабразивное
средство для чистки поверхностей из
Неисправности
нержавеющей стали.
Чистку поверхности производите в на
правлении шлифовки.
Если у Вас имеются какиелибо вопросы или
если появилась неисправность, обращай
Не используйте следующие средства
тесь в Сервисную службу нашей фирмы.
для чистки поверхностей из нержавеющей
(См. перечень представительств Сервисной
стали: абразивные губки, чистящие веще
службы).
ства с содержанием песка, соды, кислоты
или хлоридов!
При телефонном звонке, пожалуйста, сооб
щите следующие сведения:
E#Nr. FD
Впишите соответствующие номера в выше
указанных местах. Номера ENr. (номер изде
лия) и FD (заводской номер) Вы найдете на
табличке с техническими характеристиками,
которую можно увидеть в Вашей вытяжке пос
ле того, как Вы снимете жиропоглощающий
фильтр.
4
Информация для предварительного ознакомления. Официальной информацией изготовителя не является.

DHZ5135
361047
90 см: DHZ9550
60 см: DHZ6550
265171
Информация для предварительного ознакомления. Официальной информацией изготовителя не является.
5

Рис. 1 Рис. 2
Рис. 3
Рис. 4 Рис. 5
6
Информация для предварительного ознакомления. Официальной информацией изготовителя не является.

Инструкция по монтажу
Перед чтением настоящей инструкции по монтажу откройте стр. 1216 с рисунками.
Важная информация
Вытяжку разрешается устанавливать
Старая вытяжка не является совершен
таким образом, чтобы только с одной ее сто
но ненужным мусором. Она содержит цен
роны располагались высокий шкаф или вы
ные материалы, которые могут быть вторич
сокая стена. При этом расстояние до этого
но использованы при утилизации с учетом
шкафа или до этой стены должно быть не
требований охраны окружающей среды. Пе
менее 50 мм.
ред тем, как отправлять на утилизацию ста
рую вытяжку, убедитесь, что она приведена
Установка вытяжки над газовой вароч
в неработоспособное состояние.
ной панелью или плитой разрешается лишь
на минимальном расстоянии 650 мм.
Ваша новая вытяжка защищена соот
ветствующей упаковкой на время транспор
Пламя газовых конфорок всегда долж
тировки. Все материалы, которые исполь
но быть закрыто посудой.
зованы для этой цели, не наносят вреда ок
ружающей среде и могут быть переработа
Газовые варочные панели/
ны для вторичного использования. Пожа
газовые плиты
луйста, сделайте свой вклад в охрану окру
Во время эксплуатации тепловая на
жающей среды, отправив этот материал для
грузка всех конфорок не должна пре#
упаковки на переработку с учетом требова
вышать 8,0 кВт, независимо от номи
ний охраны окружающей среды.
нальной мощности.
Самые последние сведения относительно
Исключение:
возможностей по утилизации Вашей старой
В течение короткого времени (не более
вытяжки и упаковки новой вытяжки Вы мо
15 минут) можно эксплуатировать кон
жете получить в той организации, где Вы
форки с тепловой нагрузкой до 11,3 кВт,
приобрели вытяжку, или в местных админи
но только если вентилятор включен по
стративных органах.
стоянно на 2 ступени. (В противном слу
чае возникает опасность ожога при при
Вытяжка предназначена для использо
косновении к поверхности корпуса.)
вания в режиме отвода воздуха или в режи
ме циркуляции воздуха.
Плиты на твердом топливе
Максимальная номинальная тепловая
Всегда устанавливайте вытяжку над
нагрузка и максимальное расстояние до
центральной частью варочной панели.
плиты имеют такое же значение, как и в
случае газовых плит.
Минимальное расстояние между элек
трической варочной панелью и нижним кра
ем вытяжки: 550 мм, рис. 6.
Над очагом, в котором сгорает твердое
топливо, вследствие потенциальной пожар
Дополнительные инструкции в случае
ной опасности (например, изза разлетаю
использования газовых плит:
щихся искр) устанавливать вытяжку разре
шается только в том случае, если очаг име
При монтаже газовых плит соблюдай
ет закрытое несъемное укрытие, и со
те действующие в данной стране соответ
блюдаются все правила, которые действу
ствующие положения (например, в Герма
ют в каждой конкретной стране. Это огра
нии: технические правила по установке га
ничение не относится к газовым плитам и га
зовых приборов TRGI).
зовым варочным панелям.
Во всех случаях следует соблюдать со
Чем меньше расстояние между вытяж
ответствующие правила и указания по уста
кой и варочной панелью, тем выше вероят
новке, которые даются изготовителем газо
ность конденсации на вытяжке поднимаю
вой плиты.
щихся паров.
Информация для предварительного ознакомления. Официальной информацией изготовителя не является.
7

Инструкция по монтажу
Перед установкой
Режим отвода воздуха,
рис. 7
Примечание. При оценке общих требований
следует учитывать всю комбинированную
Отводимый воздух подается вверх через
систему вентиляции, которая имеется в зда
вентиляционный ствол или непосредствен
нии. Однако это не относится к эксплуатации
но через наружную стену за пределы поме
оборудования для приготовления пищи, на
щения.
пример, варочных панелей или газовых плит.
Отводимый воздух нельзя выводить через
Если вытяжка используется в режиме цир
дымоход, который используется для других
куляции воздуха – с угольным фильтром –
целей, или в вентиляционный ствол, исполь
эксплуатация возможна без какихлибо ог
зуемый для вентиляции помещений, в кото
раничений.
рых также установлены печи или камины.
При отводе воздуха следует соблюдать
В случае работы вытяжки в режиме от#
предписания административных органов
вода воздуха внутри вытяжки следует ус
власти (например, принятые в данной
тановить невозвратный клапан, если он уже
стране строительные нормы и правила).
не установлен в вытяжной трубе или в на
стенном вентиляционном шкафу (рис. 8).
Следует получить разрешение соответству
Если невозвратный клапан не входит в ком
ющих административных органов при отво
плект вытяжки, его можно приобрести в спе
де воздуха через дымоход, который не экс
циализированном магазине.
плуатируется.
Если вытяжка в режиме отвода воздуха
Установка невозвратного клапана:
работает одновременно с нагреватель#
Вставьте невозвратный клапан в возду
ным оборудованием, которое пользует#
ховод (рис. 8).
ся той же вытяжной трубой (например,
отопительные системы, проточные водо
Два слегка подпружиненных клапана
нагреватели или котлы, которые работают
должны иметь возможность сдвигаться
на газе, жидком или твердом топливе), не#
вверх.
обходимо обеспечить подачу воздуха в
Если отводимый воздух удаляется через
объеме, достаточном для сгорания топ#
лива.
наружную стену, в наружной стене следу
ет установить телескопический воздуховод.
По соображениям безопасности требуется,
чтобы в помещении, где установлено отопи
Оптимальная эффективность вытяжки
тельное или нагревательное оборудование
обеспечивается при выполнении
с открытым огнем, давление воздуха по
следующих условий:
сравнению с атмосферным было понижено
Использование коротких и гладких вы
не более чем на 4 Па (0,04 мбар).
тяжных труб без резких изгибов.
Это можно обеспечить, если воздух при сго
Использование минимального количе
рании топлива будет выводиться из помеще
ства колен.
ния через незакрытые отверстия, например,
Использование труб с возможно боль
через двери, окна, настенные вентиляцион
шим внутренним диаметром, а также
ные шкафы или с помощью технических мер,
использование колен с большим ради
обеспечивающих блокировку других уст
усом.
ройств при работе одного устройства и т.д.
Круглые трубы:
При подаче воздуха в недостаточном
Мы рекомендуем внутренний диаметр
объеме возникает опасность отравле#
125 мм (минимальный внутренний ди
ния газообразными продуктами сгора#
аметр 100 мм).
ния, которые всасываются обратно в
комнату.
Применение только настенного вентиляци
онного шкафа не гарантирует, что предель
ное значение пониженного давления возду
ха не будет превышено.
8
Информация для предварительного ознакомления. Официальной информацией изготовителя не является.

Инструкция по монтажу
Трубы прямоугольного сечения дол
Режим циркуляции воздуха, рис. 10
жны иметь площадь внутреннего сече
Применяется, если нет возможности ис
ния, равную площади внутреннего се
пользовать режим отвода воздуха. При
чения соответствующих круглых труб.
этом используется угольный фильтр.
Они не должны иметь резких изгибов.
Полный комплект для монтажа можно
В случае труб с внутренним диаметром
приобрести в специализированном мага#
100 мм площадь внутреннего сечения
зине.
составляет примерно 78 см
2
.
Соответствующие номера принадлежнос
В случае труб с внутренним диаметром
тей можно найти на стр. 5 настоящей инст
125 мм площадь внутреннего сечения
2
рукции.
составляет примерно 113 см
.
Если трубы имеют различные диа#
Подготовка стены
метры: используйте герметизирующую
ленту.
Стена должна быть ровной и вертикаль
ной.
В случае эксплуатации вытяжки в ре#
жиме отвода воздуха обеспечивайте
Для прочной опоры используйте дюбе
достаточное поступление свежего воз
ли.
духа.
Вес в кг:
Подсоединение к вытяжной трубе
Режим Режим
диаметром 125 мм:
отвода воздуха циркуляции
Установите вытяжную трубу непосред
60 см 15,0 17,0
ственно в выходном отверстии вытяжки.
90 см 17,5 19,5
Подсоединение к вытяжной трубе
диаметром 100 мм:
Мы сохраняем за собой право на изменение конструк
ции в связи с техническими усовершенствованиями.
Вставьте переходник для сужения кана
ла (входит в комплект поставки или при
обретается в специализированном ма
газине) в выходное отверстие вытяжки
– рис. 9 – и затем прикрепите вытяжную
трубу к этому переходнику.
Информация для предварительного ознакомления. Официальной информацией изготовителя не является.
9

Инструкция по монтажу
Электрическое подключение
Со стороны электрической сети должно
быть установлено размыкающее устрой
Вытяжку следует подключать только к за
ство. В качестве размыкающего устройства
земленной розетке, установленной соглас
следует использовать выключатель, кото
но действующим правилам.
рый отключает все контакты с обеспечени
По возможности розетку с контактом зазем
ем в выключенном состоянии расстояния
ления следует располагать непосредствен
между контактами по меньшей мере 3 мм.
но за обшивкой вытяжной трубы (рис. 7).
В качестве таких размыкающих устройств
могут использоваться автоматические вык
Электрические характеристики
лючатели или контакторы.
Их можно найти на табличке с технически
Если шнур для подключения вытяжки
ми характеристиками, которая располагает
поврежден, для предотвращения серьезных
ся внутри вытяжки за решеткой фильтра.
травм пользователя его следует заменить.
Замена должна быть произведена изгото
В случае ремонта всегда отсоединяйте
вителем, Сервисной службой изготовителя
вытяжку от электрической сети.
или специалистом с аналогичной квалифи
Длина соединительных проводов: 1,30 м.
кацией.
В случае необходимости фиксирован#
Данное оборудование соответствует требо
ного подключения вытяжки к сети:
ваниям правил Европейского Сообщества
Вытяжка должна подключаться к электри
по подавлению радиопомех.
ческой сети только квалифицированным
электриком.
10
Информация для предварительного ознакомления. Официальной информацией изготовителя не является.

Инструкция по монтажу
Монтаж
10. Подключите вытяжку к электропитанию.
Данная вытяжка предназначена для монта
11. Снимите защитную пленку с двух воз
жа на стене кухни.
духоводов.
1. Начертите линию на стене от потолка
Будьте осторожны и не повредите
до нижнего края вытяжки в центре того
поверхности из нержавеющей стали,
места, в котором предполагается уста
которые легко поцарапать и т.д.
новить вытяжку (рис. 11).
12. Соедините обе секции обшивки вытяж
2. Используйте шаблон для маркировки
ной трубы (разрезы в верхней секции
на стене точек, в которых будут установ
должны быть направлены вниз) и вставь
лены винты (рис. 11).
те их в отверстие в вытяжке (рис. 14).
Обеспечьте минимальное расстояние
Чтобы защитить от царапин вне
между варочной панелью и вытяжкой
шнюю сторону обшивки, наложите, на
550 мм – для электрической варочной па
пример, шаблон, использовавшийся
нели и 650 мм – для газовой варочной па
для маркировки стены, на верхний край
нели. Нижний край шаблона располагается
нижней секции (рис. 14).
на уровне нижнего края вытяжки.
13. Выдвиньте верхнюю секцию и прикре
3. Просверлите 4 отверстия ∅ 8 мм для
пите ее с боковых сторон двумя винта
крепления вытяжки и 2 отверстия ∅ 8 мм
ми к монтажным скобам (рис. 15).
для крепления обшивки вытяжной тру
бы. Вставьте дюбели в отверстия таким
14. Установите на место жиропоглощаю
образом, чтобы они были заподлицо со
щий фильтр (см. инструкцию по эксп
стеной (рис. 11).
луатации).
Примечание. Если предполагается устано
вить какиелибо специальные принадлеж
ности, это следует учесть.
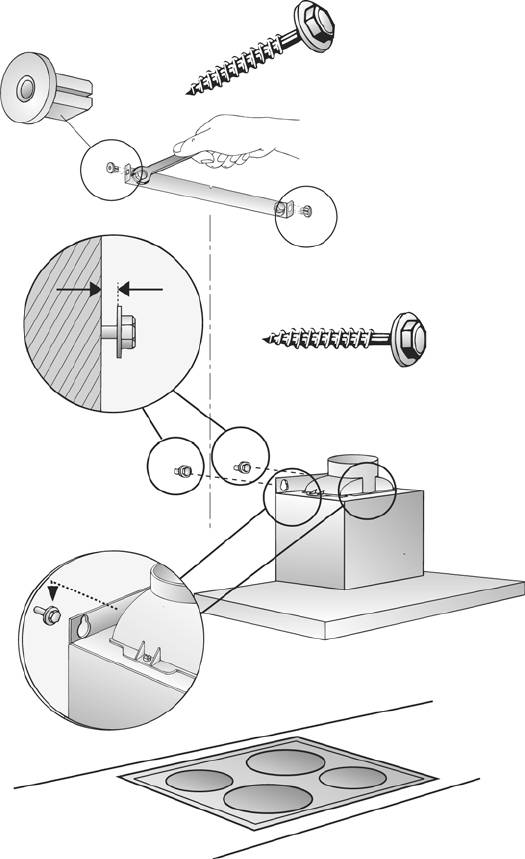
4. Прикрепите 2 входящие в комплект по
ставки прокладки к скобам для крепле
ния обшивки вытяжной трубы (рис. 12).
Прикрепите скобы для крепления об
шивки вытяжной трубы с помощью
двух винтов с шестигранной головкой
(рис. 12).
5. Ввинтите два верхних винта с шести
гранной головкой, так чтобы они выс
тупали примерно на 5 мм (рис. 12).
6. Снимите жиропоглощающий фильтр
(см. инструкцию по эксплуатации).
7. Подвесьте вытяжку на винты (рис. 12).
8. Ввинтите два нижних винта с шести
гранной головкой (рис. 13).
Перед тем, как затягивать 4 винта,
правильно выровняйте вытяжку.
9. Подсоедините трубу для вывода воздуха.
Информация для предварительного ознакомления. Официальной информацией изготовителя не является.
11

Рис. 6
ГАЗОВАЯ
ЭЛЕКТРИЧЕСКАЯ
ПЛИТА
ПЛИТА
мин.
мин.
650 мм
550 мм
12
Информация для предварительного ознакомления. Официальной информацией изготовителя не является.

Рис. 7
мин. 60
мин. 45
Режим отвода воздуха:
6841086
Режим циркуляции воздуха:
мин.
7751187
460
мин.
400
Информация для предварительного ознакомления. Официальной информацией изготовителя не является.
13

Рис. 8
Рис. 9
Рис. 10
Рис. 11
мин. 550 для электрической плиты
мин. 650 для газовой плиты
14
Информация для предварительного ознакомления. Официальной информацией изготовителя не является.

Рис. 12
~ 5 мм
Информация для предварительного ознакомления. Официальной информацией изготовителя не является.
15

Рис. 13
Рис. 14 Рис. 15
16
Информация для предварительного ознакомления. Официальной информацией изготовителя не является.








