Bosch HMT8656EU: инструкция
Характеристики, спецификации
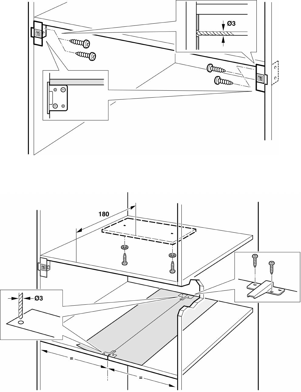
Инструкция к Встраивающей Микроволновой Печи Bosch HMT8656EU

56500940625041085
de
en
fr
it
nl
da
p
es
el
no
sv
fi
ru
t
tr




de
it
fr
en

pt
da
nl

el
es
sv
no

tr
ru
fi







