Bosch GSG 300 Professional: инструкция
Раздел: Электроинструменты
Тип: Ножовка
Характеристики, спецификации
Инструкция к Ножовке Bosch GSG 300 Professional

OBJ_DOKU-868-004.fm Page 1 Wednesday, August 25, 2010 1:38 PM
Robert Bosch GmbH
Power Tools Division
70745 Leinfelden-Echterdingen
Germany
GSG 300 Professional
www.bosch-pt.com
3 609 929 B97 (2010.08) T / 180 UNI
de Originalbetriebsanleitung
el Πρωτότυπο οδηγιών χρήσης
sr Originalno uputstvo za rad
en Original instructions
tr Orijinal işletme talimat
sl Izvirna navodila
fr Notice originale
pl Instrukcja oryginalna
hr Originalne upute za rad
es Manual original
cs Původní návod k používání
et Algupärane kasutusjuhend
pt Manual original
sk Pôvodný návod na použitie
lv Instrukcijas oriģinālvalodā
it Istruzioni originali
hu Eredeti használati utasítás
lt Originali instrukcija
nl Oorspronkelijke
ru Оригинальное руководст-
ar
ΕΎϤϴϠόΗϞϴϐθΘϟΔϴϠλϷ
gebruiksaanwijzing
во по эксплуатации
fa
Ϡλ έΎ ίήσ ΎϤϨϫέ
da Original brugsanvisning
uk Оригінальна інструкція з
sv Bruksanvisning i original
експлуатації
no Original driftsinstruks
ro Instrucţiuni originale
fi Alkuperäiset ohjeet
bg Оригинална инструкция

OBJ_BUCH-55-004.book Page 2 Wednesday, August 25, 2010 1:39 PM
2 |
Deutsch . . . . . . . . . . . . . . . . . . . . . . . . . . . . Seite 6
English . . . . . . . . . . . . . . . . . . . . . . . . . . . . . Page 13
Français . . . . . . . . . . . . . . . . . . . . . . . . . . . . Page 20
Español. . . . . . . . . . . . . . . . . . . . . . . . . . . . Página 27
Português. . . . . . . . . . . . . . . . . . . . . . . . . . Página 34
Italiano . . . . . . . . . . . . . . . . . . . . . . . . . . . . Pagina 40
Nederlands . . . . . . . . . . . . . . . . . . . . . . . . . Pagina 46
Dansk . . . . . . . . . . . . . . . . . . . . . . . . . . . . . . Side 52
Svenska . . . . . . . . . . . . . . . . . . . . . . . . . . . . Sida 57
Norsk . . . . . . . . . . . . . . . . . . . . . . . . . . . . . . Side 62
Suomi . . . . . . . . . . . . . . . . . . . . . . . . . . . . . . . Sivu 67
Ελληνικά . . . . . . . . . . . . . . . . . . . . . . . . . . . Σελίδα 72
Türkçe . . . . . . . . . . . . . . . . . . . . . . . . . . . . . Sayfa 79
Polski . . . . . . . . . . . . . . . . . . . . . . . . . . . . . Strona 85
Česky . . . . . . . . . . . . . . . . . . . . . . . . . . . . . Strana 91
Slovensky . . . . . . . . . . . . . . . . . . . . . . . . . . Strana 96
Magyar . . . . . . . . . . . . . . . . . . . . . . . . . . . . . Oldal 102
Русский . . . . . . . . . . . . . . . . . . . . . . . . Страница 108
Українська . . . . . . . . . . . . . . . . . . . . . . . Сторінка 115
Română . . . . . . . . . . . . . . . . . . . . . . . . . . . Pagina 121
Български . . . . . . . . . . . . . . . . . . . . . . Страница 127
Srpski . . . . . . . . . . . . . . . . . . . . . . . . . . . . . Strana 134
Slovensko. . . . . . . . . . . . . . . . . . . . . . . . . . . Stran 140
Hrvatski . . . . . . . . . . . . . . . . . . . . . . . . . Stranica 146
Eesti . . . . . . . . . . . . . . . . . . . . . . . . . . . . Lehekülg 152
Latviešu . . . . . . . . . . . . . . . . . . . . . . . . . Lappuse 157
Lietuviškai . . . . . . . . . . . . . . . . . . . . . . . Puslapis 163
vv
vv
cc
cc
. . . . . . . . . . . . . . . . . . . . . . . . . . . . . . . 169
ΔΤϔλ
vÝ—U
. . . . . . . . . . . . . . . . . . . . . . . . . . . . . 174
ϪΤϔλ
3 609 929 B97 | (25.8.10) Bosch Power Tools

OBJ_BUCH-55-004.book Page 3 Wednesday, August 25, 2010 1:39 PM
3 |
d
2 607 018 013 (d
<
70 mm)
2 608 135 023
2 607 018 010 (d
<
130 mm)
2 608 135 020
2 607 018 011 (d
<
200 mm)
2 608 135 021
2 607 018 012 (d
<
300 mm)
2 608 135 022
1 609 200 265
3 609 929 B97 | (25.8.10) Bosch Power Tools

OBJ_BUCH-55-004.book Page 4 Wednesday, August 25, 2010 1:39 PM
4 |
5
1
2
3
4
GSG 300
Professional
3 609 929 B97 | (25.8.10) Bosch Power Tools

OBJ_BUCH-55-004.book Page 5 Wednesday, August 25, 2010 1:39 PM
5 |
BA
7
8
2
32
6
C
24
9
3 609 929 B97 | (25.8.10) Bosch Power Tools

OBJ_BUCH-55-004.book Page 6 Wednesday, August 25, 2010 1:39 PM
6 | Deutsch
de
Sicherheitshinweise
c) Halten Sie Elektrowerkzeuge von Regen
oder Nässe fern. Das Eindringen von Was-
ser in ein Elektrowerkzeug erhöht das Ri-
Allgemeine Sicherheitshinweise für
siko eines elektrischen Schlages.
Elektrowerkzeuge
d) Zweckentfremden Sie das Kabel nicht,
WARNUNG
Lesen Sie alle Sicherheitshin-
um das Elektrowerkzeug zu tragen, auf-
weise und Anweisungen. Ver-
zuhängen oder um den Stecker aus der
säumnisse bei der Einhaltung der Sicherheits-
Steckdose zu ziehen. Halten Sie das Ka-
hinweise und Anweisungen können elektrischen
bel fern von Hitze, Öl, scharfen Kanten
Schlag, Brand und/oder schwere Verletzungen
oder sich bewegenden Geräteteilen. Be-
verursachen.
schädigte oder verwickelte Kabel erhöhen
Bewahren Sie alle Sicherheitshinweise und
das Risiko eines elektrischen Schlages.
Anweisungen für die Zukunft auf.
e) Wenn Sie mit einem Elektrowerkzeug im
Der in den Sicherheitshinweisen verwendete Be-
Freien arbeiten, verwenden Sie nur Ver-
griff „Elektrowerkzeug“ bezieht sich auf netzbe-
längerungskabel, die auch für den Außen-
triebene Elektrowerkzeuge (mit Netzkabel) und
bereich geeignet sind. Die Anwendung
auf akkubetriebene Elektrowerkzeuge (ohne
eines für den Außenbereich geeigneten
Netzkabel).
Verlängerungskabels verringert das Risiko
1) Arbeitsplatzsicherheit
eines elektrischen Schlages.
a) Halten Sie Ihren Arbeitsbereich sauber
f) Wenn der Betrieb des Elektrowerkzeuges
und gut beleuchtet. Unordnung oder un-
in feuchter Umgebung nicht vermeidbar
beleuchtete Arbeitsbereiche können zu
ist, verwenden Sie einen Fehlerstrom-
Unfällen führen.
schutzschalter. Der Einsatz eines Fehler-
stromschutzschalters vermindert das
b) Arbeiten Sie mit dem Elektrowerkzeug
Risiko eines elektrischen Schlages.
nicht in explosionsgefährdeter Umge-
bung, in der sich brennbare Flüssigkei-
3) Sicherheit von Personen
ten, Gase oder Stäube befinden. Elektro-
werkzeuge erzeugen Funken, die den
a) Seien Sie aufmerksam, achten Sie darauf,
Staub oder die Dämpfe entzünden können.
was Sie tun, und gehen Sie mit Vernunft
an die Arbeit mit einem Elektrowerkzeug.
c) Halten Sie Kinder und andere Personen
Benutzen Sie kein Elektrowerkzeug, wenn
während der Benutzung des Elektro-
Sie müde sind oder unter dem Einfluss
werkzeugs fern. Bei Ablenkung können
von Drogen, Alkohol oder Medikamenten
Sie die Kontrolle über das Gerät verlieren.
stehen. Ein Moment der Unachtsamkeit
2) Elektrische Sicherheit
beim Gebrauch des Elektrowerkzeuges
kann zu ernsthaften Verletzungen führen.
a) Der Anschlussstecker des Elektrowerk-
zeuges muss in die Steckdose passen. Der
b) Tragen Sie persönliche Schutzausrüstung
Stecker darf in keiner Weise verändert
und immer eine Schutzbrille. Das Tragen
werden. Verwenden Sie keine Adapterste-
persönlicher Schutzausrüstung, wie
cker gemeinsam mit schutzgeerdeten
Staubmaske, rutschfeste Sicherheitsschu-
Elektrowerkzeugen. Unveränderte Stecker
he, Schutzhelm oder Gehörschutz, je nach
und passende Steckdosen verringern das
Art und Einsatz des Elektrowerkzeuges,
Risiko eines elektrischen Schlages.
verringert das Risiko von Verletzungen.
b) Vermeiden Sie Körperkontakt mit geerde-
c) Vermeiden Sie eine unbeabsichtigte In-
ten Oberflächen wie von Rohren, Heizun-
betriebnahme. Vergewissern Sie sich,
gen, Herden und Kühlschränken. Es be-
dass das Elektrowerkzeug ausgeschaltet
steht ein erhöhtes Risiko durch elektri-
ist, bevor Sie es an die Stromversorgung
schen Schlag, wenn Ihr Körper geerdet ist.
und/oder den Akku anschließen, es auf-
3 609 929 B97 | (25.8.10) Bosch Power Tools

OBJ_BUCH-55-004.book Page 7 Wednesday, August 25, 2010 1:39 PM
Deutsch | 7
nehmen oder tragen. Wenn Sie beim Tra-
c) Ziehen Sie den Stecker aus der Steckdo-
gen des Elektrowerkzeuges den Finger am
se und/oder entfernen Sie den Akku, be-
Schalter haben oder das Gerät einge-
vor Sie Geräteeinstellungen vornehmen,
schaltet an die Stromversorgung anschlie-
Zubehörteile wechseln oder das Gerät
ßen, kann dies zu Unfällen führen.
weglegen. Diese Vorsichtsmaßnahme ver-
d) Entfernen Sie Einstellwerkzeuge oder
hindert den unbeabsichtigten Start des
Schraubenschlüssel, bevor Sie das Elek-
Elektrowerkzeuges.
trowerkzeug einschalten. Ein Werkzeug
d) Bewahren Sie unbenutzte Elektrowerk-
oder Schlüssel, der sich in einem drehen-
zeuge außerhalb der Reichweite von Kin-
den Geräteteil befindet, kann zu Verlet-
dern auf. Lassen Sie Personen das Gerät
zungen führen.
nicht benutzen, die mit diesem nicht ver-
e) Vermeiden Sie eine abnormale Körper-
traut sind oder diese Anweisungen nicht
haltung. Sorgen Sie für einen sicheren
gelesen haben. Elektrowerkzeuge sind
Stand und halten Sie jederzeit das
gefährlich, wenn sie von unerfahrenen
Gleichgewicht. Dadurch können Sie das
Personen benutzt werden.
Elektrowerkzeug in unerwarteten Situatio-
e) Pflegen Sie Elektrowerkzeuge mit Sorg-
nen besser kontrollieren.
falt. Kontrollieren Sie, ob bewegliche
Teile einwandfrei funktionieren und
f) Tragen Sie geeignete Kleidung. Tragen
nicht klemmen, ob Teile gebrochen oder
Sie keine weite Kleidung oder Schmuck.
so beschädigt sind, dass die Funktion
Halten Sie Haare, Kleidung und Hand-
des Elektrowerkzeuges beeinträchtigt
schuhe fern von sich bewegenden Tei-
ist. Lassen Sie beschädigte Teile vor dem
len. Lockere Kleidung, Schmuck oder lan-
Einsatz des Gerätes reparieren. Viele Un-
ge Haare können von sich bewegenden
fälle haben ihre Ursache in schlecht ge-
Teilen erfasst werden.
warteten Elektrowerkzeugen.
g) Wenn Staubabsaug- und -auffangeinrich-
f) Halten Sie Schneidwerkzeuge scharf und
tungen montiert werden können, verge-
sauber. Sorgfältig gepflegte Schneid-
wissern Sie sich, dass diese angeschlos-
werkzeuge mit scharfen Schneidkanten
sen sind und richtig verwendet werden.
verklemmen sich weniger und sind leich-
Verwendung einer Staubabsaugung kann
ter zu führen.
Gefährdungen durch Staub verringern.
g) Verwenden Sie Elektrowerkzeug, Zube-
4) Verwendung und Behandlung des Elektro-
hör, Einsatzwerkzeuge usw. entspre-
werkzeuges
chend diesen Anweisungen. Berücksich-
tigen Sie dabei die Arbeitsbedingungen
a) Überlasten Sie das Gerät nicht. Verwen-
und die auszuführende Tätigkeit. Der Ge-
den Sie für Ihre Arbeit das dafür bestimm-
brauch von Elektrowerkzeugen für andere
te Elektrowerkzeug. Mit dem passenden
als die vorgesehenen Anwendungen kann
Elektrowerkzeug arbeiten Sie besser und
zu gefährlichen Situationen führen.
sicherer im angegebenen Leistungsbe-
reich.
5) Service
b) Benutzen Sie kein Elektrowerkzeug, des-
a) Lassen Sie Ihr Elektrowerkzeug nur von
sen Schalter defekt ist. Ein Elektrowerk-
qualifiziertem Fachpersonal und nur mit
zeug, das sich nicht mehr ein- oder aus-
Original-Ersatzteilen reparieren. Damit
schalten lässt, ist gefährlich und muss
wird sichergestellt, dass die Sicherheit
repariert werden.
des Elektrowerkzeuges erhalten bleibt.
Bosch Power Tools 3 609 929 B97 | (25.8.10)

OBJ_BUCH-55-004.book Page 8 Wednesday, August 25, 2010 1:39 PM
8 | Deutsch
Sicherheitshinweise für Schaumstoff-
Abgebildete Komponenten
sägen
Die Nummerierung der abgebildeten Kompo-
f Halten Sie das Gerät an den isolierten Griff-
nenten bezieht sich auf die Darstellung des Elek-
flächen, wenn Sie Arbeiten ausführen, bei
trowerkzeuges auf der Grafikseite.
denen das Einsatzwerkzeug verborgene
1 Ein-/Ausschalter
Stromleitungen oder das eigene Netzkabel
2 Sägeblattführung*
treffen kann. Der Kontakt mit einer span-
nungsführenden Leitung kann auch metalle-
3 Sägeblattpaar*
ne Geräteteile unter Spannung setzen und zu
4 Fußplatte
einem elektrischen Schlag führen.
5 Handgriff (isolierte Grifffläche)
f Halten Sie die Hände vom Sägebereich fern.
6 Schraube
Greifen Sie nicht unter das Werkstück. Bei
7 Abdeckplatte
Kontakt mit dem Sägeblatt besteht Verlet-
8 Rändelschraube
zungsgefahr.
9 Spannschraube für Fußplatte
*Abgebildetes oder beschriebenes Zubehör gehört
nicht zum Standard-Lieferumfang. Das vollständige
Funktionsbeschreibung
Zubehör finden Sie in unserem Zubehörprogramm.
Lesen Sie alle Sicherheitshinweise
und Anweisungen. Versäumnisse
Technische Daten
bei der Einhaltung der Sicherheits-
hinweise und Anweisungen können
Schaumstoffsäge GSG 300
elektrischen Schlag, Brand und/oder
Professional
schwere Verletzungen verursachen.
Sachnummer
0 601 575 1..
Bitte klappen Sie die Aufklappseite mit der Dar-
Nennaufnahmeleistung
W 350
stellung des Elektrowerkzeugs auf, und lassen
Abgabeleistung
W 185
Sie diese Seite aufgeklappt, während Sie die
Betriebsanleitung lesen.
Leerlaufhubzahl n
min
-1
0
3200
Lasthubzahl
min
-1
2100
Bestimmungsgemäßer Gebrauch
max. Schnitttiefe
mm 300
Das Elektrowerkzeug ist bestimmt zum Schnei-
Gewicht entsprechend
den beliebiger Formen von Schaumkunststof-
EPTA-Procedure
fen, Schaumgummi und ähnlichen Werkstoffen.
01/2003
kg 1,6
Schutzklasse
/II
Die Angaben gelten für eine Nennspannung [U] von
230 V. Bei abweichenden Spannungen und in länder-
spezifischen Ausführungen können diese Angaben vari-
ieren.
Bitte beachten Sie die Sachnummer auf dem Typen-
schild Ihres Elektrowerkzeugs. Die Handelsbezeichnun-
gen einzelner Elektrowerkzeuge können variieren.
3 609 929 B97 | (25.8.10) Bosch Power Tools

OBJ_BUCH-55-004.book Page 9 Wednesday, August 25, 2010 1:39 PM
Deutsch | 9
Geräusch-/Vibrationsinformation
Konformitätserklärung
Messwerte für Geräusch ermittelt entsprechend
Wir erklären in alleiniger Verantwortung, dass
EN 60745.
das unter „Technische Daten“ beschriebene
Der A-bewertete Geräuschpegel des Elektro-
Produkt mit den folgenden Normen oder norma-
werkzeugs beträgt typischerweise: Schalldruck-
tiven Dokumenten übereinstimmt: EN 60745
pegel 81 dB(A); Schallleistungspegel 92 dB(A).
gemäß den Bestimmungen der Richtlinien
Unsicherheit K=3 dB.
2004/108/EG, 2006/42/EG.
Gehörschutz tragen!
Technische Unterlagen bei:
Schwingungsgesamtwerte (Vektorsumme dreier
Robert Bosch GmbH, PT/ESC,
Richtungen) ermittelt entsprechend EN 60745:
D-70745 Leinfelden-Echterdingen
Schwingungsemissionswert a
2
h
=2,5 m/s
,
Dr. Egbert Schneider
Dr. Eckerhard Strötgen
Unsicherheit K =1,5 m/s
2
.
Senior Vice President
Head of Product
Der in diesen Anweisungen angegebene Schwin-
Engineering
Certification
gungspegel ist entsprechend einem in EN 60745
genormten Messverfahren gemessen worden
und kann für den Vergleich von Elektrowerkzeu-
gen miteinander verwendet werden. Er eignet
Robert Bosch GmbH, Power Tools Division
sich auch für eine vorläufige Einschätzung der
D-70745 Leinfelden-Echterdingen
Schwingungsbelastung.
Leinfelden, 17.05.2010
Der angegebene Schwingungspegel repräsen-
tiert die hauptsächlichen Anwendungen des
Elektrowerkzeugs. Wenn allerdings das Elektro-
Montage
werkzeug für andere Anwendungen, mit abwei-
chenden Einsatzwerkzeugen oder ungenügen-
f Ziehen Sie vor allen Arbeiten am Elektro-
der Wartung eingesetzt wird, kann der
werkzeug den Netzstecker aus der Steck-
Schwingungspegel abweichen. Dies kann die
dose.
Schwingungsbelastung über den gesamten Ar-
beitszeitraum deutlich erhöhen.
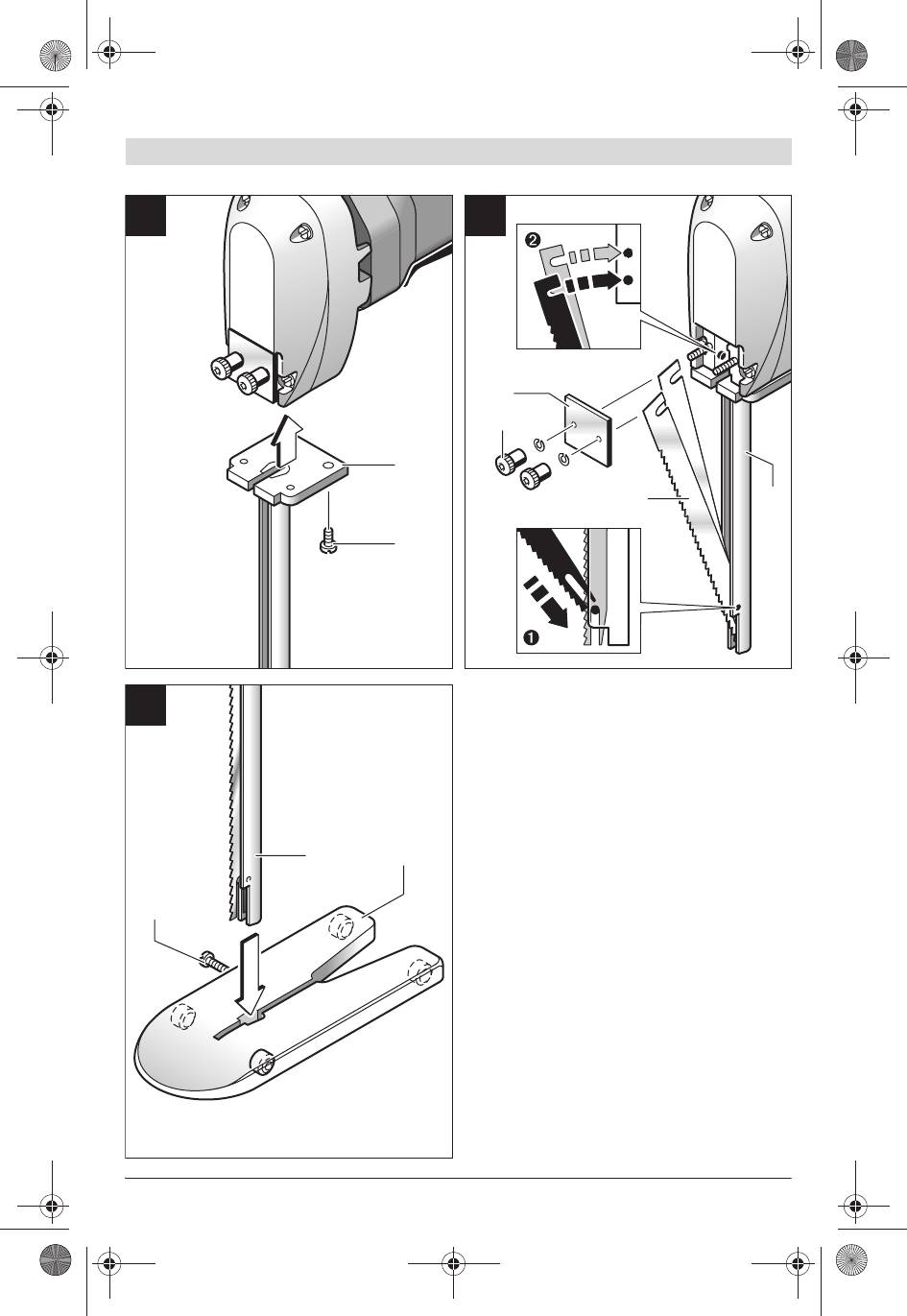
Sägeblattführung montieren
Für eine genaue Abschätzung der Schwingungs-
(siehe Bild A)
belastung sollten auch die Zeiten berücksichtigt
werden, in denen das Gerät abgeschaltet ist
Lösen Sie die Schrauben 6 vom Gehäuse und
oder zwar läuft, aber nicht tatsächlich im Ein-
entfernen Sie diese. Setzen Sie die Sägeblatt-
satz ist. Dies kann die Schwingungsbelastung
führung 2 so an das Gehäuse an, dass die Auf-
über den gesamten Arbeitszeitraum deutlich
nahmestifte in die entsprechenden Bohrungen
reduzieren.
greifen. Schrauben Sie die Sägeblattführung 2
Legen Sie zusätzliche Sicherheitsmaßnahmen
mit den Schrauben 6 am Gehäuse fest.
zum Schutz des Bedieners vor der Wirkung von
Schwingungen fest wie zum Beispiel: Wartung
von Elektrowerkzeug und Einsatzwerkzeugen,
Warmhalten der Hände, Organisation der
Arbeitsabläufe.
Bosch Power Tools 3 609 929 B97 | (25.8.10)

OBJ_BUCH-55-004.book Page 10 Wednesday, August 25, 2010 1:39 PM
10 | Deutsch
– Benutzen Sie möglichst eine für das Mate-
Sägeblätter einsetzen/wechseln
rial geeignete Staubabsaugung.
(siehe Bild B)
– Sorgen Sie für gute Belüftung des Arbeits-
f Tragen Sie bei der Montage des Sägeblattes
platzes.
Schutzhandschuhe. Bei Berührung des Säge-
– Es wird empfohlen, eine Atemschutzmas-
blattes besteht Verletzungsgefahr.
ke mit Filterklasse P2 zu tragen.
Lösen Sie die Rändelschrauben 8 und nehmen
Beachten Sie in Ihrem Land gültige Vorschrif-
Sie diese zusammen mit den Federringen und
ten für die zu bearbeitenden Materialien.
der Abdeckplatte 7 ab.
n Setzen Sie das Sägeblattpaar 3 zunächst un-
ten in die Sägeblattführung 2 ein. Achten Sie
Betrieb
darauf, dass die Längsschlitze der Sägeblät-
ter in den Führungsstift der Sägeblattfüh-
rung eingreifen.
Inbetriebnahme
o Hängen Sie anschließend das Sägeblattpaar
f Beachten Sie die Netzspannung! Die Span-
3 so in den Mitnehmerzapfen ein, dass die
nung der Stromquelle muss mit den Anga-
Sägeblätter einwandfrei in der Aufnahme-
ben auf dem Typenschild des Elektrowerk-
führung sitzen.
zeuges übereinstimmen. Mit 230 V
Setzen Sie die Abdeckplatte 7 auf die Gewin-
gekennzeichnete Elektrowerkzeuge können
destifte am Gehäuse auf und befestigen Sie die-
auch an 220 V betrieben werden.
se mit den Rändelschrauben 8. Vergewissern
Ein-/Ausschalten
Sie sich, dass die Federringe untergelegt sind.
Drücken Sie zur Inbetriebnahme des Elektro-
werkzeuges den Ein-/Ausschalter 1 und halten
Fußplatte montieren (siehe Bild C)
Sie ihn gedrückt.
Setzen Sie die Sägeblattführung 2 in die ent-
Zum Feststellen des gedrückten Ein-/Ausschal-
sprechende Aussparung der Fußplatte 4 ein.
ters 1 schieben Sie den Ein-/Ausschalter 1 nach
Ziehen Sie die Spannschraube 9 fest.
hinten.
Um das Elektrowerkzeug auszuschalten, lassen
Staub-/Späneabsaugung
Sie den Ein-/Ausschalter 1 los bzw. wenn arre-
f Stäube von Materialien wie bleihaltigem An-
tiert ist, drücken Sie den Ein-/Ausschalter 1 kurz
strich, einigen Holzarten, Mineralien und Me-
und lassen ihn dann los.
tall können gesundheitsschädlich sein. Be-
rühren oder Einatmen der Stäube können
allergische Reaktionen und/oder Atem-
wegserkrankungen des Benutzers oder in der
Nähe befindlicher Personen hervorrufen.
Bestimmte Stäube wie Eichen- oder Buchen-
staub gelten als krebserzeugend, besonders
in Verbindung mit Zusatzstoffen zur Holzbe-
handlung (Chromat, Holzschutzmittel). As-
besthaltiges Material darf nur von Fachleuten
bearbeitet werden.
3 609 929 B97 | (25.8.10) Bosch Power Tools

OBJ_BUCH-55-004.book Page 11 Wednesday, August 25, 2010 1:39 PM
Deutsch | 11
Arbeitshinweise
Wartung und Service
f Ziehen Sie vor allen Arbeiten am Elektro-
werkzeug den Netzstecker aus der Steck-
Wartung und Reinigung
dose.
f Ziehen Sie vor allen Arbeiten am Elektro-
werkzeug den Netzstecker aus der Steck-
Sägeblätter und Sägeblattführungen
dose.
Je nach zu bearbeitender Materialstärke können
f Halten Sie das Elektrowerkzeug und die
verschiedene Sägeblattführungen und dazuge-
Lüftungsschlitze sauber, um gut und sicher
hörige Sägeblätter eingesetzt werden, siehe
zu arbeiten.
dazu die Zubehörübersicht.
Reinigen Sie die Sägeblattführung und die Säge-
Fußplatte mit Gleitrollen
blätter regelmäßig, ca. alle 8 Betriebsstunden.
Sie können die Schaumstoffsäge mit oder ohne
Entnehmen Sie dazu die Sägeblätter aus dem
Fußplatte verwenden. Die mit Gleitrollen verse-
Elektrowerkzeug und reinigen Sie die Sägeblät-
hene Fußplatte erlaubt ein leichtes und recht-
ter am besten mit Benzin. Verwenden Sie ggf.
winkliges Führen der Säge.
einen Schaber zur Reinigung der Sägeblattfüh-
Zum Schneiden beliebiger Formen und zum An-
rung. Ölen Sie die Sägeblattführung leicht vor
fertigen von Ausschnitten arbeiten Sie am besten
dem Einbau neuer bzw. geschärfter Sägeblätter.
ohne Fußplatte.
Sollte das Elektrowerkzeug trotz sorgfältiger
Herstellungs- und Prüfverfahren einmal ausfal-
Schaumstoff bearbeiten
len, ist die Reparatur von einer autorisierten
Zum Anfertigen genauer Zuschnitte, vor allem
Kundendienststelle für Bosch-Elektrowerkzeuge
bei weichen Schaumstoffen und ähnlichen Ma-
ausführen zu lassen.
terialien, arbeiten Sie nur mit mäßigem Vor-
Geben Sie bei allen Rückfragen und Ersatzteil-
schub. Drücken oder dehnen Sie das Material
bestellungen bitte unbedingt die 10-stellige
beim Bearbeiten nicht zu stark.
Sachnummer laut Typenschild des Elektrowerk-
Demontieren Sie zum Anfertigen von kleineren
zeuges an.
Ausschnitten die Fußplatte. Stechen Sie mit ei-
nem Messer oder einer Schere in das Material,
stecken Sie anschließend die Sägeblattführung
in die Öffnung und bearbeiten Sie den Aus-
schnitt.
Zum Anfertigen größerer Ausschnitte wählen Sie
die Einstichöffnung so groß, dass die Sägeblatt-
führung mit montierter Fußplatte durchgesteckt
werden kann. Achten Sie darauf, dass der Unter-
grund frei von Hindernissen ist. Führen Sie das
Elektrowerkzeug mit mäßigem Druck an der Aus-
schnittslinie entlang.
Bosch Power Tools 3 609 929 B97 | (25.8.10)

OBJ_BUCH-55-004.book Page 12 Wednesday, August 25, 2010 1:39 PM
12 | Deutsch
Kundendienst und Kundenberatung
Entsorgung
Der Kundendienst beantwortet Ihre Fragen zu
Elektrowerkzeuge, Zubehör und Verpackungen
Reparatur und Wartung Ihres Produkts sowie zu
sollen einer umweltgerechten Wiederverwer-
Ersatzteilen. Explosionszeichnungen und Infor-
tung zugeführt werden.
mationen zu Ersatzteilen finden Sie auch unter:
Werfen Sie Elektrowerkzeuge nicht in den Haus-
www.bosch-pt.com
müll!
Das Bosch-Kundenberater-Team hilft Ihnen gerne
bei Fragen zu Kauf, Anwendung und Einstellung
Nur für EU-Länder:
von Produkten und Zubehören.
Gemäß der Europäischen Richtlinie
www.powertool-portal.de, das Internetportal
2002/96/EG über Elektro- und
für Handwerker und Heimwerker.
Elektronik-Altgeräte und ihrer Um-
www.ewbc.de, der Informations-Pool für Hand-
setzung in nationales Recht müs-
werk und Ausbildung.
sen nicht mehr gebrauchsfähige
Elektrowerkzeuge getrennt gesam-
Deutschland
melt und einer umweltgerechten Wiederverwer-
Robert Bosch GmbH
tung zugeführt werden.
Servicezentrum Elektrowerkzeuge
Zur Luhne 2
Änderungen vorbehalten.
37589 Kalefeld – Willershausen
Tel. Kundendienst: +49 (1805) 70 74 10*
Fax: +49 (1805) 70 74 11*
(*Festnetzpreis 14 ct/min, höchstens 42 ct/min
aus Mobilfunknetzen)
E-Mail:
Servicezentrum.Elektrowerkzeuge@de.bosch.com
Tel. Kundenberatung: +49 (1803) 33 57 99
(Festnetzpreis 9 ct/min, höchstens 42 ct/min
aus Mobilfunknetzen)
Fax: +49 (711) 7 58 19 30
E-Mail: kundenberatung.ew@de.bosch.com
Österreich
Tel.: +43 (01) 7 97 22 20 10
Fax: +43 (01) 7 97 22 20 11
E-Mail: service.elektrowerkzeuge@at.bosch.com
Schweiz
Tel.: +41 (044) 8 47 15 11
Fax: +41 (044) 8 47 15 51
Luxemburg
Tel.: +32 (070) 22 55 65
Fax: +32 (070) 22 55 75
E-Mail: outillage.gereedschap@be.bosch.com
3 609 929 B97 | (25.8.10) Bosch Power Tools

OBJ_BUCH-55-004.book Page 13 Wednesday, August 25, 2010 1:39 PM
English | 13
en
Safety Notes
e) When operating a power tool outdoors,
use an extension cord suitable for out-
door use. Use of a cord suitable for out-
General Power Tool Safety Warnings
door use reduces the risk of electric shock.
WARNING
Read all safety warnings and all
f) If operating a power tool in a damp loca-
instructions. Failure to follow
tion is unavoidable, use a residual current
the warnings and instructions may result in elec-
device (RCD) protected supply. Use of an
tric shock, fire and/or serious injury.
RCD reduces the risk of electric shock.
Save all warnings and instructions for future
reference.
3) Personal safety
a) Stay alert, watch what you are doing and
The term “power tool” in the warnings refers to
use common sense when operating a
your mains-operated (corded) power tool or
power tool. Do not use a power tool while
battery-operated (cordless) power tool.
you are tired or under the influence of
drugs, alcohol or medication. A moment
1) Work area safety
of inattention while operating power tools
a) Keep work area clean and well lit. Clut-
may result in serious personal injury.
tered or dark areas invite accidents.
b) Use personal protective equipment.
b) Do not operate power tools in explosive
Always wear eye protection. Protective
atmospheres, such as in the presence of
equipment such as dust mask, non-skid
flammable liquids, gases or dust. Power
safety shoes, hard hat, or hearing protec-
tools create sparks which may ignite the
tion used for appropriate conditions will
dust or fumes.
reduce personal injuries.
c) Keep children and bystanders away
c) Prevent unintentional starting. Ensure
while operating a power tool. Distrac-
the switch is in the off-position before
tions can cause you to lose control.
connecting to power source and/or bat-
tery pack, picking up or carrying the tool.
2) Electrical safety
Carrying power tools with your finger on
a) Power tool plugs must match the outlet.
the switch or energising power tools that
Never modify the plug in any way. Do not
have the switch on invites accidents.
use any adapter plugs with earthed
d) Remove any adjusting key or wrench be-
(grounded) power tools. Unmodified
fore turning the power tool on. A wrench
plugs and matching outlets will reduce
or a key left attached to a rotating part
risk of electric shock.
of the power tool may result in personal
injury.
b) Avoid body contact with earthed or
grounded surfaces, such as pipes, radia-
e) Do not overreach. Keep proper footing
tors, ranges and refrigerators. There is
and balance at all times. This enables
an increased risk of electric shock if your
better control of the power tool in unex-
body is earthed or grounded.
pected situations.
f) Dress properly. Do not wear loose cloth-
c) Do not expose power tools to rain or wet
ing or jewellery. Keep your hair, clothing
conditions. Water entering a power tool
and gloves away from moving parts.
will increase the risk of electric shock.
Loose clothes, jewellery or long hair can
d) Do not abuse the cord. Never use the
be caught in moving parts.
cord for carrying, pulling or unplugging
g) If devices are provided for the connec-
the power tool. Keep cord away from
tion of dust extraction and collection fa-
heat, oil, sharp edges and moving parts.
cilities, ensure these are connected and
Damaged or entangled cords increase the
properly used. Use of dust collection can
risk of electric shock.
reduce dust-related hazards.
Bosch Power Tools 3 609 929 B97 | (25.8.10)

OBJ_BUCH-55-004.book Page 14 Wednesday, August 25, 2010 1:39 PM
14 | English
4) Power tool use and care
Safety Warnings for Foam Rubber
a) Do not force the power tool. Use the cor-
Cutters
rect power tool for your application. The
correct power tool will do the job better
f Hold power tool by insulated gripping sur-
and safer at the rate for which it was de-
faces, when performing an operation where
signed.
the cutting accessory may contact hidden
wiring or its own cord. Cutting accessory
b) Do not use the power tool if the switch
contacting a “live” wire may make exposed
does not turn it on and off. Any power tool
metal parts of the power tool “live” and
that cannot be controlled with the switch
could give the operator an electric shock.
is dangerous and must be repaired.
f Keep hands away from the sawing range.
c) Disconnect the plug from the power
Do not reach under the workpiece. Contact
source and/or the battery pack from the
with the saw blade can lead to injuries.
power tool before making any adjust-
ments, changing accessories, or storing
f Products sold in GB only: Your product is fit-
power tools. Such preventive safety
ted with an BS 1363/A approved electric
measures reduce the risk of starting the
plug with internal fuse (ASTA approved to
power tool accidentally.
BS 1362).
d) Store idle power tools out of the reach of
If the plug is not suitable for your socket out-
children and do not allow persons unfa-
lets, it should be cut off and an appropriate
miliar with the power tool or these in-
plug fitted in its place by an authorised cus-
structions to operate the power tool.
tomer service agent. The replacement plug
Power tools are dangerous in the hands of
should have the same fuse rating as the orig-
untrained users.
inal plug.
The severed plug must be disposed of to
e) Maintain power tools. Check for mis-
avoid a possible shock hazard and should
alignment or binding of moving parts,
never be inserted into a mains socket else-
breakage of parts and any other condi-
where.
tion that may affect the power tool’s op-
Products sold in AUS and NZ only: Use a
eration. If damaged, have the power tool
residual current device (RCD) with a rated
repaired before use. Many accidents are
residual current of 30 mA or less.
caused by poorly maintained power tools.
f) Keep cutting tools sharp and clean. Prop-
erly maintained cutting tools with sharp
cutting edges are less likely to bind and
Functional Description
are easier to control.
Read all safety warnings and all
g) Use the power tool, accessories and tool
instructions. Failure to follow the
bits etc. in accordance with these in-
warnings and instructions may re-
structions, taking into account the work-
sult in electric shock, fire and/or
ing conditions and the work to be per-
serious injury.
formed. Use of the power tool for
While reading the operating instructions, unfold
operations different from those intended
the graphics page for the machine and leave it
could result in a hazardous situation.
open.
5) Service
a) Have your power tool serviced by a qual-
Intended Use
ified repair person using only identical
The machine is intended for the cutting of flexi-
replacement parts. This will ensure that
ble foamed materials made of plastic, rubber or
the safety of the power tool is maintained.
similar materials.
3 609 929 B97 | (25.8.10) Bosch Power Tools

OBJ_BUCH-55-004.book Page 15 Wednesday, August 25, 2010 1:39 PM
English | 15
Product Features
Noise/Vibration Information
The numbering of the product features refers to
Measured sound values determined according
the illustration of the machine on the graphics
to EN 60745.
page.
Typically the A-weighted noise levels of the
1 On/Off switch
product are: Sound pressure level 81 dB(A);
2 Saw blade guide*
Sound power level 92 dB(A). Uncertainty
K=3dB.
3 Saw blade pair*
Wear hearing protection!
4 Base plate
Vibration total values (triax vector sum) deter-
5 Handle (insulated gripping surface)
mined according to EN 60745:
6 Screw
Vibration emission value a
2
h
=2.5 m/s
, Uncer-
7 Cover plate
tainty K =1.5 m/s
2
.
8 Knurled screw
The vibration emission level given in this infor-
9 Tensioning screw for base plate
mation sheet has been measured in accordance
with a standardised test given in EN 60745 and
*Accessories shown or described are not part of the
standard delivery scope of the product. A complete
may be used to compare one tool with another.
overview of accessories can be found in our acces-
It may be used for a preliminary assessment of
sories program.
exposure.
The declared vibration emission level represents
the main applications of the tool. However if the
Technical Data
tool is used for different applications, with differ-
Foam rubber cutter GSG 300
ent accessories or poorly maintained, the vibra-
Professional
tion emission may differ. This may significantly in-
crease the exposure level over the total working
Article number
0 601 575 1..
period.
Rated power input
W 350
An estimation of the level of exposure to vibra-
tion should also take into account the times
Output power
W 185
when the tool is switched off or when it is run-
Stroke rate at no load n
0
min
-1
3200
ning but not actually doing the job. This may sig-
Stroke speed under
nificantly reduce the exposure level over the to-
load
min
-1
2100
tal working period.
Identify additional safety measures to protect
Cutting capacity, max.
mm 300
the operator from the effects of vibration such
Weight according to
as: maintain the tool and the accessories, keep
EPTA-Procedure
the hands warm, organisation of work patterns.
01/2003
kg 1.6
Protection class
/II
The values given are valid for a nominal voltage [U] of
230 V. For different voltages and models for specific
countries, these values can vary.
Please observe the article number on the type plate of
your machine. The trade names of the individual ma-
chines may vary.
Bosch Power Tools 3 609 929 B97 | (25.8.10)

OBJ_BUCH-55-004.book Page 16 Wednesday, August 25, 2010 1:39 PM
16 | English
Declaration of Conformity
Inserting/Replacing Saw Blades
We declare under our sole responsibility that
(see figure B)
the product described under “Technical Data” is
f When mounting the saw blade, wear protec-
in conformity with the following standards or
tive gloves. Danger of injury when touching
standardization documents: EN 60745 accord-
the saw blade.
ing to the provisions of the directives
Loosen and remove the knurled screws 8 togeth-
2004/108/EC, 2006/42/EC.
er with the spring washers and the cover plate 7.
Technical file at:
n Firstly, insert the saw blade pair 3 into the
Robert Bosch GmbH, PT/ESC,
bottom of the saw blade guide 2, paying at-
D-70745 Leinfelden-Echterdingen
tention that the longitudinal grooves of the
Dr. Egbert Schneider
Dr. Eckerhard Strötgen
saw blades engage into the guide pin of the
Senior Vice President
Head of Product
saw blade guide.
Engineering
Certification
o Secondly, locate the top of the saw blade
pair 3 onto the drive tappets, ensuring that
the saw blades are properly seated in the
saw blade guide.
Place the cover plate 7 onto the set screws on
Robert Bosch GmbH, Power Tools Division
D-70745 Leinfelden-Echterdingen
the housing and secure them with the knurled
Leinfelden, 17.05.2010
screws 8, ensuring that the spring washers have
also been mounted.
Assembly
Mounting the Base Plate (see figure C)
Insert the saw blade guide 2 into the corre-
f Before any work on the machine itself, pull
sponding notch on the base plate 4. Tighten the
the mains plug.
tensioning screw 9.
Mounting the Saw Blade Guide
Dust/Chip Extraction
(see figure A)
f Dusts from materials such as lead-containing
Remove the screws 6 from the housing. Attach
coatings, some wood types, minerals and
the saw blade guide 2 onto the housing in such
metal can be harmful to one’s health. Touch-
a manner that the mounting pins engage into
ing or breathing-in the dusts can cause aller-
the corresponding holes and secure with the
gic reactions and/or lead to respiratory infec-
screws 6.
tions of the user or bystanders.
Certain dusts, such as oak or beech dust, are
considered as carcinogenic, especially in
connection with wood-treatment additives
(chromate, wood preservative). Materials
containing asbestos may only be worked by
specialists.
– As far as possible, use a dust extraction
system suitable for the material.
– Provide for good ventilation of the work-
ing place.
– It is recommended to wear a P2 filter-
class respirator.
Observe the relevant regulations in your
country for the materials to be worked.
3 609 929 B97 | (25.8.10) Bosch Power Tools

OBJ_BUCH-55-004.book Page 17 Wednesday, August 25, 2010 1:39 PM
English | 17
Operation
Cutting Foam
For precise cuts, especially with soft foams and
Starting Operation
similar materials, work only with moderate feed.
To not press the material together or squeeze it
f Observe correct mains voltage! The voltage
apart too excessively while working.
of the power source must agree with the
voltage specified on the nameplate of the
Dismount the base plate for smaller cutouts.
machine. Power tools marked with 230 V
Puncture the material using a knife or a pair of
can also be operated with 220 V.
scissors, then insert the saw blade guide into
the opening und work the cutout.
Switching On and Off
For larger cutouts, select an entry opening large
enough to insert the saw blade guide with the
To start the machine, press the On/Off switch 1
mounted base plate. Pay attention that no ob-
and keep it pressed.
stacles are on the bottom of the material. Guide
To lock the pressed On/Off switch 1, slide the
the power tool with moderate pressure along-
On/Off switch 1 toward the rear.
side the cutout line.
To switch off the power tool, release the On/Off
switch 1, or when it is locked, briefly press the
On/Off switch 1 and then release it.
Maintenance and Service
Working Advice
Maintenance and Cleaning
f Before any work on the machine itself, pull
f Before any work on the machine itself, pull
the mains plug.
the mains plug.
f For safe and proper working, always keep
Saw Blades and Saw Blade Guides
the machine and ventilation slots clean.
Depending on the material thickness to be
The saw blade guide and the saw blades at reg-
worked, various saw blade guides and the corre-
ular intervals, approx. after 8 hours of opera-
sponding saw blades can be used. See the Ac-
tion. Remove the saw blades from the power
cessories Overview for more details.
tool for this and preferably clean the saw blades
with petrol. If required, use a scraper to clean
Base Plate
the saw blade guide. Apply a light coat of oil on-
The foam rubber cutter can be used with or
to the saw blade guide before assembling new
without the base plate. The base plate is
or resharpened saw blades.
equipped with rollers, and allows for easy and
If the machine should fail despite the care taken
right-angled guidance of the cutter.
in manufacturing and testing procedures, repair
For cutting random forms and for cutouts, it is
should be carried out by an after-sales service
recommended to work without the base plate.
centre for Bosch power tools.
In all correspondence and spare parts order,
please always include the 10-digit article
number given on the type plate of the machine.
Bosch Power Tools 3 609 929 B97 | (25.8.10)

OBJ_BUCH-55-004.book Page 18 Wednesday, August 25, 2010 1:39 PM
18 | English
Republic of South Africa
After-sales Service and Customer
Customer service
Assistance
Hotline: +27 (011) 6 51 96 00
Our after-sales service responds to your ques-
Gauteng – BSC Service Centre
tions concerning maintenance and repair of your
35 Roper Street, New Centre
product as well as spare parts. Exploded views
Johannesburg
and information on spare parts can also be
Tel.: +27 (011) 4 93 93 75
found under:
Fax: +27 (011) 4 93 01 26
www.bosch-pt.com
E-Mail: bsctools@icon.co.za
Our customer service representatives can an-
swer your questions concerning possible appli-
KZN – BSC Service Centre
cations and adjustment of products and acces-
Unit E, Almar Centre
sories.
143 Crompton Street
Pinetown
Great Britain
Tel.: +27 (031) 7 01 21 20
Robert Bosch Ltd. (B.S.C.)
Fax: +27 (031) 7 01 24 46
P.O. Box 98
E-Mail: bsc.dur@za.bosch.com
Broadwater Park
Western Cape – BSC Service Centre
North Orbital Road
Democracy Way, Prosperity Park
Denham
Milnerton
Uxbridge
Tel.: +27 (021) 5 51 25 77
UB 9 5HJ
Fax: +27 (021) 5 51 32 23
Tel. Service: +44 (0844) 736 0109
E-Mail: bsc@zsd.co.za
Fax: +44 (0844) 736 0146
Bosch Headquarters
E-Mail: boschservicecentre@bosch.com
Midrand, Gauteng
Ireland
Tel.: +27 (011) 6 51 96 00
Fax: +27 (011) 6 51 98 80
Origo Ltd.
E-Mail: rbsa-hq.pts@za.bosch.com
Unit 23 Magna Drive
Magna Business Park
People’s Republic of China
City West
Website: www.bosch-pt.com.cn
Dublin 24
Tel. Service: +353 (01) 4 66 67 00
China Mainland
Fax: +353 (01) 4 66 68 88
Bosch Power Tools (China) Co., Ltd.
567, Bin Kang Road
Australia, New Zealand and Pacific Islands
Bin Jiang District 310052
Robert Bosch Australia Pty. Ltd.
Hangzhou, P.R.China
Power Tools
Service Hotline: 400 826 8484
Locked Bag 66
Fax: +86 (571) 87 77 45 02
Clayton South VIC 3169
E-Mail: contact.ptcn@cn.bosch.com
Customer Contact Center
HK and Macau Special Administrative Regions
Inside Australia:
Robert Bosch Hong Kong Co. Ltd.
Phone: +61 (01300) 307 044
21st Floor, 625 King’s Road
Fax: +61 (01300) 307 045
North Point, Hong Kong
Inside New Zealand:
Customer Service Hotline: +852 (21) 02 02 35
Phone: +64 (0800) 543 353
Fax: +852 (25) 90 97 62
Fax: +64 (0800) 428 570
E-Mail: info@hk.bosch.com
Outside AU and NZ:
www.bosch-pt.com.cn
Phone: +61 (03) 9541 5555
www.bosch.com.au
3 609 929 B97 | (25.8.10) Bosch Power Tools

OBJ_BUCH-55-004.book Page 19 Wednesday, August 25, 2010 1:39 PM
English | 19
Indonesia
Bosch Service – Training Centre
PT. Multi Tehaka
2869-2869/1 Soi Ban Kluay
Kawasan Industri Pulogadung
Rama IV Road (near old Paknam Railway)
Jalan Rawa Gelam III No. 2
Prakanong District
Jakarta 13930
10110 Bangkok
Indonesia
Thailand
Tel.: +62 (21) 46 83 25 22
Tel.: +66 (2) 6 71 78 00 – 4
Fax: +62 (21) 46 82 86 45/68 23
Fax: +66 (2) 2 49 42 96
E-Mail: sales@multitehaka.co.id
Fax: +66 (2) 2 49 52 99
www.multitehaka.co.id
Singapore
Philippines
Robert Bosch (SEA) Pte. Ltd.
Robert Bosch, Inc.
11 Bishan Street 21
28th Floor Fort Legend Towers,
Singapore 573943
3rd Avenue corner 31st Street,
Tel.: +65 6571 2772
Fort Bonifacio Global City,
Fax: +65 6350 5315
1634 Taguig City, Philippines
leongheng.leow@sg.bosch.com
Tel.: +63 (2) 870 3871
Toll-Free: 1800 333 8333
Fax: +63 (2) 870 3870
www.bosch-pt.com.sg
matheus.contiero@ph.bosch.com
www.bosch-pt.com.ph
Vietnam
Bosch Service Center:
Robert Bosch Vietnam Co. Ltd
9725-27 Kamagong Street
10/F, 194 Golden Building
San Antonio Village
473 Dien Bien Phu Street
Makati City, Philippines
Ward 25, Binh Thanh District
Tel.: +63 (2) 899 9091
84 Ho Chi Minh City
Fax: +63 (2) 897 6432
Vietnam
rosalie.dagdagan@ph.bosch.com
Tel.: +84 (8) 6258 3690 ext. 413
Fax: +84 (8) 6258 3692
Malaysia
hieu.lagia@vn.bosch.com
Robert Bosch (S.E.A.) Pte. Ltd.
www.bosch-pt.com
No. 8A, Jalan 13/6
G.P.O. Box 10818
Disposal
46200 Petaling Jaya
Selangor, Malaysia
The machine, accessories and packaging
Tel.: +60 (3) 7966 3194
should be sorted for environmental-friendly re-
Fax: +60 (3) 7958 3838
cycling.
cheehoe.on@my.bosch.com
Do not dispose of power tools into household
Toll-Free: 1800 880 188
waste!
www.bosch-pt.com.my
Only for EC countries:
Thailand
According to the European Guide-
Robert Bosch Ltd.
line 2002/96/EC for Waste Electri-
Liberty Square Building
cal and Electronic Equipment and
No. 287, 11 Floor
its implementation into national
Silom Road, Bangrak
right, power tools that are no
Bangkok 10500
longer usable must be collected
Tel.: +66 (2) 6 31 18 79 – 18 88 (10 lines)
separately and disposed of in an
Fax: +66 (2) 2 38 47 83
environmentally correct manner.
Robert Bosch Ltd., P. O. Box 2054
Bangkok 10501, Thailand
Subject to change without notice.
Bosch Power Tools 3 609 929 B97 | (25.8.10)

OBJ_BUCH-55-004.book Page 20 Wednesday, August 25, 2010 1:39 PM
20 | Français
fr
Avertissements de sécurité
b) Eviter tout contact du corps avec des
surfaces reliées à la terre telles que les
tuyaux, les radiateurs, les cuisinières et
Avertissements de sécurité généraux
les réfrigérateurs. Il existe un risque ac-
pour l’outil
cru de choc électrique si votre corps est
AVERTISSEMENT
Lire tous les avertisse-
relié à la terre.
ments de sécurité et
c) Ne pas exposer les outils à la pluie ou à
toutes les instructions. Ne pas suivre les aver-
des conditions humides. La pénétration
tissements et instructions peut donner lieu à un
d’eau à l’intérieur d’un outil augmentera
choc électrique, un incendie et/ou une blessure
le risque de choc électrique.
sérieuse.
d) Ne pas maltraiter le cordon. Ne jamais
Conserver tous les avertissements et toutes
utiliser le cordon pour porter, tirer ou
les instructions pour pouvoir s’y reporter ulté-
débrancher l’outil. Maintenir le cordon à
rieurement.
l’écart de la chaleur, du lubrifiant, des
Le terme « outil » dans les avertissements fait
arêtes ou des parties en mouvement. Les
référence à votre outil électrique alimenté par le
cordons endommagés ou emmêlés aug-
secteur (avec cordon d’alimentation) ou votre
mentent le risque de choc électrique.
outil fonctionnant sur batterie (sans cordon
e) Lorsqu’on utilise un outil à l’extérieur,
d’alimentation).
utiliser un prolongateur adapté à l’utili-
sation extérieure. L’utilisation d’un cor-
1) Sécurité de la zone de travail
don adapté à l’utilisation extérieure réduit
a) Conserver la zone de travail propre et
le risque de choc électrique.
bien éclairée. Les zones en désordre ou
f) Si l’usage d’un outil dans un emplace-
sombres sont propices aux accidents.
ment humide est inévitable, utiliser une
b) Ne pas faire fonctionner les outils élec-
alimentation protégée par un dispositif à
triques en atmosphère explosive, par
courant différentiel résiduel (RCD).
exemple en présence de liquides inflam-
L’usage d’un RCD réduit le risque de choc
mables, de gaz ou de poussières. Les
électrique.
outils électriques produisent des étincel-
les qui peuvent enflammer les poussières
3) Sécurité des personnes
ou les fumées.
a) Rester vigilant, regarder ce que vous
c) Maintenir les enfants et les personnes
êtes en train de faire et faire preuve de
présentes à l’écart pendant l’utilisation
bon sens dans l’utilisation de l’outil. Ne
de l’outil. Les distractions peuvent vous
pas utiliser un outil lorsque vous êtes fa-
faire perdre le contrôle de l’outil.
tigué ou sous l’emprise de drogues, d’al-
cool ou de médicaments. Un moment
2) Sécurité électrique
d’inattention en cours d’utilisation d’un
a) Il faut que les fiches de l’outil électrique
outil peut entraîner des blessures graves
soient adaptées au socle. Ne jamais mo-
des personnes.
difier la fiche de quelque façon que ce
b) Utiliser un équipement de sécurité. Tou-
soit. Ne pas utiliser d’adaptateurs avec
jours porter une protection pour les yeux.
des outils à branchement de terre. Des
Les équipements de sécurité tels que les
fiches non modifiées et des socles adap-
masques contre les poussières, les chaus-
tés réduiront le risque de choc électrique.
sures de sécurité antidérapantes, les cas-
ques ou les protections acoustiques utili-
sés pour les conditions appropriées
réduiront les blessures des personnes.
3 609 929 B97 | (25.8.10) Bosch Power Tools

OBJ_BUCH-55-004.book Page 21 Wednesday, August 25, 2010 1:39 PM
Français | 21
c) Eviter tout démarrage intempestif. S’as-
c) Débrancher la fiche de la source d’ali-
surer que l’interrupteur est en position
mentation en courant et/ou le bloc de
arrêt avant de brancher l’outil au secteur
batteries de l’outil avant tout réglage,
et/ou au bloc de batteries, de le ramas-
changement d’accessoires ou avant de
ser ou de le porter. Porter les outils en
ranger l’outil. De telles mesures de sécu-
ayant le doigt sur l’interrupteur ou bran-
rité préventives réduisent le risque de dé-
cher des outils dont l’interrupteur est en
marrage accidentel de l’outil.
position marche est source d’accidents.
d) Conserver les outils à l’arrêt hors de la
d) Retirer toute clé de réglage avant de
portée des enfants et ne pas permettre à
mettre l’outil en marche. Une clé laissée
des personnes ne connaissant pas l’outil
fixée sur une partie tournante de l’outil
ou les présentes instructions de le faire
peut donner lieu à des blessures de per-
fonctionner. Les outils sont dangereux
sonnes.
entre les mains d’utilisateurs novices.
e) Ne pas se précipiter. Garder une posi-
e) Observer la maintenance de l’outil. Véri-
tion et un équilibre adaptés à tout mo-
fier qu’il n’y a pas de mauvais alignement
ment. Cela permet un meilleur contrôle
ou de blocage des parties mobiles, des
de l’outil dans des situations inattendues.
pièces cassées ou toute autre condition
f) S’habiller de manière adaptée. Ne pas
pouvant affecter le fonctionnement de
porter de vêtements amples ou de bi-
l’outil. En cas de dommages, faire répa-
joux. Garder les cheveux, les vêtements
rer l’outil avant de l’utiliser. De nom-
et les gants à distance des parties en
breux accidents sont dus à des outils mal
mouvement. Des vêtements amples, des
entretenus.
bijoux ou les cheveux longs peuvent être
f) Garder affûtés et propres les outils per-
pris dans des parties en mouvement.
mettant de couper. Des outils destinés à
g) Si des dispositifs sont fournis pour le
couper correctement entretenus avec des
raccordement d’équipements pour l’ex-
pièces coupantes tranchantes sont moins
traction et la récupération des poussiè-
susceptibles de bloquer et sont plus faci-
res, s’assurer qu’ils sont connectés et
les à contrôler.
correctement utilisés. Utiliser des collec-
g) Utiliser l’outil, les accessoires et les la-
teurs de poussière peut réduire les ris-
mes etc., conformément à ces instruc-
ques dus aux poussières.
tions, en tenant compte des conditions
de travail et du travail à réaliser. L’utili-
4) Utilisation et entretien de l’outil
sation de l’outil pour des opérations diffé-
a) Ne pas forcer l’outil. Utiliser l’outil adap-
rentes de celles prévues pourrait donner
té à votre application. L’outil adapté réali-
lieu à des situations dangereuses.
sera mieux le travail et de manière plus sû-
re au régime pour lequel il a été construit.
5) Maintenance et entretien
b) Ne pas utiliser l’outil si l’interrupteur ne
a) Faire entretenir l’outil par un réparateur
permet pas de passer de l’état de marche
qualifié utilisant uniquement des pièces
à arrêt et vice versa. Tout outil qui ne peut
de rechange identiques. Cela assurera
pas être commandé par l’interrupteur est
que la sécurité de l’outil est maintenue.
dangereux et il faut le faire réparer.
Bosch Power Tools 3 609 929 B97 | (25.8.10)

OBJ_BUCH-55-004.book Page 22 Wednesday, August 25, 2010 1:39 PM
22 | Français
Instructions de sécurité pour scies
Eléments de l’appareil
mousses
La numérotation des éléments de l’appareil se
f Tenir l’outil par les surfaces de préhension
réfère à la représentation de l’outil électroporta-
isolantes, pendant les opérations au cours
tif sur la page graphique.
desquelles l’accessoire coupant peut être
1 Interrupteur Marche/Arrêt
en contact avec des conducteurs cachés ou
2 Guidage de lame de scie*
avec son propre câble. Le contact avec un fil
« sous tension » peut également mettre
3 Paire de lames de scie*
« sous tension » les parties métalliques ex-
4 Plaque de base
posées de l’outil électrique et provoquer un
5 Poignée (surface de préhension isolante)
choc électrique sur l’opérateur.
6 Vis
f Garder les mains à distance de la zone de
7 Plaque de protection
sciage. Ne pas passer les mains sous la piè-
8 Vis moletée
ce à travailler. Lors d’un contact avec la lame
de scie, il y a risque de blessures.
9 Vis de serrage pour plaque de base
*Les accessoires décrits ou illustrés ne sont pas tous
compris dans la fourniture. Vous trouverez les acces-
soires complets dans notre programme d’accessoires.
Description du fonctionnement
Il est impératif de lire toutes les
Caractéristiques techniques
consignes de sécurité et toutes les
instructions. Le non-respect des
Scie pour produits
GSG 300
avertissements et instructions indi-
alvéolaires
Professional
qués ci-après peut conduire à une
N° d’article
0 601 575 1..
électrocution, un incendie et/ou de
Puissance nominale
graves blessures.
absorbée
W 350
Dépliez le volet sur lequel l’appareil est repré-
Puissance utile débitée
W 185
senté de manière graphique. Laissez le volet dé-
plié pendant la lecture de la présente notice
Nombre de courses
d’utilisation.
à vide n
0
tr/min 3200
Nombre de courses
Utilisation conforme
sous charge
tr/min 2100
L’outil électroportatif est conçu pour découper
Profondeur de coupe
toutes sorte de formes dans les produits alvéo-
max.
mm 300
laires, le caoutchouc mousse et les matériaux si-
Poids suivant EPTA-
milaires.
Procedure 01/2003
kg 1,6
Classe de protection
/II
Ces indications sont valables pour une tension nomina-
le de [U] 230 V. Ces indications peuvent varier pour
des tensions plus basses ainsi que pour des versions
spécifiques à certains pays.
Respectez impérativement le numéro d’article se trou-
vant sur la plaque signalétique de l’outil électroportatif.
Les désignations commerciales des différents outils
électroportatifs peuvent varier.
3 609 929 B97 | (25.8.10) Bosch Power Tools

OBJ_BUCH-55-004.book Page 23 Wednesday, August 25, 2010 1:39 PM
Français | 23
Niveau sonore et vibrations
Déclaration de conformité
Valeurs de mesure du niveau sonore relevées
Nous déclarons sous notre propre responsabili-
conformément à la norme EN 60745.
té que le produit décrit sous « Caractéristiques
Les mesures réelles (A) des niveaux sonores de
techniques » est en conformité avec les normes
l’appareil sont : niveau de pression acoustique
ou documents normatifs suivants : EN 60745
81 dB(A) ; niveau d’intensité acoustique
conformément aux termes des réglementations
92 dB(A). Incertitude K=3 dB.
en vigueur 2004/108/CE, 2006/42/CE.
Porter une protection acoustique !
Dossier technique auprès de :
Valeurs totales des vibrations (somme vectoriel-
Robert Bosch GmbH, PT/ESC,
le des trois axes directionnels) relevées confor-
D-70745 Leinfelden-Echterdingen
mément à la norme EN 60745 :
Dr. Egbert Schneider
Dr. Eckerhard Strötgen
Valeur d’émission vibratoire a
2
h
=2,5 m/s
, incer-
Senior Vice President
Head of Product
titude K =1,5 m/s
2
.
Engineering
Certification
Le niveau d’oscillation indiqué dans ces instruc-
tions d’utilisation a été mesuré conformément à
la norme EN 60745 et peut être utilisé pour une
comparaison d’outils électroportatifs. Il est éga-
Robert Bosch GmbH, Power Tools Division
lement approprié pour une estimation prélimi-
D-70745 Leinfelden-Echterdingen
naire de la charge vibratoire.
Leinfelden, 17.05.2010
Le niveau d’oscillation correspond aux utilisa-
tions principales de l’outil électroportatif. Si
l’outil électrique est cependant utilisé pour
Montage
d’autres applications, avec d’autres outils de
travail ou avec un entretien non approprié, le ni-
f Avant d’effectuer des travaux sur l’outil
veau d’oscillation peut être différent. Ceci peut
électroportatif, retirez la fiche de la prise
augmenter considérablement la charge vibratoi-
de courant.
re pendant toute la durée de travail.
Pour une estimation précise de la charge vibra-
Montage du guidage de lame de scie
toire, il est recommandé de prendre aussi en
(voir figure A)
considération les périodes pendant lesquelles
l’appareil est éteint ou en fonctionnement, mais
Desserrer les vis 6 du boîtier et les enlever. Pla-
pas vraiment utilisé. Ceci peut réduire considé-
cer le guidage de lame de scie 2 sur le boîtier de
rablement la charge vibratoire pendant toute la
sorte que les tiges prennent dans les alésages
durée de travail.
correspondants. Visser le guidage de lame de
Déterminez des mesures de protection supplé-
scie 2 avec les vis 6 sur le boîtier.
mentaires pour protéger l’utilisateur des effets
de vibrations, telles que par exemple : entretien
de l’outil électrique et des outils de travail,
maintenir les mains chaudes, organisation judi-
cieuse des opérations de travail.
Bosch Power Tools 3 609 929 B97 | (25.8.10)

OBJ_BUCH-55-004.book Page 24 Wednesday, August 25, 2010 1:39 PM
24 | Français
Montage/changement des lames de scie
Aspiration de poussières/de copeaux
(voir figure B)
f Les poussières de matériaux tels que peintu-
f Portez toujours des gants de protection
res contenant du plomb, certains bois, miné-
pour monter la lame de scie. Lors d’un con-
raux ou métaux, peuvent être nuisibles à la
tact avec la lame de scie, il y a risque de bles-
santé. Entrer en contact ou aspirer les pous-
sures.
sières peut entraîner des réactions allergi-
Desserrer les vis moletées 8 et les enlever avec
ques et/ou des maladies respiratoires auprès
les anneaux élastiques et la plaque de protec-
de l’utilisateur ou de personnes se trouvant à
tion 7.
proximité.
Certaines poussières telles que les poussiè-
n D’abord placer la paire de lames de scie 3
res de chêne ou de hêtre sont considérées
dans le guidage de lame de scie 2. Veiller à
comme cancérigènes, surtout en association
ce que les fentes longitudinales des lames
avec des additifs pour le traitement du bois
de scie prennent dans la tige de guidage du
(chromate, lazure). Les matériaux contenant
guidage de lame de scie.
de l’amiante ne doivent être travaillés que
o Ensuite accrocher la paire de lames de scie
par des personnes qualifiées.
3 dans l’ergot entraîneur de sorte que les la-
– Si possible, utilisez un dispositif d’aspira-
mes de scie reposent correctement dans le
tion des poussières approprié au matériau.
guidage.
– Veillez à bien aérer la zone de travail.
Monter la plaque de protection 7 sur les tiges fi-
– Il est recommandé de porter un masque
letées se trouvant sur le boîtier et les attacher à
respiratoire avec un niveau de filtration de
l’aide des vis moletées 8. S’assurer que les an-
classe P2.
neaux élastiques sont mis en place.
Respectez les règlements spécifiques aux ma-
tériaux à traiter en vigueur dans votre pays.
Montage de la plaque de base
(voir figure C)
Mise en marche
Monter le guidage de lames de scie 2 dans l’en-
coche correspondante de la plaque de base 4.
Bien serrer la vis de serrage 9.
Mise en service
f Tenez compte de la tension du réseau ! La
tension de la source de courant doit corres-
pondre aux indications se trouvant sur la
plaque signalétique de l’outil électroportatif.
Les outils électroportatifs marqués 230 V
peuvent également fonctionner sur 220 V.
Mise en Marche/Arrêt
Pour mettre l’outil électroportatif en marche,
appuyez sur l’interrupteur Marche/Arrêt 1 et
maintenez-le appuyé.
Pour bloquer l’interrupteur Marche/Arrêt ap-
puyé 1, pousser l’interrupteur Marche/Arrêt 1
vers l’arrière.
Pour arrêter l’outil électroportatif, relâchez l’in-
terrupteur Marche/Arrêt 1 ou, s’il est bloqué,
appuyez brièvement sur l’interrupteur Mar-
che/Arrêt 1, puis relâchez-le.
3 609 929 B97 | (25.8.10) Bosch Power Tools

OBJ_BUCH-55-004.book Page 25 Wednesday, August 25, 2010 1:39 PM
Français | 25
Instructions d’utilisation
Entretien et Service
f Avant d’effectuer des travaux sur l’outil
Après-Vente
électroportatif, retirez la fiche de la prise
de courant.
Nettoyage et entretien
Lames de scie et guidages
f Avant d’effectuer des travaux sur l’outil
électroportatif, retirez la fiche de la prise
En fonction de l’épaisseur du matériau à tra-
de courant.
vailler, il est possible d’utiliser différents guida-
ges et lames de scie correspondantes, voir liste
f Veillez à ce que l’outil électroportatif ainsi
des accessoires.
que les ouïes de ventilation soient toujours
propres afin d’obtenir un travail impeccable
Plaque de guidage avec rouleaux glisseurs
et sûr.
La scie pour produits alvéolaires peut être utili-
Régulièrement nettoyer le guidage de lames de
sée avec ou sans plaque de base. La plaque de
scie et les lames de scie, environ toutes les
base équipée de rouleaux glisseurs permet un
8 heures de fonctionnement. Pour ce faire, sor-
guidage facile et perpendiculaire de la scie.
tir les lames des scie de l’outil électroportatif et
Pour tailler toute sorte de formes et pour effec-
nettoyer les lames de scie, préférablement avec
tuer des découpes, il est recommandé de tra-
de l’essence. Si nécessaire, utiliser un grattoir
vailler sans plaque de base.
pour nettoyer le guidage de lame de scie. Avant
de monter des lames de scie neuves ou affûtées,
Travailler les produits alvéolaires
légèrement graisser le guidage de lame de scie.
Pour effectuer des découpes précises, surtout
Si, malgré tous les soins apportés à la fabrica-
pour les produits alvéolaires souples et d’autres
tion et au contrôle de l’appareil, celui-ci présen-
matériaux similaires, appliquer une vitesse
tait un défaut, la réparation ne doit être confiée
d’avance modérée. Ne pas trop tirer ou presser
qu’à une station de Service Après-Vente agréée
le matériau lors de l’opération de travail.
pour outillage Bosch.
Pour effectuer des petites découpes, démonter
Pour toute demande de renseignement ou com-
la plaque de base. A l’aide d’un couteau ou
mande de pièces de rechange, précisez-nous
d’une paire de ciseaux, percer un trou dans le
impérativement le numéro d’article à dix chif-
matériau et ensuite introduire le guidage de la-
fres de l’outil électroportatif indiqué sur la pla-
me de scie dans l’ouverture et travailler la dé-
que signalétique.
coupe.
Pour effectuer de grandes découpes, percer un
trou assez grand pour pouvoir introduire le gui-
dage de lame de scie avec plaque de base mon-
tée. Veiller à ce que la base de travail soit déga-
gée. Guider l’outil électroportatif le long du trou
en appliquant une vitesse d’avance modérée.
Bosch Power Tools 3 609 929 B97 | (25.8.10)

OBJ_BUCH-55-004.book Page 26 Wednesday, August 25, 2010 1:39 PM
26 | Français
Service Après-Vente et Assistance Des
Elimination des déchets
Clients
Les outils électroportatifs, ainsi que leurs acces-
Notre Service Après-Vente répond à vos ques-
soires et emballages, doivent pouvoir suivre
tions concernant la réparation et l’entretien de
chacun une voie de recyclage appropriée.
votre produit et les pièces de rechange. Vous
Ne jetez pas les outils électroportatifs avec les
trouverez des vues éclatées ainsi que des infor-
ordures ménagères !
mations concernant les pièces de rechange éga-
lement sous :
Seulement pour les pays de l’Union
www.bosch-pt.com
Européenne :
Les conseillers techniques Bosch sont à votre
Conformément à la directive euro-
disposition pour répondre à vos questions con-
péenne 2002/96/CE relative aux
cernant l’achat, l’utilisation et le réglage de vos
déchets d’équipements électri-
produits et de leurs accessoires.
ques et électroniques et sa mise
en vigueur conformément aux lé-
France
gislations nationales, les outils électroportatifs
Vous êtes un utilisateur, contactez :
dont on ne peut plus se servir doivent être isolés
Le Service Clientèle Bosch Outillage Electro-
et suivre une voie de recyclage appropriée.
portatif
Tel. : 0 811 36 01 22
Sous réserve de modifications.
(coût d’une communication locale)
Fax : +33 (0) 1 49 45 47 67
E-Mail :
contact.outillage-electroportatif@fr.bosch.com
Vous êtes un revendeur, contactez :
Robert Bosch (France) S.A.S.
Service Après-Vente Electroportatif
126, rue de Stalingrad
93705 DRANCY Cédex
Tel. : +33 (0) 1 43 11 90 06
Fax : +33 (0) 1 43 11 90 33
E-Mail :
sav.outillage-electroportatif@fr.bosch.com
Belgique, Luxembourg
Tel. : +32 (070) 22 55 65
Fax : +32 (070) 22 55 75
E-Mail : outillage.gereedschap@be.bosch.com
Suisse
Tel. : +41 (044) 8 47 15 12
Fax : +41 (044) 8 47 15 52
Autres pays
Pour avoir des renseignements concernant la
garantie, les travaux d’entretien ou de répara-
tion ou les pièces de rechange, veuillez contac-
ter votre détaillant spécialisé.
3 609 929 B97 | (25.8.10) Bosch Power Tools

OBJ_BUCH-55-004.book Page 27 Wednesday, August 25, 2010 1:39 PM
Español | 27
es
Instrucciones de seguridad
b) Evite que su cuerpo toque partes conecta-
das a tierra como tuberías, radiadores, co-
cinas y refrigeradores. El riesgo a quedar
Advertencias de peligro generales para
expuesto a una sacudida eléctrica es mayor
herramientas eléctricas
si su cuerpo tiene contacto con tierra.
ADVERTENCIA
Lea íntegramente estas ad-
c) No exponga la herramienta eléctrica a la
vertencias de peligro e ins-
lluvia y evite que penetren líquidos en su
trucciones. En caso de no atenerse a las adver-
interior. Existe el peligro de recibir una
tencias de peligro e instrucciones siguientes,
descarga eléctrica si penetran ciertos lí-
ello puede ocasionar una descarga eléctrica, un
quidos en la herramienta eléctrica.
incendio y/o lesión grave.
d) No utilice el cable de red para transpor-
Guardar todas las advertencias de peligro e
tar o colgar la herramienta eléctrica, ni
instrucciones para futuras consultas.
tire de él para sacar el enchufe de la to-
El término herramienta eléctrica empleado en las
ma de corriente. Mantenga el cable de
siguientes advertencias de peligro se refiere a he-
red alejado del calor, aceite, esquinas
rramientas eléctricas de conexión a la red (con
cortantes o piezas móviles. Los cables de
cable de red) y a herramientas eléctricas acciona-
red dañados o enredados pueden provo-
das por acumulador (o sea, sin cable de red).
car una descarga eléctrica.
e) Al trabajar con la herramienta eléctrica a
1) Seguridad del puesto de trabajo
la intemperie utilice solamente cables de
prolongación apropiados para su uso en
a) Mantenga limpio y bien iluminado su
exteriores. La utilización de un cable de
puesto de trabajo. El desorden o una ilu-
prolongación adecuado para su uso en ex-
minación deficiente en las áreas de traba-
teriores reduce el riesgo de una descarga
jo pueden provocar accidentes.
eléctrica.
b) No utilice la herramienta eléctrica en un
f) Si fuese imprescindible utilizar la herra-
entorno con peligro de explosión, en el
mienta eléctrica en un entorno húmedo,
que se encuentren combustibles líqui-
es necesario conectarla a través de un
dos, gases o material en polvo. Las herra-
fusible diferencial. La aplicación de un fu-
mientas eléctricas producen chispas que
sible diferencial reduce el riesgo a expo-
pueden llegar a inflamar los materiales en
nerse a una descarga eléctrica.
polvo o vapores.
c) Mantenga alejados a los niños y otras
3) Seguridad de personas
personas de su puesto de trabajo al em-
a) Esté atento a lo que hace y emplee la he-
plear la herramienta eléctrica. Una dis-
rramienta eléctrica con prudencia. No
tracción le puede hacer perder el control
utilice la herramienta eléctrica si estu-
sobre la herramienta eléctrica.
viese cansado, ni tampoco después de
haber consumido alcohol, drogas o medi-
2) Seguridad eléctrica
camentos. El no estar atento durante el
uso de la herramienta eléctrica puede
a) El enchufe de la herramienta eléctrica
provocarle serias lesiones.
debe corresponder a la toma de corrien-
te utilizada. No es admisible modificar el
b) Utilice un equipo de protección personal
enchufe en forma alguna. No emplear
y en todo caso unas gafas de protección.
adaptadores en herramientas eléctricas
El riesgo a lesionarse se reduce conside-
dotadas con una toma de tierra. Los en-
rablemente si, dependiendo del tipo y la
chufes sin modificar adecuados a las res-
aplicación de la herramienta eléctrica em-
pectivas tomas de corriente reducen el
pleada, se utiliza un equipo de protección
riesgo de una descarga eléctrica.
adecuado como una mascarilla antipolvo,
zapatos de seguridad con suela antidesli-
zante, casco, o protectores auditivos.
Bosch Power Tools 3 609 929 B97 | (25.8.10)

OBJ_BUCH-55-004.book Page 28 Wednesday, August 25, 2010 1:39 PM
28 | Español
c) Evite una puesta en marcha fortuita.
c) Saque el enchufe de la red y/o desmonte
Asegurarse de que la herramienta eléc-
el acumulador antes de realizar un ajuste
trica esté desconectada antes de conec-
en la herramienta eléctrica, cambiar de
tarla a la toma de corriente y/o al montar
accesorio o al guardar la herramienta
el acumulador, al recogerla, y al trans-
eléctrica. Esta medida preventiva reduce
portarla. Si transporta la herramienta
el riesgo a conectar accidentalmente la
eléctrica sujetándola por el interruptor de
herramienta eléctrica.
conexión/desconexión, o si alimenta la
d) Guarde las herramientas eléctricas fuera
herramienta eléctrica estando ésta conec-
del alcance de los niños. No permita la
tada, ello puede dar lugar a un accidente.
utilización de la herramienta eléctrica a
d) Retire las herramientas de ajuste o lla-
aquellas personas que no estén familiari-
ves fijas antes de conectar la herramien-
zadas con su uso o que no hayan leído
ta eléctrica. Una herramienta de ajuste o
estas instrucciones. Las herramientas
llave fija colocada en una pieza rotante
eléctricas utilizadas por personas inex-
puede producir lesiones al poner a funcio-
pertas son peligrosas.
nar la herramienta eléctrica.
e) Cuide la herramienta eléctrica con esme-
e) Evite posturas arriesgadas. Trabaje so-
ro. Controle si funcionan correctamente,
bre una base firme y mantenga el equili-
sin atascarse, las partes móviles de la
brio en todo momento. Ello le permitirá
herramienta eléctrica, y si existen partes
controlar mejor la herramienta eléctrica
rotas o deterioradas que pudieran afectar
en caso de presentarse una situación in-
al funcionamiento de la herramienta
esperada.
eléctrica. Haga reparar estas piezas de-
f) Lleve puesta una vestimenta de trabajo
fectuosas antes de volver a utilizar la he-
adecuada. No utilice vestimenta amplia
rramienta eléctrica. Muchos de los acci-
ni joyas. Mantenga su pelo, vestimenta y
dentes se deben a herramientas eléctricas
guantes alejados de las piezas móviles.
con un mantenimiento deficiente.
La vestimenta suelta, el pelo largo y las jo-
f) Mantenga los útiles limpios y afilados.
yas se pueden enganchar con las piezas
Los útiles mantenidos correctamente se
en movimiento.
dejan guiar y controlar mejor.
g) Siempre que sea posible utilizar unos
g) Utilice la herramienta eléctrica, acceso-
equipos de aspiración o captación de
rios, útiles, etc. de acuerdo a estas ins-
polvo, asegúrese que éstos estén monta-
trucciones, considerando en ello las con-
dos y que sean utilizados correctamente.
diciones de trabajo y la tarea a realizar.
El empleo de estos equipos reduce los
El uso de herramientas eléctricas para tra-
riesgos derivados del polvo.
bajos diferentes de aquellos para los que
han sido concebidas puede resultar peli-
4) Uso y trato cuidadoso de herramientas
groso.
eléctricas
a) No sobrecargue la herramienta eléctrica.
5) Servicio
Use la herramienta eléctrica prevista para
a) Únicamente haga reparar su herramienta
el trabajo a realizar. Con la herramienta
eléctrica por un profesional, empleando
adecuada podrá trabajar mejor y más segu-
exclusivamente piezas de repuesto origi-
ro dentro del margen de potencia indicado.
nales. Solamente así se mantiene la segu-
b) No utilice herramientas eléctricas con un
ridad de la herramienta eléctrica.
interruptor defectuoso. Las herramien-
tas eléctricas que no se puedan conectar
o desconectar son peligrosas y deben ha-
cerse reparar.
3 609 929 B97 | (25.8.10) Bosch Power Tools

OBJ_BUCH-55-004.book Page 29 Wednesday, August 25, 2010 1:39 PM
Español | 29
Instrucciones de seguridad para sierras
Componentes principales
para materiales esponjosos
La numeración de los componentes está referi-
f Sujete la herramienta eléctrica por las em-
da a la imagen de la herramienta eléctrica en la
puñaduras aisladas al realizar trabajos en
página ilustrada.
los que el útil pueda tocar conductores
1 Interruptor de conexión/desconexión
eléctricos ocultos o el propio cable de la he-
2 Guía de hojas de sierra*
rramienta eléctrica. El contacto con conduc-
tores bajo tensión puede hacer que las par-
3 Par de hojas de sierra*
tes metálicas de la herramienta eléctrica le
4 Placa base
provoquen una descarga eléctrica.
5 Empuñadura (zona de agarre aislada)
f Mantenga alejadas las manos del área de cor-
6 Tornillo
te. No toque debajo de la pieza de trabajo.
7 Placa de protección
Podría accidentarse al tocar la hoja de sierra.
8 Tornillo moleteado
9 Tornillo de sujeción de placa base
*Los accesorios descritos e ilustrados no correspon-
Descripción del funcionamiento
den al material que se adjunta de serie. La gama com-
pleta de accesorios opcionales se detalla en nuestro
Lea íntegramente estas adverten-
programa de accesorios.
cias de peligro e instrucciones. En
caso de no atenerse a las adverten-
cias de peligro e instrucciones si-
Datos técnicos
guientes, ello puede ocasionar una
descarga eléctrica, un incendio y/o
Sierra para materiales
GSG 300
lesión grave.
esponjosos
Professional
Despliegue y mantenga abierta la solapa con la
Nº de artículo
0 601 575 1..
imagen del aparato mientras lee las instruccio-
Potencia absorbida
nes de manejo.
nominal
W 350
Potencia útil
W 185
Utilización reglamentaria
Nº de carreras en
La herramienta eléctrica ha sido diseñada para
vacío n
0
min
-1
3200
cortar cualquier tipo de formas en materiales es-
Nº de carreras bajo
ponjosos, gomaespuma y materiales similares.
carga
min
-1
2100
Profundidad de corte
máx.
mm 300
Peso según EPTA-
Procedure 01/2003
kg 1,6
Clase de protección
/II
Estos datos son válidos para una tensión nominal de
[U] 230 V. Los valores pueden variar para otras tensio-
nes y en ejecuciones específicas para ciertos países.
Preste atención al nº de artículo en la placa de caracte-
rísticas de su aparato, ya que las denominaciones co-
merciales de algunos aparatos pueden variar.
Bosch Power Tools 3 609 929 B97 | (25.8.10)

OBJ_BUCH-55-004.book Page 30 Wednesday, August 25, 2010 1:39 PM
30 | Español
Información sobre ruidos y vibraciones
Declaración de conformidad
Ruido determinado según EN 60745.
Declaramos bajo nuestra responsabilidad, que
El nivel de presión sonora típico del aparato, de-
el producto descrito bajo “Datos técnicos” está
terminado con un filtro A, asciende a: Nivel de
en conformidad con las normas o documentos
presión sonora 81 dB(A); nivel de potencia
normalizados siguientes: EN 60745 de acuerdo
acústica 92 dB(A). Tolerancia K=3 dB.
con las disposiciones en las directivas
¡Colocarse unos protectores auditivos!
2004/108/CE, 2006/42/CE.
Nivel total de vibraciones (suma vectorial de
Expediente técnico en:
tres direcciones) determinado según EN 60745:
Robert Bosch GmbH, PT/ESC,
Valor de vibraciones generadas a
=2,5 m/s
2
h
,
D-70745 Leinfelden-Echterdingen
tolerancia K =1,5 m/s
2
.
Dr. Egbert Schneider
Dr. Eckerhard Strötgen
El nivel de vibraciones indicado en estas instruc-
Senior Vice President
Head of Product
ciones ha sido determinado según el procedi-
Engineering
Certification
miento de medición fijado en la norma EN 60745
y puede servir como base de comparación con
otras herramientas eléctricas. También es ade-
cuado para estimar provisionalmente la solicita-
Robert Bosch GmbH, Power Tools Division
ción experimentada por las vibraciones.
D-70745 Leinfelden-Echterdingen
El nivel de vibraciones indicado ha sido determi-
Leinfelden, 17.05.2010
nado para las aplicaciones principales de la he-
rramienta eléctrica. Por ello, el nivel de vibracio-
nes puede ser diferente si la herramienta
Montaje
eléctrica se utiliza para otras aplicaciones, con
útiles diferentes, o si el mantenimiento de la
f Antes de cualquier manipulación en la he-
misma fuese deficiente. Ello puede suponer un
rramienta eléctrica, sacar el enchufe de red
aumento drástico de la solicitación por vibracio-
de la toma de corriente.
nes durante el tiempo total de trabajo.
Para determinar con exactitud la solicitación
Montaje de la guía de hojas de sierra
experimentada por las vibraciones, es necesario
(ver figura A)
considerar también aquellos tiempos en los que
el aparato esté desconectado, o bien, esté en
Afloje y retire los tornillos 6 de la carcasa. Monte
funcionamiento, pero sin ser utilizado realmen-
la guía de hojas de sierra 2 de manera que los pi-
te. Ello puede suponer una disminución drástica
votes queden alojados en los respectivos tala-
de la solicitación por vibraciones durante el
dros. Fije a la carcasa la guía de hojas de sierra
tiempo total de trabajo.
2 con los tornillos 6.
Fije unas medidas de seguridad adicionales para
proteger al usuario de los efectos por vibracio-
nes, como por ejemplo: Mantenimiento de la
herramienta eléctrica y de los útiles, conservar
calientes las manos, organización de las secuen-
cias de trabajo.
3 609 929 B97 | (25.8.10) Bosch Power Tools

OBJ_BUCH-55-004.book Page 31 Wednesday, August 25, 2010 1:39 PM
Español | 31
Montaje y cambio de las hojas de sierra
Aspiración de polvo y virutas
(ver figura B)
f El polvo de ciertos materiales como, pinturas
f Al montar la hoja de sierra utilice unos
que contengan plomo, ciertos tipos de madera
guantes de protección. Podría accidentarse
y algunos minerales y metales, puede ser noci-
en caso de tocar la hoja de sierra.
vo para la salud. El contacto y la inspiración de
Afloje los tornillos moleteados 8 y retírelos
estos polvos pueden provocar en el usuario o
junto con los anillos elásticos y la placa de pro-
en las personas circundantes reacciones alér-
tección 7.
gicas y/o enfermedades respiratorias.
Ciertos polvos como los de roble, encina y ha-
n Primeramente inserte el par de hojas de sie-
ya son considerados como cancerígenos, es-
rra 3 en la parte inferior de la guía de hojas
pecialmente en combinación con los aditivos
de sierra 2. Preste atención a que el pasador
para el tratamiento de la madera (cromatos,
guía quede alojado en las ranuras longitudi-
conservantes de la madera). Los materiales
nales de las hojas de sierra.
que contengan amianto solamente deberán
o Seguidamente enganche el par de hojas de
ser procesados por especialistas.
sierra 3 en el pivote de arrastre cuidando
– A ser posible utilice un equipo para aspi-
que las hojas de sierra queden perfectamen-
ración de polvo apropiado para el mate-
te colocadas en la guía de alojamiento.
rial a trabajar.
Monte la placa de protección 7 pasándola por
– Observe que esté bien ventilado el puesto
los vástagos roscados de la carcasa y sujétela
de trabajo.
con los tornillos moleteados 8. Cerciórese de
– Se recomienda una mascarilla protectora
haber colocado debajo los anillos elásticos.
con un filtro de la clase P2.
Observe las prescripciones vigentes en su
país sobre los materiales a trabajar.
Montaje de la placa base (ver figura C)
Inserte la guía de hojas de sierra 2 en la abertura
correspondiente de la placa base 4. Apriete el
Operación
tornillo de sujeción 9.
Puesta en marcha
f ¡Observe la tensión de red! La tensión de
alimentación deberá coincidir con las indi-
caciones en la placa de características de la
herramienta eléctrica. Las herramientas
eléctricas marcadas con 230 V pueden fun-
cionar también a 220 V.
Conexión/desconexión
Para la puesta en marcha de la herramienta
eléctrica accionar y mantener en esa posición el
interruptor de conexión/desconexión 1.
Para enclavar el interruptor de conexión/desco-
nexión 1 estando éste accionado, empuje hacia
atrás el interruptor de conexión/desconexión 1.
Para desconectar la herramienta eléctrica suel-
te el interruptor de conexión/desconexión 1, o
en caso de estar enclavado, presione brevemen-
te y suelte a continuación el interruptor de co-
nexión/desconexión 1.
Bosch Power Tools 3 609 929 B97 | (25.8.10)

OBJ_BUCH-55-004.book Page 32 Wednesday, August 25, 2010 1:39 PM
32 | Español
Instrucciones para la operación
Mantenimiento y servicio
f Antes de cualquier manipulación en la he-
rramienta eléctrica, sacar el enchufe de red
Mantenimiento y limpieza
de la toma de corriente.
f Antes de cualquier manipulación en la he-
rramienta eléctrica, sacar el enchufe de red
Hojas de sierra y guías de hojas de sierra
de la toma de corriente.
Existen diversas guías de hojas de sierra con las
f Mantenga limpia la herramienta eléctrica y
hojas de sierra correspondientes que permiten
las rejillas de refrigeración para trabajar
trabajar materiales de diferente grosor; consul-
con eficacia y seguridad.
te para ello la relación de accesorios.
Limpie periódicamente, aprox. cada 8 horas de
Placa base con rodillos de deslizamiento
servicio, la guía y las hojas de sierra. Para ello,
La sierra para materiales esponjosos puede uti-
desmonte las hojas de sierra de la herramienta
lizarse con o sin la placa base montada. La placa
eléctrica que recomendamos limpiar con gasoli-
base dotada con rodillos de deslizamiento per-
na. Si fuese preciso, utilizar una rasqueta para
mite guiar fácilmente la sierra en posición per-
limpiar la guía de hojas de sierra. Aceite ligera-
pendicular.
mente la guía de hojas de sierra antes de montar
Para cortar formas o para efectuar recortes se
hojas de sierra nuevas o reafiladas.
aconseja trabajar sin la placa base.
Si a pesar de los esmerados procesos de fabri-
cación y control, la herramienta eléctrica llegase
Corte de material esponjoso
a averiarse, la reparación deberá encargarse a
Para obtener cortes exactos, especialmente en
un servicio técnico autorizado para herramien-
materiales esponjosos blandos o en materiales
tas eléctricas Bosch.
similares, deberá trabajarse con un avance mo-
Para cualquier consulta o pedido de piezas de
derado. No comprima ni distienda excesivamen-
repuesto es imprescindible indicar el nº de artí-
te el material al cortarlo.
culo de 10 dígitos que figura en la placa de ca-
Para realizar recortes pequeños desmonte la
racterísticas de la herramienta eléctrica.
placa base. Primeramente perfore el material
con un cuchillo o tijeras, e inserte a continua-
ción la guía de hojas de sierra por el orificio
practicado y efectúe el recorte.
Para realizar recortes grandes, perforar el mate-
rial de manera que por la abertura practicada pue-
da pasarse la guía de hojas de sierra con la placa
base montada. Preste atención a que no exista
ningún obstáculo sobre el material de base. Guíe
la herramienta eléctrica a lo largo de la línea de re-
corte ejerciendo una presión moderada.
3 609 929 B97 | (25.8.10) Bosch Power Tools

OBJ_BUCH-55-004.book Page 33 Wednesday, August 25, 2010 1:39 PM
Español | 33
Perú
Servicio técnico y atención al cliente
Autorex Peruana S.A.
El servicio técnico le asesorará en las consultas
República de Panamá 4045,
que pueda Ud. tener sobre la reparación y man-
Lima 34
tenimiento de su producto, así como sobre pie-
Tel.: +51 (01) 475-5453
zas de recambio. Los dibujos de despiece e infor-
E-Mail: vhe@autorex.com.pe
maciones sobre las piezas de recambio las podrá
obtener también en internet bajo:
Chile
www.bosch-pt.com
EMASA S.A.
Nuestro equipo de asesores técnicos le orientará
Irarrázaval 259 – Ñuñoa
gustosamente en cuanto a la adquisición, aplica-
Santiago
ción y ajuste de los productos y accesorios.
Tel.: +56 (02) 520 3100
España
E-Mail: emasa@emasa.cl
Robert Bosch España, S.A.
Departamento de ventas
Eliminación
Herramientas Eléctricas
Recomendamos que las herramientas eléctri-
C/Hermanos García Noblejas, 19
cas, accesorios y embalajes sean sometidos a
28037 Madrid
un proceso de recuperación que respete el me-
Tel. Asesoramiento al cliente:
dio ambiente.
+34 (0901) 11 66 97
¡No arroje las herramientas eléctricas a la basura!
Fax: +34 (091) 327 98 63
Sólo para los países de la UE:
Venezuela
Conforme a la Directiva Europea
Robert Bosch S.A.
2002/96/CE sobre aparatos eléc-
Final Calle Vargas. Edf. Centro Berimer P.B.
tricos y electrónicos inservibles,
Boleita Norte
tras su transposición en ley nacio-
Caracas 107
nal, deberán acumularse por se-
Tel.: +58 (02) 207 45 11
parado las herramientas eléctri-
México
cas para ser sometidas a un
reciclaje ecológico.
Robert Bosch S.A. de C.V.
Tel. Interior: +52 (01) 800 627 1286
Reservado el derecho de modificación.
Tel. D.F.: +52 (01) 52 84 30 62
E-Mail: arturo.fernandez@mx.bosch.com
T
C
O
R
E
U
C
T
F
I
I
O
R
D
C
D
A
O
P
Argentina
E
C
MR
R
T
T
I
F
C
I
E
Robert Bosch Argentina S.A.
D
P
R
O
D
U
Av. Córdoba 5160
C1414BAW Ciudad Autónoma de Buenos Aires
Atención al Cliente
Tel.: +54 (0810) 555 2020
E-Mail: herramientas.bosch@ar.bosch.com
Bosch Power Tools 3 609 929 B97 | (25.8.10)

OBJ_BUCH-55-004.book Page 34 Wednesday, August 25, 2010 1:39 PM
34 | Português
pt
Indicações de segurança
c) Manter o aparelho afastado de chuva ou
humidade. A infiltração de água numa fer-
ramenta eléctrica aumenta o risco de cho-
Indicações gerais de advertência para
que eléctrico.
ferramentas eléctricas
d) Não deverá utilizar o cabo para outras fi-
ATENÇÃO
Devem ser lidas todas as indica-
nalidades. Jamais utilizar o cabo para
ções de advertência e todas as
transportar a ferramenta eléctrica, para
instruções. O desrespeito das advertências e
pendurá-la, nem para puxar a ficha da to-
instruções apresentadas abaixo pode causar
mada. Manter o cabo afastado de calor,
choque eléctrico, incêndio e/ou graves lesões.
óleo, cantos afiados ou partes do apare-
Guarde bem todas as advertências e instru-
lho em movimento. Cabos danificados ou
ções para futura referência.
emaranhados aumentam o risco de um
O termo “Ferramenta eléctrica” utilizado a se-
choque eléctrico.
guir nas indicações de advertência, refere-se a
e) Se trabalhar com uma ferramenta eléc-
ferramentas eléctricas operadas com corrente
trica ao ar livre, só deverá utilizar cabos
de rede (com cabo de rede) e a ferramentas
de extensão apropriados para áreas ex-
eléctricas operadas com acumulador (sem cabo
teriores. A utilização de um cabo de ex-
de rede).
tensão apropriado para áreas exteriores
1) Segurança da área de trabalho
reduz o risco de um choque eléctrico.
a) Mantenha a sua área de trabalho sempre
f) Se não for possível evitar o funciona-
limpa e bem iluminada. Desordem ou áre-
mento da ferramenta eléctrica em áreas
as de trabalho insuficientemente ilumina-
húmidas, deverá ser utilizado um disjun-
das podem levar a acidentes.
tor de corrente de avaria. A utilização de
b) Não trabalhar com a ferramenta eléctri-
um disjuntor de corrente de avaria reduz
ca em áreas com risco de explosão, nas
o risco de um choque eléctrico.
quais se encontrem líquidos, gases ou
3) Segurança de pessoas
pós inflamáveis. Ferramentas eléctricas
a) Esteja atento, observe o que está a fazer
produzem faíscas, que podem inflamar
e tenha prudência ao trabalhar com a
pós ou vapores.
ferramenta eléctrica. Não utilizar uma
c) Manter crianças e outras pessoas afasta-
ferramenta eléctrica quando estiver fati-
das da ferramenta eléctrica durante a
gado ou sob a influência de drogas, álco-
utilização. No caso de distracção é possí-
ol ou medicamentos. Um momento de
vel que perca o controlo sobre o aparelho.
descuido ao utilizar a ferramenta eléctri-
2) Segurança eléctrica
ca, pode levar a lesões graves.
a) A ficha de conexão da ferramenta eléc-
b) Utilizar equipamento de protecção pes-
trica deve caber na tomada. A ficha não
soal e sempre óculos de protecção. A uti-
deve ser modificada de maneira alguma.
lização de equipamento de protecção
Não utilizar uma ficha de adaptação jun-
pessoal, como máscara de protecção con-
to com ferramentas eléctricas protegi-
tra pó, sapatos de segurança antiderra-
das por ligação à terra. Fichas não modi-
pantes, capacete de segurança ou protec-
ficadas e tomadas apropriadas reduzem o
ção auricular, de acordo com o tipo e
risco de um choque eléctrico.
aplicação da ferramenta eléctrica, reduz o
b) Evitar que o corpo possa entrar em con-
risco de lesões.
tacto com superfícies ligadas à terra, co-
c) Evitar uma colocação em funcionamento
mo tubos, aquecimentos, fogões e frigo-
involuntária. Assegure-se de que a ferra-
ríficos. Há um risco elevado devido a
menta eléctrica esteja desligada, antes
choque eléctrico, se o corpo estiver liga-
de conectá-la à alimentação de rede e/ou
do à terra.
ao acumulador, antes de levantá-la ou de
3 609 929 B97 | (25.8.10) Bosch Power Tools

OBJ_BUCH-55-004.book Page 35 Wednesday, August 25, 2010 1:39 PM
Português | 35
transportá-la. Se tiver o dedo no interrup-
d) Guardar ferramentas eléctricas não utili-
tor ao transportar a ferramenta eléctrica
zadas fora do alcance de crianças. Não
ou se o aparelho for conectado à alimen-
permita que pessoas que não estejam fa-
tação de rede enquanto estiver ligado, po-
miliarizadas com o aparelho ou que não
derão ocorrer acidentes.
tenham lido estas instruções, utilizem o
d) Remover ferramentas de ajuste ou cha-
aparelho. Ferramentas eléctricas são pe-
ves de boca antes de ligar a ferramenta
rigosas se forem utilizadas por pessoas
eléctrica. Uma ferramenta ou chave que
inesperientes.
se encontre numa parte do aparelho em
e) Tratar a ferramenta eléctrica com cuida-
movimento pode levar a lesões.
do. Controlar se as partes móveis do
e) Evite uma posição anormal. Mantenha
aparelho funcionam perfeitamente e não
uma posição firme e mantenha sempre o
emperram, e se há peças quebradas ou
equilíbrio. Desta forma é mais fácil con-
danificadas que possam prejudicar o
trolar a ferramenta eléctrica em situações
funcionamento da ferramenta eléctrica.
inesperadas.
Permitir que peças danificadas sejam re-
paradas antes da utilização. Muitos aci-
f) Usar roupa apropriada. Não usar roupa
dentes têm como causa, a manutenção in-
larga nem jóias. Mantenha os cabelos,
suficiente de ferramentas eléctricas.
roupas e luvas afastadas de partes em
movimento. Roupas frouxas, cabelos lon-
f) Manter as ferramentas de corte afiadas
gos ou jóias podem ser agarrados por pe-
e limpas. Ferramentas de corte cuidado-
ças em movimento.
samente tratadas e com cantos de corte
afiados emperram com menos frequência
g) Se for possível montar dispositivos de as-
e podem ser conduzidas com maior facili-
piração ou de recolha, assegure-se de que
dade.
estejam conectados e utilizados correcta-
mente. A utilização de uma aspiração de
g) Utilizar a ferramenta eléctrica, acessóri-
pó pode reduzir o perigo devido ao pó.
os, ferramentas de aplicação, etc. con-
forme estas instruções. Considerar as
4) Utilização e manuseio cuidadoso de ferra-
condições de trabalho e a tarefa a ser
mentas eléctricas
executada. A utilização de ferramentas
a) Não sobrecarregue o aparelho. Utilize a
eléctricas para outras tarefas a não ser as
ferramenta eléctrica apropriada para o
aplicações previstas, pode levar a situa-
seu trabalho. É melhor e mais seguro tra-
ções perigosas.
balhar com a ferramenta eléctrica apro-
5) Serviço
priada na área de potência indicada.
a) Só permita que o seu aparelho seja repa-
b) Não utilizar uma ferramenta eléctrica
rado por pessoal especializado e qualifi-
com um interruptor defeituoso. Uma fer-
cado e só com peças de reposição origi-
ramenta eléctrica que não pode mais ser
nais. Desta forma é assegurado o
ligada nem desligada, é perigosa e deve
funcionamento seguro do aparelho.
ser reparada.
c) Puxar a ficha da tomada e/ou remover o
acumulador antes de executar ajustes no
aparelho, de substituir acessórios ou de
guardar o aparelho. Esta medida de segu-
rança evita o arranque involuntário da fer-
ramenta eléctrica.
Bosch Power Tools 3 609 929 B97 | (25.8.10)

OBJ_BUCH-55-004.book Page 36 Wednesday, August 25, 2010 1:39 PM
36 | Português
Indicações de segurança para serrras
Componentes ilustrados
material alveolar
A numeração dos componentes ilustrados refe-
f Ao executar trabalhos durante os quais po-
re-se à apresentação da ferramenta eléctrica na
dem ser atingidos cabos eléctricos ou o pró-
página de esquemas.
prio cabo de rede só deverá segurar a ferra-
1 Interruptor de ligar-desligar
menta eléctrica pelas superfícies de punho
2 Guia da lâmina de serra*
isoladas. O contacto com um cabo sob ten-
são também pode colocar sob tensão as pe-
3 Par de lâminas de serra*
ças metálicas do aparelho e levar a um cho-
4 Placa de base
que eléctrico.
5 Punho (superfície isolada)
f Manter as mãos afastadas da área de ser-
6 Parafuso
rar. Não tocar na peça a ser trabalhada pelo
7 Placa de cobertura
lado de baixo. Há perigo de lesões no caso
8 Parafuso serrilhado
de contacto com a lâmina de serra.
9 Parafuso de aperto para a placa de base
*Acessórios apresentados ou descritos não perten-
cem ao volume de fornecimento padrão. Todos os
Descrição de funções
acessórios encontram-se no nosso programa de aces-
sórios.
Devem ser lidas todas as indicações
de advertência e todas as instru-
ções. O desrespeito das advertênci-
Dados técnicos
as e instruções apresentadas abaixo
pode causar choque eléctrico, incên-
Serra para material
GSG 300
dio e/ou graves lesões.
alveolar
Professional
Abrir a página basculante contendo a apresenta-
N° do produto
0 601 575 1..
ção do aparelho, e deixar esta página aberta en-
Potência nominal
quanto estiver lendo a instrução de serviço.
consumida
W 350
Potência útil
W 185
Utilização conforme as disposições
N° de cursos em vazio
A ferramenta eléctrica é destinada para cortar
n
0
min
-1
3200
qualquer tipo de forma em materiais alveolares,
N° de cursos em carga
min
-1
2100
espuma de borracha e materiais semelhantes.
máx. profundidade de
corte
mm 300
Peso conforme EPTA-
Procedure 01/2003
kg 1,6
Classe de protecção
/II
As indicações valem para tensões nominais [U] de 230 V.
Estas indicações podem variar dependendo de tensões
inferiores e dos modelos específicos dos países.
Observar o número de produto na placa de caracterís-
ticas da sua ferramenta eléctrica. A designação comer-
cial das ferramentas eléctricas individuais pode variar.
3 609 929 B97 | (25.8.10) Bosch Power Tools

OBJ_BUCH-55-004.book Page 37 Wednesday, August 25, 2010 1:39 PM
Português | 37
Informação sobre ruídos/vibrações
Declaração de conformidade
Valores de medição para ruídos, averiguados
Declaramos sob nossa exclusiva responsabilida-
conforme EN 60745.
de que o produto descrito em “Dados técnicos”
O nível de ruído avaliado como A do aparelho é
cumpre as seguintes normas ou documentos
tipicamente: Nível de pressão acústica
normativos: EN 60745 conforme as disposições
81 dB(A); Nível de potência acústica 92 dB(A).
das directivas 2004/108/CE, 2006/42/CE.
Incerteza K=3 dB.
Processo técnico em:
Usar protecção auricular!
Robert Bosch GmbH, PT/ESC,
Valores totais de vibração (soma dos vectores
D-70745 Leinfelden-Echterdingen
de três direcções) determinados conforme
Dr. Egbert Schneider
Dr. Eckerhard Strötgen
EN 60745:
Senior Vice President
Head of Product
valor de emissão de vibrações a
=2,5 m/s
2
h
, in-
Engineering
Certification
certeza K =1,5 m/s
2
.
O nível de oscilações indicado nestas instruções
de serviço foi medido de acordo com um pro-
cesso de medição normalizado pela norma
Robert Bosch GmbH, Power Tools Division
EN 60745 e pode ser utilizado para a compara-
D-70745 Leinfelden-Echterdingen
ção de aparelhos. Ele também é apropriado para
Leinfelden, 17.05.2010
uma avaliação provisória da carga de vibrações.
O nível de vibrações indicado representa as apli-
cações principais da ferramenta eléctrica. Se a
Montagem
ferramenta eléctrica for utilizada para outras
aplicações, com outras ferramentas de trabalho
f Antes de todos trabalhos na ferramenta
ou com manutenção insuficiente, é possível que
eléctrica deverá puxar a ficha de rede da
o nível de vibrações seja diferente. Isto pode au-
tomada.
mentar sensivelmente a carga de vibrações para
o período completo de trabalho.
Montar a guia da lâmina de serra
Para uma estimação exacta da carga de vibra-
(vejafiguraA)
ções, também deveriam ser considerados os pe-
ríodos nos quais o aparelho está desligado ou
Desapertar os parafusos 6 da carcaça e remo-
funciona, mas não está sendo utilizado. Isto po-
vê-los. Colocar a guia da lâmina de serra 2 na
de reduzir a carga de vibrações durante o com-
carcaça, de modo que as cavilhas de admissão
pleto período de trabalho.
encaixem nos respectivos orifícios. Aparafusar
Além disso também deverão ser estipuladas me-
firmemente a guia da lâmina de serra 2 com os
didas de segurança para proteger o operador
parafusos 6 na carcaça.
contra o efeito de vibrações, como por exemplo:
Manutenção de ferramentas eléctricas e de fer-
ramentas de trabalho, manter as mãos quentes
e organização dos processos de trabalho.
Bosch Power Tools 3 609 929 B97 | (25.8.10)

OBJ_BUCH-55-004.book Page 38 Wednesday, August 25, 2010 1:39 PM
38 | Português
– Se possível deverá usar um dispositivo de
Introduzir/substituir a lâmina de serra
aspiração apropriado para o material.
(vejafiguraB)
– Assegurar uma boa ventilação do local de
f Para a montagem da lâmina de serra é ne-
trabalho.
cessário usar luvas de protecção. Há perigo
– É recomendável usar uma máscara de pro-
de lesões no caso de um contacto com a lâ-
tecção respiratória com filtro da classe P2.
mina de serra.
Observe as directivas para os materiais a se-
Desapertar os parafusos serrilhados 8 e remo-
rem trabalhados, vigentes no seu país.
vê-los conjuntamente com as anilhas de pressão
e com a placa de cobertura 7.
n Colocar primeiramente o par de lâminas de
Funcionamento
serra 3 na parte inferior da guia da lâmina de
serra 2. Assegurar-se de que as fendas lon-
Colocação em funcionamento
gitudinais das lâminas de serra encaixem
f Observar a tensão de rede! A tensão da fon-
nas cavilhas de guiamento da guia da lâmina
te de corrente deve coincidir com a indica-
de serra.
da na chapa de identificação da ferramenta
o De seguida pendurar em seguida o par de lâ-
eléctrica. Ferramentas eléctricas marcadas
minas de serra 3 no pino de arrastamento,
para 230 V também podem ser operadas
de modo que as lâminas de serra encaixem
com 220 V.
perfeitamente na guia de fixação.
Ligar e desligar
Colocar a placa de cobertura 7 sobre as cavilhas
Para a colocação em funcionamento da ferra-
roscadas da carcaça e fixá-la com os parafusos
menta eléctrica deverá pressionar o interruptor
serrilhados 8. Assegurar-se de que as anilhas de
de ligar-desligar 1 e manter pressionado.
aperto estejam colocadas.
Para fixar o interruptor de ligar-desligar 1, em-
purrar o interruptor de ligar-desligar 1 para trás.
Montar as placas de base (veja figura C)
Para desligar a ferramenta eléctrica, soltar o in-
Colocar a guia da lâmina de serra 2 no respecti-
terruptor de ligar-desligar 1, ou se estiver trava-
vo entalhe da placa de base 4. Apertar o parafu-
do, deverá premir por instantes o interruptor de
so de fixação 9.
ligar-desligar 1 e em soltá-lo de seguida.
Aspiração de pó/de aparas
Indicações de trabalho
f Pós de materiais como por exemplo, tintas
f Antes de todos trabalhos na ferramenta eléc-
que contém chumbo, alguns tipos de madei-
trica deverá puxar a ficha de rede da tomada.
ra, minerais e metais, podem ser nocivos à
Lâminas de serra e guias para lâminas de serra
saúde. O contacto ou a inalação dos pós po-
de provocar reações alérgicas e/ou doenças
As guias para lâminas de serra e as respectivas lâ-
nas vias respiratórias do utilizador ou das
minas de serra podem ser seleccionadas de acor-
pessoas que se encontrem por perto.
do com a espessura do material a ser processa-
Certos pós, como por exemplo pó de carva-
do, ver a seguinte vista geral de acessórios.
lho e faia são considerados como sendo can-
Placas de base com rolos de deslize
cerígenos, especialmente quando juntos
A serra de material alveolar pode ser utilizada
com substâncias para o tratamento de ma-
com ou sem placa de base. A placa de base com
deiras (cromato, preservadores de madeira).
rolos de deslize permite conduzir a serra fácil e
Material que contém asbesto só deve ser
perpendicularmente.
processado por pessoal especializado.
Trabalhar de preferência sem placa de base pa-
ra cortar todo o tipo de formas e para efectuar
recortes.
3 609 929 B97 | (25.8.10) Bosch Power Tools

OBJ_BUCH-55-004.book Page 39 Wednesday, August 25, 2010 1:39 PM
Português | 39
Processar material alveolar
Serviço pós-venda e assistência ao
Para efectuar cortes exactos, principalmente
cliente
em materiais alveolares macios e materiais simi-
lares, deverá sempre trabalhar com velocidade
O serviço pós-venda responde às suas pergun-
moderada. Não comprimir nem esticar demasia-
tas a respeito de serviços de reparação e de ma-
damente o material a ser processado.
nutenção do seu produto, assim como das pe-
Desmontar a placa de base para realizar peque-
ças sobressalentes. Desenhos explodidos e
nos cortes. Fazer um furo no material com uma
informações sobre peças sobressalentes encon-
faca ou com uma tesoura, e em seguida introdu-
tram-se em:
zir a guia da lâmina de serra na abertura e reali-
www.bosch-pt.com
zar o corte.
A nossa equipa de consultores Bosch esclarece
com prazer todas as suas dúvidas a respeito da
Para realizar cortes maiores, deverá seleccio-
compra, aplicação e ajuste dos produtos e aces-
nar-se uma abertura que seja grande suficiente
sórios.
para que seja possível introduzir-se a guia da lâ-
mina de serra com a placa de base montada. As-
Portugal
segure-se de que não haja obstáculos sobre a
Robert Bosch LDA
superfície. Conduzir a ferramenta eléctrica com
Avenida Infante D. Henrique
pressão moderada ao longo da linha de corte.
Lotes 2E – 3E
1800 Lisboa
Tel.: +351 (021) 8 50 00 00
Fax: +351 (021) 8 51 10 96
Manutenção e serviço
Brasil
Manutenção e limpeza
Robert Bosch Ltda.
Caixa postal 1195
f Antes de todos trabalhos na ferramenta eléc-
13065-900 Campinas
trica deverá puxar a ficha de rede da tomada.
Tel.: +55 (0800) 70 45446
f Manter a ferramenta eléctrica e as abertu-
www.bosch.com.br/contacto
ras de ventilação sempre limpas, para tra-
balhar bem e de forma segura.
Eliminação
Limpar regularmente a guia da lâmina de serra e
Ferramentas eléctricas, acessórios e embala-
a lâmina de serra, após aproximadamente cada
gens devem ser enviados a uma reciclagem eco-
8 horas de serviço. Para tal, deverão retirar-se
lógica de matérias primas.
as lâminas de serra da ferramenta eléctrica e
limpá-las, preferivelmente com gasolina. Se ne-
Não deitar ferramentas eléctricas no lixo domés-
cessário, utilizar um raspador para limpar a guia
tico!
da lâmina de serra. Lubrificar levemente a guia
Apenas países da União Europeia:
da lâmina de serra, antes de montar lâminas de
serra novas ou reafiadas.
De acordo com a directiva euro-
péia 2002/96/CE para aparelhos
Se a ferramenta eléctrica falhar apesar de cuida-
eléctricos e electrónicos velhos, e
dosos processos de fabricação e de teste, a re-
com as respectivas realizações
paração deverá ser executada por uma oficina
nas leis nacionais, as ferramentas
de serviço autorizada para ferramentas eléctri-
eléctricas que não servem mais
cas Bosch.
para a utilização, devem ser envia-
Para todas as questões e encomendas de peças
das separadamente a uma recicla-
sobressalentas é imprescindível indicar o núme-
gem ecológica.
ro de produto de 10 dígitos como consta na pla-
ca de características da ferramenta eléctrica.
Sob reserva de alterações.
Bosch Power Tools 3 609 929 B97 | (25.8.10)

OBJ_BUCH-55-004.book Page 40 Wednesday, August 25, 2010 1:39 PM
40 | Italiano
it
Norme di sicurezza
c) Custodire l’elettroutensile al riparo dalla
pioggia o dall’umidità. La penetrazione
dell’acqua in un elettroutensile aumenta il
Avvertenze generali di pericolo per
rischio di una scossa elettrica.
elettroutensili
d) Non usare il cavo per scopi diversi da
AVVERTENZA
Leggere tutte le avvertenze
quelli previsti ed, in particolare, non
di pericolo e le istruzioni
usarlo per trasportare o per appendere
operative. In caso di mancato rispetto delle av-
l’elettroutensile oppure per estrarre la
vertenze di pericolo e delle istruzioni operative
spina dalla presa di corrente. Non avvici-
si potrà creare il pericolo di scosse elettriche,
nare il cavo a fonti di calore, olio, spigoli
incendi e/o incidenti gravi.
taglienti e neppure a parti della macchi-
Conservare tutte le avvertenze di pericolo e le
na che siano in movimento. I cavi danneg-
istruzioni operative per ogni esigenza futura.
giati o aggrovigliati aumentano il rischio
Il termine «elettroutensile» utilizzato nelle av-
d’insorgenza di scosse elettriche.
vertenze di pericolo si riferisce ad utensili elet-
e) Qualora si voglia usare l’elettroutensile
trici alimentati dalla rete (con linea di allaccia-
all’aperto, impiegare solo ed esclusiva-
mento) ed ad utensili elettrici alimentati a
mente cavi di prolunga che siano adatti
batteria (senza linea di allacciamento).
per l’impiego all’esterno. L’uso di un ca-
vo di prolunga omologato per l’impiego
1) Sicurezza della postazione di lavoro
all’esterno riduce il rischio d’insorgenza
a) Tenere la postazione di lavoro sempre
di scosse elettriche.
pulita e ben illuminata. Il disordine oppu-
f) Qualora non fosse possibile evitare di
re zone della postazione di lavoro non illu-
utilizzare l’elettroutensile in ambiente
minate possono essere causa di incidenti.
umido, utilizzare un interruttore di sicu-
b) Evitare d’impiegare l’elettroutensile in
rezza. L’uso di un interruttore di sicurezza
ambienti soggetti al rischio di esplosioni
riduce il rischio di una scossa elettrica.
nei quali si abbia presenza di liquidi, gas
3) Sicurezza delle persone
o polveri infiammabili. Gli elettroutensili
producono scintille che possono far in-
a) È importante concentrarsi su ciò che si
fiammare la polvere o i gas.
sta facendo e maneggiare con giudizio
l’elettroutensile durante le operazioni di
c) Tenere lontani i bambini ed altre persone
lavoro. Non utilizzare mai l’elettroutensi-
durante l’impiego dell’elettroutensile.
le in caso di stanchezza oppure quando ci
Eventuali distrazioni potranno comportare
si trovi sotto l’effetto di droghe, bevande
la perdita del controllo sull’elettroutensile.
alcoliche e medicinali. Un attimo di distra-
2) Sicurezza elettrica
zione durante l’uso dell’elettroutensile può
essere causa di gravi incidenti.
a) La spina di allacciamento alla rete
dell’elettroutensile deve essere adatta al-
b) Indossare sempre equipaggiamento pro-
la presa. Evitare assolutamente di appor-
tettivo individuale nonché occhiali pro-
tare modifiche alla spina. Non impiegare
tettivi. Indossando abbigliamento di pro-
spine adattatrici assieme ad elettrouten-
tezione personale come la maschera per
sili dotati di collegamento a terra. Le spine
polveri, scarpe di sicurezza che non scivo-
non modificate e le prese adatte allo scopo
lino, elmetto di protezione oppure prote-
riducono il rischio di scosse elettriche.
zione acustica a seconda del tipo e
dell’applicazione dell’elettroutensile, si ri-
b) Evitare il contatto fisico con superfici col-
duce il rischio di incidenti.
legate a terra, come tubi, riscaldamenti,
cucine elettriche e frigoriferi. Sussiste un
c) Evitare l’accensione involontaria
maggior rischio di scosse elettriche nel
dell’elettroutensile. Prima di collegarlo
momento in cui il corpo è messo a massa.
alla rete di alimentazione elettrica e/o
3 609 929 B97 | (25.8.10) Bosch Power Tools

OBJ_BUCH-55-004.book Page 41 Wednesday, August 25, 2010 1:39 PM
Italiano | 41
alla batteria ricaricabile, prima di pren-
c) Prima di procedere ad operazioni di re-
derlo oppure prima di iniziare a traspor-
golazione sulla macchina, prima di sosti-
tarlo, assicurarsi che l’elettroutensile sia
tuire parti accessorie oppure prima di
spento. Tenendo il dito sopra l’interrutto-
posare la macchina al termine di un lavo-
re mentre si trasporta l’elettroutensile op-
ro, estrarre sempre la spina dalla presa
pure collegandolo all’alimentazione di
della corrente e/o estrarre la batteria ri-
corrente con l’interruttore inserito, si ven-
caricabile. Tale precauzione eviterà che
gono a creare situazioni pericolose in cui
l’elettroutensile possa essere messo in
possono verificarsi seri incidenti.
funzione involontariamente.
d) Prima di accendere l’elettroutensile to-
d) Quando gli elettroutensili non vengono
gliere gli attrezzi di regolazione o la chia-
utilizzati, conservarli al di fuori del rag-
ve inglese. Un accessorio oppure una chia-
gio di accesso di bambini. Non fare usare
ve che si trovi in una parte rotante della
l’elettroutensile a persone che non siano
macchina può provocare seri incidenti.
abituate ad usarlo o che non abbiano let-
e) Evitare una posizione anomala del cor-
to le presenti istruzioni. Gli elettroutensi-
po. Avere cura di mettersi in posizione
li sono macchine pericolose quando ven-
sicura e di mantenere l’equilibrio in ogni
gono utilizzati da persone non dotate di
situazione. In questo modo è possibile
sufficiente esperienza.
controllare meglio l’elettroutensile in ca-
e) Eseguire la manutenzione dell’elettrou-
so di situazioni inaspettate.
tensile operando con la dovuta diligenza.
Accertarsi che le parti mobili della mac-
f) Indossare vestiti adeguati. Non indossa-
china funzionino perfettamente, che non
re vestiti larghi, né portare bracciali e ca-
s’inceppino e che non ci siano pezzi rotti
tenine. Tenere i capelli, i vestiti ed i
o danneggiati al punto da limitare la fun-
guanti lontani da pezzi in movimento. Ve-
zione dell’elettroutensile stesso. Prima di
stiti lenti, gioielli o capelli lunghi potranno
iniziare l’impiego, far riparare le parti dan-
impigliarsi in pezzi in movimento.
neggiate. Numerosi incidenti vengono cau-
g) In caso fosse previsto il montaggio di di-
sati da elettroutensili la cui manutenzione è
spositivi di aspirazione della polvere e di
stata effettuata poco accuratamente.
raccolta, assicurarsi che gli stessi siano
f) Mantenere gli utensili da taglio sempre
collegati e che vengano utilizzati corret-
affilati e puliti. Gli utensili da taglio curati
tamente. L’utilizzo di un’aspirazione pol-
con particolare attenzione e con taglienti
vere può ridurre lo svilupparsi di situazio-
affilati s’inceppano meno frequentemente
ni pericolose dovute alla polvere.
e sono più facili da condurre.
4) Trattamento accurato ed uso corretto degli
g) Utilizzare l’elettroutensile, gli accessori
elettroutensili
opzionali, gli utensili per applicazioni spe-
a) Non sottoporre la macchina a sovraccari-
cifiche ecc., sempre attenendosi alle pre-
co. Per il proprio lavoro, utilizzare esclu-
senti istruzioni. Così facendo, tenere sem-
sivamente l’elettroutensile esplicita-
pre presente le condizioni di lavoro e le
mente previsto per il caso. Con un
operazioni da eseguire. L’impiego di elet-
elettroutensile adatto si lavora in modo
troutensili per usi diversi da quelli consen-
migliore e più sicuro nell’ambito della sua
titi potrà dar luogo a situazioni di pericolo.
potenza di prestazione.
5) Assistenza
b) Non utilizzare mai elettroutensili con in-
a) Fare riparare l’elettroutensile solo ed
terruttori difettosi. Un elettroutensile
esclusivamente da personale specializza-
con l’interruttore rotto è pericoloso e de-
to e solo impiegando pezzi di ricambio ori-
ve essere aggiustato.
ginali. In tale maniera potrà essere salva-
guardata la sicurezza dell’elettroutensile.
Bosch Power Tools 3 609 929 B97 | (25.8.10)

OBJ_BUCH-55-004.book Page 42 Wednesday, August 25, 2010 1:39 PM
42 | Italiano
Indicazioni di sicurezza per tagliagom-
Componenti illustrati
mapiuma
La numerazione dei componenti illustrati si riferi-
f Tenere l’apparecchio per le superfici isolate
sce all’illustrazione dell’elettroutensile che si tro-
dell’impugnatura qualora venissero effet-
va sulla pagina con la rappresentazione grafica.
tuati lavori durante i quali l’accessorio po-
1 Interruttore di avvio/arresto
trebbe venire a contatto con cavi elettrici
2 Dispositivo guidalama*
nascosti oppure con il proprio cavo di rete.
Il contatto con un cavo sotto tensione può
3 Coppia lame*
mettere sotto tensione anche parti metalli-
4 Piedino
che dell’apparecchio, causando una scossa
5 Impugnatura (superficie di presa isolata)
elettrica.
6 Vite
f Tenere le mani sempre lontane dalla zona
7 Piastra di copertura
operativa. Mai afferrare con le mani la parte
8 Vite a testa zigrinata
inferiore del pezzo in lavorazione. Toccando
la lama vi è un serio rischio di incidente.
9 Vite di serraggio per basamento
*L’accessorio illustrato oppure descritto non è com-
preso nel volume di fornitura standard. L’accessorio
completo è contenuto nel nostro programma acces-
Descrizione del funzionamento
sori.
Leggere tutte le avvertenze di peri-
colo e le istruzioni operative. In caso
Dati tecnici
di mancato rispetto delle avvertenze
Tagliagommapiuma GSG 300
di pericolo e delle istruzioni operati-
Professional
ve si potrà creare il pericolo di scosse
elettriche, incendi e/o incidenti gravi.
Codice prodotto
0 601 575 1..
Si prega di aprire la pagina ribaltabile su cui si
Potenza nominale
trova raffigurata schematicamente la macchina
assorbita
W 350
e lasciarla aperta mentre si legge il manuale
Potenza resa
W 185
delle Istruzioni per l’uso.
Numero di corse a
vuoto n
3200
Uso conforme alle norme
0
min
-1
Numero corse a carico
min
-1
2100
L’elettroutensile è idoneo per tagliare qualun-
que tipo di forma su materiali espansi, gomma-
Max. profondità di
piuma e materiali simili.
taglio mm 300
Peso in funzione della
EPTA-Procedure
01/2003
kg 1,6
Classe di sicurezza
/II
I dati sono validi per una tensione nominale [U] di
230 V. In caso di tensioni differenti e di modelli specifi-
ci dei paesi di impiego, questi dati possono variare.
Si prega di tenere presente il codice prodotto applicato
sulla targhetta di costruzione del Vostro elettroutensile.
Le descrizioni commerciali di singoli elettroutensili pos-
sono variare.
3 609 929 B97 | (25.8.10) Bosch Power Tools

OBJ_BUCH-55-004.book Page 43 Wednesday, August 25, 2010 1:39 PM
Italiano | 43
Informazioni sulla rumorosità e sulla
Dichiarazione di conformità
vibrazione
Assumendone la piena responsabilità, dichiaria-
Valori misurati per rumorosità rilevati conforme-
mo che il prodotto descritto nei «Dati tecnici» è
mente alla norma EN 60745.
conforme alle seguenti normative ed ai relativi
Il livello di pressione acustica stimato A della
documenti: EN 60745 in base alle prescrizioni
macchina ammonta a dB(A): livello di rumorosi-
delle direttive 2004/108/CE, 2006/42/CE.
tà 81 dB(A); livello di potenza acustica
Fascicolo tecnico presso:
92 dB(A). Incertezza della misura K=3 dB.
Robert Bosch GmbH, PT/ESC,
Usare la protezione acustica!
D-70745 Leinfelden-Echterdingen
Valori totali delle oscillazioni (somma di vettori
Dr. Egbert Schneider
Dr. Eckerhard Strötgen
in tre direzioni) misurati conformemente alla
Senior Vice President
Head of Product
norma EN 60745:
Engineering
Certification
Valore di emissione dell’oscillazione a
2
h
=2,5 m/s
,
Incertezza della misura K =1,5 m/s
2
.
Il livello di vibrazioni indicato nelle presenti
istruzioni è stato rilevato seguendo una proce-
Robert Bosch GmbH, Power Tools Division
dura di misurazione conforme alla norma
D-70745 Leinfelden-Echterdingen
EN 60745 e può essere utilizzato per confronta-
Leinfelden, 17.05.2010
re gli elettroutensili. Lo stesso è idoneo anche
per una valutazione temporanea della sollecita-
zione da vibrazioni.
Montaggio
Il livello di vibrazioni indicato rappresenta gli im-
pieghi principali dell’elettroutensile. Qualora
f Prima di qualunque intervento sull’elettrou-
l’elettroutensile venisse utilizzato tuttavia per
tensile estrarre la spina di rete dalla presa.
altri impieghi, con accessori differenti oppure
con manutenzione insufficiente, il livello di vi-
Montaggio del dispositivo guidalama
brazioni può differire. Questo può aumentare
(vedi figura A)
sensibilmente la sollecitazione da vibrazioni per
l’intero periodo di tempo operativo.
Allentare le viti 6 dal corpo della macchina e
Per una valutazione precisa della sollecitazione
rimuoverle. Applicare la guida della lama 2 al
da vibrazioni bisognerebbe considerare anche i
corpo della macchina in modo tale che i perni di
tempi in cui l’apparecchio è spento oppure è
montaggio arrivino a far presa nelle rispettive fo-
acceso ma non è utilizzato effettivamente. Que-
rature. Avvitare la guida della lama 2 stringendo
sto può ridurre chiaramente la sollecitazione da
le viti 6 al corpo della macchina.
vibrazioni per l’intero periodo operativo.
Adottare misure di sicurezza supplementari per
la protezione dell’operatore dall’effetto delle
vibrazioni come p.es.: manutenzione dell’elet-
troutensile e degli accessori, mani calde, orga-
nizzazione dello svolgimento del lavoro.
Bosch Power Tools 3 609 929 B97 | (25.8.10)

OBJ_BUCH-55-004.book Page 44 Wednesday, August 25, 2010 1:39 PM
44 | Italiano
– Utilizzare possibilmente un’aspirazione
Applicazione/sostituzione delle lame
polvere adatta per il materiale.
(vedi figura B)
– Provvedere per una buona aerazione del
f Montando la lama portare sempre guanti di
posto di lavoro.
protezione. Toccando la lama vi è il pericolo
– Si consiglia di portare una mascherina
di incidenti.
protettiva con classe di filtraggio P2.
Allentare le viti a testa zigrinata 8 e rimuoverle
Osservare le norme in vigore nel Vostro paese
insieme alle rondelle elastiche ed alla piastra di
per i materiali da lavorare.
copertura 7.
n Applicare la coppia lame 3 prima nella parte
inferiore del dispositivo guidalama 2. Accer-
Uso
tarsi che le fessure longitudinali delle lame
per segatrice facciano presa nel perno di
Messa in funzione
guida della dispositivo guidalama.
f Osservare la tensione di rete! La tensione
o Una volta terminata l’operazione, aggancia-
della rete deve corrispondere a quella indica-
re la coppia lame 3 nel perno trascinatore in
ta sulla targhetta dell’elettroutensile. Gli
modo tale che le lame per sega si trovino
elettroutensili con l’indicazione di 230 V pos-
perfettamente in posizione nella guida at-
sono essere collegati anche alla rete di 220 V.
tacco utensili.
Applicare la piastra di copertura 7 sui perni filet-
Accendere/spegnere
tati del corpo della macchina e fissarli bene con
Per accendere l’elettroutensile premere l’inter-
le viti a testa zigrinata 8. Assicurarsi che siano
ruttore di avvio/arresto 1 e tenerlo premuto.
state applicate le rondelle elastiche.
Per fissare in posizione l’interruttore di avvio/
arresto premuto 1 spingere l’interruttore di
Montaggio del basamento
avvio/arresto 1 all’indietro.
(vedi figura C)
Per spegnere l’elettroutensile rilasciare l’inter-
Applicare il dispositivo guidalama 2 nella relati-
ruttore di avvio/arresto 1 oppure, se è bloccato,
va rientranza del basamento 4. Avvitare forte la
premere brevemente l’interruttore di avvio/arre-
vite di serraggio 9.
sto 1 e rilasciarlo.
Aspirazione polvere/aspirazione
Indicazioni operative
trucioli
f Prima di qualunque intervento sull’elettrou-
f Polveri e materiali come vernici contenenti
tensile estrarre la spina di rete dalla presa.
piombo, alcuni tipi di legname, minerali e me-
talli possono essere dannosi per la salute. Il
Lame e dispositivi guidalama
contatto oppure l’inalazione delle polveri pos-
A seconda dello spessore del materiale in lavo-
sono causare reazioni allergiche e/o malattie
razione si possono applicare diversi dispositivi
delle vie respiratorie dell’operatore oppure
guidalama e rispettive lame. Vedere a tal fine la
delle persone che si trovano nelle vicinanze.
panoramica degli accessori.
Determinate polveri come polvere da legna-
me di faggio o di quercia sono considerate
Basamento con rulli di scorrimento
cancerogene, in modo particolare insieme ad
Il tagliagommapiuma può essere utilizzato con o
additivi per il trattamento del legname (cro-
senza basamento. Il basamento con i suoi rulli di
mato, protezione per legno). Materiale con-
scorrimento permette di controllare facilmente la
tenente amianto deve essere lavorato esclu-
sega e di condurla su una linea ad angolo retto.
sivamente da personale specializzato.
Per l’esecuzione di tagli di qualunque forma e per
la realizzazione di ritagli si consiglia di operare
senza ricorrere al basamento.
3 609 929 B97 | (25.8.10) Bosch Power Tools

OBJ_BUCH-55-004.book Page 45 Wednesday, August 25, 2010 1:39 PM
Italiano | 45
Lavorazione della gommapiuma
Servizio di assistenza ed assistenza
Per poter eseguire tagli precisi, in modo partico-
clienti
lare in caso di gommapiuma morbida e materiali
simili, lavorare avanzando con una velocità mo-
Il servizio di assistenza risponde alle Vostre do-
derata. Durante la lavorazione non tendere e
mande relative alla riparazione ed alla manuten-
non premere troppo forte il materiale.
zione del Vostro prodotto nonché concernenti le
Prima di eseguire piccoli ritagli, smontare il ba-
parti di ricambio. Disegni in vista esplosa ed in-
samento. Utilizzando un coltello oppure un paio
formazioni relative alle parti di ricambio sono
di forbici, bucare il materiale in lavorazione, in-
consultabili anche sul sito:
serire la guida della lama nella foratura eseguita
www.bosch-pt.com
e procedere alla realizzazione del ritaglio.
Il team assistenza clienti Bosch è a Vostra dispo-
sizione per rispondere alle domande relative
Per la realizzazione di ritagli maggiori, eseguire
all’acquisto, impiego e regolazione di apparec-
un foro di dimensioni tali da permettervi il pas-
chi ed accessori.
saggio del dispositivo guidalama con basamento
montato. Accertarsi che la base di lavorazione sia
Italia
completamente libera da ostacoli. Operare con
Officina Elettroutensili
l’elettroutensile spingendolo lungo la linea di ta-
Robert Bosch S.p.A. c/o GEODIS
glio ed esercitando una pressione moderata.
Viale Lombardia 18
20010 Arluno
Tel.: +39 (02) 36 96 26 63
Fax: +39 (02) 36 96 26 62
Manutenzione ed assistenza
Fax: +39 (02) 36 96 86 77
E-Mail: officina.elettroutensili@it.bosch.com
Manutenzione e pulizia
Svizzera
f Prima di qualunque intervento sull’elettrou-
Tel.: +41 (044) 8 47 15 13
tensile estrarre la spina di rete dalla presa.
Fax: +41 (044) 8 47 15 53
f Per poter garantire buone e sicure opera-
zioni di lavoro, tenere sempre puliti l’elet-
troutensile e le prese di ventilazione.
Smaltimento
Pulire regolarmente il dispositivo guidalama e le
Avviare ad un riciclaggio rispettoso dell’ambien-
lame, ca. ogni 8 ore di funzionamento. A tal fine,
te gli imballaggi, gli elettroutensili e gli accessori
estrarre le lame dall’elettroutensile e pulirle uti-
dismessi.
lizzando preferibilmente benzina. Se necessa-
Non gettare elettroutensili dismessi tra i rifiuti
rio, utilizzare un raschietto per la pulizia del di-
domestici!
spositivo guidalama. Prima di montarvi nuove
Solo per i Paesi della CE:
lame oppure lame riaffilate, applicare delle goc-
Conformemente alla direttiva eu-
ce d’olio sul dispositivo guidalama.
ropea 2002/96/CE sui rifiuti di ap-
Se nonostante gli accurati procedimenti di pro-
parecchiature elettriche ed elet-
duzione e di controllo l’elettroutensile dovesse
troniche ed all’attuazione del
guastarsi, la riparazione va fatta effettuare da un
recepimento nel diritto nazionale,
punto di assistenza autorizzato per gli elettrou-
gli elettroutensili diventati inservi-
tensili Bosch.
bili devono essere raccolti separa-
In caso di richieste o di ordinazione di pezzi di
tamente ed essere inviati ad una
ricambio, comunicare sempre il codice prodotto
riutilizzazione ecologica.
a 10 cifre riportato sulla targhetta di fabbrica-
zione dell’elettroutensile!
Con ogni riserva di modifiche tecniche.
Bosch Power Tools 3 609 929 B97 | (25.8.10)

OBJ_BUCH-55-004.book Page 46 Wednesday, August 25, 2010 1:39 PM
46 | Nederlands
nl
Veiligheidsvoorschriften
b) Voorkom aanraking van het lichaam met
geaarde oppervlakken, bijvoorbeeld van
buizen, verwarmingen, fornuizen en
Algemene veiligheidswaarschuwingen
koelkasten. Er bestaat een verhoogd risi-
voor elektrische gereedschappen
co door een elektrische schok wanneer
WAARSCHUWING
Lees alle veiligheids-
uw lichaam geaard is.
waarschuwingen en
c) Houd het gereedschap uit de buurt van
alle voorschriften. Als de waarschuwingen en
regen en vocht. Het binnendringen van
voorschriften niet worden opgevolgd, kan dit
water in het elektrische gereedschap ver-
een elektrische schok, brand of ernstig letsel tot
groot het risico van een elektrische schok.
gevolg hebben.
d) Gebruik de kabel niet voor een verkeerd
Bewaar alle waarschuwingen en voorschriften
doel, om het elektrische gereedschap te
voor toekomstig gebruik.
dragen of op te hangen of om de stekker
Het in de waarschuwingen gebruikte begrip
uit het stopcontact te trekken. Houd de
„elektrisch gereedschap” heeft betrekking op
kabel uit de buurt van hitte, olie, scherpe
elektrische gereedschappen voor gebruik op het
randen en bewegende gereedschapdelen.
stroomnet (met netsnoer) en op elektrische ge-
Beschadigde of in de war geraakte kabels
reedschappen voor gebruik met een accu (zon-
vergroten het risico van een elektrische
der netsnoer).
schok.
e) Wanneer u buitenshuis met elektrisch
1) Veiligheid van de werkomgeving
gereedschap werkt, dient u alleen ver-
lengkabels te gebruiken die voor gebruik
a) Houd uw werkomgeving schoon en goed
buitenshuis zijn goedgekeurd. Het ge-
verlicht. Een rommelige of onverlichte
bruik van een voor gebruik buitenshuis ge-
werkomgeving kan tot ongevallen leiden.
schikte verlengkabel beperkt het risico
b) Werk met het elektrische gereedschap
van een elektrische schok.
niet in een omgeving met explosiegevaar
f) Als het gebruik van het elektrische ge-
waarin zich brandbare vloeistoffen,
reedschap in een vochtige omgeving on-
brandbare gassen of brandbaar stof be-
vermijdelijk is, dient u een aardlekscha-
vinden. Elektrische gereedschappen ver-
kelaar te gebruiken. Het gebruik van een
oorzaken vonken die het stof of de dam-
aardlekschakelaar vermindert het risico
pen tot ontsteking kunnen brengen.
van een elektrische schok.
c) Houd kinderen en andere personen tij-
dens het gebruik van het elektrische ge-
3) Veiligheid van personen
reedschap uit de buurt. Wanneer u wordt
a) Wees alert, let goed op wat u doet en ga
afgeleid, kunt u de controle over het ge-
met verstand te werk bij het gebruik van
reedschap verliezen.
het elektrische gereedschap. Gebruik
geen elektrisch gereedschap wanneer u
2) Elektrische veiligheid
moe bent of onder invloed staat van
a) De aansluitstekker van het elektrische
drugs, alcohol of medicijnen. Een mo-
gereedschap moet in het stopcontact
ment van onoplettendheid bij het gebruik
passen. De stekker mag in geen geval
van het elektrische gereedschap kan tot
worden veranderd. Gebruik geen adap-
ernstige verwondingen leiden.
terstekkers in combinatie met geaarde
b) Draag persoonlijke beschermende uit-
elektrische gereedschappen. Onveran-
rusting. Draag altijd een veiligheidsbril.
derde stekkers en passende stopcontac-
Het dragen van persoonlijke beschermen-
ten beperken het risico van een elektri-
de uitrusting zoals een stofmasker, slip-
sche schok.
vaste werkschoenen, een veiligheidshelm
of gehoorbescherming, afhankelijk van de
3 609 929 B97 | (25.8.10) Bosch Power Tools

OBJ_BUCH-55-004.book Page 47 Wednesday, August 25, 2010 1:39 PM
Nederlands | 47
aard en het gebruik van het elektrische ge-
c) Trek de stekker uit het stopcontact of
reedschap, vermindert het risico van ver-
neem de accu uit het elektrische gereed-
wondingen.
schap voordat u het gereedschap instelt,
c) Voorkom per ongeluk inschakelen. Con-
toebehoren wisselt of het gereedschap
troleer dat het elektrische gereedschap
weglegt. Deze voorzorgsmaatregel voor-
uitgeschakeld is voordat u de stekker in
komt onbedoeld starten van het elektri-
het stopcontact steekt of de accu aansluit
sche gereedschap.
en voordat u het gereedschap oppakt of
d) Bewaar niet-gebruikte elektrische ge-
draagt. Wanneer u bij het dragen van het
reedschappen buiten bereik van kinde-
elektrische gereedschap uw vinger aan de
ren. Laat het gereedschap niet gebruiken
schakelaar hebt of wanneer u het gereed-
door personen die er niet mee vertrouwd
schap ingeschakeld op de stroomvoorzie-
zijn en deze aanwijzingen niet hebben ge-
ning aansluit, kan dit tot ongevallen leiden.
lezen. Elektrische gereedschappen zijn ge-
d) Verwijder instelgereedschappen of
vaarlijk wanneer deze door onervaren per-
schroefsleutels voordat u het elektri-
sonen worden gebruikt.
sche gereedschap inschakelt. Een instel-
e) Verzorg het elektrische gereedschap
gereedschap of sleutel in een draaiend
zorgvuldig. Controleer of bewegende de-
deel van het gereedschap kan tot verwon-
len van het gereedschap correct functio-
dingen leiden.
neren en niet vastklemmen en of onder-
e) Voorkom een onevenwichtige lichaams-
delen zodanig gebroken of beschadigd
houding. Zorg ervoor dat u stevig staat en
zijn dat de werking van het elektrische
steeds in evenwicht blijft. Daardoor kunt u
gereedschap nadelig wordt beïnvloed.
het elektrische gereedschap in onverwach-
Laat deze beschadigde onderdelen voor
te situaties beter onder controle houden.
het gebruik repareren. Veel ongevallen
f) Draag geschikte kleding. Draag geen los-
hebben hun oorzaak in slecht onderhou-
hangende kleding of sieraden. Houd ha-
den elektrische gereedschappen.
ren, kleding en handschoenen uit de buurt
f) Houd snijdende inzetgereedschappen
van bewegende delen. Loshangende kle-
scherp en schoon. Zorgvuldig onderhou-
ding, lange haren en sieraden kunnen door
den snijdende inzetgereedschappen met
bewegende delen worden meegenomen.
scherpe snijkanten klemmen minder snel
g) Wanneer stofafzuigings- of stofopvang-
vast en zijn gemakkelijker te geleiden.
voorzieningen kunnen worden gemon-
teerd, dient u zich ervan te verzekeren
g) Gebruik elektrisch gereedschap, toebe-
dat deze zijn aangesloten en juist wor-
horen, inzetgereedschappen en dergelij-
den gebruikt. Het gebruik van een stofaf-
ke volgens deze aanwijzingen. Let daar-
zuiging beperkt het gevaar door stof.
bij op de arbeidsomstandigheden en de
uit te voeren werkzaamheden. Het ge-
4) Zorgvuldige omgang met en zorgvuldig ge-
bruik van elektrische gereedschappen
bruik van elektrische gereedschappen
voor andere dan de voorziene toepassin-
a) Overbelast het gereedschap niet. Ge-
gen kan tot gevaarlijke situaties leiden.
bruik voor uw werkzaamheden het daar-
voor bestemde elektrische gereedschap.
5) Service
Met het passende elektrische gereed-
a) Laat het elektrische gereedschap alleen
schap werkt u beter en veiliger binnen het
repareren door gekwalificeerd en vak-
aangegeven capaciteitsbereik.
kundig personeel en alleen met originele
b) Gebruik geen elektrisch gereedschap
vervangingsonderdelen.
Daarmee wordt
waarvan de schakelaar defect is. Elek-
gewaarborgd dat de veiligheid van het ge-
trisch gereedschap dat niet meer kan wor-
reedschap in stand blijft.
den in- of uitgeschakeld, is gevaarlijk en
moet worden gerepareerd.
Bosch Power Tools 3 609 929 B97 | (25.8.10)

OBJ_BUCH-55-004.book Page 48 Wednesday, August 25, 2010 1:39 PM
48 | Nederlands
Veiligheidsvoorschriften voor schuim-
Afgebeelde componenten
rubbersnijmachines
De componenten zijn genummerd zoals op de
f Houd het gereedschap aan de geïsoleerde
afbeelding van het elektrische gereedschap op
greepvlakken vast als u werkzaamheden
de pagina met afbeeldingen.
uitvoert waarbij het inzetgereedschap ver-
1 Aan/uit-schakelaar
borgen stroomleidingen of de eigen stroom-
2 Zaagbladgeleiding*
kabel kan raken. Contact met een onder
spanning staande leiding kan ook metalen
3 Zaagbladenpaar*
delen van het gereedschap onder spanning
4 Voetplaat
zetten en tot een elektrische schok leiden.
5 Handgreep (geïsoleerd greepvlak)
f Houd uw handen uit de buurt van de plaats
6 Schroef
waar wordt gezaagd. Grijp niet onder het
7 Afdekplaat
werkstuk. Bij aanraking van het zaagblad be-
8 Kartelschroef
staat verwondingsgevaar.
9 Spanschroef voor voetplaat
* Niet elk afgebeeld en beschreven toebehoren wordt
standaard meegeleverd. Het volledige toebehoren
Functiebeschrijving
vindt u in ons toebehorenprogramma.
Lees alle veiligheidswaarschuwin-
gen en alle voorschriften. Als de
Technische gegevens
waarschuwingen en voorschriften
niet worden opgevolgd, kan dit een
Schuimstofzaag GSG 300
elektrische schok, brand of ernstig
Professional
letsel tot gevolg hebben.
Zaaknummer
0 601 575 1..
Vouw de uitvouwbare pagina met de afbeelding
Opgenomen vermogen
W 350
van het gereedschap open en laat deze pagina
Afgegeven vermogen
W 185
opengevouwen terwijl u de gebruiksaanwijzing
leest.
Onbelast aantal
zaagbewegingen n
0
min
-1
3200
Gebruik volgens bestemming
Aantal slagen belast
min
-1
2100
Het elektrische gereedschap is bestemd voor
Max. zaagdiepte
mm 300
het snijden van willekeurige vormen uit schuim-
Gewicht volgens EPTA-
kunststof, schuimrubber en vergelijkbare mate-
Procedure 01/2003
kg 1,6
rialen.
Isolatieklasse
/II
De gegevens gelden voor nominale spanningen [U]
230 V. Bij afwijkende spanningen en bij per land ver-
schillende uitvoeringen kunnen deze gegevens afwijken.
Let op het zaaknummer op het typeplaatje van het elek-
trische gereedschap. De handelsbenamingen van som-
mige elektrische gereedschappen kunnen afwijken.
3 609 929 B97 | (25.8.10) Bosch Power Tools

OBJ_BUCH-55-004.book Page 49 Wednesday, August 25, 2010 1:39 PM
Nederlands | 49
Informatie over geluid en trillingen
Conformiteitsverklaring
Meetwaarden voor geluid bepaald volgens
Wij verklaren als alleen verantwoordelijke dat
EN 60745.
het onder „Technische gegevens” beschreven
Het A-gewogen geluidsniveau van het gereed-
product voldoet aan de volgende normen en
schap bedraagt kenmerkend: geluidsdrukniveau
normatieve documenten: EN 60745 volgens de
81 dB(A); geluidsvermogenniveau 92 dB(A). On-
bepalingen van de richtlijnen 2004/108/EG en
zekerheid K=3 dB.
2006/42/EG.
Draag een gehoorbescherming.
Technisch dossier bij:
Trillingsemissiewaarden (vectorsom van drie
Robert Bosch GmbH, PT/ESC,
richtingen) bepaald volgens EN 60745:
D-70745 Leinfelden-Echterdingen
trillingsemissiewaarde a
=2,5 m/s
2
h
, onzeker-
Dr. Egbert Schneider
Dr. Eckerhard Strötgen
heid K =1,5 m/s
2
.
Senior Vice President
Head of Product
Het in deze gebruiksaanwijzing vermelde tril-
Engineering
Certification
lingsniveau is gemeten met een volgens
EN 60745 genormeerde meetmethode en kan
worden gebruikt om elektrische gereedschap-
pen met elkaar te vergelijken. Het is ook ge-
Robert Bosch GmbH, Power Tools Division
schikt voor een voorlopige inschatting van de
D-70745 Leinfelden-Echterdingen
trillingsbelasting.
Leinfelden, 17.05.2010
Het aangegeven trillingsniveau representeert de
voornaamste toepassingen van het elektrische
gereedschap. Als echter het elektrische gereed-
Montage
schap wordt gebruikt voor andere toepassin-
gen, met afwijkende inzetgereedschappen of
f Trek altijd voor werkzaamheden aan het
onvoldoende onderhoud, kan het trillingsniveau
elektrische gereedschap de stekker uit het
afwijken. Dit kan de trillingsbelasting gedurende
stopcontact.
de gehele arbeidsperiode duidelijk verhogen.
Voor een nauwkeurige schatting van de trillings-
Zaagbladgeleiding monteren
belasting moet ook rekening worden gehouden
(zie afbeelding A)
met de tijd waarin het gereedschap uitgescha-
keld is, of waarin het gereedschap wel loopt,
Draai de schroeven 6 los van het huis en verwij-
maar niet werkelijk wordt gebruikt. Dit kan de
der deze. Plaats de zaagbladgeleiding 2 zo op
trillingsbelasting gedurende de gehele arbeids-
het huis dat de opnamestiften in de bijbehoren-
periode duidelijk verminderen.
de boorgaten grijpen. Schroef de zaagbladgelei-
Leg aanvullende veiligheidsmaatregelen ter be-
ding 2 met de schroeven 6 op het huis vast.
scherming van de bediener tegen het effect van
trillingen vast, zoals: Onderhoud van elektrische
gereedschappen en inzetgereedschappen,
warm houden van de handen, organisatie van
het arbeidsproces.
Bosch Power Tools 3 609 929 B97 | (25.8.10)

OBJ_BUCH-55-004.book Page 50 Wednesday, August 25, 2010 1:39 PM
50 | Nederlands
Zaagbladen inzetten of vervangen
Gebruik
(zie afbeelding B)
f Draag werkhandschoenen bij de montage
Ingebruikneming
van het zaagblad. Bij het aanraken van het
f Let op de netspanning! De spanning van de
zaagblad bestaat verwondingsgevaar.
stroombron moet overeenkomen met de ge-
Draai de kartelschroeven 8 los en verwijder deze
gevens op het typeplaatje van het elektri-
samen met de veerringen en de afdekplaat 7.
sche gereedschap. Met 230 V aangeduide
n Zet het zaagbladenpaar 3 eerst onder in de
elektrische gereedschappen kunnen ook
zaagbladgeleiding 2 in. Let erop dat de leng-
met 220 V worden gebruikt.
tesleuven van de zaagbladen in de gelei-
In- en uitschakelen
dingsstift van de zaagbladgeleiding grijpen.
Als u het elektrische gereedschap wilt inschake-
o Bevestig vervolgens het zaagbladenpaar 3
len drukt u op de aan/uit-schakelaar 1 en houdt
zodanig in de meeneempen dat de zaagbla-
u deze ingedrukt.
den correct in de opnamegeleiding zitten.
Plaats de afdekplaat 7 op de draadeinden van
Voor het vastzetten van de ingedrukte aan/uit-
het huis en bevestig deze met de kartelschroe-
schakelaar 1 dient u de aan/uit-schakelaar 1
ven 8. Controleer dat de veerringen zijn aange-
naar achteren te duwen.
bracht.
Als u het elektrische gereedschap wilt uitscha-
kelen laat u de aan/uit-schakelaar 1 los. Als deze
vergrendeld is, drukt u de aan/uit-schakelaar 1
Voetplaat monteren (zie afbeelding C)
kort in en laat u deze vervolgens los.
Plaats de zaagbladgeleiding 2 in de bijbehoren-
de uitsparing van de voetplaat 4. Draai de span-
schroef 9 vast.
Tips voor de werkzaamheden
f Trek altijd voor werkzaamheden aan het
elektrische gereedschap de stekker uit het
Afzuiging van stof en spanen
stopcontact.
f Stof van materialen zoals loodhoudende verf,
enkele houtsoorten, mineralen en metaal
Zaagbladen en zaagbladgeleidingen
kunnen schadelijk voor de gezondheid zijn.
Afhankelijk van de te bewerken materiaaldikte
Aanraking of inademing van stof kan leiden
kunnen verschillende zaagbladgeleidingen en
tot allergische reacties en/of ziekten van de
bijbehorende zaagbladen worden gebruikt. Zie
ademwegen van de gebruiker of personen
daarvoor het toebehorenoverzicht.
die zich in de omgeving bevinden.
Bepaalde soorten stof, bijvoorbeeld van ei-
Voetplaat met glijwieltjes
ken- en beukenhout, gelden als kankerver-
U kunt de schuimstofzaag met of zonder voet-
wekkend, in het bijzonder in combinatie met
plaat gebruiken. Dankzij de van glijwieltjes voor-
toevoegingsstoffen voor houtbehandeling
ziene geleidingsplaat kunt u de zaag gemakkelijk
(chromaat en houtbeschermingsmiddelen).
en recht geleiden.
Asbesthoudend materiaal mag alleen door
Voor het snijden van willekeurige vormen en het
bepaalde vakmensen worden bewerkt.
maken van uitsparingen werkt u het best zonder
– Gebruik indien mogelijk een voor het ma-
voetplaat.
teriaal geschikte stofafzuiging.
– Zorg voor een goede ventilatie van de
werkplek.
– Er wordt geadviseerd om een ademmas-
ker met filterklasse P2 te dragen.
Neem de in uw land geldende voorschriften
voor de te bewerken materialen in acht.
3 609 929 B97 | (25.8.10) Bosch Power Tools

OBJ_BUCH-55-004.book Page 51 Wednesday, August 25, 2010 1:39 PM
Nederlands | 51
Schuimstof bewerken
Klantenservice en advies
Voor het nauwkeurig op maat snijden, vooral bij
zacht schuimstof en vergelijkbare materialen,
Onze klantenservice beantwoordt uw vragen
werkt u met een matige voorwaartse beweging.
over reparatie en onderhoud van uw product en
Druk of trek het materiaal bij het bewerken niet
over vervangingsonderdelen. Explosietekenin-
te sterk.
gen en informatie over vervangingsonderdelen
vindt u ook op:
Demonteer de voetplaat voor het maken van
www.bosch-pt.com
kleine uitsparingen. Steek met een mes of een
De medewerkers van onze klantenservice advi-
schaar in het materiaal. Steek vervolgens de
seren u graag bij vragen over de aankoop, het
zaagbladgeleiding in de opening en bewerk de
gebruik en de instelling van producten en toebe-
uitsparing.
horen.
Voor het maken van grote uitsparingen kiest u
de insteekopening zo groot dat de zaagbladge-
Nederland
leiding er met gemonteerde voetplaat doorheen
Tel.: +31 (076) 579 54 54
kan worden gestoken. Let erop dat de onder-
Fax: +31 (076) 579 54 94
grond vrij van obstakels is. Geleid het elektri-
E-mail: gereedschappen@nl.bosch.com
sche gereedschap met matige druk langs de uit-
sparingslijn.
België en Luxemburg
Tel.: +32 (070) 22 55 65
Fax: +32 (070) 22 55 75
E-mail: outillage.gereedschap@be.bosch.com
Onderhoud en service
Onderhoud en reiniging
Afvalverwijdering
f Trek altijd voor werkzaamheden aan het
Elektrische gereedschappen, toebehoren en
elektrische gereedschap de stekker uit het
verpakkingen moeten op een voor het milieu ver-
stopcontact.
antwoorde wijze worden hergebruikt.
f Houd het elektrische gereedschap en de
Gooi elektrische gereedschappen niet bij het
ventilatieopeningen altijd schoon om goed
huisvuil.
en veilig te werken.
Reinig de zaagbladgeleiding en de zaagbladen
Alleen voor landen van de EU:
regelmatig, ongeveer elke 8 bedrijfsuren. Ver-
Volgens de Europese richtlijn
wijder daarvoor de zaagbladen uit het elektri-
2002/96/EG betreffende elektri-
sche gereedschap en reinig de zaagbladen, bij
sche en elektronische oude appa-
voorkeur met benzine. Gebruik indien nodig een
raten en de omzetting van de
schraper om de zaagbladgeleiding te reinigen.
richtlijn in nationaal recht moeten
Smeer de zaagbladgeleiding licht voordat u
niet meer bruikbare elektrische
nieuwe of geslepen zaagbladen monteert.
gereedschappen apart worden
Mocht het elektrische gereedschap ondanks
ingezameld en op een voor het
zorgvuldige fabricage- en testmethoden toch de-
milieu verantwoorde wijze worden
fect raken, dient de reparatie te worden uitge-
hergebruikt.
voerd door een erkende klantenservice voor
Bosch elektrische gereedschappen.
Wijzigingen voorbehouden.
Vermeld bij vragen en bestellingen van vervan-
gingsonderdelen altijd het uit tien cijfers be-
staande zaaknummer volgens het typeplaatje
van het elektrische gereedschap.
Bosch Power Tools 3 609 929 B97 | (25.8.10)

OBJ_BUCH-55-004.book Page 52 Wednesday, August 25, 2010 1:39 PM
52 | Dansk
da
Sikkerhedsinstrukser
d) Brug ikke ledningen til formål, den ikke er
beregnet til (f.eks. må man aldrig bære
el-værktøjet i ledningen, hænge el-værk-
Generelle advarselshenvisninger for
tøjet op i ledningen eller rykke i lednin-
el-værktøj
gen for at trække stikket ud af kontak-
ADVARSEL
Læs alle advarselshenvisnin-
ten). Beskyt ledningen mod varme, olie,
ger og instrukser. I tilfælde af
skarpe kanter eller maskindele, der er i
manglende overholdelse af advarselshenvisnin-
bevægelse. Beskadigede eller indviklede
gerne og instrukserne er der risiko for elektrisk
ledninger øger risikoen for elektrisk stød.
stød, brand og/eller alvorlige kvæstelser.
e) Hvis el-værktøjet benyttes i det fri, må
Opbevar alle advarselshenvisninger og instruk-
der kun benyttes en forlængerledning,
ser til senere brug.
der er egnet til udendørs brug. Brug af
Det i advarselshenvisningerne benyttede begreb
forlængerledning til udendørs brug ned-
„el-værktøj“ refererer til netdrevet el-værktøj
sætter risikoen for elektrisk stød.
(med netkabel) og akkudrevet el-værktøj (uden
f) Hvis det ikke kan undgås at bruge
netkabel).
el-værktøjet i fugtige omgivelser, skal der
bruges et HFI-relæ. Brug af et HFI-relæ re-
1) Sikkerhed på arbejdspladsen
ducerer risikoen for at få elektrisk stød.
a) Sørg for, at arbejdsområdet er rent og
rigtigt belyst. Uorden eller uoplyste ar-
3) Personlig sikkerhed
bejdsområder øger faren for uheld.
a) Det er vigtigt at være opmærksom, se,
b) Brug ikke el-værktøjet i eksplosionsfarli-
hvad man laver, og bruge el-værktøjet
ge omgivelser, hvor der findes brændba-
fornuftigt. Brug ikke noget el-værktøj,
re væsker, gasser eller støv. El-værktøj
hvis du er træt, har nydt alkohol eller er
kan slå gnister, der kan antænde støv eller
påvirket af medikamenter eller euforise-
dampe.
rende stoffer. Få sekunders uopmærk-
somhed ved brug af el-værktøjet kan føre
c) Sørg for, at andre personer og ikke
til alvorlige personskader.
mindst børn holdes væk fra arbejdsom-
rådet, når maskinen er i brug. Hvis man
b) Brug beskyttelsesudstyr og hav altid be-
distraheres, kan man miste kontrollen
skyttelsesbriller på. Brug af sikkerheds-
over maskinen.
udstyr som f.eks. støvmaske, skridsikkert
fodtøj, beskyttelseshjelm eller høreværn
2) Elektrisk sikkerhed
afhængig af maskintype og anvendelse
a) El-værktøjets stik skal passe til kontak-
nedsætter risikoen for personskader.
ten. Stikket må under ingen omstændig-
c) Undgå utilsigtet igangsætning. Kontrol-
heder ændres. Brug ikke adapterstik
lér, at el-værktøjet er slukket, før du til-
sammen med jordforbundet el-værktøj.
slutter det til strømtilførslen og/eller ak-
Uændrede stik, der passer til kontakter-
kuen, løfter eller bærer det. Undgå at
ne, nedsætter risikoen for elektrisk stød.
bære el-værktøjet med fingeren på afbry-
b) Undgå kropskontakt med jordforbundne
deren og sørg for, at el-værktøjet ikke er
overflader som f.eks. rør, radiatorer, kom-
tændt, når det sluttes til nettet, da dette
furer og køleskabe. Hvis din krop er jord-
øger risikoen for personskader.
forbundet, øges risikoen for elektrisk stød.
d) Gør det til en vane altid at fjerne indstil-
c) Maskinen må ikke udsættes for regn el-
lingsværktøj eller skruenøgle, før
ler fugt. Indtrængning af vand i et el-værk-
el-værktøjet tændes. Hvis et stykke værk-
tøj øger risikoen for elektrisk stød.
tøj eller en nøgle sidder i en roterende
maskindel, er der risiko for personskader.
3 609 929 B97 | (25.8.10) Bosch Power Tools

OBJ_BUCH-55-004.book Page 53 Wednesday, August 25, 2010 1:39 PM
Dansk | 53
e) Undgå en anormal legemsposition. Sørg
ret, inden maskinen tages i brug. Mange
for at stå sikkert, mens der arbejdes, og
uheld skyldes dårligt vedligeholdte
kom ikke ud af balance. Dermed har du
el-værktøjer.
bedre muligheder for at kontrollere
f) Sørg for, at skæreværktøjer er skarpe og
el-værktøjet, hvis der skulle opstå uvente-
rene. Omhyggeligt vedligeholdte skære-
de situationer.
værktøjer med skarpe skærekanter sætter
f) Brug egnet arbejdstøj. Undgå løse be-
sig ikke så hurtigt fast og er nemmere at
klædningsgenstande eller smykker. Hold
føre.
hår, tøj og handsker væk fra dele, der be-
g) Brug el-værktøj, tilbehør, indsatsværktøj
væger sig. Dele, der er i bevægelse, kan
osv. iht. disse instrukser. Tag hensyn til
gribe fat i løstsiddende tøj, smykker eller
arbejdsforholdene og det arbejde, der
langt hår.
skal udføres. Anvendelse af el-værktøjet
g) Hvis støvudsugnings- og opsamlingsud-
til formål, som ligger uden for det fastsat-
styr kan monteres, er det vigtigt, at dette
te anvendelsesområde, kan føre til farlige
tilsluttes og benyttes korrekt. Brug af en
situationer.
støvopsugning kan reducere støvmæng-
5) Service
den og dermed den fare, der er forbundet
støv.
a) Sørg for, at el-værktøj kun repareres af
kvalificerede fagfolk og at der kun benyt-
4) Omhyggelig omgang med og brug af
tes originale reservedele. Dermed sikres
el-værktøj
størst mulig maskinsikkerhed.
a) Undgå overbelastning af maskinen. Brug
altid et el-værktøj, der er beregnet til det
Sikkerhedsinstrukser til
stykke arbejde, der skal udføres. Med det
skumgummisave
passende el-værktøj arbejder man bedst
og mest sikkert inden for det angivne ef-
f Hold el-værktøjet i de isolerede gribeflader,
fektområde.
når du udfører arbejde, hvor indsatsværktø-
jet kan ramme bøjede strømledninger eller
b) Brug ikke et el-værktøj, hvis afbryder er
el-værktøjets eget kabel. Kontakt med en
defekt. Et el-værktøj, der ikke kan startes
spændingsførende ledning kan også sætte el-
og stoppes, er farlig og skal repareres.
værktøjets metaldele under spænding, hvil-
c) Træk stikket ud af stikkontakten og/eller
ket kan føre til elektrisk stød.
fjern akkuen, inden maskinen indstilles,
f Hold hænderne væk fra saveområdet. Stik
der skiftes tilbehørsdele, eller maskinen
ikke fingrene ind under emnet. Du kan blive
lægges fra. Disse sikkerhedsforanstalt-
kvæstet, hvis du kommer i kontakt med sav-
ninger forhindrer utilsigtet start af
klingen.
el-værktøjet.
d) Opbevar ubenyttet el-værktøj uden for
børns rækkevidde. Lad aldrig personer,
der ikke er fortrolige med maskinen eller
Funktionsbeskrivelse
ikke har gennemlæst disse instrukser,
Læs alle advarselshenvisninger og
benytte maskinen. El-værktøj er farligt,
instrukser. I tilfælde af manglende
hvis det benyttes af ukyndige personer.
overholdelse af advarselshenvisnin-
e) El-værktøjet bør vedligeholdes omhyg-
gerne og instrukserne er der risiko
geligt. Kontroller, om bevægelige ma-
for elektrisk stød, brand og/eller
skindele fungerer korrekt og ikke sidder
alvorlige kvæstelser.
fast, og om delene er brækket eller be-
Klap venligst foldesiden med illustration af pro-
skadiget, således at el-værktøjets funkti-
duktet ud og lad denne side være foldet ud,
on påvirkes. Få beskadigede dele repare-
mens du læser betjeningsvejledningen.
Bosch Power Tools 3 609 929 B97 | (25.8.10)

OBJ_BUCH-55-004.book Page 54 Wednesday, August 25, 2010 1:39 PM
54 | Dansk
Beregnet anvendelse
Støj-/vibrationsinformation
El-værktøjet er beregnet til at save i alle former for
Måleværdier for støj beregnet iht. EN 60745.
skumplast, skumgummi og lignende materiale.
Værktøjets A-vægtede støjniveau er typisk: Lyd-
tryksniveau 81 dB(A); lydeffektniveau 92 dB(A).
Illustrerede komponenter
Usikkerhed K=3 dB.
Nummereringen af de illustrerede komponenter
Brug høreværn!
refererer til illustrationen af el-værktøjet på illu-
Samlede vibrationsværdier (vektorsum for tre
strationssiden.
retninger) beregnet iht. EN 60745:
Vibrationseksponering a
=2,5 m/s
2
1 Start-stop-kontakt
h
, usikkerhed
K=1,5m/s
2
.
2 Savklingeføring*
Det svingningsniveau, der er angivet i nærvæ-
3 Savklingepar*
rende instruktioner, er blevet målt iht. en stan-
4 Fodplade
dardiseret måleproces i EN 60745, og kan bru-
5 Håndgreb (isoleret gribeflade)
ges til at sammenligne el-værktøjer. Det er også
6 Skrue
egnet til en foreløbig vurdering af svingningsbe-
7 Beskyttelsesplade
lastningen.
Det angivede svingningsniveau repræsenterer
8 Fingerskrue
de væsentlige anvendelser af el-værktøjet. Hvis
9 Spændeskrue til fodplade
el-værktøjet dog anvendes til andre formål, med
*Tilbehør, som er illustreret og beskrevet i betje-
afvigende indsatsværktøj eller utilstrækkelig
ningsvejledningen, er ikke indeholdt i leveringen. Det
vedligeholdelse, kan svingningsniveauet afvige.
fuldstændige tilbehør findes i vores tilbehørspro-
Dette kan føre til en betydelig forøgelse af sving-
gram.
ningsbelastningen i hele arbejdstidsrummet.
Til en nøjagtig vurdering af svingningsbelastnin-
Tekniske data
gen bør der også tages højde for de tider, i hvil-
ke værktøjet er slukket eller godt nok kører, men
Skumstofsav GSG 300
rent faktisk ikke anvendes. Dette kan føre til en
Professional
betydelig reduktion af svingningsbelastningen i
Typenummer
0 601 575 1..
hele arbejdstidsrummet.
Fastlæg ekstra sikkerhedsforanstaltninger til be-
Nominel optagen
skyttelse af brugeren mod svingningers virkning
effekt W 350
som f.eks.: Vedligeholdelse af el-værktøj og ind-
Afgiven effekt
W 185
satsværktøj, holde hænder varme, organisation
af arbejdsforløb.
Slagantal ubelastet n
0
min
-1
3200
Belastet omdrejnings-
tal
min
-1
2100
Max. snitdybde
mm 300
Vægt svarer til EPTA-
Procedure 01/2003
kg 1,6
Beskyttelsesklasse
/II
Angivelserne gælder for en nominel spænding [U] på
230 V. Disse angivelser kan variere ved afvigende spæn-
dinger og i landespecifikke udførelser.
Se typenummer på el-værktøjets typeskilt. Handelsbe-
tegnelserne for de enkelte el-værktøjer kan variere.
3 609 929 B97 | (25.8.10) Bosch Power Tools

OBJ_BUCH-55-004.book Page 55 Wednesday, August 25, 2010 1:39 PM
Dansk | 55
Overensstemmelseserklæring
Montering af fodplade (se Fig. C)
Vi erklærer under almindeligt ansvar, at det pro-
Anbring savklingeføringen 2 i den passende ud-
dukt, der er beskrevet under „Tekniske data“, er i
sparing på fodpladen 4. Spænd spændeskruen 9.
overensstemmelse med følgende standarder eller
normative dokumenter: EN 60745 iht. bestemmel-
Støv-/spånudsugning
serne i direktiverne 2004/108/EF, 2006/42/EF.
f Støv fra materialer som f.eks. blyholdig ma-
Teknisk dossier hos:
ling, nogle træsorter, mineraler og metal kan
Robert Bosch GmbH, PT/ESC,
være sundhedsfarlige. Berøring eller indån-
D-70745 Leinfelden-Echterdingen
ding af støv kan føre til allergiske reaktioner
Dr. Egbert Schneider
Dr. Eckerhard Strötgen
og/eller åndedrætssygdomme hos brugeren
Senior Vice President
Head of Product
eller personer, der opholder sig i nærheden af
Engineering
Certification
arbejdspladsen.
Bestemt støv som f.eks. ege- eller bøgestøv
gælder som kræftfremkaldende, især i forbin-
delse med ekstra stoffer til træbehandling
Robert Bosch GmbH, Power Tools Division
(chromat, træbeskyttelsesmiddel). Asbesthol-
D-70745 Leinfelden-Echterdingen
digt materiale må kun bearbejdes af fagfolk.
Leinfelden, 17.05.2010
– Brug helst en støvopsugning, der egner
sig til materialet.
Montering
– Sørg for god udluftning af arbejdsplad-
sen.
f Træk stikket ud af stikkontakten, før der
– Det anbefales at bære åndeværn med fil-
udføres arbejde på el-værktøjet.
terklasse P2.
Montering af savklingeføring (se Fig. A)
Overhold forskrifterne, der gælder i dit land
vedr. de materialer, der skal bearbejdes.
Løsne skruerne 6 fra huset og fjern disse. An-
bring savklingeføringen 2 på huset på en sådan
måde, at holdestifterne griber ind i de passende
boringer. Skru savklingeføringen 2 fast på huset
med skruerne 6.
Brug
Isætning/udskiftning af savklinger
Ibrugtagning
(se Fig. B)
f Kontrollér netspændingen! Strømkildens
f Brug handsker, når savklingen monteres. Du
spænding skal stemme overens med angi-
kan blive kvæstet, hvis savklingen berøres.
velserne på el-værktøjets typeskilt.
Løsne fingerskruerne 8 og tag disse af sammen
El-værktøj til 230 V kan også tilsluttes
med fjederringene og afdækningspladen 7.
220 V.
n Anbring først savklingeparret 3 forneden i
Tænd/sluk
savklingeføringen 2. Sørg for, at de lange
slidser i savklingerne griber ind i savklinge-
Til ibrugtagning af el-værktøjet tryk på start-
føringens føringsstift.
stop-kontakten 1 og hold den nede.
o Anbring herefter savklingeparret 3 i med-
Til fastholdelse af den nedtrykkede start-stop-
bringertappen på en sådan måde, at savklin-
kontakt 1 skubbes start-stop-kontakten 1 bagud.
gerne sidder rigtigt i holdeføringen.
El-værktøjet slukkes ved at slippe start-stop-
Sæt afdækningspladen 7 på gevindstifterne på
kontakten 1 eller hvis den er fastlåst, trykkes
huset og fastgør den med fingerskruerne 8. Kon-
start-stop-kontakten 1 kort, før den slippes.
trollér at fjederringene er underlagt.
Bosch Power Tools 3 609 929 B97 | (25.8.10)

OBJ_BUCH-55-004.book Page 56 Wednesday, August 25, 2010 1:39 PM
56 | Dansk
Skulle el-værktøjet trods omhyggelig fabrikation
Arbejdsvejledning
og kontrol holde op med at fungere, skal repara-
f Træk stikket ud af stikkontakten, før der
tionen udføres af et autoriseret serviceværksted
udføres arbejde på el-værktøjet.
for Bosch-elektroværktøj.
Savklinger og savklingeføringer
El-værktøjets 10-cifrede typenummer (se type-
Valg af savklingeføring og savklinge afhænger af,
skilt) skal altid angives ved forespørgsler og be-
hvor tykt det materiale er, der skal saves i, se
stilling af reservedele.
oversigt over tilbehør.
Fodplade med glideruller
Kundeservice og kunderådgivning
Du kan bruge skumplastsaven med eller uden
Kundeservice besvarer dine spørgsmål vedr. re-
fodplade. Fodpladen, der er forsynet med glide-
paration og vedligeholdelse af dit produkt samt
ruller, gør det nemt at føre saven i en ret vinkel.
reservedele. Reservedelstegninger og informati-
Skæring af vilkårlige former og fremstilling af ud-
oner om reservedele findes også under:
snit udføres bedst uden fodplade.
www.bosch-pt.com
Bosch kundeservice-team vil gerne hjælpe dig
Bearbejdning af skumplast
med at besvare spørgsmål vedr. køb, anvendel-
Arbejd kun med jævn fremføring, når du skal sa-
se og indstilling af produkter og tilbehør.
ve nøjagtige tilsnit, især når du saver i bløde
skummaterialer og lignende materialer. Forsøg
Dansk
ikke at trykke eller trække alt for meget i materi-
Bosch Service Center
alet under savearbejdet.
Telegrafvej 3
Demontér fodpladen, når små udsnit skal frem-
2750 Ballerup
stilles. Stik en kniv eller en saks ned i materialet,
Tel. Service Center: +45 (4489) 8855
stik herefter savklingeføringen ned i åbningen
Fax: +45 (4489) 87 55
og bearbejd udsnittet.
E-Mail: vaerktoej@dk.bosch.com
Til fremstilling af store udsnit skal istikningsåb-
ningen være så stor, at savklingeføringen kan stik-
Bortskaffelse
kes igennem med monteret fodplade. Sørg for, at
El-værktøj, tilbehør og emballage skal genbru-
undergrunden er fri for forhindringer. Før el-værk-
ges på en miljøvenlig måde.
tøjet langs med udsnitslinjen med jævnt tryk.
Smid ikke el-værktøj ud sammen med det almin-
delige husholdningsaffald!
Gælder kun i EU-lande:
Vedligeholdelse og service
Iht. det europæiske direktiv
2002/96/EF om affald af elektrisk
Vedligeholdelse og rengøring
og elektronisk udstyr skal kasse-
f Træk stikket ud af stikkontakten, før der
ret elektrisk udstyr indsamles se-
udføres arbejde på el-værktøjet.
parat og genbruges iht. gældende
f El-værktøj og el-værktøjets ventilationsåb-
miljøforskrifter.
ninger skal altid holdes rene for at sikre et
godt og sikkert arbejde.
Ret til ændringer forbeholdes.
Rengør savklingeføringen og savklingerne med
regelmæssige mellemrum, ca. hver 8. driftstime.
Tag savklingerne ud af el-værtkøjet og rengør
savklingerne, helst med benzin. Savklingeførin-
gen kan f.eks. rengøres med en skraber. Smør et
tyndt lag olie på savklingeføringen, før nye eller
slebede savklinger monteres.
3 609 929 B97 | (25.8.10) Bosch Power Tools

OBJ_BUCH-55-004.book Page 57 Wednesday, August 25, 2010 1:39 PM
Svenska | 57
sv
Säkerhetsanvisningar
stickproppen ur vägguttaget. Håll nät-
sladden på avstånd från värme, olja,
skarpa kanter och rörliga maskindelar.
Allmänna säkerhetsanvisningar för
Skadade eller tilltrasslade ledningar ökar
elverktyg
risken för elstöt.
VARNING
Läs noga igenom alla säkerhets-
e) När du arbetar med ett elverktyg utom-
anvisningar och instruktioner.
hus använd endast förlängningssladdar
Fel som uppstår till följd av att säkerhetsanvis-
som är avsedda för utomhusbruk. Om en
ningarna och instruktionerna inte följts kan orsa-
lämplig förlängningssladd för utomhus-
ka elstöt, brand och/eller allvarliga personskador.
bruk används minskar risken för elstöt.
Förvara alla varningar och anvisningar för
f) Använd ett felströmsskydd om det inte
framtida bruk.
är möjligt att undvika elverktygets an-
Nedan använt begrepp ”Elverktyg” hänför sig till
vändning i fuktig miljö. Felströmsskyddet
nätdrivna elverktyg (med nätsladd) och till bat-
minskar risken för elstöt.
teridrivna elverktyg (sladdlösa).
3) Personsäkerhet
1) Arbetsplatssäkerhet
a) Var uppmärksam, kontrollera vad du gör
a) Håll arbetsplatsen ren och välbelyst.
och använd elverktyget med förnuft. An-
Oordning på arbetsplatsen och dåligt be-
vänd inte elverktyg när du är trött eller
lyst arbetsområde kan leda till olyckor.
om du är påverkad av droger, alkohol
b) Använd inte elverktyget i explosionsfar-
eller mediciner. Under användning av
lig omgivning med brännbara vätskor, ga-
elverktyg kan även en kort ouppmärksam-
ser eller damm. Elverktygen alstrar gnistor
het leda till allvarliga kroppsskador.
som kan antända dammet eller gaserna.
b) Bär alltid personlig skyddsutrustning och
c) Håll under arbetet med elverktyget barn
skyddsglasögon. Användning av personlig
och obehöriga personer på betryggande
skyddsutrustning som t.ex. dammfilter-
avstånd. Om du störs av obehöriga perso-
mask, halkfria säkerhetsskor, skyddshjälm
ner kan du förlora kontrollen över el-
och hörselskydd reducerar alltefter elverk-
verktyget.
tygets typ och användning risken för
kroppsskada.
2) Elektrisk säkerhet
c) Undvik oavsiktlig igångsättning. Kontrol-
a) Elverktygets stickpropp måste passa till
lera att elverktyget är frånkopplat innan
vägguttaget. Stickproppen får absolut in-
du ansluter stickproppen till vägguttaget
te förändras. Använd inte adapterkontak-
och/eller ansluter/tar bort batteriet, tar
ter tillsammans med skyddsjordade el-
upp eller bär elverktyget. Om du bär el-
verktyg. Oförändrade stickproppar och
verktyget med fingret på strömställaren
passande vägguttag reducerar risken för
eller ansluter påkopplat elverktyg till nät-
elstöt.
strömmen kan olycka uppstå.
b) Undvik kroppskontakt med jordade ytor
d) Ta bort alla inställningsverktyg och skruv-
som t.ex. rör, värmeelement, spisar och
nycklar innan du kopplar på elverktyget.
kylskåp. Det finns en större risk för elstöt
Ett verktyg eller en nyckel i en roterande
om din kropp är jordad.
komponent kan medföra kroppsskada.
c) Skydda elverktyget mot regn och väta.
e) Undvik onormala kroppsställningar. Se
Tränger vatten in i ett elverktyg ökar ris-
till att du står stadigt och håller balan-
ken för elstöt.
sen. I detta fall kan du lättare kontrollera
d) Missbruka inte nätsladden och använd
elverktyget i oväntade situationer.
den inte för att bära eller hänga upp el-
verktyget och inte heller för att dra
Bosch Power Tools 3 609 929 B97 | (25.8.10)

OBJ_BUCH-55-004.book Page 58 Wednesday, August 25, 2010 1:39 PM
58 | Svenska
f) Bär lämpliga arbetskläder. Bär inte löst
g) Använd elverktyget, tillbehör, insats-
hängande kläder eller smycken. Håll hå-
verktyg osv. enligt dessa anvisningar. Ta
ret, kläderna och handskarna på avstånd
hänsyn till arbetsvillkoren och arbetsmo-
från rörliga delar. Löst hängande kläder,
menten. Om elverktyget används på ett
långt hår och smycken kan dras in av rote-
sätt som det inte är avsett för kan farliga
rande delar.
situationer uppstå.
g) När elverktyg används med dammutsug-
5) Service
nings- och -uppsamlingsutrustning, se
till att dessa är rätt monterade och an-
a) Låt endast kvalificerad fackpersonal re-
vänds på korrekt sätt. Användning av
parera elverktyget och endast med origi-
dammutsugning minskar de risker damm
nalreservdelar. Detta garanterar att el-
orsakar.
verktygets säkerhet upprätthålls.
4) Korrekt användning och hantering av
Säkerhetsanvisningar för skumplast-
elverktyg
sågar
a) Överbelasta inte elverktyget. Använd för
f Håll i elverktyget endast vid de isolerade
aktuellt arbete avsett elverktyg. Med ett
greppytorna när arbeten utförs på ställen
lämpligt elverktyg kan du arbeta bättre
där insatsverktyget kan skada dolda elled-
och säkrare inom angivet effektområde.
ningar eller egen nätsladd. Kontakt
b) Ett elverktyg med defekt strömställare
med en spänningsförande ledning kan sätta
får inte längre användas. Ett elverktyg
maskinens metalldelar under spänning och le-
som inte kan kopplas in eller ur är farligt
da till elstöt.
och måste repareras.
f Se till att hålla händerna utanför sågområ-
c) Dra stickproppen ur vägguttaget och/eller
det. För inte in handen under arbetsstycket.
ta bort batteriet innan inställningar ut-
Kontakt med sågbladet medför risk för per-
förs, tillbehörsdelar byts ut eller elverkty-
sonskada.
get lagras. Denna skyddsåtgärd förhindrar
oavsiktlig inkoppling av elverktyget.
d) Förvara elverktygen oåtkomliga för barn.
Funktionsbeskrivning
Låt elverktyget inte användas av perso-
ner som inte är förtrogna med dess an-
Läs noga igenom alla säkerhetsan-
vändning eller inte läst denna anvisning.
visningar och instruktioner. Fel som
Elverktygen är farliga om de används av
uppstår till följd av att säkerhetsan-
oerfarna personer.
visningarna och instruktionerna inte
e) Sköt elverktyget omsorgsfullt. Kontrolle-
följts kan orsaka elstöt, brand
ra att rörliga komponenter fungerar fel-
och/eller allvarliga personskador.
fritt och inte kärvar, att komponenter in-
Fäll upp sidan med illustration av elverktyget
te brustit eller skadats; orsaker som kan
och håll sidan uppfälld när du läser bruksanvis-
leda till att elverktygets funktioner på-
ningen.
verkas menligt. Låt skadade delar repa-
reras innan elverktyget tas i bruk. Många
Ändamålsenlig användning
olyckor orsakas av dåligt skötta elverktyg.
Elverktyget är avsett för sågning av skumplast,
f) Håll skärverktygen skarpa och rena. Om-
skumgummi och liknande material i godtycklig
sorgsfullt skötta skärverktyg med skarpa
form.
eggar kommer inte så lätt i kläm och går
lättare att styra.
3 609 929 B97 | (25.8.10) Bosch Power Tools

OBJ_BUCH-55-004.book Page 59 Wednesday, August 25, 2010 1:39 PM
Svenska | 59
Illustrerade komponenter
Buller-/vibrationsdata
Numreringen av komponenterna hänvisar till
Mätvärdena för ljudnivån anges enligt EN 60745.
illustration av elverktyget på grafiksida.
Maskinens A-vägda ljudnivå uppnår i typiska fall:
1 Strömställare Till/Från
Ljudtrycksnivå 81 dB(A); ljudeffektnivå
2 Sågbladsstyrskena*
92 dB(A). Onoggrannhet K=3 dB.
Använd hörselskydd!
3 Sågbladspar*
4 Fotplatta
Totala vibrationsvärden (vektorsumma ur tre
riktningar) framtaget enligt EN 60745:
5 Handgrepp (isolerad greppyta)
Vibrationsemissionsvärde a
2
h
=2,5 m/s
, onog-
6 Skruv
grannhet K =1,5 m/s
2
.
7 Täckplatta
Mätningen av den vibrationsnivå som anges i
8 Räfflad skruv
denna anvisning har utförts enligt en mätmetod
9 Spännskruv för fotplatta
som är standardiserad i EN 60745 och kan an-
vändas vid jämförelse av olika elverktyg. Mät-
*I bruksanvisningen avbildat och beskrivet tillbehör
ingår inte i standardleveransen. I vårt tillbehörspro-
metoden är även lämplig för preliminär bedöm-
gram beskrivs allt tillbehör som finns.
ning av vibrationsbelastningen.
Den angivna vibrationsnivån representerar den
huvudsakliga användningen av elverktyget. Om
Tekniska data
däremot elverktyget används för andra ändamål
och med andra insatsverktyg eller inte underhål-
Skumplastsåg GSG 300
lits ordentligt kan vibrationsnivån avvika. Härvid
Professional
kan vibrationsbelastningen under arbetsperio-
Produktnummer
0 601 575 1..
den öka betydligt.
Upptagen märkeffekt
W 350
För en exakt bedömning av vibrationsbelast-
ningen bör även de tider beaktas när elvektyget
Avgiven effekt
W 185
är frånkopplat eller är igång men inte används.
Tomgångsslagtal n
-1
0
min
3200
Detta reducerar tydligt vibrationsbelastningen
Lastslagtal
min
-1
2100
för den totala arbetsperioden.
Bestäm extra säkerhetsåtgärder för att skydda
max. sågdjup
mm 300
operatören mot vibrationernas inverkan t.ex.:
Vikt enligt EPTA-
underhåll av elverktyget och insatsverktygen, att
Procedure 01/2003
kg 1,6
hålla händerna varma, organisation av arbetsför-
Skyddsklass
/II
loppen.
Uppgifterna gäller för en märkspänning på [U] 230 V.
Vid avvikande spänning och för utföranden i vissa län-
der kan uppgifterna variera.
Beakta produktnumret på elverktygets typskylt.
Handelsbeteckningarna för enskilda elverktyg kan
variera.
Bosch Power Tools 3 609 929 B97 | (25.8.10)

OBJ_BUCH-55-004.book Page 60 Wednesday, August 25, 2010 1:39 PM
60 | Svenska
Lägg upp täckplattan 7 på motordelens gäng-
Försäkran om överensstämmelse
stift och skruva fast med de räfflade skruvarna
Vi försäkrar härmed under exklusivt ansvar att
8. Kontrollera att fjäderringarna lagts under
denna produkt som beskrivs i ”Tekniska data”
skruvarna.
överensstämmer med följande normer och nor-
mativa dokument: EN 60745 enligt bestämmel-
Montering av fotplatta (se bild C)
serna i direktiven 2004/108/EG, 2006/42/EG.
Sätt in sågbladsstyrskenan 2 i fotplattans urtag
Teknisk tillverkningsdokumentation finns hos:
4. Dra fast spännskruven 9.
Robert Bosch GmbH, PT/ESC,
D-70745 Leinfelden-Echterdingen
Dr. Egbert Schneider
Dr. Eckerhard Strötgen
Damm-/spånutsugning
Senior Vice President
Head of Product
f Dammet från material som t.ex. blyhaltig mål-
Engineering
Certification
ning, vissa träslag, mineraler och metall kan
vara hälsovådligt. Beröring eller inandning av
dammet kan orsaka allergiska reaktioner och/
eller andningsbesvär hos användaren eller
Robert Bosch GmbH, Power Tools Division
personer som uppehåller sig i närheten.
D-70745 Leinfelden-Echterdingen
Vissa damm från ek eller bok anses vara can-
Leinfelden, 17.05.2010
cerogena, speciellt då i förbindelse med till-
satsämnen för träbehandling (kromat, trä-
konserveringsmedel). Endast yrkesmän får
Montage
bearbeta asbesthaltigt material.
f Dra stickproppen ur nätuttaget innan arbe-
– Använd om möjligt en för materialet lämp-
ten utförs på elverktyget.
lig dammutsugning.
– Se till att arbetsplatsen är väl ventilerad.
Montering av sågbladsstyrning
– Vi rekommenderar ett andningsskydd i
(se bild A)
filterklass P2.
Skruva bort skruvarna 6 från motordelen. Lägga
Beakta de föreskrifter som i aktuellt land gäl-
an sågbladsstyrskenan 2 mot motordelen så att
ler för bearbetat material.
stödstiften griper in i respektive hål. Skruva fast
sågbladsstyrskenan 2 med skruvarna 6 på mot-
ordelen.
Drift
Insättning och byte av sågblad
Driftstart
(se bild B)
f Beakta nätspänningen! Kontrollera att
f Använd skyddshandskar vid montering av
strömkällans spänning överensstämmer
sågblad. Beröring av sågbladet medför risk
med uppgifterna på elverktygets typskylt.
för personskada.
Elverktyg märkta med 230 V kan även anslu-
Skruva bort de räfflade skruvarna 8 tillsammans
tas till 220 V.
med fjäderringarna och täckplattan 7.
In- och urkoppling
n Sätt först in sågbladsparet 3 nertill i såg-
Tryck för start av elverktyget ned strömställaren
bladsstyrskenan 2. Kontrollera att sågbla-
Till/Från 1 och håll den nedtryckt.
dens längsgående slitsar griper in i såg-
För att spärra den nedtryckta strömställaren
bladsstyrskenans gejdstift.
Till/Från 1 skjut strömställaren Till/Från 1 bakåt.
o Häng sedan upp sågbladsparet 3 på med-
För elverktygets frånkoppling släpp strömställa-
bringartappen så att sågbladen sitter kor-
ren Till/Från 1 eller om den är låst tryck helt kort
rekt i stödgejden.
på strömställaren Till/Från 1 och släpp den igen.
3 609 929 B97 | (25.8.10) Bosch Power Tools

OBJ_BUCH-55-004.book Page 61 Wednesday, August 25, 2010 1:39 PM
Svenska | 61
Om i elverktyget trots exakt tillverkning och
Arbetsanvisningar
sträng kontroll störning skulle uppstå, bör repa-
f Dra stickproppen ur nätuttaget innan arbe-
ration utföras av auktoriserad serviceverkstad
ten utförs på elverktyget.
för Bosch elverktyg.
Sågblad och sågbladsstyrskenor
Ange alltid vid förfrågningar och reservdelsbe-
ställningar det 10-siffriga produktnumret som
Alltefter materialtjocklek kan olika sågbladsstyr-
finns på elverktygets typskylt.
skenor och sågblad användas, se tillbehörsöver-
sikt.
Kundservice och kundkonsulter
Fotplatta med glidrullar
Kundservicen ger svar på frågor beträffande re-
Skumplastsågen kan användas med eller utan
paration och underhåll av produkter och reserv-
fotplatta. Fotplattan med glidrullar underlättar
delar. Sprängskissar och informationer om re-
sågens styrning i rät vinkel.
servdelar lämnas även på adressen:
Sågning i valfri form och ursågning utförs lämp-
www.bosch-pt.com
ligast utan fotplatta.
Bosch kundkonsultgruppen hjälper gärna när
det gäller frågor beträffande köp, användning
Bearbetning av skumplast
och inställning av produkter och tillbehör.
För exakt tillskärning av framför allt mjuk skum-
plast och liknande material såga med måttlig
Svenska
matningshastighet. Vid bearbetning får materia-
Bosch Service Center
let inte töjas eller tryckas för kraftigt.
Telegrafvej 3
Ta bort fotplattan för mindre utskärningar. Stick
2750 Ballerup
med en kniv eller en sax ett hål i materialet, skjut
Danmark
in sågbladsstyrskenan i öppningen och bearbeta
Tel.: +46 (020) 41 44 55
utskärningen.
Fax: +46 (011) 18 76 91
För sågning av större urtag gör insticksöppning-
en så stor att sågbladsstyrskenan med monte-
Avfallshantering
rad fotplatta kan stickas in. Kontrollera att inga
Elverktyg, tillbehör och förpackning ska omhän-
hinder finns under arbetsstycket. Styr sågen
dertas på miljövänligt sätt för återvinning.
med måttligt tryck längs utskärningslinjen.
Släng inte elverktyg i hushållsavfall!
Endast för EU-länder:
Underhåll och service
Enligt europeiska direktivet
2002/96/EG för avfall som utgörs
Underhåll och rengöring
av elektriska och elektroniska pro-
f Dra stickproppen ur nätuttaget innan arbe-
dukter och dess modifiering till
ten utförs på elverktyget.
nationell rätt måste obrukbara el-
verktyg omhändertas separat och
f Håll elverktyget och dess ventilationsöpp-
på miljövänligt sätt lämnas in för
ningar rena för bra och säkert arbete.
återvinning.
Rengör sågbladsstyrskenan och sågbladen re-
gelbundet, ca var 8:e drifttimme. Ta bort sågbla-
Ändringar förbehålles.
den ur elverktyget och rengör dem med bensin.
Använd vid behov en skrapa för rengöring av
sågbladsstyrskenan. Smörj sågbladsstyrskenan
lätt med olja före montering av nya resp. skärpta
sågblad.
Bosch Power Tools 3 609 929 B97 | (25.8.10)

OBJ_BUCH-55-004.book Page 62 Wednesday, August 25, 2010 1:39 PM
62 | Norsk
no
Sikkerhetsinformasjon
d) Ikke bruk ledningen til andre formål,
f.eks. til å bære elektroverktøyet, henge
det opp eller trekke det ut av stikkontak-
Generelle advarsler for elektroverktøy
ten. Hold ledningen unna varme, olje,
ADVARSEL
Les gjennom alle advarslene
skarpe kanter eller verktøydeler som be-
og anvisningene. Feil ved over-
veger seg. Med skadede eller opphopede
holdelsen av advarslene og nedenstående anvis-
ledninger øker risikoen for elektriske støt.
ninger kan medføre elektriske støt, brann og/
e) Når du arbeider utendørs med et elektro-
eller alvorlige skader.
verktøy, må du kun bruke en skjøteled-
Ta godt vare på alle advarslene og informasjo-
ning som er egnet til utendørs bruk. Når
nene.
du bruker en skjøteledning som er egnet
Det nedenstående anvendte uttrykket «elektro-
for utendørs bruk, reduseres risikoen for
verktøy» gjelder for strømdrevne elektroverktøy
elektriske støt.
(med ledning) og batteridrevne elektroverktøy
f) Hvis det ikke kan unngås å bruke elek-
(uten ledning).
troverktøyet i fuktige omgivelser, må du
bruke en jordfeilbryter. Bruk av en jord-
1) Sikkerhet på arbeidsplassen
feilbryter reduserer risikoen for elektriske
a) Hold arbeidsområdet rent og ryddig og
støt.
sørg for bra belysning. Rotete arbeids-
områder eller arbeidsområder uten lys
3) Personsikkerhet
kan føre til ulykker.
a) Vær oppmerksom, pass på hva du gjør,
b) Ikke arbeid med elektroverktøyet i ek-
gå fornuftig frem når du arbeider med et
splosjonsutsatte omgivelser – der det
elektroverktøy. Ikke bruk elektroverktøy
befinner seg brennbare væsker, gass
når du er trett eller er påvirket av narko-
eller støv. Elektroverktøy lager gnister
tika, alkohol eller medikamenter. Et øye-
som kan antenne støv eller damper.
blikks uoppmerksomhet ved bruk av elek-
troverktøyet kan føre til alvorlige skader.
c) Hold barn og andre personer unna når
elektroverktøyet brukes. Hvis du blir for-
b) Bruk personlig verneutstyr og husk alltid
styrret under arbeidet, kan du miste kon-
å bruke vernebriller. Bruk av personlig
trollen over elektroverktøyet.
sikkerhetsutstyr som støvmaske, sklifaste
arbeidssko, hjelm eller hørselvern – av-
2) Elektrisk sikkerhet
hengig av type og bruk av elektroverktøyet
a) Støpselet til elektroverktøyet må passe
– reduserer risikoen for skader.
inn i stikkontakten. Støpselet må ikke
c) Unngå å starte verktøyet ved en feilta-
forandres på noen som helst måte. Ikke
gelse. Forviss deg om at elektroverktøy-
bruk adapterstøpsler sammen med jor-
et er slått av før du kobler det til strøm-
dede elektroverktøy. Bruk av støpsler
men og/eller batteriet, løfter det opp
som ikke er forandret på og passende
eller bærer det. Hvis du holder fingeren
stikkontakter reduserer risikoen for elek-
på bryteren når du bærer elektroverktøyet
triske støt.
eller kobler elektroverktøyet til strømmen
b) Unngå kroppskontakt med jordede over-
i innkoblet tilstand, kan dette føre til
flater slik som rør, ovner, komfyrer og
uhell.
kjøleskap. Det er større fare ved elektris-
d) Fjern innstillingsverktøy eller skrunøkler
ke støt hvis kroppen din er jordet.
før du slår på elektroverktøyet. Et verk-
c) Hold elektroverktøyet unna regn eller
tøy eller en nøkkel som befinner seg i en
fuktighet. Dersom det kommer vann i et
roterende verktøydel, kan føre til skader.
elektroverktøy, øker risikoen for elektris-
ke støt.
3 609 929 B97 | (25.8.10) Bosch Power Tools

OBJ_BUCH-55-004.book Page 63 Wednesday, August 25, 2010 1:39 PM
Norsk | 63
e) Unngå en unormal kroppsholdning. Sørg
f) Hold skjæreverktøyene skarpe og rene.
for å stå stødig og i balanse. Dermed kan
Godt stelte skjæreverktøy med skarpe
du kontrollere elektroverktøyet bedre i
skjær setter seg ikke så ofte fast og er let-
uventede situasjoner.
tere å føre.
f) Bruk alltid egnede klær. Ikke bruk vide
g) Bruk elektroverktøy, tilbehør, verktøy
klær eller smykker. Hold hår, tøy og han-
osv. i henhold til disse anvisningene. Ta
sker unna deler som beveger seg. Løst-
hensyn til arbeidsforholdene og arbeidet
sittende tøy, smykker eller langt hår kan
som skal utføres. Bruk av elektroverktøy
komme inn i deler som beveger seg.
til andre formål enn det som er angitt kan
g) Hvis det kan monteres støvavsug- og
føre til farlige situasjoner.
oppsamlingsinnretninger, må du forvisse
5) Service
deg om at disse er tilkoblet og brukes på
korrekt måte. Bruk av et støvavsug redu-
a) Elektroverktøyet ditt skal alltid kun re-
serer farer på grunn av støv.
pareres av kvalifisert fagpersonale og
kun med originale reservedeler. Slik opp-
4) Omhyggelig bruk og håndtering av elektro-
rettholdes verktøyets sikkerhet.
verktøy
a) Ikke overbelast verktøyet. Bruk et elek-
Sikkerhetsinformasjon for skumstoff-
troverktøy som er beregnet til den type
sager
arbeid du vil utføre. Med et passende
elektroverktøy arbeider du bedre og sik-
f Hold elektroverktøyet på de isolerte gripe-
rere i det angitte effektområdet.
flatene, hvis du utfører arbeid der innsats-
verktøyet kan treffe på skjulte strømlednin-
b) Ikke bruk elektroverktøy med defekt
ger eller den egne strømledningen. Kontakt
på-/av-bryter. Et elektroverktøy som ikke
med en spenningsførende ledning kan også
lenger kan slås av eller på, er farlig og må
sette elektroverktøyets metalldeler under
repareres.
spenning og føre til elektriske støt.
c) Trekk støpselet ut av stikkontakten
f Hold hendene unna sagområdet. Ikke grip
og/eller fjern batteriet før du utfører inn-
under arbeidsstykket. Ved kontakt med sag-
stillinger på elektroverktøyet, skifter til-
bladet er det fare for skader.
behørsdeler eller legger maskinen bort.
Disse tiltakene forhindrer en utilsiktet
starting av elektroverktøyet.
d) Elektroverktøy som ikke er i bruk må
Funksjonsbeskrivelse
oppbevares utilgjengelig for barn. Ikke la
Les gjennom alle advarslene og an-
maskinen brukes av personer som ikke
visningene. Feil ved overholdelsen
er fortrolig med dette eller ikke har lest
av advarslene og nedenstående an-
disse anvisningene. Elektroverktøy er far-
visninger kan medføre elektriske
lige når de brukes av uerfarne personer.
støt, brann og/eller alvorlige skader.
e) Vær nøye med vedlikeholdet av elektro-
Brett ut utbrettssiden med bildet av maskinen,
verktøyet. Kontroller om bevegelige verk-
og la denne siden være utbrettet mens du leser
tøydeler fungerer feilfritt og ikke klem-
bruksanvisningen.
mes fast, og om deler er brukket eller
skadet, slik at dette innvirker på elektro-
verktøyets funksjon. La disse skadede de-
Formålsmessig bruk
lene repareres før elektroverktøyet bru-
El-verktøyet er beregnet til skjæring av forskjel-
kes. Dårlig vedlikeholdte elektroverktøy er
lige former av skumkunststoff, skumgummi og
årsaken til mange uhell.
lignende materialer.
Bosch Power Tools 3 609 929 B97 | (25.8.10)

OBJ_BUCH-55-004.book Page 64 Wednesday, August 25, 2010 1:39 PM
64 | Norsk
Illustrerte komponenter
Støy-/vibrasjonsinformasjon
Nummereringen av de illustrerte komponentene
Måleverdier for lyden funnet i henhold til
gjelder for bildet av elektroverktøyet på illustra-
EN 60745.
sjonssiden.
Maskinens typiske A-bedømte støynivå er: Lyd-
1 På-/av-bryter
trykknivå 81 dB(A); lydeffektnivå 92 dB(A). Usik-
2 Sagbladføring*
kerhet K=3 dB.
Bruk hørselvern!
3 Sagbladpar*
4 Fotplate
Totale svingningsverdier (vektorsum fra tre ret-
ninger) beregnet jf. EN 60745:
5 Håndtak (isolert grepflate)
Svingningsemisjonsverdi a
=2,5 m/s
2
h
, usikker-
6 Skrue
het K =1,5 m/s
2
.
7 Deksel
Vibrasjonsnivået som er angitt i disse anvisnin-
8 Riflet skrue
gene er målt iht. en målemetode som er standar-
9 Spennskrue for fotplate
disert i EN 60745 og kan brukes til sammenlig-
ning av elektroverktøy med hverandre. Den
*Illustrert eller beskrevet tilbehør inngår ikke i stan-
dard-leveransen. Det komplette tilbehøret finner du i
egner seg til en foreløbig vurdering av sving-
vårt tilbehørsprogram.
ningsbelastningen.
Det angitte svingningsnivået representerer de
hovedsakelige anvendelsene til elektroverktøy-
Tekniske data
et. Men hvis elektroverktøyet brukes til andre
anvendelser, med avvikende innsatsverktøy eller
Skumstoffsag GSG 300
utilstrekkelig vedlikehold, kan svingningsnivået
Professional
avvike. Dette kan føre til en tydelig øking av
Produktnummer
0 601 575 1..
svingningsbelastningen over hele arbeidstids-
Opptatt effekt
W 350
rommet.
Til en nøyaktig vurdering av svingningsbelastnin-
Avgitt effekt
W 185
gen skal det også tas hensyn til de tidene maski-
Tomgangsslagtall n
-1
0
min
3200
nen er slått av eller går, men ikke virkelig brukes.
Slagtall, belastet
min
-1
2100
Dette kan tydelig redusere svingningsbelastnin-
gen over hele arbeidstidsrommet.
max. skjæredybde
mm 300
Bestem ekstra sikkerhetstiltak til beskyttelse av
Vekt tilsvarende EPTA-
brukeren mot svingningenes virkning, som for
Procedure 01/2003
kg 1,6
eksempel: Vedlikehold av elektroverktøy og inn-
Beskyttelsesklasse
/II
satsverktøy, holde hendene varme, organisere
arbeidsforløpene.
Informasjonene gjelder for nominell spenning [U] på
230 V. Ved avvikende spenning og på visse nasjonale
modeller kan disse informasjonene variere noe.
Legg merke til produktnummeret på typeskiltet til elek-
troverktøyet ditt. Handelsbetegnelsene for de enkelte
elektroverktøyene kan variere.
3 609 929 B97 | (25.8.10) Bosch Power Tools

OBJ_BUCH-55-004.book Page 65 Wednesday, August 25, 2010 1:39 PM
Norsk | 65
Samsvarserklæring
Montering av fotplaten (se bilde C)
Vi erklærer som eneansvarlig at produktet som
Sett sagbladføringen 2 inn i den tilsvarende ut-
beskrives under «Tekniske data» stemmer over-
sparingen på fotplaten 4. Trekk spennskruen 9
ens med følgende normer eller normative doku-
fast.
menter: EN 60745 jf. bestemmelsene i direktive-
ne 2004/108/EF, 2006/42/EF.
Støv-/sponavsuging
Tekniske underlag hos:
Robert Bosch GmbH, PT/ESC,
f Støv fra materialer som blyholdig maling, no-
D-70745 Leinfelden-Echterdingen
en tresorter, mineraler og metall kan være
Dr. Egbert Schneider
Dr. Eckerhard Strötgen
helsefarlige. Berøring eller innånding av støv
Senior Vice President
Head of Product
kan utløse allergiske reaksjoner og/eller ån-
Engineering
Certification
dedrettssykdommer hos brukeren eller per-
soner som befinner seg i nærheten.
Visse typer støv som eik- eller bøkstøv gjel-
der som kreftfremkallende, spesielt i kombi-
nasjon med tilsetningsstoffer til trebearbei-
Robert Bosch GmbH, Power Tools Division
D-70745 Leinfelden-Echterdingen
delse (kromat, trebeskyttelsesmidler).
Leinfelden, 17.05.2010
Asbestholdig materiale må kun bearbeides av
fagfolk.
– Bruk helst et støvavsug som er egnet for
Montering
dette materialet.
f Før alle arbeider på elektroverktøyet utføres
– Sørg for god ventilasjon av arbeidsplassen.
må støpselet trekkes ut av stikkontakten.
– Det anbefales å bruke en støvmaske med
filterklasse P2.
Montering av sagbladføringen
Følg ditt lands gyldige forskrifter for de mate-
(se bilde A)
rialene som skal bearbeides.
Løsne skruene 6 fra huset og fjern disse. Sett
sagbladføringen 2 slik mot huset at stiftene pas-
ser inn i de tilsvarende boringene. Skru sagblad-
føringen 2 med skruene 6 fast på huset.
Bruk
Innsetting/utskifting av sagbladene
Igangsetting
(se bilde B)
f Ta hensyn til strømspenningen! Spenningen
f Bruk vernehansker ved montering av sagbla-
til strømkilden må stemme overens med an-
det. Ved berøring av sagbladet er det fare for
givelsene på elektroverktøyets typeskilt.
skader.
Elektroverktøy som er merket med 230 V
Løsne de riflede skruene 8 og ta disse av
kan også brukes med 220 V.
sammen med fjærringene og dekselet 7.
n Sett sagbladparet 3 først inn nede i sagblad-
Inn-/utkobling
føringen 2. Pass på at de langsgående slisse-
Trykk til igangsetting av elektroverktøyet på
ne til sagbladene griper inn i føringsstiften
på-/av-bryteren 1 og hold den trykt inne.
til sagbladføringen.
Til låsing av den trykte på-/av-bryteren 1 skyver
o Heng deretter sagbladparet 3 slik inn i med-
du på-/av-bryteren 1 bakover.
gjengertappen at sagbladene sitter feilfritt i
Til utkobling av elektroverktøyet slipper du
føringen.
på-/av-bryteren 1 hhv. – hvis den er låst trykker
Sett dekselet 7 på gjengestiftene på huset og
du på-/av-bryteren 1 ett øyeblikk og slipper den
fest det med de riflende skruene 8. Forviss deg
deretter.
om at fjærringene er lagt under.
Bosch Power Tools 3 609 929 B97 | (25.8.10)

OBJ_BUCH-55-004.book Page 66 Wednesday, August 25, 2010 1:39 PM
66 | Norsk
Hvis elektroverktøyet til tross for omhyggelige
Arbeidshenvisninger
produksjons- og kontrollmetoder en gang skulle
f Før alle arbeider på elektroverktøyet utføres
svikte, må reparasjonen utføres av et autorisert
må støpselet trekkes ut av stikkontakten.
serviceverksted for Bosch-elektroverktøy.
Sagblad og sagbladføringer
Ved alle forespørsler og reservedelsbestillinger
Avhengig av tykkelsen på materialet som skal be-
må du oppgi det 10-sifrede produktnummeret
arbeides, kan det settes inn forskjellige sagblad-
som er angitt på elektroverktøyets typeskilt.
føringer og tilhørende sagblad, se tilbehørsover-
sikten.
Kundeservice og kunderådgivning
Fotplate med glideruller
Kundeservice hjelper deg ved spørsmål om re-
Du kan bruke skumstoffsagen med eller uten
parasjon og vedlikehold av produktet ditt og re-
fotplate. Enkel og rettvinklet føring av sagen
servedelene. Deltegninger og informasjoner om
med fotplaten og glideruller.
reservedeler finner du også under:
Til skjæring av former og utskjæringer er det
www.bosch-pt.com
best å arbeide uten fotplate.
Bosch-kundeservice er gjerne til hjelp ved spørs-
mål om kjøp, bruk og innstilling av produkter og
Bearbeidelse av skumstoff
tilbehør.
Til skjæring av nøyaktige snitt, fremfor alt på mykt
skumstoff og lignende materialer, må du kun bru-
Norsk
ke en middels sterk fremføring. Ikke strekk og
Robert Bosch AS
trykk materialet for mye ved bearbeidelsen.
Postboks 350
Demonter fotplaten hvis du vil skjære mindre ut-
1402 Ski
skjæringer. Stikk en kniv eller en saks inn i ma-
Tel.: (+47) 64 87 89 50
terialet, sett deretter sagbladføringen inn i åp-
Faks: (+47) 64 87 89 55
ningen og bearbeid utskjæringen.
Hvis du vil lage større utskjæringer må du velge
Deponering
en så stor innstikksåpning at sagbladføringen
kan stikkes gjennom med montert fotplate. Pass
Elektroverktøy, tilbehør og emballasje må leve-
på at underlaget er fritt for hindringer. Før elek-
res inn til miljøvennlig gjenvinning.
troverktøyet med middels sterkt trykk langs ut-
Elektroverktøy må ikke kastes i vanlig søppel!
skjæringslinjen.
Kun for EU-land:
Jf. det europeiske direktivet
Service og vedlikehold
2002/96/EF vedr. gamle elektris-
ke og elektroniske apparater og
tilpassingen til nasjonale lover må
Vedlikehold og rengjøring
gammelt elektroverktøy som ikke
f Før alle arbeider på elektroverktøyet utføres
lenger kan brukes samles inn og
må støpselet trekkes ut av stikkontakten.
leveres inn til en miljøvennlig re-
f Hold elektroverktøyet og ventilasjonsspal-
sirkulering.
tene alltid rene, for å kunne arbeide bra og
sikkert.
Rett til endringer forbeholdes.
Rengjør sagbladføringen og sagbladene med jev-
ne mellomrom, ca. hver 8. driftstime. Fjern da
sagbladene fra elektroverktøyet og rengjør sag-
bladene helst med bensin. Bruk eventuelt en
skraper til rengjøring av sagbladføringen. Smør
sagbladføringen litt før innbygging av nye hhv.
slipte sagblad.
3 609 929 B97 | (25.8.10) Bosch Power Tools

OBJ_BUCH-55-004.book Page 67 Wednesday, August 25, 2010 1:39 PM
Suomi | 67
fi
Turvallisuusohjeita
d) Älä käytä verkkojohtoa väärin. Älä käytä
sitä sähkötyökalun kantamiseen, ripus-
tamiseen tai pistotulpan irrottamiseen
Sähkötyökalujen yleiset turvallisuusoh-
pistorasiasta vetämällä. Pidä johto loitol-
jeet
la kuumuudesta, öljystä, terävistä reu-
VAROITUS
Lue kaikki turvallisuus- ja muut
noista ja liikkuvista osista. Vahingoittu-
ohjeet. Turvallisuusohjeiden
neet tai sotkeutuneet johdot kasvattavat
noudattamisen laiminlyönti saattaa johtaa säh-
sähköiskun vaaraa.
köiskuun, tulipaloon ja/tai vakavaan loukkaantu-
e) Käyttäessäsi sähkötyökalua ulkona, käy-
miseen.
tä ainoastaan ulkokäyttöön soveltuvaa
Säilytä kaikki turvallisuus- ja muut ohjeet tule-
jatkojohtoa. Ulkokäyttöön soveltuvan jat-
vaisuutta varten.
kojohdon käyttö pienentää sähköiskun
vaaraa.
Turvallisuusohjeissa käytetty käsite ”sähkötyö-
kalu” käsittää verkkokäyttöisiä sähkötyökaluja
f) Jos sähkötyökalun käyttö kosteassa ym-
(verkkojohdolla) ja akkukäyttöisiä sähkötyökalu-
päristössä ei ole vältettävissä, tulee
ja (ilman verkkojohtoa).
käyttää vikavirtasuojakytkintä. Vikavirta-
suojakytkimen käyttö vähentää sähköis-
1) Työpaikan turvallisuus
kun vaaraa.
a) Pidä työskentelyalue puhtaana ja hyvin
3) Henkilöturvallisuus
valaistuna. Työpaikan epäjärjestys tai va-
laisemattomat työalueet voivat johtaa ta-
a) Ole valpas, kiinnitä huomiota työskente-
paturmiin.
lyysi ja noudata tervettä järkeä sähkö-
työkalua käyttäessäsi. Älä käytä mitään
b) Älä työskentele sähkötyökalulla räjäh-
sähkötyökalua, jos olet väsynyt tai huu-
dysalttiissa ympäristössä, jossa on pala-
meiden, alkoholin tahi lääkkeiden vaiku-
vaa nestettä, kaasua tai pölyä. Sähkötyö-
tuksen alaisena. Hetken tarkkaamatto-
kalu muodostaa kipinöitä, jotka saattavat
muus sähkötyökalua käytettäessä, saattaa
sytyttää pölyn tai höyryt.
johtaa vakavaan loukkaantumiseen.
c) Pidä lapset ja sivulliset loitolla sähkötyö-
b) Käytä suojavarusteita. Käytä aina suoja-
kalua käyttäessäsi. Voit menettää laittee-
laseja. Henkilökohtaisen suojavarustuk-
si hallinnan, huomiosi suuntautuessa
sen käyttö, kuten pölynaamarin, luista-
muualle.
mattomien turvakenkien, suojakypärän tai
kuulonsuojaimien, riippuen sähkötyöka-
2) Sähköturvallisuus
lun lajista ja käyttötavasta, vähentää lou-
a) Sähkötyökalun pistotulpan tulee sopia
kaantumisriskiä.
pistorasiaan. Pistotulppaa ei saa muut-
c) Vältä tahatonta käynnistämistä. Varmis-
taa millään tavalla. Älä käytä mitään pis-
ta, että sähkötyökalu on poiskytkettynä,
torasia-adaptereita maadoitettujen säh-
ennen kuin liität sen sähköverkkoon
kötyökalujen kanssa. Alkuperäisessä
ja/tai liität akun, otat sen käteen tai kan-
kunnossa olevat pistotulpat ja sopivat pis-
nat sitä. Jos kannat sähkötyökalua sormi
torasiat vähentävät sähköiskun vaaraa.
käynnistyskytkimellä tai kytket sähkötyö-
b) Vältä koskettamasta maadoitettuja pin-
kalun pistotulpan pistorasiaan, käynnis-
toja, kuten putkia, pattereita, liesiä tai
tyskytkimen ollessa käyntiasennossa, al-
jääkaappeja. Sähköiskun vaara kasvaa,
tistat itsesi onnettomuuksille.
jos kehosi on maadoitettu.
d) Poista kaikki säätötyökalut ja ruuvital-
c) Älä aseta sähkötyökalua alttiiksi sateelle
tat, ennen kuin käynnistät sähkötyöka-
tai kosteudelle. Veden tunkeutuminen
lun. Työkalu tai avain, joka sijaitsee lait-
sähkötyökalun sisään kasvattaa sähköis-
teen pyörivässä osassa, saattaa johtaa
kun riskiä.
loukkaantumiseen.
Bosch Power Tools 3 609 929 B97 | (25.8.10)

OBJ_BUCH-55-004.book Page 68 Wednesday, August 25, 2010 1:39 PM
68 | Suomi
e) Vältä epänormaalia kehon asentoa. Huo-
Anna korjata nämä vioittuneet osat en-
lehdi aina tukevasta seisoma-asennosta
nen käyttöä. Monen tapaturman syyt löy-
ja tasapainosta. Täten voit paremmin hal-
tyvät huonosti huolletuista laitteista.
lita sähkötyökalua odottamattomissa ti-
f) Pidä leikkausterät terävinä ja puhtaina.
lanteissa.
Huolellisesti hoidetut leikkaustyökalut, joi-
f) Käytä tarkoitukseen soveltuvia vaattei-
den leikkausreunat ovat teräviä, eivät tartu
ta. Älä käytä löysiä työvaatteita tai koru-
helposti kiinni ja niitä on helpompi hallita.
ja. Pidä hiukset, vaatteet ja käsineet loi-
g) Käytä sähkötyökaluja, tarvikkeita, vaih-
tolla liikkuvista osista. Väljät vaatteet,
totyökaluja jne. näiden ohjeiden mukai-
korut ja pitkät hiukset voivat takertua liik-
sesti. Ota tällöin huomioon työolosuh-
kuviin osiin.
teet ja suoritettava toimenpide.
g) Jos pölynimu- ja keräilylaitteita voidaan
Sähkötyökalun käyttö muuhun kuin sille
asentaa, tulee sinun tarkistaa, että ne on
määrättyyn käyttöön, saattaa johtaa vaa-
liitetty ja että ne käytetään oikealla ta-
rallisiin tilanteisiin.
valla. Pölynimulaitteiston käyttö vähentää
pölyn aiheuttamia vaaroja.
5) Huolto
a) Anna ainoastaan koulutettujen ammatti-
4) Sähkötyökalujen huolellinen käyttö ja
henkilöiden korjata sähkötyökalusi ja hy-
käsittely
väksy korjauksiin vain alkuperäisiä vara-
a) Älä ylikuormita laitetta. Käytä kyseiseen
osia. Täten varmistat, että sähkötyökalu
työhön tarkoitettua sähkötyökalua. Sopi-
säilyy turvallisena.
vaa sähkötyökalua käyttäen työskentelet
paremmin ja varmemmin tehoalueella, jol-
le sähkötyökalu on tarkoitettu.
Vaahtomuovileikkurin turvallisuusoh-
b) Älä käytä sähkötyökalua, jota ei voida
jeet
käynnistää ja pysäyttää käynnistyskytki-
f Tartu sähkötyökaluun ainoastaan eristetyis-
mestä. Sähkötyökalu, jota ei enää voida
tä pinnoista, tehdessäsi työtä, jossa vaihto-
käynnistää ja pysäyttää käynnistyskytki-
työkalu saattaisi osua piilossa olevaan säh-
mellä, on vaarallinen ja se täytyy korjata.
köjohtoon tai sähkötyökalun omaan
c) Irrota pistotulppa pistorasiasta, ennen
sähköjohtoon. Kosketus jännitteiseen joh-
kuin suoritat säätöjä, vaihdat tarvikkeita
toon voi saattaa sähkötyökalun metalliosat
tai siirrät sähkötyökalun varastoitavaksi.
jännitteisiksi ja johtaa sähköiskuun.
Nämä turvatoimenpiteet estävät sähkö-
f Pidä kädet loitolla sahauskohdasta. Älä pane
työkalun tahattoman käynnistyksen.
käsiä työkappaleen alle. Sahanterää koske-
d) Säilytä sähkötyökalut poissa lasten ulot-
tettaessa on olemassa loukkaantumisvaara.
tuvilta, kun niitä ei käytetä. Älä anna sel-
laisten henkilöiden käyttää sähkötyöka-
lua, jotka eivät tunne sitä tai jotka eivät
Toimintaselostus
ole lukeneet tätä käyttöohjetta. Sähkö-
työkalut ovat vaarallisia, jos niitä käyttävät
Lue kaikki turvallisuus- ja muut oh-
kokemattomat henkilöt.
jeet. Turvallisuusohjeiden noudatta-
e) Hoida sähkötyökalusi huolella. Tarkista,
misen laiminlyönti saattaa johtaa
että liikkuvat osat toimivat moitteetto-
sähköiskuun, tulipaloon ja/tai vaka-
masti, eivätkä ole puristuksessa sekä, et-
vaan loukkaantumiseen.
tä siinä ei ole murtuneita tai vahingoittu-
Käännä auki taittosivu, jossa on laitteen kuva ja
neita osia, jotka saattaisivat vaikuttaa
pidä se uloskäännettynä lukiessasi käyttöohjetta.
haitallisesti sähkötyökalun toimintaan.
3 609 929 B97 | (25.8.10) Bosch Power Tools

OBJ_BUCH-55-004.book Page 69 Wednesday, August 25, 2010 1:39 PM
Suomi | 69
Määräyksenmukainen käyttö
Melu-/tärinätiedot
Sähkötyökalu on tarkoitettu vaahtomuovin,
Melun mittausarvot on määritetty EN 60745 mu-
vaahtokumin ja vastaavien aineiden leikkaami-
kaan.
seen mielivaltaisiin muotoihin.
Laitteen tyypillinen A-painotettu äänen painetaso
on: Äänen painetaso 81 dB(A); äänen tehotaso
Kuvassa olevat osat
92 dB(A). Epävarmuus K=3 dB.
Kuvassa olevien osien numerointi viittaa grafiik-
Käytä kuulonsuojaimia!
kasivussa olevaan sähkötyökalun kuvaan.
Värähtelyn kokonaisarvot (kolmen suunnan vek-
torisumma) määritetty EN 60745 mukaan:
1 Käynnistyskytkin
Värähtelyemissioarvo a
2
h
=2,5 m/s
, epävarmuus
2 Sahanteräohjain*
K=1,5m/s
2
.
3 Sahanteräpari*
Näissä ohjeissa mainittu värähtelytaso on mitat-
4 Jalkalevy
tu EN 60745 standardoidun mittausmenetelmän
5 Kahva (eristetty kädensija)
mukaisesti ja sitä voidaan käyttää sähkötyökalu-
6 Ruuvi
jen vertailussa. Se soveltuu myös värähtelyrasi-
7 Suojalevy
tuksen väliaikaiseen arviointiin.
Ilmoitettu värähtelytaso vastaa sähkötyökalun
8 Pyälletty ruuvi
pääasiallisia käyttötapoja. Jos sähkötyökalua
9 Jalkalevyn kiristysruuvi
kuitenkin käytetään muissa töissä, poikkeavilla
*Kuvassa tai selostuksessa esiintyvä lisätarvike ei
vaihtotyökaluilla tai riittämättömästi huollettu-
kuulu vakiotoimitukseen. Löydät täydellisen tarvike-
na, saattaa värähtelytaso poiketa. Tämä saattaa
luettelon tarvikeohjelmastamme.
kasvattaa koko työaikajakson värähtelyrasitusta
huomattavasti.
Tekniset tiedot
Värähtelyrasituksen tarkkaa arviointia varten
määrätyn työaikajakson aikana tulisi ottaa huo-
Vaahtomuovileikkuri GSG 300
mioon myös se aika, jolloin laite on sammutettu-
Professional
na tai käy, mutta sitä ei tosiasiassa käytetä. Tä-
mä voi selvästi pienentää koko työaikajakson
Tuotenumero
0 601 575 1..
värähtelyrasitusta.
Ottoteho
W 350
Määrittele lisävarotoimenpiteet käyttäjän suo-
Antoteho
W 185
jaksi värähtelyn vaikutukselta, kuten esimerkik-
si: Sähkötyökalujen ja vaihtotyökalujen huolto,
Tyhjäkäyntiiskuluku n
0
min
-1
3200
käsien pitäminen lämpiminä, työnkulun organi-
Iskuluku kuormitettuna
min
-1
2100
sointi.
Suurin sahaussyvyys
mm 300
Paino vastaa EPTA-
Procedure 01/2003
kg 1,6
Suojausluokka
/II
Tiedot koskevat 230 V nimellisjännitettä [U]. Poikke-
avilla jännitteillä ja maakohtaisissa malleissa nämä tie-
dot voivat vaihdella.
Ota huomioon sähkötyökalusi mallikilvessä oleva tuote-
numero. Yksittäisten koneiden kauppanimitys saattaa
vaihdella.
Bosch Power Tools 3 609 929 B97 | (25.8.10)

OBJ_BUCH-55-004.book Page 70 Wednesday, August 25, 2010 1:39 PM
70 | Suomi
Standardinmukaisuusvakuutus
Jalkalevyn asennus (katso kuva C)
Vakuutamme yksin vastaavamme siitä, että koh-
Aseta sahanteräohjain 2 jalkalevyn vastaavaan
dassa ”Tekniset tiedot” selostettu tuote vastaa
aukkoon 4. Kiristä kiristysruuvi 9.
seuraavia standardeja tai standardoituja asiakir-
joja: EN 60745 direktiivien 2004/108/EY,
2006/42/EY määräysten mukaan.
Pölyn ja lastun poistoimu
Tekninen tiedosto kohdasta:
f Materiaalien, kuten lyijypitoisen pinnoitteen,
Robert Bosch GmbH, PT/ESC,
muutamien puulaatujen, kivennäisten ja me-
D-70745 Leinfelden-Echterdingen
tallin pölyt voivat olla terveydelle vaarallisia.
Pölyn kosketus tai hengitys saattaa aiheuttaa
Dr. Egbert Schneider
Dr. Eckerhard Strötgen
käyttäjälle tai lähellä oleville henkilöille aller-
Senior Vice President
Head of Product
gisia reaktioita ja/tai hengitystiesairauksia.
Engineering
Certification
Määrättyjä pölyjä, kuten tammen- tai pyökin-
pölyä pidetään karsinogeenisena, eritoten
yhdessä puukäsittelyssä käytettyjen lisäai-
neiden kanssa (kromaatti, puunsuoja-aine).
Robert Bosch GmbH, Power Tools Division
D-70745 Leinfelden-Echterdingen
Asbestipitoisia aineita saavat käsitellä vain
Leinfelden, 17.05.2010
ammattilaiset.
– Käytä materiaalille soveltuvaa pölynimua,
jos se on mahdollista.
Asennus
– Huolehdi työkohteen hyvästä tuuletuk-
f Irrota pistotulppa pistorasiasta ennen kaik-
sesta.
kia sähkötyökaluun kohdistuvia töitä.
– Suosittelemme käyttämään suodatus-
luokan P2 hengityssuojanaamaria.
Sahanteräohjaimen asennus
Ota huomioon maassasi voimassaolevat sään-
(katso kuva A)
nökset, koskien käsiteltäviä materiaaleja.
Irrota ruuvit 6 kotelosta ja poista ne. Aseta sa-
hanteräohjain 2 koteloa vasten niin, että kiinni-
tystapit tarttuvat vastaaviin porauksiin. Ruuvaa
kiinni sahanteräohjain 2 ruuveilla 6 koteloon.
Käyttö
Sahanterien asennus/vaihto
Käyttöönotto
(katso kuva B)
f Ota huomioon verkkojännite! Virtalähteen
f Käytä suojakäsineitä sahanterää asentaes-
jännitteen tulee vastata laitteen tyyppikil-
sasi. Sahanterää kosketettaessa on olemassa
vessä olevia tietoja. 230 V merkittyjä laittei-
loukkaantumisvaara.
ta voidaan käyttää myös 220 V verkoissa.
Avaa pyälletyt ruuvit 8 ja poista ne yhdessä jou-
sirenkaiden ja suojalevyn 7 kanssa.
Käynnistys ja pysäytys
n Aseta seuraavaksi sahanteräpari 3 sahante-
Paina sähkötyökalun käynnistystä varten käyn-
räohjaimeen 2. Tarkista, että sahanterien
nistyskytkintä 1 ja pidä se painettuna.
pitkittäisraot asettuvat sahanteräohjaimen
Lukitse painettu käynnistyskytkin 1 työntämällä
ohjaintappiin.
käynnistyskytkintä 1 taaksepäin.
o Ripusta seuraavaksi sahanteräpari 3 vääntiö-
Sammuta sähkötyökalu päästämällä käynnistys-
tappiin niin, että sahanterät asettuvat moit-
kytkin 1 vapaaksi tai, jos se on lukittuna painat
teettomasti tukiohjaimeen.
lyhyesti käynnistyskytkintä 1 ja päästat sen sit-
Aseta suojalevy 7 kotelossa oleviin kierrevaar-
ten vapaaksi.
noihin ja kiinnitä se pyälletyillä ruuveilla 8. Var-
mista että jousirenkaat on asennettu.
3 609 929 B97 | (25.8.10) Bosch Power Tools

OBJ_BUCH-55-004.book Page 71 Wednesday, August 25, 2010 1:39 PM
Suomi | 71
mieluiten bensiinillä. Käytä tarvittaessa kaavinta
Työskentelyohjeita
sahanteräohjaimen puhdistukseen. Voitele sa-
f Irrota pistotulppa pistorasiasta ennen kaik-
hanteräohjainta kevyesti öljyllä ennen uusien tai
kia sähkötyökaluun kohdistuvia töitä.
teroitettujen sahanterien asennusta.
Sahanterät ja sahanteräohjaimet
Jos sähkötyökalussa huolellisesta valmistukses-
ta ja koestusmenettelystä huolimatta esiintyy vi-
Riippuen työstettävän materiaalin paksuudesta,
kaa, tulee korjaus antaa Bosch-keskushuollon
voidaan käyttää erilaisia sahanteräohjaimia ja
tehtäväksi.
niihin kuuluvia sahanteriä, katso lisätarvikekat-
sausta.
Ilmoita kaikissa kyselyissä ja varaosatilauksissa
10-numeroinen tuotenumero, joka löytyy lait-
Liukurullilla varustettu jalkalevy
teen mallikilvestä.
Voit käyttää vaahtomuovileikkuria jalkalevyllä tai
ilman sitä. Liukurullilla varustettu jalkalevy mah-
Huolto ja asiakasneuvonta
dollistaa sahan kevyen ja kohtisuoran ohjaamisen.
Huolto vastaa tuotteesi korjausta ja huoltoa se-
Mielivaltaisten muotojen sahauksessa ja leikkaus-
kä varaosia koskeviin kysymyksiin. Räjähdyspii-
ten aikaansaamiseksi kannattaa työskennellä il-
rustuksia ja tietoja varaosista löydät myös osoit-
man jalkalevyä.
teesta:
Vaahtomuovin työstäminen
www.bosch-pt.com
Bosch-asiakasneuvonta auttaa mielellään sinua
Tarkkojen leikkausten aikaansaamiseksi, eten-
tuotteiden ja lisätarvikkeiden ostoa, käyttöä ja
kin pehmeässä vaahtomuovissa ja vastaavissa
säätöä koskevissa kysymyksissä.
materiaaleissa, tulee käyttää vain kohtuullista
syöttönopeutta. Älä paina tai venytä materiaalia
Suomi
liikaa leikkauksen aikana.
Robert Bosch Oy
Irrota jalkalevy pienten leikkausten suorittami-
Bosch-keskushuolto
seksi. Paina veitsi tai sakset materiaalin läpi,
Pakkalantie 21 A
työnnä sitten sahanteräohjain aukkoon ja suori-
01510 Vantaa
ta leikkaus.
Puh.: +358 (10) 480 8363
Suurempien leikkausten suorittamiseksi teet
Faksi: +358 (09) 870 2318
aloitusaukon niin suureksi, että voit työntää sa-
www.bosch.fi
hanteräohjaimen jalkalevyineen aukon läpi. Tar-
kista, että alustassa ei ole esteitä. Ohjaa sähkö-
Hävitys
työkalua kohtuullisella syöttöpaineella pitkin
Sähkötyökalu, lisätarvikkeet ja pakkaukset tulee
leikkausviivaa.
toimittaa ympäristöystävälliseen uusiokäyttöön.
Älä heitä sähkötyökaluja talousjätteisiin!
Hoito ja huolto
Vain EU-maita varten:
Eurooppalaisen vanhoja sähkö- ja
Huolto ja puhdistus
elektroniikkalaitteita koskevan di-
f Irrota pistotulppa pistorasiasta ennen kaik-
rektiivin 2002/96/EY ja sen kansal-
kia sähkötyökaluun kohdistuvia töitä.
listen lakien muunnosten mukaan,
tulee käyttökelvottomat sähkötyö-
f Pidä aina sähkötyökalua ja sähkötyökalun
kalut kerätä erikseen ja toimittaa
tuuletusaukkoja puhtaana, jotta voit työs-
ympäristöystävälliseen uusiokäyt-
kennellä hyvin ja turvallisesti.
töön.
Puhdista sahanteräohjain ja sahanterät säännöl-
lisesti, n. 8 käyttötunnin välein. Irrota tätä var-
Oikeus teknisiin muutoksiin pidätetään.
ten sahanterät sähkötyökalusta ja puhdista ne
Bosch Power Tools 3 609 929 B97 | (25.8.10)

OBJ_BUCH-55-004.book Page 72 Wednesday, August 25, 2010 1:39 PM
72 | Eλληνικά
el
Υποδείξεις ασφαλείας
b) Αποφεύγετε την επαφή του σώματός σας
με γειωμένες επιφάνειες όπως σωλήνες,
θερμαντικά σώματα (καλοριφέρ), κουζί-
Γενικές υποδείξεις ασφαλείας για
νες ή ψυγεία. Όταν το σώμα σας είναι γειω-
ηλεκτρικά εργαλεία
μένο αυξάνεται ο κίνδυνος ηλεκτροπληξίας.
Διαβάστε όλες τις
c) Μην εκθέτετε τα μηχανήματα στη βροχή
υποδείξεις ασφαλείας
ή την υγρασία. Η διείσδυση νερού σ’ ένα
και τις οδηγίες. Αμέλειες κατά την τήρηση των
ηλεκτρικό εργαλείο αυξάνει τον κίνδυνο
υποδείξεων ασφαλείας και των οδηγιών μπορεί
ηλεκτροπληξίας.
να προκαλέσουν ηλεκτροπληξία, πυρκαγιά ή/και
d) Μη χρησιμοποιείτε το ηλεκτρικό καλώ-
σοβαρούς τραυματισμούς.
διο για να μεταφέρετε ή να αναρτήσετε
Φυλάξτε όλες τις προειδοποιητικές υποδείξεις
το ηλεκτρικό εργαλείο, ή για να βγάλετε
και οδηγίες για κάθε μελλοντική χρήση.
το φις από την πρίζα. Κρατάτε το ηλεκ-
Ο ορισμός «Ηλεκτρικό εργαλείο» που χρησιμο-
τρικό καλώδιο μακριά από υπερβολικές
ποιείται στις προειδοποιητικές υποδείξεις ανα-
θερμοκρασίες, κοφτερές ακμές και/ή
φέρεται σε ηλεκτρικά εργαλεία που τροφοδο-
από κινητά εξαρτήματα. Τυχόν χαλασμένα
τούνται από το ηλεκτρικό δίκτυο (με ηλεκτρικό
ή περιπλεγμένα ηλεκτρικά καλώδια αυξά-
καλώδιο) καθώς και σε ηλεκτρικά εργαλεία που
νουν τον κίνδυνο ηλεκτροπληξίας.
τροφοδοτούνται από μπαταρία (χωρίς ηλεκτρικό
e) Όταν εργάζεσθε μ’ ένα ηλεκτρικό εργα-
καλώδιο).
λείο στο ύπαιθρο να χρησιμοποιείτε
καλώδια επιμήκυνσης (μπαλαντέζες) που
1) Ασφάλεια στο χώρο εργασίας
είναι κατάλληλα και για χρήση στο
a) Διατηρείτε τον τομέα που εργάζεσθε
ύπαιθρο. Ηχρήση καλωδίων επιμήκυνσης
καθαρό και καλά φωτισμένο. Αταξία ή μη
κατάλληλων για υπαίθριους χώρους
φωτισμένες περιοχές εργασίας μπορεί να
ελαττώνει τον κίνδυνο ηλεκτροπληξίας.
οδηγήσουν σε ατυχήματα.
f) Όταν η χρήση του ηλεκτρικού εργαλείου
b) Μην εργάζεσθε με το ηλεκτρικό εργα-
σε υγρό περιβάλλον είναι αναπόφευκτη,
λείο σε περιβάλλον όπου υπάρχει κίνδυ-
τότε χρησιμοποιήστε έναν προστατευτικό
νος έκρηξης, στο οποίο υπάρχουν εύ-
διακόπτη διαρροής (διακόπτη FI). Ηχρήση
φλεκτα υγρά, αέρια ή σκόνες. Τα ηλεκτρι-
ενός προστατευτικού διακόπτη διαρροής
κά εργαλεία δημιουργούν σπινθηρισμό ο
ελαττώνει τον κίνδυνο ηλεκτροπληξίας.
οποίος μπορεί να αναφλέξει τη σκόνη ή τις
3) Ασφάλεια προσώπων
αναθυμιάσεις.
a) Να είστε πάντοτε προσεκτικός/προσεκ-
c) Όταν χρησιμοποιείτε το ηλεκτρικό εργα-
τική, να δίνετε προσοχή στην εργασία
λείο κρατάτε μακριά απ’ αυτό τα παιδιά κι
που κάνετε και να χειρίζεστε το μηχάνη-
άλλα τυχόν παρευρισκόμενα άτομα. Σε
μα με περίσκεψη. Μη χρησιμοποιήσετε
περίπτωση απόσπασης της προσοχής σας
ένα ηλεκτρικό εργαλείο όταν είστε κου-
μπορεί να χάσετε τον έλεγχο του μηχανή-
ρασμένος/κουρασμένη ή όταν βρίσκεστε
ματος.
υπό την επήρεια ναρκωτικών, οινοπνεύ-
ματος ή φαρμάκων. Μια στιγμιαία απρο-
2) Ηλεκτρική ασφάλεια
σεξία κατά το χειρισμό του ηλεκτρικού
a) Το φις του ηλεκτρικού εργαλείου πρέπει
εργαλείου μπορεί να οδηγήσει σε σοβα-
να ταιριάζει στην πρίζα. Δεν επιτρέπεται
ρούς τραυματισμούς.
με κανέναν τρόπο η μετατροπή του φις.
b) Φοράτε έναν κατάλληλο για σας προστα-
Μη χρησιμοποιείτε προσαρμοστικά φις
τευτικό εξοπλισμό και πάντοτε προστα-
σε συνδυασμό με γειωμένα ηλεκτρικά
τευτικά γυαλιά. Όταν φοράτε έναν κατάλ-
εργαλεία. Αμεταποίητα φις και κατάλληλες
ληλο προστατευτικό εξοπλισμό όπως μάσ-
πρίζες μειώνουν τον κίνδυνο ηλεκ-
κα προστασίας από σκόνη, αντιολισθητικά
τροπληξίας.
υποδήματα ασφαλείας, προστατευτικό
3 609 929 B97 | (25.8.10) Bosch Power Tools

OBJ_BUCH-55-004.book Page 73 Wednesday, August 25, 2010 1:39 PM
Eλληνικά | 73
κράνος ή ωτασπίδες, ανάλογα με το
b) Μη χρησιμοποιήσετε ποτέ ένα μηχάνημα
εκάστοτε εργαλείο και τη χρήση του,
που έχει χαλασμένο διακόπτη. Ένα ηλεκ-
ελαττώνεται ο κίνδυνος τραυματισμών.
τρικό εργαλείο που δεν μπορείτε πλέον να
c) Αποφεύγετε την αθέλητη εκκίνηση.
το θέσετε σε λειτουργία και/ή εκτός λει-
Βεβαιωθείτε ότι το ηλεκτρικό εργαλείο
τουργίας είναι επικίνδυνο και πρέπει να
έχει αποζευχτεί πριν το συνδέσετε με το
επισκευαστεί.
ηλεκτρικό δίκτυο ή με την μπαταρία
c) Βγάλτε το φις από την πρίζα και/ή
καθώς και πριν το παραλάβετε ή το μετα-
αφαιρέστε την μπαταρία πριν διεξάγετε
φέρετε. Όταν μεταφέρετε το ηλεκτρικό
στο μηχάνημα μια οποιαδήποτε εργασία
εργαλείο έχοντας το δάχτυλό σας στο δια-
ρύθμισης, πριν αλλάξετε ένα εξάρτημα ή
κόπτη ή όταν συνδέσετε το μηχάνημα με
όταν πρόκειται να διαφυλάξετε/να απο-
την πηγή ρεύματος όταν αυτό είναι ακόμη
θηκεύσετε το μηχάνημα. Αυτά τα προληπ-
στη θέση ΟΝ, τότε δημιουργείται κίνδυνος
τικά μέτρα ασφαλείας μειώνουν τον κίνδυ-
τραυματισμών.
νο από τυχόν αθέλητη εκκίνηση του ηλεκ-
d) Αφαιρείτε από τα ηλεκτρικά εργαλεία
τρικού εργαλείου.
τυχόν συναρμολογημένα εργαλεία ρύθ-
d) Διαφυλάγετε τα ηλεκτρικά εργαλεία που
μισης ή κλειδιά πριν θέσετε το ηλεκτρικό
δε χρησιμοποιείτε μακριά από παιδιά.
εργαλείο σε λειτουργία. Ένα εργαλείο ή
Μην επιτρέψετε τη χρήση του μηχανήμα-
κλειδί συναρμολογημένο σ’ ένα περιστρε-
τος σε άτομα που δεν είναι εξοικειωμένα
φόμενο τμήμα ενός μηχανήματος μπορεί
μ’ αυτό ή δεν έχουν διαβάσει τις παρού-
να οδηγήσει σε τραυματισμούς.
σες οδηγίες. Τα ηλεκτρικά εργαλεία είναι
e) Μην υπερεκτιμάτε τον εαυτό σας. Φρον-
επικίνδυνα όταν χρησιμοποιούνται από
τίζετε για την ασφαλή στάση του σώμα-
άπειρα πρόσωπα.
τός σας και διατηρείτε πάντοτε την ισορ-
e) Να περιποιείστε προσεκτικά το ηλεκτρι-
ροπία σας. Έτσι μπορείτε να ελέγξετε
κό εργαλείο. Ελέγχετε, αν τα κινούμενα
καλύτερα το μηχάνημα σε περιπτώσεις
εξαρτήματα λειτουργούν άψογα, χωρίς
απροσδόκητων περιστάσεων.
να μπλοκάρουν, ή μήπως έχουν σπάσει ή
f) Φοράτε κατάλληλα ενδύματα. Μη φορά-
φθαρεί τυχόν εξαρτήματα τα οποία επ-
τε φαρδιά ρούχα ή κοσμήματα. Κρατάτε
ηρεάζουν τον τρόπο λειτουργίας του
τα μαλλιά σας, τα ρούχα σας και τα γάντια
ηλεκτρικού εργαλείου. Δώστε αυτά τα
σας μακριά από κινούμενα εξαρτήματα.
χαλασμένα εξαρτήματα για επισκευή
Χαλαρή ενδυμασία, κοσμήματα ή μακριά
πριν τα ξαναχρησιμοποιήσετε. Η κακή
μαλλιά μπορεί να εμπλακούν στα κινού-
συντήρηση των ηλεκτρικών εργαλείων
μενα εξαρτήματα.
αποτελεί αιτία πολλών ατυχημάτων.
g) Όταν υπάρχει η δυνατότητα συναρμολό-
f) Διατηρείτε τα εργαλεία κοπής κοφτερά
γησης διατάξεων αναρρόφησης ή συλλο-
και καθαρά. Προσεκτικά συντηρημένα
γής σκόνης, βεβαιωθείτε ότι αυτές είναι
κοπτικά εργαλεία σφηνώνουν δυσκο-
συνδεμένες με το μηχάνημα καθώς και ότι
λότερα και οδηγούνται ευκολότερα.
χρησιμοποιούνται σωστά. Η χρήση μιας
αναρρόφησης σκόνης μπορεί να ελαττώσει
g) Χρησιμοποιείτε τα ηλεκτρικά εργαλεία,
τον κίνδυνο που προκαλείται από τη σκόνη.
εξαρτήματα, παρελκόμενα εργαλεία κτλ.
σύμφωνα με τις παρούσες οδηγίες. Λαμ-
4) Επιμελής χειρισμός και χρήση ηλεκτρικών
βάνετε επίσης υπόψη σας τις εκάστοτε
εργαλείων
συνθήκες και την υπό εκτέλεση εργασία.
a) Μην υπερφορτώνετε το μηχάνημα. Χρη-
Η χρησιμοποίηση των ηλεκτρικών εργα-
σιμοποιείτε για την εκάστοτε εργασία το
λείων για εργασίες που δεν προβλέπονται
ηλεκτρικό εργαλείο που προορίζεται γι’
γι’ αυτά μπορεί να δημιουργήσει επικίνδυ-
αυτήν. Με το κατάλληλο ηλεκτρικό εργα-
νες καταστάσεις.
λείο εργάζεστε καλύτερα και ασφαλέστερα
στην αναφερόμενη περιοχή ισχύος.
Bosch Power Tools 3 609 929 B97 | (25.8.10)

OBJ_BUCH-55-004.book Page 74 Wednesday, August 25, 2010 1:39 PM
74 | Eλληνικά
5) Service
Απεικονιζόμενα στοιχεία
a) Δώστε το ηλεκτρικό εργαλείο σας για
επισκευή από άριστα εκπαιδευμένο
Η απαρίθμηση των απεικονιζόμενων στοιχείων
προσωπικό και με γνήσια ανταλλακτικά.
αναφέρεται στην απεικόνιση του ηλεκτρικού
Έτσι εξασφαλίζετε τη διατήρηση της ασφά-
εργαλείου στη σελίδα γραφικών.
λειας του μηχανήματος.
1 Διακόπτης ON/OFF
2 Οδήγηση πριονόλαμας*
Υποδείξεις ασφαλείας για σέγες
3 Ζεύγος πριονολαμών*
αφρώδους
4 Πέλμα
f Να πιάνετε το μηχάνημα από τις μονωμένες
5 Λαβή (μονωμένη επιφάνεια πιασίματος)
επιφάνειες συγκράτησης όταν πρόκειται να
6 Βίδα
διεξάγετε εργασίες κατά τις οποίες υπάρχει
7 Καπάκι
κίνδυνος το τοποθετημένο εξάρτημα να
συναντήσει τυχόν μη ορατές ηλεκτροφόρες
8 Βίδα με αυλακωτή κεφαλή
γραμμές ή το δικό του ηλεκτρικό καλώδιο.
9 Βίδα σύσφιξης πέλματος
Η επαφή με μια υπό τάση ευρισκόμενη
*Εξαρτήματα που απεικονίζονται ή περιγράφονται δεν
ηλεκτρική γραμμή μπορεί να θέσει μεταλλικά
περιέχονται στη στάνταρ συσκευασία. Για τον πλήρη
τμήματα του μηχανήματος επίσης υπό τάση
κατάλογο εξαρτημάτων κοίτα το πρόγραμμα
και να οδηγήσει έτσι σε ηλεκτροπληξία.
εξαρτημάτων.
f Κρατάτε τα χέρια σας μακριά από τον τομέα
πριονίσματος. Μη βάζετε τα χέρια σας κάτω
Τεχνικά χαρακτηριστικά
από το υπό κατεργασία τεμάχιο. Σε περίπτω-
ση επαφής με την πριονόλαμα δημιουργείται
Σέγα αφρώδους GSG 300
κίνδυνος τραυματισμού.
Professional
Αριθμός ευρετηρίου
0 601 575 1..
Ονομαστική ισχύς
W 350
Περιγραφή λειτουργίας
Αποδιδόμενη ισχύς
W 185
Διαβάστε όλες τις υποδείξεις ασφα-
Αριθ. εμβολισμών
λείας και τις οδηγίες. Αμέλειες κατά
χωρίς φορτίο n
min
-1
0
3200
την τήρηση των υποδείξεων ασφα-
Αριθ. εμβολισμών υπό
λείας και των οδηγιών μπορεί να
φορτίο
min
-1
2100
προκαλέσουν ηλεκτροπληξία, πυρκα-
γιά ή/και σοβαρούς τραυματισμούς.
μέγ. βάθος κοπής
mm 300
Παρακαλούμε ανοίξτε τη διπλωμένη σελίδα με
Βάρος σύμφωνα με
την απεικόνιση της συσκευής κι αφήστε την
EPTA-Procedure
ανοιχτή όσο θα διαβάζετε τις οδηγίες χειρισμού.
01/2003
kg 1,6
Κατηγορία μόνωσης
/II
Χρήση σύμφωνα με τον προορισμό
Τα στοιχεία ισχύουν για ονομαστικές τάσεις [U] 230 V.
Το ηλεκτρικό εργαλείο προορίζεται για τη
Υπό διαφορετικές τάσεις και σε εκδόσεις ειδικές για τις
διεξαγωγή κοπών οποιασδήποτε μορφής σε
διάφορες χώρες τα στοιχεία αυτά μπορεί να διαφέρουν.
αφρώδη πλαστικά υλικά, αφρώδες καουτσούκ
Παρακαλούμε να προσέξετε τον αριθμό ευρετηρίου
και σε παρεμφερή υλικά.
στην πινακίδα κατασκευαστή του ηλεκτρικού εργαλείου
σας. Οι εμπορικοί χαρακτηρισμοί ορισμένων ηλεκτρικών
εργαλείων μπορεί να διαφέρουν.
3 609 929 B97 | (25.8.10) Bosch Power Tools

OBJ_BUCH-55-004.book Page 75 Wednesday, August 25, 2010 1:39 PM
Eλληνικά | 75
Πληροφορίες για θόρυβο και δονήσεις
Δήλωση συμβατότητας
Οι τιμές μέτρησης του θορύβου εξακριβώθηκαν
Δηλώνουμε υπευθύνως ότι το προϊόν που περι-
κατά EN 60745.
γράφεται στα «Τεχνικά χαρακτηριστικά» εκπλη-
Η σύμφωνα με την καμπύλη A εκτιμηθείσα
ρώνει τους εξής κανονισμούς ή κατασκευαστικές
χαρακτηριστική στάθμη εκπομπής θορύβων του
συστάσεις: EN 60745 σύμφωνα με τις διατάξεις
μηχανήματος ανέρχεται σε 81 dB(A). Στάθμη
των οδηγιών 2004/108/ΕΚ, 2006/42/EΚ.
ακουστικής πίεσης 92 dB(A). Ανασφάλεια
Τεχνικός φάκελος από:
μέτρησης K=3 dB.
Robert Bosch GmbH, PT/ESC,
Φοράτε ωτασπίδες!
D-70745 Leinfelden-Echterdingen
Οι ολικές τιμές κραδασμών (άθροισμα ανυσμά-
Dr. Egbert Schneider
Dr. Eckerhard Strötgen
των τριών διευθύνσεων) εξακριβώθηκαν σύμφω-
Senior Vice President
Head of Product
να με το πρότυπο EN 60745:
Engineering
Certification
Τιμή εκπομπής κραδασμών a
2
h
=2,5 m/s
, ανασ-
φάλεια K =1,5 m/s
2
.
Η στάθμη κραδασμών που αναφέρεται σ’ αυτές
τις οδηγίες έχει μετρηθεί σύμφωνα με μια διαδι-
Robert Bosch GmbH, Power Tools Division
κασία μέτρησης τυποποιημένη στο πλαίσιο του
D-70745 Leinfelden-Echterdingen
προτύπου EN 60745 και μπορεί να χρησιμοποιη-
Leinfelden, 17.05.2010
θεί στη σύγκριση των διάφορων μηχανημάτων.
Είναι επίσης κατάλληλη για έναν προσωρινό υπο-
λογισμό της επιβάρυνσης από τους κραδασμούς.
Συναρμολόγηση
Η στάθμη κραδασμών που αναφέρεται αντιπρο-
σωπεύει τις βασικές χρήσεις του ηλεκτρικού
f Βγάζετε το φις από την πρίζα πριν από
εργαλείου. Σε περίπτωση, όμως, που το ηλεκτρι-
οποιαδήποτε εργασία στο ηλεκτρικό
κό εργαλείο θα χρησιμοποιηθεί διαφορετικά, με
εργαλείο.
μη προτεινόμενα εργαλεία ή χωρίς επαρκή συντή-
ρηση, τότε η στάθμη κραδασμών μπορεί να είναι
Συναρμολόγηση οδήγησης πριονόλαμας
κι αυτή διαφορετική. Αυτό μπορεί να αυξήσει
(βλέπε εικόνα A)
σημαντικά την επιβάρυνση από τους κραδασμούς
κατά τη συνολική διάρκεια ολόκληρου του χρονι-
Ξεβιδώστε τέρμα τις βίδες 6 από το περίβλημα.
κού διαστήματος που εργάζεσθε.
Τοποθετήσετε την οδήγηση πριονόλαμας 2 κατά
Για την ακριβή εκτίμηση της επιβάρυνσης από
τέτοιο τρόπο στο περίβλημα, ώστε οι πίροι να
τους κραδασμούς θα πρέπει να λαμβάνονται
πιάσουν στις αντίστοιχες τρύπες. Βιδώστε την
επίσης υπόψη και οι χρόνοι κατά τη διάρκεια των
οδήγηση πριονόλαμας στο περίβλημα 2 με τις
οποίων το μηχάνημα βρίσκεται εκτός λειτουργίας
βίδες 6.
ή λειτουργεί, χωρίς όμως στην πραγματικότητα να
χρησιμοποιείται. Αυτό μπορεί να μειώσει σημαν-
τικά την επιβάρυνση από τους κραδασμούς κατά
τη διάρκεια ολόκληρου του χρονικού διαστήμα-
τος που εργάζεσθε.
Γι’ αυτό, πριν αρχίσει η δράση των κραδασμών, να
καθορίζετε πρόσθετα μέτρα ασφαλείας για την
προστασία του χειριστή όπως: συντήρηση του
ηλεκτρικού εργαλείου και των εργαλείων που
χρησιμοποιείτε, ζέσταμα των χεριών, οργάνωση
της εκτέλεσης των διάφορων εργασιών.
Bosch Power Tools 3 609 929 B97 | (25.8.10)

OBJ_BUCH-55-004.book Page 76 Wednesday, August 25, 2010 1:39 PM
76 | Eλληνικά
– Να χρησιμοποιείτε κατά το δυνατό για το
Τοποθέτηση/Αντικατάσταση
εκάστοτε υλικό την κατάλληλη
πριονολαμών (βλέπε εικόνα B)
αναρρόφηση.
f Φορέστε προστατευτικά γάντια για να
– Να φροντίζετε για τον καλό αερισμό του
συναρμολογήσετε την πριονόλαμα. Υπάρχει
χώρου εργασίας.
κίνδυνος τραυματισμού αν αγγίξετε την
– Σας συμβουλεύουμε να φοράτε μάσκες
πριονόλαμα.
αναπνευστικής προστασίας με φίλτρο
Ξεβιδώστε τις βίδες με αυλακωτή κεφαλή 8 και
κατηγορίας P2.
αφαιρέστε τις μαζί με τις ροδέλες ασφαλείας και
Να τηρείτε τις διατάξεις που ισχύουν στη χώρα
το καπάκι 7.
σας για τα διάφορα υπό κατεργασία υλικά.
n Τοποθετήστε πρώτα το ζεύγος πριονολαμών
3 κάτω, στην οδήγηση πριονόλαμας 2. Δώστε
προσοχή, οι μακρουλές σχισμές των
Λειτουργία
πριονολαμών να πιάσουν στο πίρο της
οδήγησης πριονόλαμας.
o Αναρτήστε ακολούθως το ζεύγος
Εκκίνηση
πριονολαμών 3 στον πίρο συγχρονισμού κατά
f Δώστε προσοχή στην τάση δικτύου! Η τάση
τέτοιο τρόπο, ώστε οι πριονόλαμες να
της ηλεκτρικής πηγής πρέπει να ταυτίζεται
καθίσουν καλά μέσα στην υποδοχή οδήγησης.
με την τάση που είναι αναγραμμένη στην
Θέστε το καπάκι 7 επάνω στους σπειροειδείς
πινακίδα κατασκευαστή του ηλεκτρικού
πίρους στο περίβλημα και στερεώστε το με τις
εργαλείου. Ηλεκτρικά εργαλεία με
βίδες αυλακωτής κεφαλής 8. Βεβαιωθείτε, ότι
χαρακτηριστική τάση 230 V λειτουργούν και
έχουν τοποθετηθεί και ροδέλες ασφαλείας.
με τάση 220 V.
Θέση σε λειτουργία κι εκτός λειτουργίας
Συναρμολόγηση του πέλματος
Για να θέσετε σε λειτουργία το ηλεκτρικό
(βλέπε εικόνα C)
εργαλείο πατήστε το διακόπτη ΟΝ/OFF 1 και
Θέστε την οδήγηση πριονόλαμας 2 στην
κρατήστε τον πατημένο.
αντίστοιχη εγκοπή του πέλματος 4. Σφίξτε τη βίδα
Για να ακινητοποιήσετε τον πατημένο διακόπτη
σύσφιξης 9.
ON/OFF 1 ωθήστε το διακόπτη ON/OFF 1 προς
τα πίσω.
Αναρρόφηση σκόνης/ροκανιδιών
Για να θέσετε εκτός λειτουργίας το ηλεκτρικό
f Η σκόνη από ορισμένα υλικά. π.χ. από μολυβ-
εργαλείο αφήστε το διακόπτη ON/OFF 1
δούχες μπογιές, από μερικά είδη ξύλου, από
ελεύθερο ή, αν είναι μανδαλωμένος, πατήστε
ορυκτά υλικά και από μέταλλα μπορεί να είναι
σύντομα το διακόπτη 1 και ακολούθως αφήστε
ανθυγιεινή. Η επαφή με τη σκόνη ή/και η εισ-
τον ελεύθερο.
πνοή της μπορεί να προκαλέσει αλλεργικές
αντιδράσεις ή/και ασθένειες των αναπνευ-
στικών οδών του χρήστη ή τυχόν παρευρισκο-
μένων ατόμων.
Ορισμένα είδη σκόνης, π.χ. σκόνη από ξύλο
βελανιδιάς ή οξιάς θεωρούνται σαν καρκινο-
γόνα, ιδιαίτερα σε συνδυασμό με διάφορα
συμπληρωματικά υλικά που χρησιμοποιούνται
στην κατεργασία ξύλων (ενώσεις χρωμίου,
ξυλοπροστατευτικά μέσα). Η κατεργασία
αμιαντούχων υλικών επιτρέπεται μόνο σε
ειδικά εκπαιδευμένα άτομα.
3 609 929 B97 | (25.8.10) Bosch Power Tools

OBJ_BUCH-55-004.book Page 77 Wednesday, August 25, 2010 1:39 PM
Eλληνικά | 77
Υποδείξεις εργασίας
Συντήρηση και Service
f Βγάζετε το φις από την πρίζα πριν από
οποιαδήποτε εργασία στο ηλεκτρικό
Συντήρηση και καθαρισμός
εργαλείο.
f Βγάζετε το φις από την πρίζα πριν από
οποιαδήποτε εργασία στο ηλεκτρικό
Πριονόλαμες και οδηγήσεις πριονολαμών
εργαλείο.
Για την κατεργασία υλικών με διαφορετικά πάχη
f Διατηρείτε το ηλεκτρικό εργαλείο και τις
μπορείτε να χρησιμοποιήσετε διάφορες
σχισμές αερισμού καθαρές για να μπορείτε
κατάλληλες οδηγήσεις πριονολαμών, καθώς και
να εργάζεσθε καλά και ασφαλώς.
τις αντίστοιχες πριονόλαμες. Βλέπε τη σχετική
επισκόπηση πριονολαμών.
Να καθαρίζετε την οδήγηση πριονόλαμας και τις
πριονόλαμες τακτικά, περίπου μετά από κάθε
Πέλμα με ράουλα
8 ώρες λειτουργίας. Γι’ αυτό πρέπει να αφαιρείτε
Μπορείτε να χρησιμοποιήσετε τη σέγα με πέλμα
τις πριονόλαμες από το ηλεκτρικό εργαλείο και
ή χωρίς πέλμα. Το πέλμα που είναι εξοπλισμένο
να τις καθαρίζετε, αν είναι δυνατό, με βενζίνη.
με ράουλα επιτρέπει την εύκολη και ορθογώνια
Χρησιμοποιήσετε, αν χρειαστεί, έναν ξύστη για να
οδήγηση της σέγας.
καθαρίσετε την οδήγηση πριονόλαμας. Να
Για την κοπή κατ’ επιλογή και για τη διεξαγωγή
λαδώνετε ελαφρά την οδήγηση πριονόλαμας πριν
κυκλικών κοπών σας συμβουλεύουμε να
τοποθετήσετε μια νέα ή τροχισμένη πριονόλαμα.
εργάζεστε χωρίς πέλμα.
Αν παρ’ όλες τις επιμελημένες μεθόδους κατα-
σκευής κι ελέγχου το ηλεκτρικό εργαλείο σταμα-
Κατεργασία αφρωδών υλικών
τήσει κάποτε να λειτουργεί, τότε η επισκευή του
Για να επιτύχετε ακριβείς κοπές, προπαντός όταν
πρέπει να ανατεθεί σ’ ένα εξουσιοδοτημένο
κατεργάζεστε μαλακά αφρώδη ή παρόμοια υλικά,
συνεργείο για ηλεκτρικά εργαλεία της Bosch.
πρέπει να εργάζεστε με μέτρια προωθηση. Μην
Όταν ζητάτε διασαφητικές πληροφορίες καθώς
πιέζετε και μην τεντώνετε το υλικό δυνατά όταν
και όταν παραγγέλνετε ανταλλακτικά πρέπει να
το κατεργάζεστε.
αναφέρετε οπωσδήποτε το 10ψήφιο αριθμό
Να αποσυναρμολογείτε το πέλμα όταν πρόκειται
ευρετηρίου που αναγράφεται στην πινακίδα
να διεξάγετε μικρές κυκλικές κοπές. Μπήξτε
κατασκευαστή.
πρώτα ένα μαχαίρι ή ένα ψαλίδι στο υλικό,
περάστε την οδήγηση πριονόλαμας στην τρύπα
και διεξάγετε την κυκλική κοπή.
Για τη διεξαγωγή μεγάλων κυκλικών κοπών η
τρύπα που θα ανοίξετε πρέπει να είναι τόσο
μεγάλη, όσο χρειάζεται για να περάσετε την
οδήγηση της πριονόλαμας μαζί με το
συναρμολογημένο πέλμα. Δώστε προσοχή, να
μην υπάρχουν εμπόδια στην επιφάνεια που
ακουμπά το υλικό. Να οδηγείτε το ηλεκτρικό
εργαλείο με μέτρια προώθηση κατά μήκος της
γραμμής κοπής.
Bosch Power Tools 3 609 929 B97 | (25.8.10)

OBJ_BUCH-55-004.book Page 78 Wednesday, August 25, 2010 1:39 PM
78 | Eλληνικά
Service και σύμβουλος πελατών
Απόσυρση
To Service απαντά στις ερωτήσεις σας σχετικά με
Τα ηλεκτρικά εργαλεία, τα εξαρτήματα και οι
την επισκευή και τη συντήρηση του προϊόντος
συσκευασίες πρέπει να ανακυκλώνονται με
σας καθώς και για τα αντίστοιχα ανταλλακτικά.
τρόπο φιλικό προς το περιβάλλον.
Λεπτομερή σχέδια και πληροφορίες για τα
Μην ρίχνετε τα ηλεκτρικά εργαλεία στα
ανταλλακτικά θα βρείτε στην ηλεκτρονική
απορρίμματα του σπιτιού σας!
διεύθυνση:
www.bosch-pt.com
Μόνο για χώρες της ΕΕ:
Η ομάδα συμβούλων της Βosch σας υποστηρίζει
Σύμφωνα με την Κοινοτική Οδηγία
ευχαρίστως όταν έχετε ερωτήσεις σχετικές με την
2002/96/EΚ σχετικά με τις παλαιές
αγορά, τη χρήση και τη ρύθμιση των προϊόντων
ηλεκτρικές και ηλεκτρονικές
και ανταλλακτικών.
συσκευές και τη μεταφορά της
Ελλάδα
οδηγίας αυτής σε εθνικό δίκαιο
δεν είναι πλέον υποχρεωτικό τα
Robert Bosch A.E.
άχρηστα ηλεκτρικά εργαλεία να συλλέγονται
Ερχείας 37
ξεχωριστά για να ανακυκλωθούν με τρόπο φιλικό
19400 Κορωπί – Αθήνα
προς το περιβάλλον.
Tel.: +30 (0210) 57 01 270
Fax: +30 (0210) 57 01 283
Τηρούμε το δικαίωμα αλλαγών.
www.bosch.com
www.bosch-pt.gr
ABZ Service A.E.
Tel.: +30 (0210) 57 01 380
Fax: +30 (0210) 57 01 607
3 609 929 B97 | (25.8.10) Bosch Power Tools

OBJ_BUCH-55-004.book Page 79 Wednesday, August 25, 2010 1:39 PM
Türkçe | 79
tr
Güvenlik Talimat
d) Elektrikli el aletini kablosundan tutarak
taşmayn, kabloyu kullanarak asmayn
veya kablodan çekerek fişi çkarmayn.
Elektrikli El Aletleri İçin Genel Uyar
Kabloyu sdan, yağdan, keskin kenarl
Talimat
cisimlerden veya aletin hareketli parça-
UYARI
Bütün uyarlar ve talimat hükümle-
larndan uzak tutun. Hasarl veya dolaşmş
rini okuyun. Açklanan uyarlara ve
kablo elektrik çarpma tehlikesini artrr.
talimat hükümlerine uyulmadğ takdirde elekt-
e) Bir elektrikli el aleti ile açk havada
rik çarpmalarna, yangnlara ve/veya ağr yara-
çalşrken, mutlaka açk havada kulla-
lanmalara neden olunabilir.
nlmaya uygun uzatma kablosu kullann.
Bütün uyarlar ve talimat hükümlerini ileride
Açk havada kullanlmaya uygun uzatma
kullanmak üzere saklayn.
kablosunun kullanlmas elektrik çarpma
Uyar ve talimat hükümlerinde kullanlan “Elekt-
tehlikesini azaltr.
rikli El Aleti” kavram, akm şebekesine bağl
f) Elektrikli el aletinin nemli ortamlarda
(şebeke bağlant kablosu ile) aletlerle akü ile
çalştrlmas şartsa, mutlaka arza akm
çalşan aletleri (akm şebekesine bağlants
koruma şalteri kullann. Arza akm ko-
olmayan aletler) kapsamaktadr.
ruma şalterinin kullanm elektrik çarpma
tehlikesini azaltr.
1) Çalşma yeri güvenliği
a) Çalştğnz yeri temiz tutun ve iyi aydn-
3) Kişilerin Güvenliği
latn. Çalştğnz yer düzensiz ise ve iyi
a) Dikkatli olun, ne yaptğnza dikkat edin,
aydnlatlmamşsa kazalar ortaya çkabilir.
elektrikli el aleti ile işinizi makul bir tem-
b) Yaknnda patlayc maddeler, yanc sv,
po ve yöntemle yürütün. Yorgunsanz,
gaz veya tozlarn bulunduğu yerlerde
aldğnz haplarn, ilaçlarn veya alkolün
elektrikli el aleti ile çalşmayn. Elektrikli
etkisinde iseniz elektrikli el aletini kul-
el aletleri, toz veya buharlarn tutuşmasna
lanmayn. Aleti kullanrken bir anki dikkat-
neden olabilecek kvlcmlar çkarrlar.
sizlik önemli yaralanmalara neden olabilir.
c) Elektrikli el aleti ile çalşrken çocuklar
b) Daima kişisel koruyucu donanm ve bir
ve başkalarn uzakta tutun. Dikkatiniz
koruyucu gözlük kullann. Elektrikli el ale-
dağlacak olursa aletin kontrolünü kaybe-
tinin türü ve kullanmna uygun olarak; toz
debilirsiniz.
maskesi, kaymayan iş ayakkablar, koru-
yucu kask veya koruyucu kulaklk gibi
2) Elektrik Güvenliği
koruyucu donanm kullanm yaralanma
a) Elektrikli el aletinin bağlant fişi prize uy-
tehlikesini azalttr.
maldr. Fişi hiçbir zaman değiştirmeyin.
c) Aleti yanlşlkla çalştrmaktan kaçnn.
Koruyucu topraklanmş elektrikli el alet-
Akm ikmal şebekesine ve/veya aküye
leri ile birlikte adaptör fiş kullanmayn.
bağlamadan, elinize alp taşmadan önce
Değiştirilmemiş fiş ve uygun priz elektrik
elektrikli el aletinin kapal olduğundan
çarpma tehlikesini azaltr.
emin olun. Elektrikli el aletini parmağnz
b) Borular, kalorifer petekleri, stclar ve
şalter üzerinde dururken taşrsanz ve alet
buzdolaplar gibi topraklanmş yüzey-
açkken fişi prize sokarsanz kazalara
lerle bedensel temasa gelmekten kaç-
neden olabilirsiniz.
nn. Bedeniniz topraklandğ anda büyük
d) Elektrikli el aletini çalştrmadan önce
bir elektrik çarpma tehlikesi ortaya çkar.
ayar aletlerini veya anahtarlar aletten
c) Aleti yağmur altnda veya nemli ortam-
çkarn. Aletin dönen parçalar içinde
larda brakmayn. Suyun elektrikli el aleti
bulunabilecek bir yardmc alet yaralan-
içine szmas elektrik çarpma tehlikesini
malara neden olabilir.
artrr.
Bosch Power Tools 3 609 929 B97 | (25.8.10)

OBJ_BUCH-55-004.book Page 80 Wednesday, August 25, 2010 1:39 PM
80 | Türkçe
e) Çalşrken bedeniniz anormal durumda
dan önce hasarl parçalar onartn. Birçok
olmasn. Çalşrken duruşunuz güvenli
iş kazas elektrikli el aletlerinin kötü
olsun ve dengenizi her zaman koruyun.
bakmndan kaynaklanr.
Bu sayede aleti beklenmedik durumlarda
f) Kesici uçlar daima keskin ve temiz
daha iyi kontrol edebilirsiniz.
tutun. Özenle bakm yaplmş keskin
f) Uygun iş elbiseleri giyin. Geniş giysiler
kenarl kesme uçlarnn malzeme içinde
giymeyin ve tak takmayn. Saçlarnz,
skşma tehlikesi daha azdr ve daha rahat
giysileriniz ve eldivenlerinizi aletin
kullanm olanağ sağlarlar.
hareketli parçalarndan uzak tutun. Bol
g) Elektrikli el aletini, aksesuar, uçlar ve
giysiler, uzun saçlar veya taklar aletin
benzerlerini, bu özel tip alet için öngö-
hareketli parçalar tarafndan tutulabilir.
rülen talimata göre kullann. Bu srada
g) Toz emme donanm veya toz tutma terti-
çalşma koşullarn ve yaptğnz işi dik-
bat kullanrken, bunlarn bağl olduğun-
kate aln. Elektrikli el aletlerinin kendileri
dan ve doğru kullanldğndan emin olun.
için öngörülen alann dşnda kullanlmas
Toz emme donanmnn kullanm tozdan
tehlikeli durumlara neden olabilir.
kaynalanabilecek tehlikeleri azaltr.
5) Servis
4) Elektrikli el aletlerinin özenle kullanm ve
a) Elektrikli el aletinizi sadece yetkili per-
bakm
sonele ve orijinal yedek parça kullanma
a) Aleti aşr ölçede zorlamayn. Yaptğnz
koşulu ile onartn. Bu sayede aletin gü-
işe uygun elektrikli el aletleri kullann.
venliğini sürekli hale getirirsiniz.
Uygun performansl elektrikli el aleti ile,
belirlenen çalşma alannda daha iyi ve
Sünger kesme makineleri için güvenlik
güvenli çalşrsnz.
talimat
b) Şalteri bozuk olan elektrikli el aletini kul-
f Alet ucunun görünmeyen elektrik kablolar-
lanmayn. Açlp kapanamayan bir elekt-
na veya aletin kendi şebeke bağlant kablo-
rikli el aleti tehlikelidir ve onarlmaldr.
suna rastlama olaslğ bulunan işleri yapar-
c) Alette bir ayarlama işlemine başlamadan
ken elektrikli el aletini izolasyonlu tutama-
ve/veya aküyü çkarmadan önce, her-
ğndan tutun. Gerilim ileten kablolarla temas
hangi bir aksesuar değiştirirken veya
elektrikli el aletinin metal parçalarn da
aleti elinizden brakrken fişi prizden
elektrik akmna maruz brakabilir ve elektrik
çekin. Bu önlem, elektrikli el aletinin
çarpmasna neden olabilir.
yanlşlkla çalşmasn önler.
f Ellerinizi kesme yaplan yerden uzak tutun.
d) Kullanm dş duran elektrikli el aletlerini
İş parçasn alttan kavramayn. Testere
çocuklarn ulaşamayacağ bir yerde sak-
bçağ ile temas yaralanmalara neden olabilir.
layn. Aleti kullanmay bilmeyen veya bu
kullanm klavuzunu okumayan kişilerin
aletle çalşmasna izin vermeyin. Dene-
Fonksiyon tanm
yimsiz kişiler tarafndan kullanldğnda
elektrikli el aletleri tehlikelidir.
Bütün uyarlar ve talimat hükümle-
e) Elektrikli el aletinizin bakmn özenle
rini okuyun. Açklanan uyarlara ve
yapn. Elektrikli el aletinizin kusursuz
talimat hükümlerine uyulmadğ tak-
olarak işlev görmesini engelleyebilecek
dirde elektrik çarpmalarna, yangn-
bir durumun olup olmadğn, hareketli
lara ve/veya ağr yaralanmalara
parçalarn kusursuz olarak işlev görüp
neden olunabilir.
görmediklerini ve skşp skşmadk-
Lütfen aletin resminin göründüğü sayfay açn ve
larn, parçalarn hasarl olup olmadğn
bu kullanm klavuzunu okuduğunuz sürece bu
kontrol edin. Aleti kullanmaya başlama-
sayfay açk tutun.
3 609 929 B97 | (25.8.10) Bosch Power Tools

OBJ_BUCH-55-004.book Page 81 Wednesday, August 25, 2010 1:39 PM
Türkçe | 81
Usulüne uygun kullanm
Gürültü/Titreşim bilgisi
Bu elektrikli el aleti; istenen biçimdeki suni
Gürültüye ait ölçme değerleri EN 60745’e göre
sünger, lastik sünger ve benzeri malzemenin
tespit edilmektedir.
kesilmesi için tasarlanmştr.
Aletin A olarak değerlendirilen gürültü seviyesi
tipik olarak şöyledir: Ses basnc seviyesi
Şekli gösterilen elemanlar
81 dB(A); gürültü emisyonu seviyesi 92 dB(A).
Şekli gösterilen elemanlarn numaralar grafik
Tolerans K=3 dB.
sayfasndaki elektrikli el aleti resmindeki
Koruyucu kulaklk kullann!
numaralarla ayndr.
Toplam titreşim değeri (üç yönün vekör toplam)
1 Açma/kapama şalteri
EN 60745’e göne tespit edilmiştir:
Titreşim emisyon değeri a
=2,5 m/s
2
h
, tolerans
2 Testere bçağ klavuzu*
K=1,5m/s
2
.
3 Testere bçağ çifti*
Bu talimatta belirtilen titreşim seviyesi
4 Taban levhas
EN 60745’e göre normlandrlmş bir ölçme
5 Tutamak (izolasyonlu tutamak yüzeyi)
yöntemi ile tespit edilmiştir ve elektrikli el
6 Vida
aletlerinin karşlaştrlmasnda kullanlabilir. Bu
7 Kapak
değer geçici olarak titreşim seviyesinin tahmin
8 Trtll vida
edilmesine uygundur.
9 Taban levhas için germe vidas
Belirtilen titreşim seviyesi elektrikli el aletinin
temel kullanm alanlarn temsil eder. Ancak
*Şekli gösterilen veya tanmlanan aksesuar standart
teslimat kapsamnda değildir. Aksesuarn tümünü
elektrikli el aleti başka kullanm alanlarnda
aksesuar programmzda bulabilirsiniz.
kullanlrken, farkl uçlarla kullanlrken veya
yetersiz bakmla kullanlrken, titreşim seviyesi
belirtilen değerden farkl olabilir. Bu da toplam
Teknik veriler
çalşma süresi içindeki titreşim yükünü önemli
Sünger kesme
GSG 300
ölçüde artrabilir.
testeresi
Professional
Titreşim yükünü tam olarak tahmin edebilmek
için aletin kapal olduğu veya çalştğ halde
Ürün kodu
0 601 575 1..
kullanlmadğ süreler de dikkate alnmaldr. Bu,
Giriş gücü
W 350
toplam çalşma süresi içindeki titreşim yükünü
önemli ölçüde azaltabilir.
Çkş gücü
W 185
Titreşimin kullancya bindirdiği yük için
Boştaki strok says
önceden ek güvenlik önlemleri aln. Örneğin:
n
0
strok/dak 3200
Elektrikli el aletinin ve uçlarn bakm, ellerin
Yükteki strok says
strok/dak 2100
scak tutulmas, iş aşamalarnn organize
edilmesi.
Maks. kesme
derinliği
mm 300
Ağrlğ EPTA-Pro-
cedure 01/2003’e
göre
kg 1,6
Koruma snf
/II
Veriler 230 V’luk bir anma gerilimi [U] için geçerlidir.
Farkl gerilimlerde ve farkl ülkelere özgü tiplerde bu
veriler değişebilir.
Lütfen elektrikli el aletinizin tip etiketi üzerindeki ürün
koduna dikkat edin. Tek tek aletlerin ticari kodlar
değişik olabilir.
Bosch Power Tools 3 609 929 B97 | (25.8.10)

OBJ_BUCH-55-004.book Page 82 Wednesday, August 25, 2010 1:39 PM
82 | Türkçe
Uygunluk beyan
Testere bçaklarnn taklmas ve
Tek sorumlu olarak “Teknik veriler” bölümünde
değiştirilmesi (Baknz: Şekil B)
tanmlanan ürünün aşağdaki norm veya nor-
f Testere bçağn takarken koruyucu eldiven
matif belgelere uygunluğunu beyan ederiz:
kullann. Testere bçağna temas
2004/108/AT, 2006/42/AT yönetmelik
yaralanmalara neden olabilir.
hükümleri uyarnca EN 60745.
Trtll vidalar 8 gevşetin ve bunlar yayl
Teknik belgelerin bulunduğu merkez:
halkalarla ve kapakla 7 birlikte aln.
Robert Bosch GmbH, PT/ESC,
n Testere bçağ çiftini 3 önce testere bçağ
D-70745 Leinfelden-Echterdingen
klavuzunun 2 altna yerleştirin. Bu srada
Dr. Egbert Schneider
Dr. Eckerhard Strötgen
testere bçaklarnn uzunlamasna
Senior Vice President
Head of Product
oluklarnn testere bçağ klavuzunun klavuz
Engineering
Certification
pimini kavramasna dikkat edin.
o Daha sonra testere bçağ çiftini 3 sürücü da-
yamağna öyle yerleştirin ki, testere bçaklar
giriş klavuzuna kusursuz biçimde otursun.
Robert Bosch GmbH, Power Tools Division
D-70745 Leinfelden-Echterdingen
Kapağ 7 gövdedeki dişli pime yerleştirin ve
Leinfelden, 17.05.2010
bunu trtll vidalarla 8 ile skn. Yayl rondelalarn
alta yerleştirilmiş olmasna dikkat edin.
Montaj
Taban levhasnn taklmas
f Elektrikli el aletinin kendinde bir çalşma
(Baknz: Şekil C)
yapmadan önce her defasnda fişi prizden
Testere bçağ klavuzunu 2 taban levhasnnn 4
çekin.
ilgili oluğuna yerleştirin. Germe vidasn 9 skn.
Testere bçağ klavuzunun taklmas
Toz ve talaş emme
(Baknz: Şekil A)
f Kurşun içeren boyalar, baz ahşap türleri,
Vidalar gövdeden gevşetin 6 ve aln. Testere
mineraller ve metaller gibi maddeler işlenir-
bçağ klavuzunu 2 gövdeye öyle yerleştirin ki,
ken ortaya çkan toz sağlğa zararl olabilir.
takma pimleri ilgili delikleri girsin. Testere bçağ
Bu tozlara temas etmek veya bu tozlar solu-
klavuzunu 2 vidalarla 6 gödeye skca vidalayn.
mak allerjik reaksiyonlara ve/veya kullanc-
nn veya onun yaknndaki kişilerin nefes alma
yollarndaki hastalklara neden olabilir.
Kayn veya meşe gibi baz ağaç tozlar kanse-
rojen etkiye sahiptir, özellikle de ahşap
işleme sanayiinde kullanlan katk maddeleri
(kromat, ahşap koruyucu maddeler) ile
birlikte. Asbest içeren malzemeler sadece
uzmanlar tarafndan işlenmelidir.
– Mümkün olduğu kadar işlediğiniz malzeme-
ye uygun bir toz emme tertibat kullann.
– Çalşma yerinizi iyi bir biçimde
havalandrn.
– P2 filtre snf filtre takl soluk alma
maskesi kullanmanz tavsiye ederiz.
İşlenen malzemelere ait ülkenizdeki geçerli
yönetmelik hükümlerine uyun.
3 609 929 B97 | (25.8.10) Bosch Power Tools

OBJ_BUCH-55-004.book Page 83 Wednesday, August 25, 2010 1:39 PM
Türkçe | 83
İşletim
Köpüklü malzemenin işlenmesi
Öncelikle köpüklü malzemeden ve benzeri
Çalştrma
malzemeden tam ve hassas içten kesmeler
yapmak için makul bir hzla çalşn. Çalşrken
f Şebeke gerilimine dikkat edin! Akm
malzemeye fazla bastrmayn veya malzemeyi
kaynağnn gerilimi elektrikli el aletinin tip
aşr ölçüde esnetmeyin.
etiketi üzerindeki verilere uygun olmaldr.
230 V ile işaretlenmiş elektrikli el aletleri
Küçük içten kesme işleri için taban levhasn
220 V ile de çalştrlabilir.
çkan. Malzemeyi önce bir bçak veya makasla
delin, sonra testere bçağ klavuzunu deliğe
Açma/kapama
yerleştirin ve içten kesme işine başlayn.
Aleti çalştrmak için açma/kapama şalterine 1
Büyük içten kesmeler için klavuz deliği testere
basn ve şalteri basl tutun.
bçağ klavuzu taban levhas ile birlikte girecek
Basl bulunan açma/kapama şalterini 1 sabitle-
ölçüde açn. Bu srada tabanda bir engelin
mek için açma/kapama şalterini 1 arkaya itin.
bulunmamasna dikkat edin. Elektrikli el aletini
makul bir kuvvet ve hzla kesme çizgisi üzerinde
Elektrikli el aletini kapatmak için açma/kapama
hareket ettirin.
şalterini 1 brakn veya kilitli ise açma/kapama
şalterine 1 ksa süre basn ve şalteri brakn.
Çalşrken dikkat edilecek hususlar
Bakm ve servis
f Elektrikli el aletinin kendinde bir çalşma
yapmadan önce her defasnda fişi prizden
Bakm ve temizlik
çekin.
f Elektrikli el aletinin kendinde bir çalşma
yapmadan önce her defasnda fişi prizden
Testere bçaklar ve testere bçağ klavuzlar
çekin.
İşlenecek malzeme kalnlğna göre çeşitli
f İyi ve güvenli çalşabilmek için elektrikli el
testere bçağ klavuzlar ve bunlara ait testere
aletini ve havalandrma deliklerini daima
bçaklar kullanlabilir, bu konu için aksesuarn
temiz tutun.
genel görünüş sayasna bakn.
Testere bçağ klavuzunu ve testere bçaklarn
Kayc makaral taban levhas
düzenli olarak temizleyin, bu temizliği yaklaşk
Sürger kesme testeresini taban levhas ile
her 8 saatlik çalşmadan sonra yapn. Bu
birlikte veya taban levhas olmadan da
temizliği yapmak için testere bçağn elektrikli el
kullanabilirsiniz. Kayc makara ile donatlmş
aletinden aln ve testere bçağn mümkünse
taban levhas testerenin rahat ve dik açl olarak
benzinle temizleyin. Testere bçağ klavuzunu
yönlendirilmesine olanak sağlar.
temizlerken gerektiğinde bir raspa kullann. Yeni
İstediğiniz biçimleri elde etmek için ve içten
veya bilenmiş bir testere bçaklarn takmadan
kesme işleri için taban levhas olamdan daha iyi
önce testere bçağ klavuzunu hafifçe yağlayn.
çalşrsnz.
Dikkatli biçimde yürütülen üretim ve test
yöntemlerine rağmen elektrikli el aleti arza
yapacak olursa, onarm Bosch elektrikli aletleri
için yetkili bir serviste yaplmaldr.
Bütün başvuru ve yedek parça siparişlerinizde
mutlaka aletinizin tip etiketindeki 10 haneli ürün
kodunu belirtiniz.
Bosch Power Tools 3 609 929 B97 | (25.8.10)

OBJ_BUCH-55-004.book Page 84 Wednesday, August 25, 2010 1:39 PM
84 | Türkçe
Müşteri servisi ve müşteri danşmanlğ
Tasfiye
Müşteri servisleri ürününüzün onarm ve bakm
Elektrikli el aleti, aksesuar ve ambalaj malzemesi
ile yedek parçalarna ait sorularnz yantlan-
çevre dostu bir yöntemle tasfiye edilmek üzere
drr. Demonte görünüşler ve yedek parçalara ait
tekrar kazanm merkezine gönderilmelidir.
bilgileri şu adreste de bulabilirsiniz:
Elektrikli el aletlerini evsel çöplerin içine
www.bosch-pt.com
atmayn!
Bosch müşteri servisi timi satn alacağnz ürü-
nün özellikleri, bu ürünün kullanm ve ayar
Sadece AB üyesi ülkeler için:
işlemleri hakkndaki sorularnz ile yedek parça-
2002/96/AT yönetmeliği ve bunun
larna ait sorularnz memnuniyetle yantlandrr.
ulusal hukuka uyarlanmş
hükümleri uyarnca kullanm
Türkçe
ömrünü tamamlamş elektrikli ve
Bosch San. ve Tic. A.S.
elektronik aletler ayr ayr
Ahi Evran Cad. No:1 Kat:22
toplanmak ve çevre dostu tasfiye
Polaris Plaza
için geri dönüşüm merkezine
80670 Maslak/Istanbul
yollanmak zorundadr.
Müşteri Danşman: +90 (0212) 335 06 66
Müşteri Servis Hatt: +90 (0212) 335 07 52
Değişiklik haklarmz sakldr.
3 609 929 B97 | (25.8.10) Bosch Power Tools

OBJ_BUCH-55-004.book Page 85 Wednesday, August 25, 2010 1:39 PM
Polski | 85
pl
Wskazówki bezpieczeństwa
c) Urządzenie należy zabezpieczyć przed
deszczem i wilgocią. Przedostanie się
wody do elektronarzędzia podwyższa
Ogólne przepisy bezpieczeństwa dla
ryzyko porażenia prądem.
elektronarzędzi
d) Nigdy nie należy używać przewodu do in-
Należy przeczytać wszyst-
nych czynności. Nigdy nie należy nosić
kie wskazówki i przepisy.
elektronarzędzia, trzymając je za prze-
Błędy w przestrzeganiu poniższych wskazówek
wód, ani używać przewodu do zawiesze-
mogą spowodować porażenie prądem, pożar
nia urządzenia; nie wolno też wyciągać
i/lub ciężkie obrażenia ciała.
wtyczki z gniazdka pociągając za prze-
Należy starannie przechowywać wszystkie
wód. Przewód należy chronić przed
przepisy i wskazówki bezpieczeństwa dla dal-
wysokimi temperaturami, należy go trzy-
szego zastosowania.
mać z dala od oleju, ostrych krawędzi
Użyte w poniższym tekście pojęcie „elektrona-
lub ruchomych części urządzenia.
rzędzie“ odnosi się do elektronarzędzi zasila-
Uszkodzone lub splątane przewody zwię-
nych energią elektryczną z sieci (z przewodem
kszają ryzyko porażenia prądem.
zasilającym) i do elektronarzędzi zasilanych aku-
e) W przypadku pracy elektronarzędziem
mulatorami (bez przewodu zasilającego).
pod gołym niebem, należy używać prze-
1) Bezpieczeństwo miejsca pracy
wodu przedłużającego, dostosowanego
a) Stanowisko pracy należy utrzymywać
również do zastosowań zewnętrznych.
w czystości i dobrze oświetlone. Niepo-
Użycie właściwego przedłużacza
rządek w miejscu pracy lub nieoświetlona
(dostosowanego do pracy na zewnątrz)
przestrzeń robocza mogą być przyczyną
zmniejsza ryzyko porażenia prądem.
wypadków.
f) Jeżeli nie da się uniknąć zastosowania
b) Nie należy pracować tym elektronarzę-
elektronarzędzia w wilgotnym otocze-
dziem w otoczeniu zagrożonym wybu-
niu, należy użyć wyłącznika ochronnego
chem, w którym znajdują się np. łatwo-
różnicowo-prądowego. Zastosowanie
palne ciecze, gazy lub pyły. Podczas
wyłącznika ochronnego różnicowo-prądo-
pracy elektronarzędziem wytwarzają się
wego zmniejsza ryzyko porażenia prądem.
iskry, które mogą spowodować zapłon.
3) Bezpieczeństwo osób
c) Podczas użytkowania urządzenia zwrócić
a) Podczas pracy z elektronarzędziem na-
uwagę na to, aby dzieci i inne osoby
leży zachować ostrożność, każdą czyn-
postronne znajdowały się w bezpiecznej
ność wykonywać uważnie i z rozwagą.
odległości. Odwrócenie uwagi może spo-
Nie należy używać elektronarzędzia, gdy
wodować utratę kontroli nad narzędziem.
jest się zmęczonym lub będąc pod
2) Bezpieczeństwo elektryczne
wpływem narkotyków, alkoholu lub
a) Wtyczka elektronarzędzia musi pasować
lekarstw. Moment nieuwagi przy użyciu
do gniazda. Nie wolno zmieniać wtyczki
elektronarzędzia może stać się przyczyną
w jakikolwiek sposób. Nie wolno używać
poważnych urazów ciała.
wtyków adapterowych w przypadku elek-
b) Należy nosić osobiste wyposażenie
tronarzędzi z uziemieniem ochronnym.
ochronne i zawsze okulary ochronne. No-
Niezmienione wtyczki i pasujące gniazda
szenie osobistego wyposażenia ochron-
zmniejszają ryzyko porażenia prądem.
nego – maski przeciwpyłowej, obuwia
b) Należy unikać kontaktu z uziemionymi
z podeszwami przeciwpoślizgowymi,
powierzchniami jak rury, grzejniki, piece
kasku ochronnego lub środków ochrony
i lodówki. Ryzyko porażenia prądem jest
słuchu (w zależności od rodzaju i zastoso-
większe, gdy ciało użytkownika jest uzie-
wania elektronarzędzia) – zmniejsza
mione.
ryzyko obrażeń ciała.
Bosch Power Tools 3 609 929 B97 | (25.8.10)

OBJ_BUCH-55-004.book Page 86 Wednesday, August 25, 2010 1:39 PM
86 | Polski
c) Należy unikać niezamierzonego urucho-
c) Przed regulacją urządzenia, wymianą
mienia narzędzia. Przed włożeniem wty-
osprzętu lub po zaprzestaniu pracy narzę-
czki do gniazdka i/lub podłączeniem do
dziem, należy wyciągnąć wtyczkę
akumulatora, a także przed podniesie-
z gniazda i/lub usunąć akumulator. Ten
niem lub przeniesieniem elektronarzę-
środek ostrożności zapobiega niezamierzo-
dzia, należy upewnić się, że elektrona-
nemu włączeniu się elektronarzędzia.
rzędzie jest wyłączone. Trzymanie palca
d) Nieużywane elektronarzędzia należy
na wyłączniku podczas przenoszenia elek-
przechowywać w miejscu niedostępnym
tronarzędzia lub podłączenie do prądu
dla dzieci. Nie należy udostępniać narzę-
włączonego narzędzia, może stać się przy-
dzia osobom, które go nie znają lub nie
czyną wypadków.
przeczytały niniejszych przepisów.
d) Przed włączeniem elektronarzędzia, na-
Używane przez niedoświadczone osoby
leży usunąć narzędzia nastawcze lub klu-
elektronarzędzia są niebezpieczne.
cze. Narzędzie lub klucz, znajdujący się
e) Konieczna jest należyta konserwacja
w ruchomych częściach urządzenia mogą
elektronarzędzia. Należy kontrolować,
doprowadzić do obrażeń ciała.
czy ruchome części urządzenia działają
e) Należy unikać nienaturalnych pozycji
bez zarzutu i nie są zablokowane, czy
przy pracy. Należy dbać o stabilną pozy-
części nie są pęknięte lub uszkodzone
cję przy pracy i zachowanie równowagi.
w taki sposób, który miałby wpływ na
W ten sposób możliwa będzie lepsza kon-
prawidłowe działanie elektronarzędzia.
trola elektronarzędzia w nieprzewidzia-
Uszkodzone części należy przed użyciem
nych sytuacjach.
urządzenia oddać do naprawy. Wiele
f) Należy nosić odpowiednie ubranie. Nie
wypadków spowodowanych jest przez
należy nosić luźnego ubrania ani biżuterii.
niewłaściwą konserwację elektro-
Włosy, ubranie i rękawice należy trzymać
narzędzi.
z daleka od ruchomych części. Luźne
f) Należy stale dbać o ostrość i czystość na-
ubranie, biżuteria lub długie włosy mogą
rzędzi tnących. O wiele rzadziej dochodzi
zostać wciągnięte przez ruchome części.
do zakleszczenia się narzędzia tnącego,
g) Jeżeli istnieje możliwość zamontowania
jeżeli jest ono starannie utrzymane. Zad-
urządzeń odsysających i wychwytują-
bane narzędzia łatwiej się też prowadzi.
cych pył, należy upewnić się, że są one
g) Elektronarzędzia, osprzęt, narzędzia
podłączone i będą prawidłowo użyte.
pomocnicze itd. należy używać zgodnie
Użycie urządzenia odsysającego pył może
z niniejszymi zaleceniami. Uwzględnić
zmniejszyć zagrożenie pyłami.
należy przy tym warunki i rodzaj wykony-
wanej pracy. Niezgodne z przeznacze-
4) Prawidłowa obsługa i eksploatacja elektro-
niem użycie elektronarzędzia może dopro-
narzędzi
wadzić do niebezpiecznych sytuacji.
a) Nie należy przeciążać urządzenia. Do
pracy używać należy elektronarzędzia,
5) Serwis
które są do tego przewidziane. Odpo-
a) Naprawę elektronarzędzia należy zlecić
wiednio dobranym elektronarzędziem
jedynie wykwalifikowanemu fachowcowi
pracuje się w danym zakresie wydajności
i przy użyciu oryginalnych części zamien-
lepiej i bezpieczniej.
nych. To gwarantuje, że bezpieczeństwo
b) Nie należy używać elektronarzędzia,
urządzenia zostanie zachowane.
którego włącznik/wyłącznik jest uszko-
dzony. Elektronarzędzie, którego nie
można włączyć lub wyłączyć jest niebez-
pieczne i musi zostać naprawione.
3 609 929 B97 | (25.8.10) Bosch Power Tools

OBJ_BUCH-55-004.book Page 87 Wednesday, August 25, 2010 1:39 PM
Polski | 87
Wskazówki dotyczące bezpieczeństwa
Przedstawione graficznie komponenty
pracy z pilarkami do cięcia tworzyw
Numeracja przedstawionych graficznie kompo-
piankowych
nentów odnosi się do schematu elektronarzę-
f Podczas wykonywania prac, przy których
dzia na stronach graficznych.
narzędzie robocze mogłoby natrafić na
1 Włącznik/wyłącznik
ukryte przewody elektryczne lub na własny
2 Prowadnica brzeszczotu*
przewód zasilający, elektronarzędzie
należy trzymać za izolowane powierzchnie
3 Para brzeszczotów*
rękojeści. Kontakt z przewodem sieci
4 Stopka
zasilającej może spowodować przekazanie
5 Rękojeść (pokrycie gumowe)
napięcia na części metalowe
6 Śruba
elektronarzędzia, co mogłoby spowodować
7 Osłona
porażenie prądem elektrycznym.
8 Sruba radełkowana
f Ręce należy trzymać z daleka od zakresu
9 Sruba mocująca dla stopki
cięcia. Nie wsuwać ich pod obrabiany
przedmiot. Przy kontakcie z brzeszczotem
*Przedstawiony na rysunkach lub opisany w instrukcji
istnieje niebezpieczeństwo zranienia się.
użytkowania osprzęt nie wchodzi w skład
wyposażenia standardowego. Kompletny asortyment
wyposażenia dodatkowego można znaleźć w naszym
katalogu osprzętu.
Opis funkcjonowania
Dane techniczne
Należy przeczytać wszystkie wska-
zówki i przepisy. Błędy w przestrze-
Piła do tworzyw
GSG 300
ganiu poniższych wskazówek mogą
piankowych
Professional
spowodować porażenie prądem,
pożar i/lub ciężkie obrażenia ciała.
Numer katalogowy
0 601 575 1..
Należy otworzyć rozkładaną stronę z rysunkiem
Moc znamionowa
W 350
urządzenia i pozostawić ją rozłożoną podczas
Moc wyjściowa
W 185
czytania instrukcji obsługi.
Prędkość skokowa bez
obciążenia n
min
-1
0
3200
Użycie zgodne z przeznaczeniem
Ilość skoków pod
Elektronarzędzie przewidziane jest do cięcia
obciążeniem
min
-1
2100
tworzyw piankowych o dowolnych kształtach,
gumy piankowej i podobnych materiałów.
maks. głębokość cięcia
mm 300
Ciężar odpowiednio do
EPTA-Procedure
01/2003
kg 1,6
Klasa ochrony
/II
Dane aktualne są dla napięcia znamionowego [U]
230 V. Przy napięciach odbiegających od powyższego
i w przypadku modeli specyficznych dla danego kraju
dane te mogą się różnić.
Należy zwracać uwagę na numer katalogowy na tablicz-
ce znamionowej nabytego elektronarzędzia. Nazwy
handlowe poszczególnych elektronarzędzi mogą się
różnić.
Bosch Power Tools 3 609 929 B97 | (25.8.10)

OBJ_BUCH-55-004.book Page 88 Wednesday, August 25, 2010 1:39 PM
88 | Polski
Informacja na temat hałasu i wibracji
Deklaracja zgodności
Wartości pomiarowe hałasu określono zgodnie
Oświadczamy z pełną odpowiedzialnością, że
z normą EN 60745.
produkt, przedstawiony w „Dane techniczne“,
Określony wg skali A poziom hałasu emitowa-
odpowiada wymaganiom następujących norm
nego przez urządzenie wynosi standardowo: po-
i dokumentów normatywnych:
ziom ciśnienia akustycznego 81 dB(A); poziom
EN 60745 – zgodnie z wymaganiami dyrektyw:
mocy akustycznej 92 dB(A). Niepewność pomia-
2004/108/WE, 2006/42/WE.
ru K=3 dB.
Dokumentacja techniczna:
Stosować środki ochrony słuchu!
Robert Bosch GmbH, PT/ESC,
Wartości łączne drgań (suma wektorowa dla
D-70745 Leinfelden-Echterdingen
trzech składowych kierunkowych) wyznaczone
Dr. Egbert Schneider
Dr. Eckerhard Strötgen
zgodnie z normą EN 60745 wynoszą:
Senior Vice President
Head of Product
wartość emisji drgań a
2
h
=2,5 m/s
, błąd pomiaru
Engineering
Certification
K=1,5m/s
2
.
Podany w niniejszej instrukcji poziom drgań
pomierzony został zgodnie z określoną przez
normę EN 60745 procedurą pomiarową i może
Robert Bosch GmbH, Power Tools Division
zostać użyty do porównywania elektronarzędzi.
D-70745 Leinfelden-Echterdingen
Można go też użyć do wstępnej oceny ekspozycji
Leinfelden, 17.05.2010
na drgania.
Podany poziom drgań jest reprezentatywny dla
podstawowych zastosowań elektronarzędzia.
Montaż
Jeżeli elektronarzędzie użyte zostanie do innych
zastosowań lub z innymi narzędziami roboczymi,
f Przed wszystkimi pracami przy elektro-
a także jeśli nie będzie wystarczająco konserwo-
narzędziu należy wyciągnąć wtyczkę z gnia-
wane, poziom drgań może odbiegać od poda-
zda.
nego. Podane powyżej przyczyny mogą spowo-
dować podwyższenie ekspozycji na drgania
Montaż prowadnicy brzeszczotu
podczas całego czasu pracy.
(zob. rys. A)
Aby dokładnie ocenić ekspozycję na drgania,
trzeba wziąć pod uwagę także okresy, gdy urzą-
Należy odkręcić śruby 6 od obudowy i odjąć.
dzenie jest wyłączone, lub gdy jest wprawdzie
Prowadnicę brzeszczotu 2 nasadzić na obudowę
włączone, ale nie jest używane do pracy. W ten
tak, by trzpienie weszły w odpowiednie otwory.
sposób łączna (obliczana na pełny wymiar czasu
Przykręcić prowadnicę brzeszczotu 2 śrubami 6
pracy) ekspozycja na drgania może okazać się
do obudowy.
znacznie niższa.
Należy wprowadzić dodatkowe środki bez-
pieczeństwa, mające na celu ochronę operatora
przed skutkami ekspozycji na drgania, np.: kon-
serwacja elektronarzędzia i narzędzi roboczych,
zabezpieczenie odpowiedniej temperatury rąk,
ustalenie kolejności operacji roboczych.
3 609 929 B97 | (25.8.10) Bosch Power Tools

OBJ_BUCH-55-004.book Page 89 Wednesday, August 25, 2010 1:39 PM
Polski | 89
– W razie możliwości należy stosować
Montaż/wymiana brzeszczotów
odsysanie pyłu dostosowane do rodzaju
(zob. rys. B)
obrabianego materiału.
f Przy montażu brzeszczotu należy nosić
– Należy zawsze dbać o dobrą wentylację
rękawice ochronne. Dotknięcie brzeszczotu
stanowiska pracy.
może spowodować niebezpieczne
– Zaleca się noszenie maski przeciwpyłowej
skaleczenia.
z pochłaniaczem klasy P2.
Zwolnić śruby radełkowane 8 i odjąć wraz z pod-
Należy stosować się do aktualnie obowiązu-
kładkami sprężystymi i osłoną 7.
jących w danym kraju przepisów, regulują-
cych zasady obchodzenia się z materiałami
n Najpierw należy włożyć parę brzeszczotów 3
przeznaczonymi do obróbki.
na dole w prowadnicę brzeszczotu 2. Należy
uważać przy tym, by szczeliny podłużne
brzeszczotów zaskoczyły w trzpieniu
prowadzącym prowadnicy brzeszczotów.
Praca
o Następnie parę brzeszczotów 3 należy wsta-
Uruchamianie
wić tak w czop zabierakowy, aby brzeszczo-
ty osadzone były prawidłowo w prowadnicy
f Należy zwrócić uwagę na napięcie sieci! Na-
uchwytu.
pięcie źródła prądu musi zgadzać się z da-
nymi na tabliczce znamionowej elektrona-
Osłonę 7 należy nasadzić na trzpienie
rzędzia. Elektronarzędzia przeznaczone do
gwintowane na obudowie i umocować śrubami
pracy pod napięciem 230 V można
radełkowanymi 8. Należy upewnić się, że
przyłączać również do sieci 220 V.
podłożone są podkładki sprężyste.
Włączanie/wyłączanie
Monatż stopki (zob. rys. C)
W celu włączenia elektronarzędzia nacisnąć
włącznik/wyłącznik 1 i przytrzymać w tej pozycji.
Prowadnicę brzeszczotu 2 należy włożyć w od-
powiedni otwór stopki 4. Srubę mocującą 9
W celu unieruchomienia wciśniętego
należy dokręcić.
włącznika/wyłącznika 1 należy włącznik/
wyłącznik 1 przesunąć do tyłu.
W celu wyłączenia elektronarzędzia, należy
Odsysanie pyłów/wiórów
włącznik/wyłącznik 1 zwolnić lub, gdy jest on
f Pyły niektórych materiałów, na przykład
unieruchomiony, włącznik/wyłącznik 1 krótko
powłok malarskich z zawartością ołowiu,
nacisnąć i następnie zwolnić.
niektórych gatunków drewna, minerałów lub
niektórych rodzajów metalu, mogą stanowić
Wskazówki dotyczące pracy
zagrożenie dla zdrowia. Bezpośredni kontakt
f Przed wszystkimi pracami przy elektrona-
fizyczny z pyłami lub przedostanie się ich do
rzędziu należy wyciągnąć wtyczkę z gniazda.
płuc może wywołać reakcje alergiczne i/lub
choroby układu oddechowego operatora lub
Brzeszczoty i prowadnice brzeszczotów
osób znajdujących się w pobliżu.
W zależności od grubości obrabianego mate-
Niektóre rodzaje pyłów, np. dębiny lub bu-
riału można używać różnych prowadnic brzesz-
czyny uważane są za rakotwórcze,
czotów i należących do nich brzeszczotów;
szczególnie w połączeniu z substancjami do
w tym celu patrz: przegląd z osprzętem.
obróbki drewna (chromiany, impregnaty do
drewna). Materiały, zawierające azbest mogą
Stopka z rolkami
być obrabiane jedynie przez odpowiednio
Piłę do tworzyw piankowych można używać z lub
przeszkolony personel.
bez stopki. Wyposażona w rolki stopka pozwala
na lekkie prowadzenie piły pod kątem prostym.
W celu cięcia dowolnych kształtów i wykonywa-
nia wykrojów pracuje się najlepiej bez stopki.
Bosch Power Tools 3 609 929 B97 | (25.8.10)

OBJ_BUCH-55-004.book Page 90 Wednesday, August 25, 2010 1:39 PM
90 | Polski
Obróbka materiału piankowego
Obsługa klienta oraz doradztwo
W celu wykonywania dokładnych wykrojów,
techniczne
przede wszystkim w miękkich materiałach pian-
kowych i podobnych należy pracować z umiar-
Ze wszystkimi pytaniami, dotyczącymi naprawy
kowanym posuwem. Nie należy za mocno naci-
i konserwacji nabytego produktu oraz dostępu
skać na materiał lub rozciągać go podczas
do części zamiennych prosimy zwracać się do
obróbki.
punktów obsługi klienta. Rysunki techniczne
oraz informacje o częściach zamiennych można
W celu wykonywania małych wykrojów należy
znaleźć pod adresem:
stopkę odjąć. Nakłuć materiał nożem lub
www.bosch-pt.com
nożycami, następnie włożyć prowadnicę
Zespół doradztwa technicznego firmy Bosch
brzeszczotu w otwór i obrabiać wykrój.
służy pomocą w razie pytań związanych z zaku-
W celu wykonywania większych wykrojów
pem produktu, jego zastosowaniem oraz regu-
należy wybrać tak duży otwór nakłucia, by
lacją urządzeń i osprzętu.
można było przetknąć przez niego prowadnicę
brzeszczotu wraz ze stopką. Przy tym należy
Polska
uważać na to, by na podłożu nie znajdowały się
Robert Bosch Sp. z o.o.
żadne przeszkody. Elektronarzędzie należy
Serwis Elektronarzędzi
prowadzić z umiarkowanym posuwem wzdłuż
Ul. Szyszkowa 35/37
linii wykroju.
02-285 Warszawa
Tel.: +48 (022) 715 44 60
Faks: +48 (022) 715 44 41
Konserwacja i serwis
E-Mail: bsc@pl.bosch.com
Infolinia Działu Elektronarzędzi:
Konserwacja i czyszczenie
+48 (801) 100 900
(w cenie połączenia lokalnego)
f Przed wszystkimi pracami przy elektrona-
E-Mail: elektronarzedzia.info@pl.bosch.com
rzędziu należy wyciągnąć wtyczkę z gniazda.
www.bosch.pl
f Aby zapewnić bezpieczną i wydajną pracę,
elektronarzędzie i szczeliny wentylacyjne
Usuwanie odpadów
należy utrzymywać w czystości.
Elektronarzędzia, osprzęt i opakowanie należy
Należy regularnie oczyszczać prowadnicę
poddać utylizacji zgodnie z obowiązującymi
brzeszczotów i brzeszczoty, co ok. 8 godzin pra-
zasadami ochrony środowiska.
cy. W tym celu należy brzeszczoty wyjąć z elek-
tronarzędzia i oczyścić je najlepiej benzyną.
Nie wolno wyrzucać elektronarzędzi do
W danym razie do oczyszczenia prowadnicy
odpadów z gospodarstwa domowego!
brzeszczotów należy użyć skrobaka. Przed mon-
Tylko dla państw należących do UE:
tażem nowych lub naostrzonych brzeszczotów
należy lekko nasmarować prowadnicę
Zgodnie z europejską wytyczną
brzeszczotów.
2002/96/WE o starych, zużytych
narzędziach elektrycznych i elek-
Jeśli urządzenie, mimo dokładnej i wszechstron-
tronicznych i jej stosowania w pra-
nej kontroli produkcyjnej ulegnie kiedykolwiek
wie krajowym, wyeliminowane
awarii, naprawę powinien przeprowadzić auto-
niezdatne do użycia elektronarzę-
ryzowany serwis elektronarzędzi firmy Bosch.
dzia należy zbierać osobno i doprowadzić do
Przy wszystkich zgłoszeniach oraz zamówie-
ponownego użytkowania zgodnego z zasadami
niach części zamiennych konieczne jest podanie
ochrony środowiska.
10-cyfrowego numeru katalogowego elektro-
narzędzia zgodnie z danymi na tabliczce
Zastrzega się prawo dokonywania zmian.
znamionowej.
3 609 929 B97 | (25.8.10) Bosch Power Tools

OBJ_BUCH-55-004.book Page 91 Wednesday, August 25, 2010 1:39 PM
Česky | 91
cs
Bezpečnostní upozornění
c) Chraňte stroj před deštěm a vlhkem.
Vniknutí vody do elektronářadí zvyšuje
nebezpečí zásahu elektrickým proudem.
Všeobecná varovná upozornění pro
d) Dbejte na účel kabelu, nepoužívejte jej k
elektronářadí
nošení či zavěšení elektronářadí nebo k
VAROVÁNÍ
Čtěte všechna varovná upo-
vytažení zástrčky ze zásuvky. Udržujte
zornění a pokyny. Zanedbání
kabel daleko od tepla, oleje, ostrých
při dodržování varovných upozornění a pokynů
hran nebo pohyblivých dílů stroje.
mohou mít za následek zásah elektrickým
Poškozené nebo spletené kabely zvyšují
proudem, požár a/nebo těžká poranění.
riziko zásahu elektrickým proudem.
Všechna varovná upozornění a pokyny do
e) Pokud pracujete s elektronářadím
budoucna uschovejte.
venku, použijte pouze takové prodlužo-
Ve varovných upozorněních použitý pojem
vací kabely, které jsou způsobilé i pro
„elektronářadí“ se vztahuje na elektronářadí
venkovní použití. Použití prodlužovacího
provozované na el. síti (se síťovým kabelem) a
kabelu, jež je vhodný pro použití venku,
na elektronářadí provozované na akumulátoru
snižuje riziko zásahu elektrickým
(bez síťového kabelu).
proudem.
f) Pokud se nelze vyhnout provozu elektro-
1) Bezpečnost pracovního místa
nářadí ve vlhkém prostředí, použijte
a) Udržujte Vaše pracovní místo čisté a
proudový chránič. Nasazení proudového
dobře osvětlené. Nepořádek nebo
chrániče snižuje riziko zásahu elektrickým
neosvětlené pracovní oblasti mohou vést
proudem.
k úrazům.
b) S elektronářadím nepracujte v prostředí
3) Bezpečnost osob
ohroženém explozí, kde se nacházejí
a) Buďte pozorní, dávejte pozor na to, co
hořlavé kapaliny, plyny nebo prach.
děláte a přistupujte k práci s elektro-
Elektronářadí vytváří jiskry, které mohou
nářadím rozumně. Nepoužívejte žádné
prach nebo páry zapálit.
elektronářadí pokud jste unaveni nebo
c) Děti a jiné osoby udržujte při použití
pod vlivem drog, alkoholu nebo léků.
elektronářadí daleko od Vašeho
Moment nepozornosti při použití elektro-
pracovního místa. Při rozptýlení můžete
nářadí může vést k vážným poraněním.
ztratit kontrolu nad strojem.
b) Noste osobní ochranné pomůcky a vždy
ochranné brýle. Nošení osobních ochran-
2) Elektrická bezpečnost
ných pomůcek jako maska proti prachu,
a) Připojovací zástrčka elektronářadí musí
bezpečnostní obuv s protiskluzovou pod-
lícovat se zásuvkou. Zástrčka nesmí být
rážkou, ochranná přilba nebo sluchátka,
žádným způsobem upravena. Společně s
podle druhu nasazení elektronářadí,
elektronářadím s ochranným uzemněním
snižují riziko poranění.
nepoužívejte žádné adaptérové
c) Zabraňte neúmyslnému uvedení do pro-
zástrčky. Neupravené zástrčky a vhodné
vozu. Přesvědčte se, že je elektronářadí
zásuvky snižují riziko zásahu elektrickým
vypnuté dříve než jej uchopíte, ponesete
proudem.
či připojíte na zdroj proudu a/nebo aku-
b) Zabraňte kontaktu těla s uzemněnými
mulátor. Máte-li při nošení elektronářadí
povrchy, jako např. potrubí, topení,
prst na spínači nebo pokud stroj připojíte
sporáky a chladničky. Je-li Vaše tělo
ke zdroji proudu zapnutý, pak to může
uzemněno, existuje zvýšené riziko zásahu
vést k úrazům.
elektrickým proudem.
Bosch Power Tools 3 609 929 B97 | (25.8.10)

OBJ_BUCH-55-004.book Page 92 Wednesday, August 25, 2010 1:39 PM
92 | Česky
d) Než elektronářadí zapnete, odstraňte
Poškozené díly nechte před nasazením
seřizovací nástroje nebo šroubováky.
stroje opravit. Mnoho úrazů má příčinu ve
Nástroj nebo klíč, který se nachází v otá-
špatně udržovaném elektronářadí.
čivém dílu stroje, může vést k poranění.
f) Řezné nástroje udržujte ostré a čisté.
e) Vyvarujte se abnormálního držení těla.
Pečlivě ošetřované řezné nástroje s
Zajistěte si bezpečný postoj a udržujte
ostrými řeznými hranami se méně
vždy rovnováhu. Tím můžete elektro-
vzpřičují a dají se lehčeji vést.
nářadí v neočekávaných situacích lépe
g) Používejte elektronářadí, příslušenství,
kontrolovat.
nasazovací nástroje apod. podle těchto
f) Noste vhodný oděv. Nenoste žádný
pokynů. Respektujte přitom pracovní
volný oděv nebo šperky. Vlasy, oděv a
podmínky a prováděnou činnost. Použití
rukavice udržujte daleko od pohybují-
elektronářadí pro jiné než určující použití
cích se dílů. Volný oděv, šperky nebo
může vést k nebezpečným situacím.
dlouhé vlasy mohou být zachyceny pohy-
bujícími se díly.
5) Servis
g) Lze-li namontovat odsávací či zachycující
a) Nechte Vaše elektronářadí opravit pouze
přípravky, přesvědčte se, že jsou připo-
kvalifikovaným odborným personálem a
jeny a správně použity. Použití odsávání
pouze s originálními náhradními díly. Tím
prachu může snížit ohrožení prachem.
bude zajištěno, že bezpečnost stroje
zůstane zachována.
4) Svědomité zacházení a používání
elektronářadí
Bezpečnostní upozornění pro pily na
a) Stroj nepřetěžujte. Pro svou práci
pěnové hmoty
použijte k tomu určené elektronářadí. S
f Pokud provádíte práce, při kterých může
vhodným elektronářadím budete pracovat
nasazovací nástroj zasáhnout skrytá
v udané oblasti výkonu lépe a bezpečněji.
elektrická vedení nebo vlastní síťový kabel,
b) Nepoužívejte žádné elektronářadí, jehož
pak držte elektronářadí na izolovaných
spínač je vadný. Elektronářadí, které
plochách rukojeti. Kontakt s vedením pod
nelze zapnout či vypnout je nebezpečné a
napětím může přivést napětí i na kovové díly
musí se opravit.
elektronářadí a vést k úderu elektrickým
c) Než provedete seřízení stroje, výměnu
proudem.
dílů příslušenství nebo stroj odložíte,
f Mějte ruce daleko od oblasti řezání. Nesa-
vytáhněte zástrčku ze zásuvky a/nebo
hejte pod obrobek. Při kontaktu s pilovým
odstraňte akumulátor. Toto preventivní
listem existuje nebezpečí poranění.
opatření zabrání neúmyslnému zapnutí
elektronářadí.
d) Uchovávejte nepoužívané elektronářadí
Funkční popis
mimo dosah dětí. Nenechte stroj použí-
vat osobám, které se strojem nejsou
Čtěte všechna varovná upozornění
seznámeny nebo nečetly tyto pokyny.
a pokyny. Zanedbání při dodržování
Elektronářadí je nebezpečné, je-li
varovných upozornění a pokynů
používáno nezkušenými osobami.
mohou mít za následek úraz elek-
e) Pečujte o elektronářadí svědomitě.
trickým proudem, požár a/nebo
Zkontrolujte, zda pohyblivé díly stroje
těžká poranění.
bezvadně fungují a nevzpřičují se, zda
Vyklopte prosím odklápěcí stranu se zobrazením
díly nejsou zlomené nebo poškozené tak,
stroje a nechte tuto stranu během čtení návodu
že je omezena funkce elektronářadí.
k obsluze otevřenou.
3 609 929 B97 | (25.8.10) Bosch Power Tools

OBJ_BUCH-55-004.book Page 93 Wednesday, August 25, 2010 1:39 PM
Česky | 93
Určené použití
Informace o hluku a vibracích
Elektronářadí je určeno k řezání libovolných
Naměřené hodnoty hluku zjištěny podle
tvarů pěnových umělých hmot, pěnové gumy a
EN 60745.
obdobných materiálů.
Hodnocená hladina hluku stroje A činí typicky:
hladina akustického tlaku 81 dB(A); hladina
Zobrazené komponenty
akustického výkonu 92 dB(A). Nepřesnost
Číslování zobrazených komponent se vztahuje
K=3 dB.
na zobrazení elektronářadí na grafické straně.
Noste chrániče sluchu!
Celková hodnota vibrací (vektorový součet tří
1 Spínač
os) zjištěna podle EN 60745:
2 Vedení pilového listu*
Hodnota emise vibrací a
h
=2,5 m/s
2
, nepřesnost
3 Pár pilových listů*
K=1,5m/s
2
.
4 Základová deska
V těchto pokynech uvedená úroveň vibrací byla
5 Rukojeť (izolovaná plocha rukojeti)
změřena podle měřících metod normovaných v
6 Šroub
EN 60745 a může být použita pro vzájemné
7 Krycí deska
porovnání elektronářadí. Hodí se i pro
předběžný odhad zatížení vibracemi.
8 Rýhovaný šroub
Uvedená úroveň vibrací reprezentuje hlavní
9 Upínací šroub základové desky
použití elektronářadí. Pokud ovšem bude
*Zobrazené nebo popsané příslušenství nepatří k
elektronářadí nasazeno pro jiná použití, s
standardnímu obsahu dodávky. Kompletní příslušen-
odlišnými nasazovacími nástroji nebo s
ství naleznete v našem programu příslušenství.
nedostatečnou údržbou, může se úroveň vibrací
lišit. To může zatíženi vibracemi po celou
Technická data
pracovní dobu zřetelně zvýšit.
Pro přesný odhad zatížení vibracemi by měly být
Pila na pěnové hmoty GSG 300
zohledněny i doby, v nichž je stroj vypnutý nebo
Professional
sice běží, ale fakticky není nasazen. To může
zatíženi vibracemi po celou pracovní dobu
Objednací číslo
0 601 575 1..
zřetelně zredukovat.
Jmenovitý příkon
W 350
Stanovte dodatečná bezpečnostní opatření k
Výstupní výkon
W 185
ochraně obsluhy před účinky vibrací jako např.:
údržba elektronářadí a nasazovacích nástrojů,
Počet zdvihů
udržování teplých rukou, organizace pracovních
naprázdno n
0
min
-1
3200
procesů.
Počet zdvihů při
zatížení
min
-1
2100
max. hloubka řezu
mm 300
Hmotnost podle EPTA-
Procedure 01/2003
kg 1,6
Třída ochrany
/II
Údaje platí pro jmenovité napětí [U] 230 V. U odlišných
napětí a podle země specifických provedení se mohou
tyto údaje lišit.
Dbejte prosím objednacího čísla na typovém štítku
Vašeho elektronářadí. Obchodní označení jednotlivých
elektronářadí se mohou měnit.
Bosch Power Tools 3 609 929 B97 | (25.8.10)

OBJ_BUCH-55-004.book Page 94 Wednesday, August 25, 2010 1:39 PM
94 | Česky
Nasaďte krycí desku 7 na závitové čepy na tělese
Prohlášení o shodě
a upevněte ji pomocí rýhovaných šroubů 8. Ujis-
Prohlašujeme v plné naší zodpovědnosti, že v
těte se, že jsou namontovány pružné podložky.
odstavci „Technická data“ popsaný výrobek je v
souladu s následujícími normami nebo normativ-
Montáž základové desky (viz obr. C)
ními dokumenty: EN 60745 podle ustanovení
směrnic 2004/108/ES, 2006/42/ES.
Nasaďte vedení pilového listu 2 do
odpovídajícího vybrání základové desky 4.
Technická dokumentace u:
Utáhněte pevně upínací šroub 9.
Robert Bosch GmbH, PT/ESC,
D-70745 Leinfelden-Echterdingen
Dr. Egbert Schneider
Dr. Eckerhard Strötgen
Odsávání prachu/třísek
Senior Vice President
Head of Product
f Prach materiálů jako olovoobsahující nátěry,
Engineering
Certification
některé druhy dřeva, minerálů a kovu mohou
být zdraví škodlivé. Kontakt s prachem nebo
vdechnutí mohou vyvolat alergické reakce
a/nebo onemocnění dýchacích cest obsluhy
Robert Bosch GmbH, Power Tools Division
nebo v blízkosti se nacházejících osob.
D-70745 Leinfelden-Echterdingen
Určitý prach jako dubový nebo bukový prach
Leinfelden, 17.05.2010
je pokládán za karcinogenní, zvláště ve
spojení s přídavnými látkami pro ošetření
dřeva (chromát, ochranné prostředky na
Montáž
dřevo). Materiál obsahující azbest smějí
f Před každou prací na elektronářadí vytáh-
opracovávat pouze specialisté.
něte zástrčku ze zásuvky.
– Pokud možno používejte pro daný
materiál vhodné odsávání prachu.
– Pečujte o dobré větrání pracovního
Montáž vedení pilového listu
prostoru.
(viz obr. A)
– Je doporučeno nosit ochrannou dýchací
Uvolněte šrouby 6 z tělesa a odstraňte je.
masku s třídou filtru P2.
Nasaďte vedení pilového listu 2 na těleso tak,
Dbejte ve Vaší zemi platných předpisů pro
aby polohovací kolíky zapadly do odpovídajících
opracovávané materiály.
otvorů. Vedení pilového listu 2 přišroubujte
pomocí šroubů 6 pevně k tělesu.
Provoz
Nasazení/výměna pilových listů
(viz obr. B)
Uvedení do provozu
f Při montáži pilového listu noste ochranné
f Dbejte síťového napětí! Napětí zdroje prou-
rukavice. Při kontaktu s pilovým listem
du musí souhlasit s údaji na typovém štítku
existuje nebezpečí poranění.
elektronářadí. Elektronářadí označené
Uvolněte rýhované šrouby 8 a odejměte je spolu
230 V smí být provozováno i na 220 V.
s pružnými podložkami a krycí deskou 7.
Zapnutí – vypnutí
n Nasaďte pár pilových listů 3 nejprve dole do
K uvedení elektronářadí do provozu stlačte
vedení pilového listu 2. Dbejte na to, aby
spínač 1 a podržte jej stlačený.
podélné zářezy pilových listů zabíraly do
K aretaci stlačeného spínač 1 posuňte spínač 1
vodícího kolíku vedení pilového listu.
vzad.
o Potom zavěste pár pilových listů 3 do
K vypnutí elektronářadí spínač 1 uvolněte popř.
unášecích čepů tak, aby pilové listy
je-li zaaretován, spínač 1 krátce stlačte a potom
bezvadně seděly ve vedení.
jej uvolněte.
3 609 929 B97 | (25.8.10) Bosch Power Tools

OBJ_BUCH-55-004.book Page 95 Wednesday, August 25, 2010 1:39 PM
Česky | 95
pilového listu případně použijte škrabku. Před
Pracovní pokyny
zabudováním nových příp. naostřených pilových
f Před každou prací na elektronářadí vytáh-
listů lehce potřete vedení pilového listu olejem.
něte zástrčku ze zásuvky.
Pokud dojde i přes pečlivou výrobu a náročné
Pilové listy a vedení pilových listů
kontroly k poruše stroje, svěřte provedení
opravy autorizovanému servisnímu středisku
Podle tloušťky opracovávaného materiálu
pro elektronářadí firmy Bosch.
mohou být nasazena různá vedení pilových listů
a jim příslušné pilové listy, k tomu viz přehled
Při všech dotazech a objednávkách náhradních
příslušenství.
dílů nezbytně prosím uvádějte 10-místné objed-
nací číslo podle typového štítku elektronářadí.
Základová deska s kluznými kladkami
Pilu na pěnové hmoty můžete použít s nebo bez
Zákaznická a poradenská služba
základové desky. Základová deska opatřená
Zákaznická služba zodpoví Vaše dotazy k opravě
kluznými kladkami dovoluje lehké a pravoúhlé
a údržbě Vašeho výrobku a též k náhradním
vedení pily.
dílům. Technické výkresy a informace k
Při řezání libovolných tvarů a zhotovení výřezů
náhradním dílům naleznete i na:
pracujte nejlépe bez základové desky.
www.bosch-pt.com
Tým poradenské služby Bosch Vám rád pomůže
Zpracování pěnové hmoty
při otázkách ke koupi, používání a nastavení
Ke zhotovení přesných přístřihů, obzvlášť u
výrobků a příslušenství.
měkkých pěnových hmot a obdobných
materiálů, pracujte pouze s mírným posuvem.
Czech Republic
Materiál při opracování příliš silně nestlačujte
Robert Bosch odbytová s.r.o.
nebo neroztahujte.
Bosch Service Center PT
Při zhotovení menších výřezů demontujte
K Vápence 1621/16
základovou desku. Bodněte nožem nebo
692 01 Mikulov
nůžkami do materiálu, potom zastrčte vedení
Tel.: +420 (519) 305 700
pilového listu do otvoru a výřez opracujte.
Fax: +420 (519) 305 705
E-Mail: servis.naradi@cz.bosch.com
Ke zhotovení větších výřezů zvolte otvor vpíchnutí
www.bosch.cz
tak veliký, aby mohlo být prostrčeno vedení
pilového listu s namontovanou základovou
Zpracování odpadů
deskou. Dbejte na to, aby byl podklad prostý od
překážek. Veďte elektronářadí s mírným tlakem
Elektronářadí, příslušenství a obaly by měly být
podél čáry výřezu.
dodány k opětovnému zhodnocení nepoškozují-
címu životní prostředí.
Neodhazujte elektronářadí do domovního
odpadu!
Údržba a servis
Pouze pro země EU:
Údržba a čištění
Podle evropské směrnice
2002/96/ES o starých elektric-
f Před každou prací na elektronářadí vytáh-
kých a elektronických zařízeních a
něte zástrčku ze zásuvky.
jejím prosazení v národních záko-
f Udržujte elektronářadí a větrací otvory
nech musejí být už neupotřebi-
čisté, abyste pracovali dobře a bezpečně.
telná elektronářadí rozebraná
Pravidelně, ca. každých 8 provozních hodin,
shromážděna a dodána k opětovnému zhodno-
čistěte vedení pilových listů a pilové listy. K tomu
cení nepoškozujícímu životní prostředí.
odejměte pilové listy z elektronářadí a pilové listy
vyčistěte nejlépe benzínem. K vyčištění vedení
Změny vyhrazeny.
Bosch Power Tools 3 609 929 B97 | (25.8.10)

OBJ_BUCH-55-004.book Page 96 Wednesday, August 25, 2010 1:39 PM
96 | Slovensky
sk
Bezpečnostné pokyny
b) Vyhýbajte sa telesnému kontaktu s
uzemnenými povrchovými plochami, ako
sú napr. rúry, vykurovacie telesá, sporá-
Všeobecné výstražné upozornenia a
ky a chladničky. Keby by bolo Vaše telo
bezpečnostné pokyny
uzemnené, hrozí zvýšené riziko zásahu
POZOR
Prečítajte si všetky Výstražné
elektrickým prúdom.
upozornenia a bezpečnostné
c) Chráňte elektrické náradie pred účin-
pokyny. Zanedbanie dodržiavania Výstražných
kami dažďa a vlhkosti. Vniknutie vody do
upozornení a pokynov uvedených v
ručného elektrického náradia zvyšuje
nasledujúcom texte môže mať za následok
riziko zásahu elektrickým prúdom.
zásah elektrickým prúdom, spôsobiť požiar
d) Nepoužívajte prívodnú šnúru mimo urče-
a/alebo ťažké poranenie.
ný účel na nosenie ručného elektrického
Tieto Výstražné upozornenia a bezpečnostné
náradia, ani na jeho zavesenie a zástrčku
pokyny starostlivo uschovajte na budúce
nevyberajte zo zásuvky ťahaním za prí-
použitie.
vodnú šnúru. Zabezpečte, aby sa sieťová
Pojem „ručné elektrické náradie“ používaný v
šnúra nedostala do blízkosti horúceho
nasledujúcom texte sa vzťahuje na ručné elek-
telesa, ani do kontaktu s olejom, s ostrý-
trické náradie napájané zo siete (s prívodnou
mi hranami alebo pohybujúcimi sa sú-
šnúrou) a na ručné elektrické náradie napájané
čiastkami ručného elektrického náradia.
akumulátorovou batériou (bez prívodnej šnúry).
Poškodené alebo zauzlené prívodné šnúry
zvyšujú riziko zásahu elektrickým prúdom.
1) Bezpečnosť na pracovisku
e) Keď pracujete s ručným elektrickým
a) Pracovisko vždy udržiavajte čisté a
náradím vonku, používajte len také pred-
dobre osvetlené. Neporiadok a neosvet-
lžovacie káble, ktoré sú schválené aj na
lené priestory pracoviska môžu mať za
používanie vo vonkajších priestoroch.
následok pracovné úrazy.
Použitie predlžovacieho kábla, ktorý je
b) Týmto náradím nepracujte v prostredí
vhodný na používanie vo vonkajšom pro-
ohrozenom výbuchom, v ktorom sa
stredí, znižuje riziko zásahu elektrickým
nachádzajú horľavé kvapaliny, plyny
prúdom.
alebo horľavý prach. Ručné elektrické
f) Ak sa nedá vyhnúť použitiu ručného
náradie vytvára iskry, ktoré by mohli prach
elektrického náradia vo vlhkom prostre-
alebo pary zapáliť.
dí, použite ochranný spínač pri porucho-
c) Nedovoľte deťom a iným nepovolaným
vých prúdoch. Použitie ochranného spí-
osobám, aby sa počas používania ruč-
nača pri poruchových prúdoch znižuje
ného elektrického náradia zdržiavali v
riziko zásahu elektrickým prúdom.
blízkosti pracoviska. Pri odpútaní pozor-
nosti zo strany inej osoby môžete stratiť
3) Bezpečnosť osôb
kontrolu nad náradím.
a) Buďte ostražitý, sústreďte sa na to, čo
robíte a k práci s ručným elektrickým
2) Elektrická bezpečnosť
náradím pristupujte s rozumom. Nepra-
a) Zástrčka prívodnej šnúry ručného
cujte s ručným elektrickým náradím
elektrického náradia musí pasovať do
nikdy vtedy, keď ste unavený, alebo keď
použitej zásuvky. Zástrčku v žiadnom
ste pod vplyvom drog, alkoholu alebo
prípade nijako nemeňte. S uzemneným
liekov. Malý okamih nepozornosti môže
elektrickým náradím nepoužívajte ani
mať pri používaní náradia za následok
žiadne zástrčkové adaptéry. Nezmenené
vážne poranenia.
zástrčky a vhodné zásuvky znižujú riziko
zásahu elektrickým prúdom.
3 609 929 B97 | (25.8.10) Bosch Power Tools

OBJ_BUCH-55-004.book Page 97 Wednesday, August 25, 2010 1:39 PM
Slovensky | 97
b) Noste osobné ochranné pomôcky a
4) Starostlivé používanie ručného
používajte vždy ochranné okuliare.
elektrického náradia a manipulácia s ním
Nosenie osobných ochranných pomôcok,
a) Ručné elektrické náradie nikdy nepreťa-
ako je ochranná dýchacia maska,
žujte. Používajte také elektrické náradie,
bezpečnostná pracovná obuv. ochranná
ktoré je určené pre daný druh práce.
prilba alebo chrániče sluchu, podľa druhu
Pomocou vhodného ručného elektrického
ručného elektrického náradia a spôsobu
náradia budete pracovať lepšie a bezpeč-
jeho použitia znižujú riziko poranenia.
nejšie v uvedenom rozsahu výkonu
c) Vyhýbajte sa neúmyselnému uvedeniu
náradia.
ručného elektrického náradia do čin-
b) Nepoužívajte nikdy také ručné elektrické
nosti. Pred zasunutím zástrčky do zásuv-
náradie, ktoré má pokazený vypínač.
ky a/alebo pred pripojením akumulátora,
Náradie, ktoré sa už nedá zapnúť alebo
pred chytením alebo prenášaním ruč-
vypnúť, je nebezpečné a treba ho zveriť
ného elektrického náradia sa vždy
do opravy odborníkovi.
presvedčte sa, či je ručné elektrické
náradie vypnuté. Ak budete mať pri pre-
c) Skôr ako začnete náradie nastavovať
nášaní ručného elektrického náradia prst
alebo prestavovať, vymieňať
na vypínači, alebo ak ručné elektrické
príslušenstvo alebo skôr, ako odložíte
náradie pripojíte na elektrickú sieť zapnu-
náradie, vždy vytiahnite zástrčku
té, môže to mať za následok nehodu.
sieťovej šnúry zo zásuvky. Toto preven-
tívne opatrenie zabraňuje neúmyselnému
d) Skôr ako náradie zapnete, odstráňte z
spusteniu ručného elektrického náradia.
neho nastavovacie náradie alebo kľúče
na skrutky. Nastavovací nástroj alebo
d) Nepoužívané ručné elektrické náradie
kľúč, ktorý sa nachádza v rotujúcej časti
uschovávajte tak, aby bolo mimo dosahu
ručného elektrického náradia, môže
detí. Nedovoľte používať pneumatické
spôsobiť vážne poranenia osôb.
náradie osobám, ktoré s ním nie sú
dôverne oboznámené, alebo ktoré si ne-
e) Vyhýbajte sa abnormálnym polohám
prečítali tieto Pokyny. Ručné elektrické
tela. Zabezpečte si pevný postoj, a ne-
náradie je nebezpečné vtedy, keď ho
prestajne udržiavajte rovnováhu. Takto
používajú neskúsené osoby.
budete môcť ručné elektrické náradie v
neočakávaných situáciách lepšie kontro-
e) Ručné elektrické náradie starostlivo oše-
lovať.
trujte. Kontrolujte, či pohyblivé súčiastky
bezchybne fungujú alebo či neblokujú, či
f) Pri práci noste vhodný pracovný odev.
nie sú zlomené alebo poškodené niektoré
Nenoste široké odevy a nemajte na sebe
súčiastky, ktoré by mohli negatívne
šperky. Vyvarujte sa toho, aby so Vaše
ovplyvňovať správne fungovanie ručného
vlasy, odev a rukavice dostali do
elektrického náradia. Pred použitím nára-
blízkosti rotujúcich súčiastok náradia.
dia dajte poškodené súčiastky vymeniť.
Voľný odev, dlhé vlasy alebo šperky môžu
Veľa nehôd bolo spôsobených nedostatoč-
byť zachytené rotujúcimi časťami ručného
nou údržbou elektrického náradia.
elektrického náradia.
f) Rezné nástroje udržiavajte ostré a čisté.
g) Ak sa dá na ručné elektrické náradie na-
Starostlivo ošetrované rezné nástroje s
montovať odsávacie zariadenie a zaria-
ostrými reznými hranami majú menšiu
denie na zachytávanie prachu, presvedč-
tendenciu k zablokovaniu a ľahšie sa dajú
te sa, či sú dobre pripojené a správne
viesť.
používané. Používanie odsávacieho zaria-
denia a zariadenia na zachytávanie prachu
g) Používajte ručné elektrické náradie,
znižuje riziko ohrozenia zdravia prachom.
príslušenstvo, nastavovacie nástroje a
pod. podľa týchto výstražných upozor-
není a bezpečnostných pokynov. Pri práci
Bosch Power Tools 3 609 929 B97 | (25.8.10)

OBJ_BUCH-55-004.book Page 98 Wednesday, August 25, 2010 1:39 PM
98 | Slovensky
zohľadnite konkrétne pracovné podmien-
ky a činnosť, ktorú budete vykonávať.
Vyobrazené komponenty
Používanie ručného elektrického náradia
Číslovanie jednotlivých komponentov sa
na iný účel ako na predpísané použitie
vzťahuje na vyobrazenie elektrického náradia na
môže viesť k nebezpečným situáciám.
grafickej strane tohto Návodu na používanie.
5) Servisné práce
1 Vypínač
2 Vedenie pílových listov*
a) Ručné elektrické náradie dávajte opra-
vovať len kvalifikovanému personálu,
3 Pár pílových listov*
ktorý používa originálne náhradné
4 Vodiace sane
súčiastky. Tým sa zabezpečí, že bezpeč-
5 Rukoväť (izolovaná plocha rukoväte)
nosť náradia zostane zachovaná.
6 Skrutka
7 Krycia platnička
Bezpečnostné predpisy pre píly na
8 Ryhovaná skrutka
penové hmoty
9 Upevňovacia skrutka pre vodiace sane
f Pri vykonávaní takej práce, pri ktorej by
*Zobrazené alebo popísané príslušenstvo nepatrí celé
mohol nástroj natrafiť na skryté elektrické
do základnej výbavy produktu. Kompletné príslušen-
vedenia alebo zasiahnuť vlastnú prívodnú
stvo nájdete v našom programe príslušenstva.
šnúru náradia, držte náradie len za izolo-
vané plochy rukovätí. Kontakt s elektrickým
vedením, ktoré je pod napätím, môže dostať
Technické údaje
pod napätie aj kovové súčiastky náradia a
Píla na penové
GSG 300
spôsobiť zásah elektrickým prúdom.
materiály
Professional
f Obe ruky majte v dostatočnej vzdialenosti
od priestoru pílenia. Nesiahajte pod
Vecné číslo
0 601 575 1..
obrobok. Pri kontakte s pílovým listom hrozí
Menovitý príkon
W 350
nebezpečenstvo vážneho poranenia.
Výkon
W 185
Počet voľnobežných
zdvihov n
min
-1
3200
Popis fungovania
0
Frekvencia kmitov pri
Prečítajte si všetky Výstražné upo-
zaťažení
min
-1
2100
zornenia a bezpečnostné pokyny.
Zanedbanie dodržiavania Výstraž-
max. hĺbka rezu
mm 300
ných upozornení a pokynov uvede-
Hmotnosť podľa EPTA-
ných v nasledujúcom texte môže
Procedure 01/2003
kg 1,6
mať za následok zásah elektrickým prúdom,
Trieda ochrany
/II
spôsobiť požiar a/alebo ťažké poranenie.
Tieto údaje platia pre menovité napätie [U] 230 V.
Vyklopte si láskavo vyklápaciu stranu s obrázka-
V takých prípadoch, keď má napätie odlišné hodnoty a
mi produktu a nechajte si ju vyklopenú po celý
pri vyhotoveniach, ktoré sú špecifické pre niektorú
čas, keď čítate tento Návod na používanie.
krajinu, sa môžu tieto údaje odlišovať.
Všimnite si láskavo vecné číslo na typovom štítku
Používanie podľa určenia
svojho ručného elektrického náradia. Obchodné názvy
jednotlivých produktov sa môžu odlišovať.
Toto ručné elektrické náradie je určené na
rezanie ľubovoľných tvarov z penových plastov,
penovej gumy a z ďalších podobných materiálov.
3 609 929 B97 | (25.8.10) Bosch Power Tools

OBJ_BUCH-55-004.book Page 99 Wednesday, August 25, 2010 1:39 PM
Slovensky | 99
Informácia o hlučnosti/vibráciách
Vyhlásenie o konformite
Namerané hodnoty hluku zistené podľa normy
Na vlastnú zodpovednosť vyhlasujeme, že dole
EN 60745.
popísaný výrobok „Technické údaje“ sa zhoduje
Hodnotená hodnota hladiny hluku A tohto
s nasledujúcimi normami alebo normatívnymi
náradia je typicky: Akustický tlak 81 dB(A);
dokumentami: EN 60745 podľa ustanovení
Hodnota hladiny akustického tlaku 92 dB(A).
smerníc 2004/108/ES, 2006/42/ES.
Nepresnosť merania K=3 dB.
Súbory technickej dokumentácie sa nachádzajú
Používajte chrániče sluchu!
na adrese:
Celkové hodnoty vibrácií (súčet vektorov troch
Robert Bosch GmbH, PT/ESC,
smerov) zisťované podľa normy EN 60745:
D-70745 Leinfelden-Echterdingen
Hodnota emisie vibrácií a
2
h
=2,5 m/s
,
Dr. Egbert Schneider
Dr. Eckerhard Strötgen
nepresnosť merania K =1,5 m/s
2
.
Senior Vice President
Head of Product
Úroveň kmitov uvedená v týchto pokynoch bola
Engineering
Certification
nameraná podľa meracieho postupu uvedeného
v norme EN 60745 a možno ju používať na
vzájomné porovnávanie rôznych typov ručného
elektrického náradia medzi sebou. Hodí sa aj na
Robert Bosch GmbH, Power Tools Division
predbežný odhad zaťaženia vibráciami.
D-70745 Leinfelden-Echterdingen
Uvedená hladina vibrácií reprezentuje hlavné
Leinfelden, 17.05.2010
druhy používania tohto ručného elektrického
náradia. Avšak v takých prípadoch, keď sa toto
ručné elektrické náradie použije na iné druhy
Montáž
použitia, s odlišnými pracovnými nástrojmi
alebo sa podrobuje nedostatočnej údržbe, môže
f Pred každou prácou na ručnom elektrickom
sa hladina zaťaženia vibráciami od týchto hod-
náradí vytiahnite zástrčku náradia zo
nôt odlišovať. To môže výrazne zvýšiť zaťaženie
zásuvky.
vibráciami počas celej pracovnej doby.
Na presný odhad zaťaženia vibráciami počas
Montáž vedenia pílových listov
určitého časového úseku práce s náradím treba
(pozri obrázok A)
zohľadniť doby, počas ktorých je ručné
elektrické náradie vypnuté alebo doby, keď
Uvoľnite skrutky 6 z telesa a celkom ich
náradie síce beží, ale v skutočnosti sa nepou-
demontujte. Vedenie pílových listov 2 priložte k
žíva. To môže výrazne redukovať zaťaženie
telesu tak, aby upevňovacie kolíky siahali do
vibráciami počas celej pracovnej doby.
príslušných otvorov. Priskrutkujte vedenie
Na ochranu osoby pracujúcej s náradím pre
pílových listov 2 pomocou skrutiek 6 na teleso.
účinkami zaťaženia vibráciami vykonajte ďalšie
bezpečnostné opatrenia, ako sú napríklad:
údržba ručného elektrického náradia a použí-
vaných pracovných nástrojov, zabezpečenie
zachovania teploty rúk, organizácia jednotlivých
pracovných úkonov.
Bosch Power Tools 3 609 929 B97 | (25.8.10)

OBJ_BUCH-55-004.book Page 100 Wednesday, August 25, 2010 1:39 PM
100 | Slovensky
– Používajte podľa možnosti také odsá-
Vkladanie/výmena pílových listov
vanie, ktoré je pre daný materiál vhodné.
(pozri obrázok B)
– Postarajte sa o dobré vetranie svojho
f Pri montáži pílového listu používajte
pracoviska.
ochranné pracovné rukavice. Pri dotyku
– Odporúčame Vám používať ochrannú
pílového listu hrozí nebezpečenstvo
dýchaciu masku s filtrom triedy P2.
poranenia.
Dodržiavajte aj predpisy vlastnej krajiny týka-
Uvoľnite ryhované skrutky 8 a demontujte ich
júce sa konkrétneho obrábaného materiálu.
spolu s perovými podložkami a s krycou
platničkou 7.
n Pár pílových listov 3 založte najprv dole do
Prevádzka
vedenia pílových listov 2. Dávajte pritom
pozor na to, aby pozdĺžne štrbiny pílových
Uvedenie do prevádzky
listov zapadali do vodiaceho čapu vedenia
pílových listov.
f Všimnite si napätie siete! Napätie zdroja
prúdu musí mať hodnotu zhodnú s údajmi
o Potom zaveste pár pílových listov 3 do
na typovom štítku ručného elektrického
unášacieho čapu tak, aby pílové listy
náradia. Výrobky označené pre napätie
bezchybne sedeli vo vedení.
230 V sa smú používať aj s napätím 220 V.
Nasaďte kryciu platničku 7 na zavŕtané skrutky
na telese a upevnite ju pomocou ryhovaných
Zapínanie/vypínanie
skrutiek 8. Presvedčte sa, či sa pod nimi
Na zapnutie ručného elektrického náradia
nachádzajú perové podložky.
stlačte vypínač 1 a držte ho stlačený.
Ak chcete aretovať stlačený vypínač 1 v zapnu-
Montáž vodiacich saní
tej polohe, posuňte vypínač 1 smerom dozadu.
(pozri obrázok C)
Ak chcete ručné elektrické náradie vypnúť,
Vložte vedenie pílových listov 2 do príslušného
vypínač 1 uvoľnite, resp. v takom prípade, keď je
výrezu vodiacich saní 4. Upevňovaciu skrutku 9
zaaretovaný, nakrátko vypínač 1 stlačte a potom
utiahnite.
ho uvoľnite.
Odsávanie prachu a triesok
Pokyny na používanie
f Prach z niektorých materiálov, napr. z náte-
f Pred každou prácou na ručnom elektrickom
rov obsahujúcich olovo, z niektorých druhov
náradí vytiahnite zástrčku náradia zo
tvrdého dreva, minerálov a kovov môže byť
zásuvky.
zdraviu škodlivý. Kontakt s takýmto prachom
alebo jeho vdychovanie môže vyvolávať
Pílové listy a vedenia pílových listov
alergické reakcie a/alebo spôsobiť ochorenie
Podľa hrúbky obrábaného materiálu sa môžu
dýchacích ciest pracovníka, prípadne osôb,
vkladať do náradia rôzne druhy vedení pílových
ktoré sa nachádzajú v blízkosti pracoviska.
listov a k nim patriace pílové listy, pozri k tomu
Určité druhy prachu, napr. prach z dubového
Prehľad príslušenstva.
alebo z bukového dreva, sa považujú za
rakovinotvorné, a to predovšetkým spolu s
Vodiace sane s klznými valčekmi
ďalšími materiálmi, ktoré sa používajú pri
Pílu na penové materiály môžete používať s
spracovávaní dreva (chromitan, chemické
vodiacimi saňami alebo bez nich. Vodiace sane,
prostriedky na ochranu dreva). Materiál,
ktoré sú vybavené klznými valčekmi, umožňujú
ktorý obsahuje azbest, smú opracovávať len
ľahké a pravouhlé vedenie píly.
špeciálne vyškolení pracovníci.
Na rezanie ľubovoľných tvarov a na vyhotovovanie
výrezov je najlepšie pracovať bez vodiacich saní.
3 609 929 B97 | (25.8.10) Bosch Power Tools

OBJ_BUCH-55-004.book Page 101 Wednesday, August 25, 2010 1:39 PM
Slovensky | 101
Spracovávanie penových materiálov
Servisné stredisko a poradenská služba
Na vytváranie presných tvarov rezov,
pre zákazníkov
predovšetkým pri mäkkých penových
materiáloch a podobných látkach je najlepšie
Servisné stredisko Vám odpovie na otázky
pracovať s malým posuvom. Pri práci materiál
týkajúce sa opravy a údržby Vášho produktu ako
príliš silno nestláčajte ani nenaťahujte.
aj náhradných súčiastok. Rozložené obrázky a
informácie k náhradným súčiastkam nájdete aj
Pri vyhotovovaní menších výrezov vodiace sane
na web-stránke:
demontujte. Pred prácou zapichnite do mate-
www.bosch-pt.com
riálu nôž alebo nožnice, potom do takto vytvore-
Tím poradenskej služby pre zákazníkov Bosch
ného otvoru zasuňte pílový list a vytvorte výrez.
Vám rád pomôže aj pri problémoch týkajúcich sa
Na vyhotovovanie väčších výrezov utvorte taký
kúpy a nastavenia produktov a príslušenstva.
veľký vpichovací otvor, aby sa cezeň dalo
prestrčiť vedenie pílových listov s
Slovakia
namontovanými vodiacimi saňami. Dajte pozor
Tel.: +421 (02) 48 703 800
na to, aby sa na podklade nenachádzali žiadne
Fax: +421 (02) 48 703 801
prekážky. Ručné elektrické náradie veďte
E-Mail: servis.naradia@sk.bosch.com
miernym tlakom pozdĺž línie výrezu.
www.bosch.sk
Údržba a servis
Údržba a čistenie
Likvidácia
f Pred každou prácou na ručnom elektrickom
Ručné elektrické náradie, príslušenstvo a obal
náradí vytiahnite zástrčku náradia zo
treba dať na recykláciu šetriacu životné
zásuvky.
prostredie.
f Ručné elektrické náradie a jeho vetracie
Neodhadzujte ručné elektrické náradie do
štrbiny udržiavajte vždy v čistote, aby ste
komunálneho odpadu!
mohli pracovať kvalitne a bezpečne.
Len pre krajiny EÚ:
Vedenie pílových listov aj samotné pílové listy
pravidelne čistite, približne po každých
Podľa Európskej smernice
8 hodinách prevádzky. Na tento účel vyberte
2002/96/ES o starých elektric-
pílové listy z ručného elektrického náradia a
kých a elektronických výrobkoch a
pílové listy vyčistite najlepšie čistiacim
podľa jej aplikácií v národnom
benzínom. V prípade potreby použite na
práve sa musia už nepoužiteľné
vyčistenie vedenia pílových listov škrabku. Pred
elektrické náradia zbierať
montážou nových, resp. naostrených pílových
separovane a treba ich dávať na
listov vedenie pílových listov naolejujte.
recykláciu zodpovedajúcu
ochrane životného prostredia.
Ak by prístroj napriek starostlivej výrobe a
kontrole predsa len prestal niekedy fungovať,
Zmeny vyhradené.
treba dať opravu vykonať autorizovanej
servisnej opravovni elektrického náradia Bosch.
Pri všetkých dopytoch a objednávkach náhrad-
ných súčiastok uvádzajte bezpodmienečne
10-miestne vecné číslo uvedené na typovom
štítku výrobku.
Bosch Power Tools 3 609 929 B97 | (25.8.10)

OBJ_BUCH-55-004.book Page 102 Wednesday, August 25, 2010 1:39 PM
102 | Magyar
hu
Biztonsági előírások
b) Kerülje el a földelt felületek, mint például
csövek, fűtőtestek, kályhák és hűtőgépek
megérintését. Az áramütési veszély
Általános biztonsági előírások az
megnövekszik, ha a teste le van földelve.
elektromos kéziszerszámokhoz
c) Tartsa távol az elektromos kéziszerszá-
FIGYELMEZTETÉS
Olvassa el az összes
mot az esőtől vagy nedvességtől. Ha víz
biztonsági figyelmez-
hatol be egy elektromos kéziszerszámba,
tetést és előírást. A következőkben leírt előírások
ez megnöveli az áramütés veszélyét.
betartásának elmulasztása áramütésekhez,
d) Ne használja a kábelt a rendeltetésétől
tűzhöz és/vagy súlyos testi sérülésekhez vezethet.
eltérő célokra, vagyis a szerszámot soha
Kérjük a későbbi használatra gondosan őrizze
ne hordozza vagy akassza fel a kábelnél
meg ezeket az előírásokat.
fogva, és sohase húzza ki a hálózati csat-
Az alább alkalmazott „elektromos kéziszerszám”
lakozó dugót a kábelnél fogva. Tartsa
fogalom a hálózati elektromos kéziszerszámokat
távol a kábelt hőforrásoktól, olajtól, éles
(hálózati csatlakozó kábellel) és az akkumulá-
élektől és sarkoktól és mozgó gépalkat-
toros elektromos kéziszerszámokat (hálózati
részektől. Egy megrongálódott vagy cso-
csatlakozó kábel nélkül) foglalja magában.
mókkal teli kábel megnöveli az áramütés
veszélyét.
1) Munkahelyi biztonság
e) Ha egy elektromos kéziszerszámmal a
a) Tartsa tisztán és jól megvilágított álla-
szabad ég alatt dolgozik, csak szabadban
potban a munkahelyét. A rendetlenség és
való használatra engedélyezett hosszab-
a megvilágítatlan munkaterület balesetek-
bítót használjon. A szabadban való hasz-
hez vezethet.
nálatra engedélyezett hosszabbító hasz-
b) Ne dolgozzon a berendezéssel olyan
nálata csökkenti az áramütés veszélyét.
robbanásveszélyes környezetben, ahol
f) Ha nem lehet elkerülni az elektromos
éghető folyadékok, gázok vagy porok
kéziszerszám nedves környezetben való
vannak. Az elektromos kéziszerszámok
használatát, alkalmazzon egy hibaáram-
szikrákat keltenek, amelyek a port vagy a
védőkapcsolót. Egy hibaáram-védőkap-
gőzöket meggyújthatják.
csoló alkalmazása csökkenti az áramütés
kockázatát.
c) Tartsa távol a gyerekeket és az idegen
személyeket a munkahelytől, ha az elekt-
3) Személyi biztonság
romos kéziszerszámot használja.
a) Munka közben mindig figyeljen, ügyeljen
Ha elvonják a figyelmét, elvesztheti az
arra, amit csinál és meggondoltan dolgoz-
uralmát a berendezés felett.
zon az elektromos kéziszerszámmal. Ha
2) Elektromos biztonsági előírások
fáradt, ha kábítószerek vagy alkohol hatá-
sa alatt áll, vagy orvosságokat vett be, ne
a) A készülék csatlakozó dugójának bele
használja a berendezést. Egy pillanatnyi
kell illeszkednie a dugaszolóaljzatba. A
figyelmetlenség a szerszám használata
csatlakozó dugót semmilyen módon sem
közben komoly sérülésekhez vezethet.
szabad megváltoztatni. Védőföldeléssel
ellátott készülékekkel kapcsolatban ne
b) Viseljen személyi védőfelszerelést és
használjon csatlakozó adaptert.
mindig viseljen védőszemüveget.
A változtatás nélküli csatlakozó dugók és
A személyi védőfelszerelések, mint
a megfelelő dugaszoló aljzatok csökkentik
porvédő álarc, csúszásbiztos védőcipő,
az áramütés kockázatát.
védősapka és fülvédő használata az
elektromos kéziszerszám használata
jellegének megfelelően csökkenti a
személyi sérülések kockázatát.
3 609 929 B97 | (25.8.10) Bosch Power Tools

OBJ_BUCH-55-004.book Page 103 Wednesday, August 25, 2010 1:39 PM
Magyar | 103
c) Kerülje el a készülék akaratlan üzembe
b) Ne használjon olyan elektromos kéziszer-
helyezését. Győződjön meg arról, hogy
számot, amelynek a kapcsolója elromlott.
az elektromos kéziszerszám ki van kap-
Egy olyan elektromos kéziszerszám,
csolva, mielőtt bedugná a csatlakozó
amelyet nem lehet sem be-, sem kikapcsol-
dugót a dugaszolóaljzatba, csatlakoztat-
ni, veszélyes és meg kell javíttatni.
ná az akkumulátor-csomagot, és mielőtt
c) Húzza ki a csatlakozó dugót a dugaszoló-
felvenné és vinni kezdené az elektromos
aljzatból és/vagy az akkumulátor-csoma-
kéziszerszámot. Ha az elektromos kézi-
got az elektromos kéziszerszámból, mi-
szerszám felemelése közben az ujját a
előtt az elektromos kéziszerszámon beál-
kapcsolón tartja, vagy ha a készüléket
lítási munkákat végez, tartozékokat cserél
bekapcsolt állapotban csatlakoztatja az
vagy a szerszámot tárolásra elteszi. Ez az
áramforráshoz, ez balesetekhez vezethet.
elővigyázatossági intézkedés meggátolja a
d) Az elektromos kéziszerszám bekap-
szerszám akaratlan üzembe helyezését.
csolása előtt okvetlenül távolítsa el
d) A használaton kívüli elektromos kéziszer-
a beállítószerszámokat vagy csavarkul-
számokat olyan helyen tárolja, ahol azok-
csokat. Az elektromos kéziszerszám forgó
hoz gyerekek nem férhetnek hozzá. Ne
részeiben felejtett beállítószerszám vagy
hagyja, hogy olyan személyek használják
csavarkulcs sérüléseket okozhat.
az elektromos kéziszerszámot, akik nem
e) Ne becsülje túl önmagát. Kerülje el a
ismerik a szerszámot, vagy nem olvasták
normálistól eltérő testtartást, ügyeljen
el ezt az útmutatót. Az elektromos kézi-
arra, hogy mindig biztosan álljon és az
szerszámok veszélyesek, ha azokat gyakor-
egyensúlyát megtartsa. Így az elektromos
latlan személyek használják.
kéziszerszám felett váratlan helyzetekben
e) A készüléket gondosan ápolja. Ellenőriz-
is jobban tud uralkodni.
ze, hogy a mozgó alkatrészek
f) Viseljen megfelelő ruhát. Ne viseljen bő
kifogástalanul működnek-e, nincsenek-e
ruhát vagy ékszereket. Tartsa távol a
beszorulva, és nincsenek-e eltörve vagy
haját, a ruháját és a kesztyűjét a mozgó
megrongálódva olyan alkatrészek,
részektől. A bő ruhát, az ékszereket és a
amelyek hatással lehetnek az elektro-
hosszú hajat a mozgó alkatrészek
mos kéziszerszám működésére. A beren-
magukkal ránthatják.
dezés megrongálódott részeit a készülék
használata előtt javíttassa meg. Sok
g) Ha az elektromos kéziszerszámra fel
olyan baleset történik, amelyet az elektro-
lehet szerelni a por elszívásához és
mos kéziszerszám nem kielégítő karban-
összegyűjtéséhez szükséges berendezé-
tartására lehet visszavezetni.
seket, ellenőrizze, hogy azok megfelelő
módon hozzá vannak kapcsolva a
f) Tartsa tisztán és éles állapotban a vágó-
készülékhez és rendeltetésüknek meg-
szerszámokat. Az éles vágóélekkel rendel-
felelően működnek. A porgyűjtő beren-
kező és gondosan ápolt vágószerszámok
dezések használata csökkenti a munka
ritkábban ékelődnek be és azokat
során keletkező por veszélyes hatását.
könnyebben lehet vezetni és irányítani.
g) Az elektromos kéziszerszámokat,
4) Az elektromos kéziszerszámok gondos
tartozékokat, betétszerszámokat stb.
kezelése és használata
csak ezen előírásoknak és az adott
a) Ne terhelje túl a berendezést. A munká-
készüléktípusra vonatkozó kezelési
jához csak az arra szolgáló elektromos
utasításoknak megfelelően használja.
kéziszerszámot használja. Egy alkalmas
Vegye figyelembe a munkafeltételeket
elektromos kéziszerszámmal a megadott
és a kivitelezendő munka sajátosságait.
teljesítménytartományon belül jobban és
Az elektromos kéziszerszám eredeti
biztonságosabban lehet dolgozni.
rendeltetésétől eltérő célokra való alkal-
mazása veszélyes helyzetekhez vezethet.
Bosch Power Tools 3 609 929 B97 | (25.8.10)

OBJ_BUCH-55-004.book Page 104 Wednesday, August 25, 2010 1:39 PM
104 | Magyar
5) Szervíz-ellenőrzés
Az ábrázolásra kerülő komponensek
a) Az elektromos kéziszerszámot csak
szakképzett személyzet csak eredeti
A készülék ábrázolásra kerülő komponenseinek
pótalkatrészek felhasználásával javít-
sorszámozása az elektromos kéziszerszámnak
hatja. Ez biztosítja, hogy az elektromos
az ábra-oldalon található képére vonatkozik.
kéziszerszám biztonságos maradjon.
1 Be-/kikapcsoló
2 Fűrészlapmegvezetés*
Biztonsági előírások a habanyag
3 Fűrészlap-pár*
fűrészek számára
4 Talplemez
f Az elektromos kéziszerszámot csak a
5 Fogantyú (szigetelt fogantyú-felület)
szigetelt fogantyúfelületeknél fogva tartsa,
6 Csavar
ha olyan munkát végez, amelynek során a
7 Fedőlap
betétszerszám feszültség alatt álló, kívülről
nem látható vezetékekhez, vagy a készülék
8 Recézettfejű csavar
saját hálózati csatlakozó kábeljéhez érhet.
9 Talplemez szorítócsavar
Ha a berendezés egy feszültség alatt álló
*A képeken látható vagy a szövegben leírt tartozékok
vezetékhez ér, az elektromos kéziszerszám
részben nem tartoznak a standard szállítmányhoz.
fémrészei szintén feszültség alá kerülhetnek
Tartozékprogramunkban valamennyi tartozék
és áramütéshez vezethetnek.
megtalálható.
f Tartsa távol a kezét a fűrészelési területtől.
Ne nyúljon a megmunkálásra kerülő munka-
Műszaki adatok
darab alá. Ha megérinti a fűrészlapot,
sérülésveszély áll fenn.
Habanyag fűrész GSG 300
Professional
Cikkszám
0 601 575 1..
A működés leírása
Névleges felvett
teljesítmény
W 350
Olvassa el az összes biztonsági
figyelmeztetést és előírást.
Leadott teljesítmény
W 185
A következőkben leírt előírások
Üresjárati löketszám n
perc
-1
0
3200
betartásának elmulasztása
Terhelés alatti
áramütésekhez, tűzhöz és/vagy
löketszám
perc
-1
2100
súlyos testi sérülésekhez vezethet.
Legnagyobb vágási
Kérjük hajtsa ki a kihajtható ábrás oldalt, és
mélység
mm 300
hagyja így kihajtva, miközben ezt a kezelési
útmutatót olvassa.
Súly az „EPTA-Pro-
cedure 01/2003”
Rendeltetésszerű használat
(2003/01 EPTA-
eljárás) szerint
kg 1,6
Az elektromos kéziszerszám tetszőleges alakú,
habműanyagból, habgumiból és hasonló
Érintésvédelmi osztály
/II
nyersanyagokból készült anyagok vágására
Az adatok [U] = 230 V névleges feszültségre vonat-
szolgál.
koznak. Ettől eltérő feszültségek esetén és az egyes
országok számára készült különleges kivitelekben ezek
az adatok változhatnak.
Kérjük vegye figyelembe az elektromos kéziszerszáma
típustábláján található cikkszámot. Egyes elektromos
kéziszerszámoknak több különböző kereskedelmi
megnevezése is lehet.
3 609 929 B97 | (25.8.10) Bosch Power Tools

OBJ_BUCH-55-004.book Page 105 Wednesday, August 25, 2010 1:39 PM
Magyar | 105
Zaj és vibráció értékek
Megfelelőségi nyilatkozat
A zajmérési eredmények az EN 60745
Egyedüli felelőséggel kijelentjük, hogy a
szabványnak megfelelően kerültek
„Műszaki adatok” alatt leírt termék megfelel a
meghatározásra.
következő szabványoknak, illetve irányadó
A készülék A-értékelésű zajszintjének tipikus
dokumentumoknak: EN 60745 a 2004/108/EK,
értékei: hangnyomásszint 81 dB(A); hangtel-
2006/42/EK irányelveknek megfelelően.
jesítményszint 92 dB(A). Szórás K=3 dB.
A műszaki dokumentáció a következő helyen
Viseljen fülvédőt!
található:
A rezgési összérték (a három irányban mért
Robert Bosch GmbH, PT/ESC,
rezgés vektorösszege) az EN 60745
D-70745 Leinfelden-Echterdingen
szabványnak megfelelően került kiértékelésre:
Dr. Egbert Schneider
Dr. Eckerhard Strötgen
Rezgéskibocsátási érték, a
h
=2,5 m/s
2
, szórás,
Senior Vice President
Head of Product
K=1,5m/s
2
.
Engineering
Certification
Az ezen előírásokban megadott rezgésszint az
EN 60745 szabványban rögzített mérési mód-
szerrel került meghatározásra és az elektromos
kéziszerszámok összehasonlítására ez az érték
Robert Bosch GmbH, Power Tools Division
felhasználható. Ez az érték a rezgési terhelés
D-70745 Leinfelden-Echterdingen
ideiglenes becslésére is alkalmas.
Leinfelden, 17.05.2010
A megadott rezgésszint az elektromos kéziszer-
szám fő alkalmazási területein való használat
során fellépő érték. Ha az elektromos kéziszer-
Összeszerelés
számot más alkalmazásokra, eltérő betétszer-
számokkal vagy nem kielégítő karbantartás
f Az elektromos kéziszerszámon végzendő
mellett használják, a rezgésszint a fenti értéktől
bármely munka megkezdése előtt húzza ki a
eltérhet. Ez az egész munkaidőre vonatkozó
csatlakozó dugót a dugaszolóaljzatból.
rezgési terhelést lényegesen megnövelheti.
A rezgési terhelés pontos megbecsüléséhez
A fűrészlapmegvezetés felszerelése
figyelembe kell venni azokat az időszakokat is,
(lásd az „A” ábrát)
amikor a berendezés kikapcsolt állapotban van,
vagy amikor be van ugyan kapcsolva, de nem
Csavarja ki a házból a 6 csavarokat és távolítsa
kerül ténylegesen használatra. Ez az egész mun-
el ezeket. Tegye úgy fel a 2
kaidőre vonatkozó rezgési terhelést lényegesen
fűrészlapmegvezetést a házra, hogy a felvevő
csökkentheti.
peckek benyúljanak a megfelelő furatokba.
Hozzon kiegészítő biztonsági intézkedéseket a
Csavarozza rá a 2 fűrészlapmegvezetést a 6
kezelőnek a rezgések hatása elleni védelmére,
csavarokkal a házra.
például: Az elektromos kéziszerszám és a betét-
szerszámok karbantartása, a kezek melegen
tartása, a munkamenetek megszervezése.
Bosch Power Tools 3 609 929 B97 | (25.8.10)

OBJ_BUCH-55-004.book Page 106 Wednesday, August 25, 2010 1:39 PM
106 | Magyar
– A lehetőségek szerint használjon az
A fűrészlapok behelyezése/kicserélése
anyagnak megfelelő porelszívást.
(lásda„B”ábrát)
– Gondoskodjon a munkahely jó
f A fűrészlap felszereléséhez viseljen védő-
szellőztetéséről.
kesztyűt. A fűrészlap megérintése sérülés-
– Ehhez a munkához célszerű egy P2
veszéllyel jár.
szűrőosztályú porvédő álarcot használni.
Csavarja ki a 8 recézettfejű csavarokat és a
A feldolgozásra kerülő anyagokkal kapcsolat-
rugós alátétekkel és a 7 fedőlappal együtt vegye
ban tartsa be az adott országban érvényes
le ezeket.
előírásokat.
n Tegye be előbbalul a 3 fűrészlap-párt a
2 fűrészlapmegvezetésbe. Ügyeljen arra,
hogy a fűrészlapok hosszlyukai
Üzemeltetés
összekapcsolódjanak a
fűrészlapmegvezetés vezetőpeckével.
Üzembe helyezés
o Ezután akassza úgy be a 3 fűrészlap-párt a
f Ügyeljen a helyes hálózati feszültségre! Az
menesztőcsapba, hogy a fűrészlapok
áramforrás feszültségének meg kell
kifogástalan helyzetben helyezkedjenek el a
egyeznie az elektromos kéziszerszám
felvevő megvezetésben.
típustábláján található adatokkal. A
Tegye fel a 7 fedőlapot a házon található
230 V-os berendezéseket 220 V hálózati
menetes csapokra, majd a 8 recézettfejű
feszültségről is szabad üzemeltetni.
csavarokkal rögzítse azt. Ellenőrizze, hogy a
rugós alátétek a helyükre kerültek.
Be- és kikapcsolás
Az elektromos kéziszerszám üzembe
A talplemez felszerelése
helyezéséhez nyomja be és tartsa benyomva az
(lásda„C”ábrát)
1 be-/kikapcsolót.
Tegye be a 2 fűrészlapmegvezetést a 4
A benyomott 1 be-/kikapcsoló reteszeléséhez
talplemez megfelelő kivágásába. Húzza meg
tolja hátra a benyomott 1 be-/kikapcsolót.
szorosra a 9 szorítócsavart.
Az elektromos kéziszerszám kikapcsolásához
engedje el az 1 be-/kikapcsolót, illetve, ha az
Por- és forgácselszívás
reteszelve van, nyomja be rövid időre az
1 be-/kikapcsolót, majd engedje el azt.
f Az ólomtartalmú festékrétegek, egyes fafaj-
ták, ásványok és fémek pora egészségkárosí-
tó hatású lehet. A poroknak a kezelő vagy a
Munkavégzési tanácsok
közelben tartózkodó személyek által történő
f Az elektromos kéziszerszámon végzendő
megérintése vagy belégzése allergikus reak-
bármely munka megkezdése előtt húzza ki a
ciókhoz és/vagy a légutak megbetegedését
csatlakozó dugót a dugaszolóaljzatból.
vonhatja maga után.
Egyes faporok, például tölgy- és bükkfaporok
Fűrészlapok és fűrészlapmegvezetések
rákkeltő hatásúak, főleg ha a faanyag
A megmunkálásra kerülő anyag vastagságától
kezeléséhez más anyagok is vannak bennük
függően különböző fűrészlapmegevezetéseket
(kromát, favédő vegyszerek). A készülékkel
és az azokhoz tartozó különböző fűrészlapokat
azbesztet tartalmazó anyagokat csak
lehet használni, lásd ezzel kapcsolatban a
szakembereknek szabad megmunkálniuk.
tartozékok áttekintését.
3 609 929 B97 | (25.8.10) Bosch Power Tools

OBJ_BUCH-55-004.book Page 107 Wednesday, August 25, 2010 1:39 PM
Magyar | 107
Csúszógörgős talplemez
Ha az elektromos kéziszerszám a gondos
A habanyag fűrészt talplemezzel és anélkül is
gyártási és ellenőrzési eljárás ellenére egyszer
lehet használni. A csúszógörgőkkel felszerelt
mégis meghibásodna, akkor a javítással csak
talplemez alkalmazásával a fűrészt könnyen
Bosch elektromos kéziszerszám-műhely
lehet derékszögben vezetni.
ügyfélszolgálatát szabad megbízni.
Tetszőleges alakú alkatrészek vágásához és
Ha kérdései vannak, vagy pótalkatrészeket akar
kivágások létrehozásához a legcélszerűbb
megrendelni, okvetlenül adja meg az elektromos
talplemez nélkül dolgozni.
kéziszerszám típustábláján található 10-jegyű
cikkszámot.
Habanyagok megmunkálása
Pontos kivágások létrehozásához, főleg puha
Vevőszolgálat és tanácsadás
habanyagok megmunkálása esetén, csak
A vevőszolgálat a terméke javításával és karban-
kismértékű előtolással dolgozzon. A
tartásával, valamint a pótalkatrészekkel kapcso-
megmunkálás során ne nyomja meg és ne
latos kérdésekre szívesen válaszol. A tartalékal-
feszítse szét túlságosan az anyagot.
katrészekkel kapcsolatos robbantott ábrák és
Kisebb kivágások létrehozásához szerelje le a
egyéb információ a következő címen találhatók:
talplemezt. Szúrjon bele egy késsel vagy ollóval
www.bosch-pt.com
az anyagba, majd dugja bele ebbe az így
A Bosch Vevőszolgálat szívesen segít Önnek, ha
létrehozott nyílásba a fűrészlapmegvezetést és
a termékek és tartozékok vásárlásával,
munkálja meg a kivágást.
alkalmazásával és beállításával kapcsolatos
Nagyobb kivágásokhoz hozzon létre akkor
kérdései vannak.
beszúró nyílást, hogy a fűrészlapmegvezetést az
Magyar
arra felszerelt talplemezzel együtt át tudja azon
Robert Bosch Kft.
dugni. Gondoskodjon arról, hogy az alapon ne
1103 Budapest
legyenek akadályok. Vezesse végig az
Gyömrői út. 120.
elektromos kéziszerszámot mérsékelt
Tel.: +36 (01) 431-3835
nyomással a kivágandó vonalon.
Fax: +36 (01) 431-3888
Eltávolítás
Karbantartás és szerviz
Az elektromos kéziszerszámokat, a tartozékokat
és a csomagolást a környezetvédelmi szempont-
oknak megfelelően kell újrafelhasználásra előké-
Karbantartás és tisztítás
szíteni.
f Az elektromos kéziszerszámon végzendő
Ne dobja ki az elektromos kéziszerszámokat a
bármely munka megkezdése előtt húzza ki a
háztartási szemétbe!
csatlakozó dugót a dugaszolóaljzatból.
Csak az EU-tagországok számára:
f Tartsa mindig tisztán az elektromos kézi-
Az elhasznált villamos és
szerszámot és annak szellőzőnyílásait, hogy
elektronikus berendezésekre
jól és biztonságosan dolgozhasson.
vonatkozó 2002/96/EK európai
Rendszeresen, vagyis kb. 8 üzemóránként
irányelvnek és a megfelelő
tisztítsa meg a fűrészlapmegvezetést és a
országos törvényekbe való
fűrészlapokat. Ehhez vegye ki a fűrészlapokat az
átültetésének megfelelően a már nem
elektromos kéziszerszámból. A fűrészlapokat
használható elektromos kéziszerszámokat külön
legcélszerűbb benzinnel megtisztítani. A
össze kell gyűjteni és a környezetvédelmi
fűrészlapmegvezetés tisztítására szükség
szempontoknak megfelelően kell
esetén használjon egy hántolókést. Új, illetve
újrafelhasználásra leadni.
újraélesített fűrészlapok beszerelése előtt
olajozza kissé be a fűrészlapmegvezetést.
A változtatások joga fenntartva.
Bosch Power Tools 3 609 929 B97 | (25.8.10)

OBJ_BUCH-55-004.book Page 108 Wednesday, August 25, 2010 1:39 PM
108 | Русский
ru
Указания по безопасности
б) Предотвращайте телесный контакт с
заземленными поверхностями, как то:
с трубами, элементами отопления, ку-
Общие указания по технике безопас-
хонными плитами и холодильниками.
ности для электроинструментов
При заземлении Вашего тела повышает-
Прочтите все указа-
ся риск поражения электротоком.
ния и инструкции по
в) Защищайте электроинструмент от
технике безопасности. Несоблюдение
дождя и сырости. Проникновение воды
указаний и инструкций по технике
в электроинструмент повышает риск
безопасности может стать причиной
поражения электротоком.
поражения электрическим током, пожара и
тяжелых травм.
г) Не разрешается использовать шнур не
по назначению, например, для транс-
Сохраняйте эти инструкции и указания для
портировки или подвески электроин-
будущего использования.
струмента, или для вытягивания вилки
Использованное в настоящих инструкциях и
из штепсельной розетки. Защищайте
указаниях понятие «электроинструмент» рас-
шнур от воздействия высоких темпе-
пространяется на электроинструмент с пита-
ратур, масла, острых кромок или под-
нием от сети (с сетевым шнуром) и на акку-
вижных частей электроинструмента.
муляторный электроинструмент (без сетевого
Поврежденный или спутанный шнур по-
шнура).
вышает риск поражения электротоком.
1) Безопасность рабочего места
д) При работе с электроинструментом
под открытым небом применяйте при-
а) Содержите рабочее место в чистоте и
годные для этого кабели-удлинители.
хорошо освещенным. Беспорядок или
Применение пригодного для работы под
неосвещенные участки рабочего места
открытым небом кабеля-удлинителя сни-
могут привести к несчастным случаям.
жает риск поражения электротоком.
б) Не работайте с этим электроинстру-
е) Если невозможно избежать
ментом во взрывоопасном помеще-
применения электроинструмента в
нии, в котором находятся горючие
сыром помещении, подключайте
жидкости, воспламеняющиеся газы
электроинструмент через устройство
или пыль. Электроинструменты искрят,
защитного отключения. Применение
что может привести к воспламенению
устройства защитного отключения
пыли или паров.
снижает риск электрического
в) Во время работы с электроинструмен-
поражения.
том не допускайте близко к Вашему
рабочему месту детей и посторонних
3) Безопасность людей
лиц. Отвлекшись, Вы можете потерять
а) Будьте внимательными, следите за
контроль над электроинструментом.
тем, что Вы делаете, и продуманно на-
чинайте работу с электроинструмен-
2) Электробезопасность
том. Не пользуйтесь электроинстру-
а) Штепсельная вилка электроинструмен-
ментом в усталом состоянии или если
та должна подходить к штепсельной
Вы находитесь в состоянии наркоти-
розетке. Ни в коем случае не изменяй-
ческого или алкогольного опьянения
те штепсельную вилку. Не применяйте
или под воздействием лекарств. Один
переходные штекеры для электроин-
момент невнимательности при работе с
струментов с защитным заземлением.
электроинструментом может привести к
Неизмененные штепсельные вилки и
серьезным травмам.
подходящие штепсельные розетки сни-
жают риск поражения электротоком.
3 609 929 B97 | (25.8.10) Bosch Power Tools

OBJ_BUCH-55-004.book Page 109 Wednesday, August 25, 2010 1:39 PM
Русский | 109
б) Применяйте средства индивидуальной
4) Применение электроинструмента и
защиты и всегда защитные очки.
обращение с ним
Использование средств индивидуальной
а) Не перегружайте электроинструмент.
защиты, как то: защитной маски, обуви
Используйте для Вашей работы пред-
на нескользящей подошве, защитного
назначенный для этого электроинстру-
шлема или средств защиты органов
мент. С подходящим электроинструмен-
слуха, – в зависимости от вида работы с
том Вы работаете лучше и надежнее в
электроинструментом снижает риск
указанном диапазоне мощности.
получения травм.
б) Не работайте с электроинструментом
в) Предотвращайте непреднамеренное
при неисправном выключателе.
включение электроинструмента. Перед
Электроинструмент, который не
подключением электроинструмента к
поддается включению или выключению,
электропитанию и/или к аккумулятору
опасен и должен быть отремонтирован.
убедитесь в выключенном состоянии
в) До начала наладки электроинструмен-
электроинструмента. Удержание пальца
та, перед заменой принадлежностей и
на выключателе при транспортировке
прекращением работы отключайте
электроинструмента и подключение к
штепсельную вилку от розетки сети
сети питания включенного электро-
и/или выньте аккумулятор. Эта мера
инструмента чревато несчастными
предосторожности предотвращает не-
случаями.
преднамеренное включение электро-
г) Убирайте установочный инструмент
инструмента.
или гаечные ключи до включения
г) Храните электроинструменты в
электроинструмента. Инструмент или
недоступном для детей месте. Не
ключ, находящийся во вращающейся
разрешайте пользоваться электроин-
части электроинструмента, может при-
струментом лицам, которые не зна-
вести к травмам.
комы с ним или не читали настоящих
д) Не принимайте неестественное поло-
инструкций. Электроинструменты
жение корпуса тела. Всегда занимайте
опасны в руках неопытных лиц.
устойчивое положение и сохраняйте
д) Тщательно ухаживайте за электроин-
равновесие. Благодаря этому Вы
струментом. Проверяйте безупречную
можете лучше контролировать электро-
функцию и ход движущихся частей
инструмент в неожиданных ситуациях.
электроинструмента, отсутствие поло-
мок или повреждений, отрицательно
е) Носите подходящую рабочую одежду.
влияющих на функцию электроинстру-
Не носите широкую одежду и украше-
мента. Поврежденные части должны
ния. Держите волосы, одежду и рука-
быть отремонтированы до использова-
вицы вдали от движущихся частей.
ния электроинструмента. Плохое обслу-
Широкая одежда, украшения или длин-
живание электроинструментов является
ные волосы могут быть затянуты вра-
причиной большого числа несчастных
щающимися частями.
случаев.
ж)При наличии возможности установки
е) Держите режущий инструмент в зато-
пылеотсасывающих и пылесборных
ченном и чистом состоянии. Заботливо
устройств проверяйте их присоеди-
ухоженные режущие инструменты с
нение и правильное использование.
острыми режущими кромками реже
Применение пылеотсоса может снизить
заклиниваются и их легче вести.
опасность, создаваемую пылью.
ж)Применяйте электроинструмент, при-
надлежности, рабочие инструменты и
т.п. в соответствии с настоящими ин-
струкциями. Учитывайте при этом ра-
Bosch Power Tools 3 609 929 B97 | (25.8.10)

OBJ_BUCH-55-004.book Page 110 Wednesday, August 25, 2010 1:39 PM
110 | Русский
бочие условия и выполняемую работу.
Использование электроинструментов
Изображенные составные части
для непредусмотренных работ может
Нумерация представленных компонентов
привести к опасным ситуациям.
выполнена по изображению на странице с
иллюстрациями.
5) Сервис
1 Выключатель
а) Ремонт Вашего электроинструмента
2 Направляющая пилок*
поручайте только квалифицированно-
му персоналу и только с применением
3 Пара пилок*
оригинальных запасных частей. Этим
4 Опорная плита
обеспечивается безопасность
5 Рукоятка (с изолированной поверхностью)
электроинструмента.
6 Винт
7 Закрывающая плитка
Указания по технике безопасности для
8 Винт с накаткой
пил для пенопласта
9 Винт крепления опорной плиты
f При выполнении работ, при которых
*Изображенные или описанные принадлежности не
рабочий инструмент может задеть
входят в стандартный объем поставки. Полный
скрытую электропроводку или
ассортимент принадлежностей Вы найдете в нашей
собственный сетевой кабель, держите
программе принадлежностей.
электроинструмент за изолированные
ручки. Контакт с находящейся под
Технические данные
напряжением проводкой может заряжать
металлические части электроинструмента и
Пила для
GSG 300
приводить к удару электрическим током.
пеноматериалов
Professional
f Не подставляйте руки в зону пиления. Не
подсовывайте руки под заготовку. При
Товарный №
0 601 575 1..
контакте с пильным полотном возникает
Ном. потребляемая
опасность травмирования.
мощность
Вт 350
Полезная мощность
Вт 185
Частота ходов на
Описание функции
холостом ходу n
-1
0
мин
3200
Прочтите все указания и инструк-
Число ходов под
ции по технике безопасности. Упу-
нагрузкой
мин
-1
2100
щения в отношении указаний и
инструкций по технике безопас-
Глубина резания,
ности могут стать причиной
макс.
мм 300
поражения электрическим током,
Вес согласно EPTA-
пожара и тяжелых травм.
Procedure 01/2003
кг 1,6
Пожалуйста, откройте раскладную страницу с
Класс защиты
/II
иллюстрациями электроинструмента и остав-
ляйте ее открытой, пока Вы изучаете
Параметры указаны для номинального напряжения
[U] 230 В. При других значениях напряжения, а
руководство по эксплуатации.
также в специфическом для страны исполнении
инструмента возможны иные параметры.
Применение по назначению
Пожалуйста, учитывайте товарный номер на
Электроинструмент предназначен для
заводской табличке Вашего электроинструмента.
вырезания любых форм из пенопласта,
Торговые названия отдельных электроинструментов
могут различаться.
пенистой резины и подобных материалов.
3 609 929 B97 | (25.8.10) Bosch Power Tools

OBJ_BUCH-55-004.book Page 111 Wednesday, August 25, 2010 1:39 PM
Русский | 111
Данные по шуму и вибрации
Заявление о соответствии
Уровень шума определен в соответствии с
С полной ответственностью мы заявляем, что
европейской нормой EN 60745.
описанный в разделе «Технические данные»
А-взвешенный уровень шума от
продукт соответствует нижеследующим
электроинструмента составляет обычно:
стандартам или нормативным документам:
уровень звукового давления 81 дБ(А);
EN 60745 согласно положениям Директив
уровень звуковой мощности 92 дБ(А).
2004/108/ЕС, 2006/42/EС.
Недостоверность K=3 дБ.
Техническая документация:
Применяйте средства защиты органов слуха!
Robert Bosch GmbH, PT/ESC,
Общие значения колебания (векторная сумма
D-70745 Leinfelden-Echterdingen
трех направлений) определены согласно
Dr. Egbert Schneider
Dr. Eckerhard Strötgen
EN 60745:
Senior Vice President
Head of Product
вибрация a
h
=2,5 м/с
2
, погрешность
Engineering
Certification
K =1,5 м/с
2
.
Указанный в настоящих инструкциях уровень
вибрации измерен по методике измерения,
прописанной в стандарте EN 60745, и может
Robert Bosch GmbH, Power Tools Division
быть использован для сравнения
D-70745 Leinfelden-Echterdingen
электроинструментов. Он пригоден также для
Leinfelden, 17.05.2010
предварительной оценки вибрационной
нагрузки.
Уровень вибрации указан для основных видов
Сборка
работы с электроинструментом. Однако если
электроинструмент будет использован для
f Перед любыми манипуляциями с
выполнения других работ с применением
электроинструментом вытаскивайте
рабочих инструментов, не предусмотренных
штепсель из розетки.
изготовителем, или техническое об-
служивание не будет отвечать предписаниям,
Установка направляющей пилок
то уровень вибрации может быть иным. Это
(см. рис. А)
может значительно повысить вибрационную
нагрузку в течение всей продолжительности
Вывиньтите винты 6 из корпуса и удалите их.
работы.
Вставьте направляющую пилок 2 в корпус так,
Для точной оценки вибрационной нагрузки в
чтобы посадочные штифты входили в
течение определенного временного
соответствующие отверстия. Привинтите
интервала нужно учитывать также и время,
направляющую пилок 2 винтами 6 к корпусу.
когда инструмент выключен или, хотя и
включен, но не находится в работе. Это может
значительно сократить нагрузку от вибрации в
расчете на полное рабочее время.
Предусмотрите дополнительные меры без-
опасности для защиты оператора от воздейст-
вия вибрации, например: техническое обслу-
живание электроинструмента и рабочих ин-
струментов, меры по поддержанию рук в
тепле, организация технологических про-
цессов.
Bosch Power Tools 3 609 929 B97 | (25.8.10)

OBJ_BUCH-55-004.book Page 112 Wednesday, August 25, 2010 1:39 PM
112 | Русский
– По возможности используйте
Установка/смена пилок (см. рис. В)
пригодный для материала пылеотсос.
f При установке пильного полотна надевай-
– Хорошо проветривайте рабочее место.
те защитные перчатки. Прикосновение к
– Рекомендуется пользоваться респира-
пильному полотну чревато травмами.
торной маской с фильтром класса Р2.
Вывинтите винты с накаткой 8 и снимите их
Соблюдайте действующие в Вашей стране
вместе с пружинными кольцами и с
предписания для обрабатываемых
закрывающей плиткой 7.
материалов.
n Сначала вставьте пару пилок 3 внизу в
направляющую 2. Следите за тем, чтобы
продольный шлиц пилок зацеплялся за
поводковый штифт направляющей пилок.
Работа с инструментом
o Затем завесьте пару пилок 3 на
поводковую цапфу так, чтобы пилки
Включение электроинструмента
безукоризнено сидели в креплении.
f Учитывайте напряжение сети!
Установите закрывающую плитку 7 на
Напряжение источника тока должно
резьбовые шпильки корпуса и закрепите
соответствовать данным на заводской
плитку винтами с накаткой 8. Проверьте
табличке электроинструмента.
наличие пружинных колец.
Электроинструменты на 230 В могут
работать также и при напряжении 220 В.
Установка опорной плиты (см. рис. С)
Включение/выключение
Вставьте направляющую пилок 2 в
Для включения электроинструмента нажмите
соответствующий вырез в опорной плите 4.
на выключатель 1 и держите его нажатым.
Затяните крепежный винт 9.
Для фиксирования нажатого выключателя 1
передвиньте последний 1 назад.
Отсос пыли и стружки
Для выключения электроинструмента отпустите
f Пыль некоторых материалов, как напр.,
выключатель 1 или, если он зафиксирован,
красок с содержанием свинца, некоторых
нажмите коротко на выключатель 1 и затем
сортов древесины, минералов и металлов,
отпустите его.
может быть вредной для здоровья.
Прикосновение к пыли и попадание пыли в
Указания по применению
дыхательные пути может вызвать
аллергические реакции и/или заболевания
f Перед любыми манипуляциями с
дыхательных путей оператора или
электроинструментом вытаскивайте
находящегося вблизи персонала.
штепсель из розетки.
Определенные виды пыли, напр., дуба и
Пилки и их направляющие
бука, считаются канцерогенными, особен-
но совместно с присадками для обработки
В зависимости от толщины обрабатываемого
древесины (хромат, средство для защиты
материала могут быть установлены различные
древесины). Материал с содержанием ас-
направляющие пилок и соответствующие
беста разрешается обрабатывать только
пилки, см. Обзор принадлежностей.
специалистам.
3 609 929 B97 | (25.8.10) Bosch Power Tools

OBJ_BUCH-55-004.book Page 113 Wednesday, August 25, 2010 1:39 PM
Русский | 113
Опорная плита с роликами скольжения
Если электроинструмент, несмотря на тщатель-
Вы можете применять пилу для
ные методы изготовления и испытания, вый-
пеноматериалов как с опорной плитой, так и
дет из строя, то ремонт следует производить
без опорной плиты. Оснащенная роликами
силами авторизованной сервисной мастер-
скольжения опорная плита позволяет легко и
ской для электроинструментов фирмы Bosch.
под прямым углом вести пилу.
Пожалуйста, во всех запросах и заказах
Для вырезки любых форм и для изготовления
запчастей обязательно указывайте 10-
вырезов лучше работать без опорной плиты.
значный товарный номер по заводской
табличке электроинструмента.
Обработка пеноматериала
Для выполнения точных резов, особенно в
Сервиснoe обслуживаниe и
мягких пеноматериалах и аналогичных
консультация покупатeлeй
материалах работайте только с умеренной
подачей. Не слишком сильно поворачивайте и
Сервисный отдел ответит на все Ваши вопро-
нажимайте на материал при обработке.
сы по ремонту и обслуживанию Вашего про-
Для изготовления маленьких вырезов снимайте
дукта, а также по запчастям. Монтажные
опорную плиту. Сначала проткните ножом или
чертежи и информацию по запчастям Вы
ножницами материал, вставьте в отверстие
найдете также по адресу:
направляющую пилок и выполните вырез.
www.bosch-pt.com
Коллектив консультантов Bosch охотно помо-
Для изготовления больших вырезов сделайте
жет Вам в вопросах покупки, применения и
начальное отверстие таким большим, чтобы
настройки продуктов и принадлежностей.
можно было вставить направляющую пилок с
установленной опорной плитой. Следите за тем,
Для региона: Россия, Беларусь, Казахстан
чтобы нижняя сторона материала была чистой
Гарантийное обслуживание и ремонт электро-
от препятствий. Ведите электроинструмент с
инструмента, с соблюдением требований и
умеренным давлением по линии выреза.
норм изготовителя производятся на
территории всех стран только в фирменных
или авторизованных сервисных центрах
«Роберт Бош».
Техобслуживание и сервис
ПРЕДУПРЕЖДЕНИЕ! Использование контра-
фактной продукции опасно в эксплуатации,
Техобслуживание и очистка
может привести к ущербу для Вашего здоровья.
f Перед любыми манипуляциями с
Изготовление и распространение контра-
электроинструментом вытаскивайте
фактной продукции преследуется по Закону в
штепсель из розетки.
административном и уголовном порядке.
f Для обеспечения качественной и безопас-
Россия
ной работы следует постоянно содержать
ООО «Роберт Бош»
электроинструмент и вентиляционные
Сервисный центр по обслуживанию
щели в чистоте.
электроинструмента
Регулярно, приблизительно через каждые
ул. Академика Королева, стр. 13/5
8 рабочих часов, очищайте направляющую
129515, Москва
пилок и сами пилки. Для этого выньте пилки из
Россия
электроинструмента и выполните чистку,
Тел.: +7 (800) 100 800 7
лучше всего, бензином. При надобности
E-Mail: pt-service@ru.bosch.com
воспользуйтесь шабером для очистки
Полную информацию о расположении
направляющей пилок. Смажьте слегка
сервисных центров Вы можете получить на
направляющие пилок перед установкой новых
официальном сайте www.bosch-pt.ru либо по
или заточенных пилок.
телефону справочно-сервисной службы Bosch
8-800-100-8007 (звонок бесплатный).
Bosch Power Tools 3 609 929 B97 | (25.8.10)

OBJ_BUCH-55-004.book Page 114 Wednesday, August 25, 2010 1:39 PM
114 | Русский
Беларусь
Утилизация
ИП «Роберт Бош» ООО
Сервисный центр по обслуживанию
Отслужившие свой срок электроинструменты,
электроинструмента
принадлежности и упаковку следует сдавать на
ул. Тимирязева, 65А-020
экологически чистую рекуперацию отходов.
220035, г. Минск
Не выбрасывайте электроинструменты в
Беларусь
бытовой мусор!
Тел.: +375 (17) 254 78 71
Тел.: +375 (17) 254 79 15/16
Только для стран-членов ЕС:
Факс: +375 (17) 254 78 75
В соответствии с европейской
E-Mail: pt-service@by.bosch.com
директивой 2002/96/EС об
Официальный сайт: www.bosch-pt.by
отработанных электрических и
электронных приборах и ее
Казахстан
претворением в национальное
ТОО «Роберт Бош»
законодательство отслужившие
Сервисный центр по обслуживанию
электрические и электронные приборы нужно
электроинструмента
собирать отдельно и сдавать на экологически
ул. Сейфуллина 51
чистую рекуперацию.
050037 г. Алматы
Казахстан
Возможны изменения.
Тел.: +7 (727) 232 37 07
Факс: +7 (727) 251 13 36
E-Mail: pt-service@kz.bosch.com
Официальный сайт: www.bosch-pt.kz
ME77
3 609 929 B97 | (25.8.10) Bosch Power Tools

OBJ_BUCH-55-004.book Page 115 Wednesday, August 25, 2010 1:39 PM
Українська | 115
uk
Вказівки з техніки безпеки
в) Захищайте прилад від дощу і вологи.
Попадання води в електроприлад
збільшує ризик ураження електричним
Загальні застереження для
струмом.
електроприладів
г) Не використовуйте кабель для перене-
Прочитайте всі засте-
сення електроприладу, підвішування
реження і вказівки.
або витягування штепселя з розетки.
Недотримання застережень і вказівок може
Захищайте кабель від тепла, олії,
призвести до ураження електричним струмом,
гострих країв та деталей приладу, що
пожежі та/або серйозних травм.
рухаються. Пошкоджений або
Добре зберігайте на майбутнє ці поперед-
закручений кабель збільшує ризик
ження і вказівки.
ураження електричним струмом.
Під поняттям «електроприлад» в цих застере-
д) Для зовнішніх робіт обов’язково вико-
женнях мається на увазі електроприлад, що
ристовуйте лише такий подовжувач,
працює від мережі (з електрокабелем) або від
що придатний для зовнішніх робіт.
акумуляторної батареї (без електрокабелю).
Використання подовжувача, що
1) Безпека на робочому місці
розрахований на зовнішні роботи,
а) Тримайте своє робоче місце в чистоті і
зменшує ризик ураження електричним
забезпечте добре освітлення робочого
струмом.
місця. Безлад або погане освітлення на
е) Якщо не можна запобігти використан-
робочому місці можуть призвести до
ню електроприладу у вологому сере-
нещасних випадків.
довищі, використовуйте пристрій
б) Не працюйте з електроприладом у
захисного вимкнення. Використання
середовищі, де існує небезпека вибуху
пристрою захисного вимкнення
внаслідок присутності горючих рідин,
зменшує ризик ураження електричним
газів або пилу. Електроприлади можуть
струмом.
породжувати іскри, від яких може
3) Безпека людей
займатися пил або пари.
а) Будьте уважними, слідкуйте за тим, що
в) Під час праці з електроприладом не
Ви робите, та розсудливо поводьтеся
підпускайте до робочого місця дітей та
під час роботи з електроприладом. Не
інших людей. Ви можете втратити
користуйтеся електроприладом, якщо
контроль над приладом, якщо Ваша
Ви стомлені або знаходитеся під дією
увага буде відвернута.
наркотиків, спиртних напоїв або ліків.
2) Електрична безпека
Мить неуважності при користуванні
а) Штепсель електроприладу повинен
електроприладом може призвести до
підходити до розетки. Не дозволяється
серйозних травм.
міняти щось в штепселі. Для роботи з
б) Вдягайте особисте захисне споряд-
електроприладами, що мають захисне
ження та обов’язково вдягайте захисні
заземлення, не використовуйте
окуляри. Вдягання особистого захис-
адаптери. Використання оригінального
ного спорядження, як напр., – в залеж-
штепселя та належної розетки зменшує
ності від виду робіт – захисної маски,
ризик ураження електричним струмом.
спецвзуття, що не ковзається, каски та
б) Уникайте контакту частин тіла із зазем-
навушників, зменшує ризик травм.
леними поверхнями, як напр., трубами,
в) Уникайте випадкового вмикання. Перш
батареями опалення, плитами та холо-
ніж ввімкнути електроприлад в
дильниками. Коли Ваше тіло заземлене,
електромережу або під’єднати аку-
існує збільшена небезпека ураження
муляторну батарею, брати його в руки
електричним струмом.
або переносити, впевніться в тому, що
Bosch Power Tools 3 609 929 B97 | (25.8.10)

OBJ_BUCH-55-004.book Page 116 Wednesday, August 25, 2010 1:39 PM
116 | Українська
електроприлад вимкнутий. Тримання
в) Перед тим, як регулювати що-небудь
пальця на вимикачі під час перенесення
на приладі, міняти приладдя або ховати
електроприладу або підключення в
прилад, витягніть штепсель із розетки
розетку увімкнутого приладу може
та/або витягніть акумуляторну бата-
призвести до травм.
рею. Ці попереджувальні заходи з
г) Перед тим, як вмикати електроприлад,
техніки безпеки зменшують ризик
приберіть налагоджувальні інструмен-
випадкового запуску приладу.
ти та гайковий ключ. Перебування на-
г) Ховайте електроприлади, якими Ви
лагоджувального інструмента або ключа
саме не користуєтесь, від дітей. Не доз-
в частині приладу, що обертається, може
воляйте користуватися
призвести до травм.
електроприладом особам, що не
д) Уникайте неприродного положення
знайомі з його роботою або не читали
тіла. Зберігайте стійке положення та
ці вказівки. У разі застосування
завжди зберігайте рівновагу. Це дозво-
недосвідченими особами прилади
лить Вам краще зберігати контроль над
несуть в собі небезпеку.
електроприладом у несподіваних ситуа-
д) Старанно доглядайте за електроприла-
ціях.
дом. Перевіряйте, щоб рухомі деталі
е) Вдягайте придатний одяг. Не вдягайте
приладу бездоганно працювали та не
просторий одяг та прикраси. Не під-
заїдали, не були пошкодженими або
ставляйте волосся, одяг та рукавиці до
настільки пошкодженими, щоб це
деталей приладу, що рухаються. Про-
могло вплинути на функціонування
сторий одяг, довге волосся та прикраси
електроприладу. Пошкоджені деталі
можуть потрапити в деталі, що руха-
треба відремонтувати, перш ніж
ються.
користуватися ними знов. Велика
кількість нещасних випадків
ж)Якщо існує можливість монтувати пи-
спричиняється поганим доглядом за
ловідсмоктувальні або пилоуловлюючі
електроприладами.
пристрої, переконайтеся, щоб вони
були добре під’єднані та правильно
е) Тримайте різальні інструменти на-
використовувалися. Використання
гостреними та в чистоті. Старанно
пиловідсмоктувального пристрою може
доглянуті різальні інструменти з гострим
зменшити небезпеки, зумовлені пилом.
різальним краєм менше застряють та
легші в експлуатації.
4) Правильне поводження та користування
ж)Використовуйте електроприлад, при-
електроприладами
ладдя до нього, робочі інструменти т.і.
а) Не перевантажуйте прилад. Використо-
відповідно до цих вказівок. Беріть до
вуйте такий прилад, що спеціально
уваги при цьому умови роботи та спе-
призначений для відповідної роботи.
цифіку виконуваної роботи. Викорис-
З придатним приладом Ви з меншим
тання електроприладів для робіт, для
ризиком отримаєте кращі результати
яких вони не передбачені, може
роботи, якщо будете працювати в зазна-
призвести до небезпечних ситуацій.
ченому діапазоні потужності.
5) Сервіс
б) Не користуйтеся електроприладом з
пошкодженим вимикачем. Електро-
а) Віддавайте свій прилад на ремонт лише
прилад, який не можна увімкнути або
кваліфікованим фахівцям та лише з ви-
вимкнути, є небезпечним і його треба
користанням оригінальних запчастин.
відремонтувати.
Це забезпечить безпечність приладу на
довгий час.
3 609 929 B97 | (25.8.10) Bosch Power Tools

OBJ_BUCH-55-004.book Page 117 Wednesday, August 25, 2010 1:39 PM
Українська | 117
Вказівки з техніки безпеки для пилок
Технічні дані
для пінопласту
Пила для пінопласту GSG 300
f При роботах, коли робочий інструмент
Professional
може зачепити заховану електропровод-
ку або власний шнур живлення, тримайте
Товарний номер
0 601 575 1..
електроінструмент за ізольовані рукоят-
Ном. споживана
ки. Зачеплення проводки, що знаходиться
потужність
Вт 350
під напругою, може заряджувати також і
металеві частини електроінструмента та
Корисна потужність
Вт 185
призводити до удару електричним струмом.
Частота ходів на
f Не підставляйте руки в зону розпилюван-
холостому ходу n
0
хвил.
-1
3200
ня. Не беріться рукою під оброблюваною
деталлю. Контакт з пилковим полотном
Частота ходів під
чреватий пораненням.
навантаженням
хвил.
-1
2100
Макс. глибина
пропилювання
мм 300
Описання принципу роботи
Вага відповідно до
Прочитайте всі застереження і
EPTA-Procedure
вказівки. Недотримання застере-
01/2003
кг 1,6
жень і вказівок може призвести до
Клас захисту
/II
ураження електричним струмом,
пожежі та/або серйозних травм.
Параметри зазначені для номінальної напруги [U]
Будь ласка, розгорніть сторінку із зображен-
230 В. При інших значеннях напруги, а також у
ням приладу і тримайте її перед собою увесь
специфічному для країни виконанні можливі інші
параметри.
час, коли будете читати інструкцію.
Будь ласка, зважайте на товарний номер, зазначений
на заводській табличці Вашого електроприладу.
Призначення приладу
Торговельна назва деяких приладів може
Електроінструмент призначений для вирізання
розрізнятися.
будь-яких форм з пінопласту, пінистої гуми та
аналогічних матеріалів.
Зображені компоненти
Інформація щодо шуму і вібрації
Нумерація зображених компонентів
Рівень шумів визначений відповідно до
посилається на зображення електроприладу
європейської норми EN 60745.
на сторінці з малюнком.
Оцінений як А рівень звукового тиску від при-
1 Вимикач
ладу, як правило, становить: звукове наванта-
2 Напрямна пилкових полотен*
ження 81 дБ(A); звукова потужність 92 дБ(A).
3 Подвійне пилкове полотно*
Похибка K=3 дБ.
4 Опорна плита
Вдягайте навушники!
5 Рукоятка (з ізольованою поверхнею)
Загальна вібрація (векторна сума трьох на-
6 Гвинт
прямків), визначена відповідно до EN 60745:
7 Захисний щиток
вібрація a
2
h
=2,5 м/с
2
, похибка K =1,5 м/с
.
8 Гвинт з накатаною головкою
9 Стяжний гвинт опорної плити
*Зображене або описане приладдя не входить в
стандартний обсяг поставки. Повний асортимент
приладдя Ви знайдете в нашій програмі приладдя.
Bosch Power Tools 3 609 929 B97 | (25.8.10)

OBJ_BUCH-55-004.book Page 118 Wednesday, August 25, 2010 1:39 PM
118 | Українська
Зазначений в цих вказівках рівень вібрації
Монтаж
вимірювався за процедурою, визначеною в
EN 60745; нею можна користуватися для по-
f Перед будь-якими маніпуляціями з
рівняння приладів. Він придатний також і для
електроприладом витягніть штепсель з
попередньої оцінки вібраційного наванта-
розетки.
ження.
Зазначений рівень вібрації стосується голов-
Монтаж напрямної пилкових полотен
них робіт, для яких застосовується електро-
(див. мал. A)
прилад. Однак при застосуванні електроприла-
Відпустіть гвинти 6 на корпусі та викрутіть їх.
ду для інших робіт, роботі з іншими робочими
Приставте напрямну пилкових полотен 2 до
інструментами або при недостатньому техніч-
корпусу таким чином, щоб установочні
ному обслуговуванні рівень вібрації може бути
штифти увійшли у відповідні отвори.
іншим. В результаті вібраційне навантаження
Прикрутіть напрямну пилкових полотен 2
протягом всього інтервалу використання
гвинтами 6 до корпусу.
приладу може значно зростати.
Для точної оцінки вібраційного навантаження
треба враховувати також і інтервали часу, коли
Встромляння/заміна пилкових
прилад вимкнутий або, хоч і увімкнутий, але
полотен (див. мал. B)
саме не в роботі. Це може значно зменшити
f Для монтажу пилкового полотна вдягайте
вібраційне навантаження протягом всього
захисні рукавиці. Торкання до пилкового
інтервалу використання приладу.
полотна чревате пораненням.
Визначте додаткові заходи безпеки для захис-
Відпустіть гвинти з накатаною головкою 8 та
ту від вібрації працюючого з приладом, як
вийміть їх разом з пружинними кільцями та
напр.: технічне обслуговування електропри-
захисним щитком 7.
ладу і робочих інструментів, нагрівання рук,
організація робочих процесів.
n Встроміть подвійне пилкове полотно 3
спочатку знизу у напрямну пилкових
полотен 2. Слідкуйте за тим, щоб довгасті
Заява про відповідність
прорізи в пилкових полотнах сіли на
Ми заявляємо під нашу виключну відповідаль-
напрямний штифт напрямної пилкових
ність, що описаний в «Технічні дані» продукт
полотен.
відповідає таким нормам або нормативним
o Після цього посадіть подвійне пилкове
документам: EN 60745 у відповідності до поло-
полотно 3 на повідцевий палець таким
жень директив 2004/108/EC, 2006/42/EC.
чином, щоб пилкові полотна бездоганно
Технічні документи в:
сіли в установочну напрямну.
Robert Bosch GmbH, PT/ESC,
Встановіть захисний щиток 7 на нарізні
D-70745 Leinfelden-Echterdingen
штифти на корпусі та прикрутіть його
Dr. Egbert Schneider
Dr. Eckerhard Strötgen
гвинтами з накатаною головкою 8. Не забудьте
Senior Vice President
Head of Product
підкласти пружинні кільця.
Engineering
Certification
Монтаж опорної плити (див. мал. C)
Встроміть напрямну пилкових полотен 2 у
відповідний проріз в опорній плиті 4. Міцно
Robert Bosch GmbH, Power Tools Division
затягніть стяжний гвинт 9.
D-70745 Leinfelden-Echterdingen
Leinfelden, 17.05.2010
3 609 929 B97 | (25.8.10) Bosch Power Tools

OBJ_BUCH-55-004.book Page 119 Wednesday, August 25, 2010 1:39 PM
Українська | 119
Відсмоктування пилу/тирси/стружки
Вказівки щодо роботи
f Пил таких матеріалів, як напр., лакофарбо-
f Перед будь-якими маніпуляціями з
вих покрить, що містять свинець, деяких
електроприладом витягніть штепсель з
видів деревини, мінералів і металу, може
розетки.
бути небезпечним для здоров’я. Торкання
або вдихання пилу може викликати у Вас
Пилкові полотна та напрямні до них
або у осіб, що знаходяться поблизу,
В залежності від товщини оброблюваного
алергічні реакції та/або захворювання
матеріалу можна використовувати різні
дихальних шляхів.
напрямні пилкових полотен з відповідними
Певні види пилу, як напр., дубовий або
пилковими полотнами, див. огляд приладдя.
буковий пил, вважаються канцерогенними,
особливо в сполученні з добавками для об-
Опорна плита з роликами
робки деревини (хромат, засоби для захис-
Ви можете використовувати пилу для
ту деревини). Матеріали, що містять азбест,
пінопласту з опорною плитою або без неї.
дозволяється обробляти лише спеціалістам.
Опорна плита на роликах дозволяє легко
– За можливістю використовуйте
пересувати пилку під прямим кутом.
придатний для матеріалу
Для вирізання будь-яких форм та здійснення
відсмоктувальний пристрій.
прорізів краще працювати без опорної плити.
– Слідкуйте за доброю вентиляцією на
Обробка пінопласту
робочому місці.
– Рекомендується вдягати респіраторну
Для точного розрізування, зокрема для
маску з фільтром класу P2.
розрізування м’яких пінопластів та подібних
матеріалів, працюйте з дуже помірною
Додержуйтеся приписів щодо оброблюва-
подачею. Не притискуйте та не розтягуйте
них матеріалів, що діють у Вашій країні.
занадто сильно матеріал при обробці.
Для виконання невеликих прорізів демонтуйте
опорну плиту. Проткніть матеріал ножем або
Робота
ножицями, встроміть напрямну пилкових
полотен у отвір та обробіть виріз.
Початок роботи
Для виконання великих прорізів проколіть
f Зважайте на напругу в мережі! Напруга
отвір такого розміру, щоб в нього можна було
джерела струму повинна відповідати зна-
просунути напрямну пилкових полотен з
ченню, що зазначене на табличці з харак-
монтованою опорною плитою. Слідкуйте за
теристиками електроприладу. Електро-
тим, щоб на основі не було перешкод. Ведіть
прилад, що розрахований на напругу
електроприлад уздовж лінії прорізу лише з
230 В, може працювати також і при 220 В.
помірним натискуванням.
Вмикання/вимикання
Щоб увімкнути електроприлад, натисніть на
вимикач 1 і тримайте його натиснутим.
Щоб зафіксувати натиснутий вимикач 1,
посуньте вимикач 1 назад.
Щоб вимкнути електроприлад, відпустіть
вимикач 1 або, якщо він зафіксований,
натисніть коротко на вимикач 1 і потім
відпустіть його.
Bosch Power Tools 3 609 929 B97 | (25.8.10)

OBJ_BUCH-55-004.book Page 120 Wednesday, August 25, 2010 1:39 PM
120 | Українська
Технічне обслуговування і
Гарантійне обслуговування і ремонт
електроінструменту здійснюються відповідно
сервіс
до вимог і норм виготовлювача на території
всіх країн лише у фірмових або авторизованих
Технічне обслуговування і очищення
сервісних центрах фірми «Роберт Бош».
ПОПЕРЕДЖЕННЯ! Використання
f Перед будь-якими маніпуляціями з
контрафактної продукції небезпечне в
електроприладом витягніть штепсель з
експлуатації і може мати негативні наслідки
розетки.
для здоров’я. Виготовлення і розповсюдження
f Щоб електроприлад працював якісно і
контрафактної продукції переслідується за
надійно, тримайте прилад і вентиляційні
Законом в адміністративному і кримінальному
отвори в чистоті.
порядку.
Регулярно прочищайте напрямну пилкових
Україна
полотен та пилкові полотна прибл. кожні
8 годин роботи. Для цього вийміть пилкові
ТОВ «Роберт Бош»
полотна з електроприладу та прочистіть їх
Cервісний центр електроінструментів
краще за все бензином. При необхідності
вул. Крайня, 1, 02660, Київ-60
користуйтеся для очищення напрямної
Україна
шабером. Перед монтажем нових або
Тел.: +38 (044) 4 90 24 07 (багатоканальний)
загострених пилкових полотен змастіть
E-Mail: pt-service@ua.bosch.com
напрямну пилкових полотен.
Офіційний сайт:
www.bosch-powertools.com.ua
Якщо незважаючи на ретельну технологію
виготовлення і перевірки прилад все-таки
Адреса Регіональних гарантійних сервісніх
вийде з ладу, його ремонт дозволяється
майстерень зазначена в Національному
виконувати лише в авторизованій сервісній
гарантійному талоні.
майстерні для електроприладів Bosch.
При всіх запитаннях і при замовленні запчас-
Утилізація
тин, будь ласка, обов’язково зазначайте
Електроприлади, приладдя і упаковку треба
10-значний товарний номер, що знаходиться
здавати на екологічно чисту повторну
на заводській табличці електроприладу.
переробку.
Не викидайте електроінструменти в побутове
сміття!
Cервіснa мaйcтepня i обслуговування
клiєнтiв
Лише для країн ЄС:
В сервісній майстерні Ви отримаєте відповідь
Відповідно до європейської
на Ваші запитання стосовно ремонту і техніч-
директиви 2002/96/EС про
ного обслуговування Вашого продукту.
відпрацьовані електро- і
Малюнки в деталях і інформацію щодо запчас-
електронні прилади і її
тин можна знайти за адресою:
перетворення в національному
www.bosch-pt.com
законодавстві електроприлади,
Консультанти Bosch з радістю допоможуть Вам
що вийшли з вживання, повинні здаватися
при запитаннях стосовно купівлі, застосуван-
окремо і утилізуватися екологічно чистим
ня і налагодження продуктів і приладдя до них.
способом.
Можливі зміни.
3 609 929 B97 | (25.8.10) Bosch Power Tools

OBJ_BUCH-55-004.book Page 121 Wednesday, August 25, 2010 1:39 PM
Română | 121
ro
Instrucţiuni privind siguranţa şi
d) Nu schimbaţi destinaţia cablului folo-
sindu-l pentru transportarea sau suspen-
protecţia muncii
darea sculei electrice ori pentru a trage
ştecherul afară din priză. Feriţi cablul de
Indicaţii generale de avertizare pentru
căldură, ulei, muchii ascuţite sau compo-
scule electrice
nente aflate în mişcare. Cablurile de-
teriorate sau încurcate măresc riscul de
AVERTISMENT
Citiţi toate indicaţiile de
electrocutare.
avertizare şi instrucţiunile.
Nerespectarea indicaţiilor de avertizare şi a
e) Atunci când lucraţi cu o sculă electrică în
instrucţiunilor poate provoca electrocutare,
aer liber, folosiţi numai cabluri prelungi-
incendii şi/sau răniri grave.
toare adecvate şi pentru mediul exterior.
Păstraţi toate indicaţiile de avertizare şi
Folosirea unui cablu prelungitor adecvat
instrucţiunile în vederea utilizărilor viitoare.
pentru mediul exterior diminuează riscul
de electrocutare.
Termenul de „sculă electrică“ folosit în
indicaţiile de avertizare se referă la sculele
f) Atunci când nu poate fi evitată utilizarea
electrice alimentate de la reţea (cu cablu de
sculei electrice în mediu umed, folosiţi
alimentare) şi la sculele electrice cu acumulator
un întrerupător automat de protecţie
(fără cablu de alimentare).
împotriva tensiunilor periculoase. Între-
buinţarea unui întrerupător automat de
1) Siguranţa la locul de muncă
protecţie împotriva tensiunilor pericu-
a) Menţineţi-vă sectorul de lucru curat şi
loase reduce riscul de electrocutare.
bine iluminat. Dezordinea sau sectoarele
de lucru neluminate pot duce la accidente.
3) Siguranţa persoanelor
b) Nu lucraţi cu scula electrică în mediu cu
a) Fiţi atenţi, aveţi grijă de ceea ce faceţi şi
pericol de explozie, în care există
procedaţi raţional atunci când lucraţi cu
lichide, gaze sau pulberi inflamabile.
o sculă electrică. Nu folosiţi scula elec-
Sculele electrice generează scântei care
trică atunci când sunteţi obosiţi sau vă
pot aprinde praful sau vaporii.
aflaţi sub influenţa drogurilor, a alcoolu-
lui sau a medicamentelor. Un moment de
c) Nu permiteţi accesul copiilor şi al altor
neatenţie în timpul utilizării maşinii poate
persoane în timpul utilizării sculei elec-
duce la răniri grave.
trice. Dacă vă este distrasă atenţia puteţi
pierde controlul asupra maşinii.
b) Purtaţi echipament personal de protec-
ţie şi întotdeauna ochelari de protecţie.
2) Siguranţă electrică
Purtarea echipamentului personal de pro-
a) Ştecherul sculei electrice trebuie să fie
tecţie, ca masca pentru praf, încălţăminte
potrivit prizei electrice. Nu este în nici un
de siguranţă antiderapantă, casca de pro-
caz permisă modificarea ştecherului. Nu
tecţie sau protecţia auditivă, în funcţie de
folosiţi fişe adaptoare la sculele electrice
tipul şi utilizarea sculei electrice, dimi-
legate la pământ de protecţie. Ştecherele
nuează riscul rănirilor.
nemodificate şi prizele corespunzătoare
c) Evitaţi o punere în funcţiune involuntară.
diminuează riscul de electrocutare.
Înainte de a introduce ştecherul în priză
b) Evitaţi contactul corporal cu suprafeţe
şi/sau de a introduce acumulatorul în
legate la pământ ca ţevi, instalaţii de
scula electrică, de a o ridica sau de a o
încălzire, sobe şi frigidere. Există un risc
transporta, asiguraţi-vă că aceasta este
crescut de electrocutare atunci când
oprită. Dacă atunci când transportaţi scu-
corpul vă este legat la pământ.
la electrică ţineţi degetul pe întrerupător
c) Feriţi maşina de ploaie sau umezeală.
sau dacă porniţi scula electrică înainte de
Pătrunderea apei într-o sculă electrică
a o racorda la reţeaua de curent, puteţi
măreşte riscul de electrocutare.
provoca accidente.
Bosch Power Tools 3 609 929 B97 | (25.8.10)

OBJ_BUCH-55-004.book Page 122 Wednesday, August 25, 2010 1:39 PM
122 | Română
d) Înainte de pornirea sculei electrice în-
e) Întreţineţi-vă scula electrică cu grijă.
depărtaţi dispozitivele de reglare sau
Controlaţi dacă componentele mobile
cheile fixe din aceasta. Un dispozitiv sau
ale sculei electrice funcţionează impe-
o cheie lăsată într-o componentă de maşi-
cabil şi dacă nu se blochează, sau dacă
nă care se roteşte poate duce la răniri.
există piese rupte sau deteriorate astfel
e) Evitaţi o ţinută corporală nefirească.
încât să afecteze funcţionarea sculei
Adoptaţi o poziţie stabilă şi menţineţi-vă
electrice. Înainte de utilizare daţi la repa-
întotdeauna echilibrul. Astfel veţi putea
rat piesele deteriorate. Cauza multor
controla mai bine maşina în situaţii
accidente a fost întreţinerea necorespun-
neaşteptate.
zătoare a sculelor electrice.
f) Purtaţi îmbrăcăminte adecvată. Nu pur-
f) Menţineţi bine ascuţite şi curate dispo-
taţi îmbrăcăminte largă sau podoabe.
zitivele de tăiere. Dispozitivele de tăiere
Feriţi părul, îmbrăcămintea şi mănuşile
întreţinute cu grijă, cu tăişuri ascuţite se
de piesele aflate în mişcare. Îmbrăcămin-
înţepenesc în mai mică măsură şi pot fi
tea largă, părul lung sau podoabele pot fi
conduse mai uşor.
prinse în piesele aflate în mişcare.
g) Folosiţi scula electrică, accesoriile, dis-
g) Dacă pot fi montate echipamente de
pozitivele de lucru etc. conform prezen-
aspirare şi colectare a prafului, asigu-
telor instrucţiuni. Ţineţi cont de
raţi-vă că acestea sunt racordate şi
condiţiile de lucru şi de activitatea care
folosite în mod corect. Folosirea unei
trebuie desfăşurată. Folosirea sculelor
instalaţii de aspirare a prafului poate duce
electrice în alt scop decât pentru utili-
la reducerea poluării cu praf.
zările prevăzute, poate duce la situaţii
periculoase.
4) Utilizarea şi manevrarea atentă a sculelor
electrice
5) Service
a) Nu suprasolicitaţi maşina. Folosiţi pen-
a) Încredinţaţi scula electrică pentru
tru executarea lucrării dv. scula electrică
reparare numai personalului de specia-
destinată acelui scop. Cu scula electrică
litate, calificat în acest scop, repararea
potrivită lucraţi mai bine şi mai sigur în
făcându-se numai cu piese de schimb
domeniul de putere indicat.
originale. Astfel veţi fi siguri că este
menţinută siguranţa maşinii.
b) Nu folosiţi scula elecrică dacă aceasta
are întrerupătorul defect. O sculă electri-
că, care nu mai poate fi pornită sau oprită,
Instrucţiuni de siguranţă pentru
este periculoasă şi trebuie reparată.
ferăstraiele de tăiat burete
c) Scoateţi ştecherul afară din priză şi/sau
f Prindeţi scula electrică de mânerele izolate
îndepărtaţi acumulatorul, înainte de a
atunci cînd executaţi operaţii în cursul
executa reglaje, a schimba accesorii sau
cărora accesoriul poate atinge conductori
de a pune maşina la o parte. Această
ascunşi sau propriul cordon de alimentare.
măsură de prevedere împiedică pornirea
Contactul dintre accesoriu şi un conductor
involuntară a sculei electrice.
electric aflat sub tensiune poate electrocuta
utilizatorul.
d) Păstraţi sculele electrice nefolosite la
loc inaccesibil copiilor. Nu lăsaţi să
f Ţineţi mâinile în afara sectorului de
lucreze cu maşina persoane care nu sunt
debitare. Nu apucaţi pe dedesubt piesa
familiarizate cu aceasta sau care nu au
prelucrată. În caz de contact cu pânza de
citit aceste instrucţiuni. Sculele electrice
ferăstrău există pericol de rănire.
devin periculoase atunci când sunt folo-
site de persoane lipsite de experienţă.
3 609 929 B97 | (25.8.10) Bosch Power Tools

OBJ_BUCH-55-004.book Page 123 Wednesday, August 25, 2010 1:39 PM
Română | 123
Descrierea funcţionării
Date tehnice
Citiţi toate indicaţiile de avertizare
şi instrucţiunile. Nerespectarea
Ferăstrău pentru
GSG 300
indicaţiilor de avertizare şi a in-
burete
Professional
strucţiunilor poate provoca electro-
Număr de identificare
0 601 575 1..
cutare, incendii şi/sau răniri grave.
Putere nominală
W 350
Vă rugăm să desfăşuraţi pagina pliantă cu
Putere debitată
W 185
redarea maşinii şi să o lăsaţi desfăşurată cât
timp citiţi instrucţiunile de folosire.
Număr de curse la
mersul în gol n
0
min
-1
3200
Utilizare conform destinaţiei
Număr de curse în
-1
Scula electrică este destinată tăierii în diferite
sarcină
min
2100
forme a materialelor plastice spongioase, a
Adâncime de tăiere
cauciucului spongios şi a altor materiale
max.
mm 300
similare.
Greutate conform
EPTA-Procedure
Elemente componente
01/2003
kg 1,6
Numerotarea elementelor componente se referă
Clasa de protecţie
/II
la schiţa sculei electrice de pe pagina grafică.
Specificaţiile sunt valabile pentru o tensiune nominală
1 Întrerupător pornit/oprit
[U] de 230 V. În cazul unor tensiuni diferite şi al unor
2 Ghidaj pânze de ferăstrău*
modele de execuţie specifice anumitor ţări, aceste
speificaţii pot varia.
3 Pereche pânze de ferăstrău*
Vă rugăm să reţineţi numărul de identificare de pe
4 Talpă de fixare
plăcuţa indicatoare a tipului sculei dumneavoastră
5 Mâner (suprafaţă de prindere izolată)
electrice. Denumirile comerciale ale sculelor electrice
6 Şurub
pot varia.
7 Placă de protecţie
8 Şurub cu cap striat
Informaţie privind zgomotul/vibraţiile
9 Şurub de strângere pentru talpa de fixare
Valorile măsurate pentru zgomot au fost
*Accesoriile ilustrate sau descrise nu sunt cuprinse în
determinate conform EN 60745.
setul de livrare standard. Puteţi găsi accesoriile com-
Nivelul presiunii sonore evaluat A al sculei elec-
plete în programul nostru de accesorii.
trice este în mod normal: nivel presiune sonoră
81 dB(A); nivel putere sonoră 92 dB(A).
Incertitudine K=3 dB.
Purtaţi aparat de protecţie auditivă!
Valorile totale ale vibraţiilor (suma vectorială a
trei direcţii) au fost determinate conform
EN 60745:
Valoarea vibraţiilor emise a
h
=2,5 m/s
2
,
incertitudine K =1,5 m/s
2
.
Bosch Power Tools 3 609 929 B97 | (25.8.10)

OBJ_BUCH-55-004.book Page 124 Wednesday, August 25, 2010 1:39 PM
124 | Română
Nivelul vibraţiilor specificat în prezentele in-
Montare
strucţiuni a fost măsurat conform unei proce-
duri de măsurare standardizate în EN 60745 şi
f Înaintea oricăror intervenţii asupra sculei
poate fi utilizat la compararea diferitelor scule
electrice scoateţi cablul de alimentare afară
electrice. El poate fi folosit şi pentru evaluarea
din priză.
provizorie a solicitării vibratorii.
Nivelul specificat al vibraţiilor se referă la cele
Montarea ghidajului pânzelor de
mai frecvente utilizări ale sculei electrice. În
ferăstrău (vezi figura A)
eventualitatea în care scula electrică este utili-
Desprindeţi şuruburile 6 de carcasă şi
zată pentru alte aplicaţii, împreună cu alte acce-
îndepărtaţi-le. Puneţi astfel ghidajul pânzelor de
sorii decât cele indicate sau nu beneficiază de o
ferăstrău 2 pe carcasă, încât ştifturile de
întreţinere satisfăcătoare, nivelul vibraţiilor se
precentrare să se angreneze în găurile
poate abate de la valoarea specificată. Aceasta
corespunzătoare. Strângeţi prin înşurubare
poate amplifica considerabil solicitarea vibra-
ghidajul pânzelor de ferăstrău 2 cu şuruburile 6
torie de-a lungul întregului interval de lucru.
pe carcasă.
Pentru o evaluare exactă a solicitării vibratorii ar
trebui luate în calcul şi intervalele de timp în
care scula electrică este deconectată sau
Montarea/schimbarea pânzelor de
funcţionează, dar nu este utilizată efectiv.
ferăstrău (vezi figura B)
Această metodă de calcul ar putea duce la
f Purtaţi mănuşi de protecţie la montarea
reducerea considerabilă a valorii solicitării
pânzei de ferăstrău. La atingerea pânzei de
vibratorii pe întreg intervalul de lucru.
ferăstrău există pericol de rănire.
Stabiliţi măsuri de siguranţă suplimentare pen-
Slăbiţi şuruburile cu cap striat 8 şi scoateţi-le
tru protejarea utilizatorului împotriva efectului
împreună cu inelele de siguranţă şi placa de
vibraţiilor, ca de exemplu: întreţinerea sculei
protecţie 7.
electrice şi a accesoriilor, menţinerea căldurii
mâinilor, organizarea proceselor de muncă.
n Introduceţi perechea de pânze de ferăstrău
3 mai întâi jos, în ghidajul pânzei de
ferăstrău 2. Aveţi grijă ca fantele
Declaraţie de conformitate
longitudinale ale pânzelor de ferăstrău să se
Declarăm pe proprie răspundere că produsul
angreneze în ştiftul de ghidare al ghidajului
descris la paragraful „Date tehnice“ este în con-
pânzei de ferăstrău.
formitate cu următoarele standarde şi documen-
o Apoi prindeţi astfel perechea de pânze de
te normative: EN 60745 conform prevederilor
ferăstrău 3 în fusul de antrenare, încât
Directivelor 2004/108/CE, 2006/42/CE.
pânzele de ferăstrău să fie aşezate
Documentaţie tehnică la:
impecabil în ghidajul de intrare.
Robert Bosch GmbH, PT/ESC,
Puneţi placa de protecţie 7 pe ştifturile filetate
D-70745 Leinfelden-Echterdingen
de pe carcasă şi fixaţi-o cu şuruburile cu cap
Dr. Egbert Schneider
Dr. Eckerhard Strötgen
striat 8. Asiguraţi-vă că inelele de siguranţă sunt
Senior Vice President
Head of Product
puse sub aceasta.
Engineering
Certification
Montarea tălpii de fixare (vezi figura C)
Introduceţi ghidajul pânzelor de ferăstrău 2 în
degajarea corespunzătoare a tălpii de fixare 4.
Robert Bosch GmbH, Power Tools Division
Înşurubaţi strâns şurubul de strângere 9.
D-70745 Leinfelden-Echterdingen
Leinfelden, 17.05.2010
3 609 929 B97 | (25.8.10) Bosch Power Tools

OBJ_BUCH-55-004.book Page 125 Wednesday, August 25, 2010 1:39 PM
Română | 125
Pornire/oprire
Aspirarea prafului/aşchiilor
Apăsaţi pentru punerea în funcţiune a sculei
f Pulberile rezultate din prelucrarea de mate-
electrice întrerupătorul pornit/oprit 1 şi ţineţi-l
riale cum sunt vopselele pe bază de plumb,
apăsat.
anumite tipuri de lemn, minerale şi metal pot
fi dăunătoare sănătăţii. Atingerea sau inspi-
Pentru fixarea întrerupătorului pornit-/oprit 1 în
rarea acestor pulberi poate provoca reacţii a-
poziţie apăsată, împingeţi spre spate
lergice şi/sau îmbolnăvirile căilor respiratorii
întrerupătorul pornit/oprit 1.
ale utilizatorului sau a le persoanelor aflate în
Pentru oprirea sculei electrice eliberaţi
apropiere.
întrerupătorul pornit/oprit 1 respectiv, dacă
Anumite pulberi cum sunt pulberea de lemn
acesta este blocat în poziţia pornit, apăsaţi
de stejar sau de fag sunt considerate a fi
scurt întrerupătorul pornit/oprit 1 şi apoi
cancerigene, mai ales îm combinaţie cu
eliberaţi-l din nou.
materiale de adaos utilizate la prelucrarea
lemnului (cromat, substanţe de protecţie a
Instrucţiuni de lucru
lemnului). Materialele care conţin azbest nu
pot fi prelucrate decât de către specialişti.
f Înaintea oricăror intervenţii asupra sculei
electrice scoateţi cablul de alimentare afară
– Folosiţi pe cât posibil o instalaţie de
din priză.
aspirare a prafului adecvată pentru
materialul prelucrat.
Pânze de ferăstrău şi ghidaje de pânze de
– Asiguraţi buna ventilaţie a locului de
ferăstrău
muncă.
În funcţie de grosimea materialului de prelucrat
– Este recomandabil să se utilizeze o mască
pot fi utilizate diferite ghidaje de pânze de
de protecţie a respiraţiei având clasa de
ferăstrău împreună cu pânzele de ferăstrău
filtrare P2.
corespunzătoare, a se vedea în acest sens lista
Respectaţi prescripţiile din ţara dumnea-
de accesorii.
voastră referitoare la materialele de pre-
lucrat.
Talpă de fixare cu role glisante
Puteţi folosi ferăstrăul pentru burete cu sau fără
talpa de fixare montată. Talpa de fixare
prevăzută cu role glisante permite ghidarea
Funcţionare
uşoară şi în unghi drept a ferăstrăului.
Pentru tăierea diferitelor forme şi pentru
Punere în funcţiune
decupări cel mai bine lucraţi fără talpa de fixare.
f Atenţie la tensiunea reţelei de alimentare!
Tensiunea sursei de curent trebuie să coin-
cidă cu datele de pe plăcuţa indicatoare a
tipului sculei electrice. Sculele electrice in-
scripţionate cu 230 V pot funcţiona şi
racordate la 220 V.
Bosch Power Tools 3 609 929 B97 | (25.8.10)

OBJ_BUCH-55-004.book Page 126 Wednesday, August 25, 2010 1:39 PM
126 | Română
Prelucrarea buretelui
Serviciu de asistenţă tehnică post-
Pentru croirea precisă, în special a materialelor
vânzări şi consultanţă clienţi
sintetice spongioase moi sau asemănătoare,
lucraţi numai cu un avans moderat. Nu presaţi
Serviciul nostru de asistenţă tehnică post-vân-
sau nu întindeţi prea mult materialul în timpul
zări răspunde întrebărilor dumneavoastră pri-
prelucrării.
vind întreţinerea şi repararea produsului dum-
neavoastră cât şi privitor la piesele de schimb.
Pentru realizarea de decupaje mai mici
Desene descompuse ale ansamblelor cât şi
demontaţi talpa de fixare. Străpungeţi cu un
informaţii privind piesele de schimb găsiţi şi la:
cuţit sau o foarfecă materialul, introduceţi apoi
www.bosch-pt.com
ghidajul pânzelor de ferăstrău în gaura astfel
Echipa de consultanţă clienţi Bosch răspunde
obţinută şi începeţi decuparea.
cu plăcere la întrebările privind cumpărarea, uti-
Pentru realizarea de decupări mai mari executaţi
lizarea şi reglarea produselor şi accesoriior lor.
o gaură de străpungere suficient de mare, astfel
încât să permită trecerea ghidajului pânzelor de
România
ferăstrău împreună cu talpa de fixare
Robert Bosch SRL
premontată. Aveţi grijă ca suportul de lucru să
Bosch Service Center
nu prezinte obstacole. Conduceţi scula electrică
Str. Horia Măcelariu Nr. 30–34,
apăsând-o moderat de-a lungul liniei de
013937 Bucureşti
decupare.
Tel. Service scule electrice: +40 (021) 4 05 75 40
Fax: +40 (021) 4 05 75 66
E-Mail: infoBSC@ro.bosch.com
Întreţinere şi service
Tel. Consultanţă tehnică: +40 (021) 4 05 75 39
Fax: +40 (021) 4 05 75 66
Întreţinere şi curăţare
E-Mail: infoBSC@ro.bosch.com
www.bosch-romania.ro
f Înaintea oricăror intervenţii asupra sculei
electrice scoateţi cablul de alimentare afară
din priză.
Eliminare
f Pentru a lucra bine şi sigur păstraţi curate
Sculele electrice, accesoriile şi ambalajele tre-
scula electrică şi fantele de aerisire.
buie direcţionate către o staţie de revalorificare
La interval de 8 ore de funcţionare, curăţaţi
ecologică.
regulat ghidajul şi pânzele de ferăstrău. În acest
Nu aruncaţi sculele electrice în gunoiul menajer!
scop extrageţi pânzele de ferăstrău din scula
electrică curăţaţi-le cel mai bine cu benzină.
Numai pentru ţările UE:
Eventual folosiţi un răzuitor pentru curăţarea
Conform Directivei Europene
ghidajului pânzelor de ferăstrău. Gresaţi puţin
2002/96/CE privind deşeurile de
ghidajul pânzelor de ferăstrău înainte de
echipamente electrice şi
montarea pânzelor de ferăstrău noi respectiv a
electronice şi transpunerea
celor care sau fost reascuţite.
acesteia în legislaţia naţională,
Dacă în ciuda procedeelor de fabricaţie şi
sculele electrice scoase din uz
control riguroase maşina are totuşi o pană,
trebuie colectate separat şi direcţionate către o
repararea acesteia se va face numai la un atelier
staţie de reciclare ecologică.
de asistenţă service autorizat pentru scule
electrice Bosch.
Sub rezerva modificărilor.
În caz de reclamaţii şi comenzi de piese de
schimb vă rugăm să indicaţi neapărat numărul
de identificare compus din 10 cifre, conform
plăcuţei indicatoare a tipului sculei electrice.
3 609 929 B97 | (25.8.10) Bosch Power Tools

OBJ_BUCH-55-004.book Page 127 Wednesday, August 25, 2010 1:39 PM
Български | 127
bg
Указания за безопасна работа
б) Избягвайте допира на тялото Ви до за-
земени тела, напр. тръби, отоплителни
уреди, пещи и хладилници. Когато
Общи указания за безопасна работа
тялото Ви е заземено, рискът от възник-
Прочетете внимателно всич-
ване на токов удар е по-голям.
ки указания. Неспазването
в) Предпазвайте електроинструмента си
на приведените по-долу указания може да до-
от дъжд и влага. Проникването на вода
веде до токов удар, пожар и/или тежки травми.
в електроинструмента повишава опас-
Съхранявайте тези указания на сигурно
ността от токов удар.
място.
г) Не използвайте захранващия кабел за
Използваният по-долу термин «електроинстру-
цели, за които той не е предвиден,
мент» се отнася до захранвани от електричес-
напр. за да носите електроинструмента
ката мрежа електроинструменти (със захран-
за кабела или да извадите щепсела от
ващ кабел) и до захранвани от акумулаторна
контакта. Предпазвайте кабела от на-
батерия електроинструменти (без захранващ
гряване, омасляване, допир до остри
кабел).
ръбове или до подвижни звена на ма-
шини. Повредени или усукани кабели
1) Безопасност на работното място
увеличават риска от възникване на
а) Поддържайте работното си място
токов удар.
чисто и добре осветено. Безпорядъкът
д) Когато работите с електроинструмент
и недостатъчното осветление могат да
навън, използвайте само удължителни
спомогнат за възникването на трудова
кабели, подходящи за работа на откри-
злополука.
то. Използването на удължител, предназ-
б) Не работете с електроинструмента в
начен за работа на открито, намалява
среда с повишена опасност от възник-
риска от възникване на токов удар.
ване на експлозия, в близост до лесно-
е) Ако се налага използването на елек-
запалими течности, газове или прахо-
троинструмента във влажна среда,
образни материали. По време на работа
използвайте предпазен прекъсвач за
в електроинструментите се отделят
утечни токове. Използването на предпа-
искри, които могат да възпламенят
зен прекъсвач за утечни токове намаля-
прахообразни материали или пари.
ва опасността от възникване на токов
в) Дръжте деца и странични лица на без-
удар.
опасно разстояние, докато работите с
електроинструмента. Ако вниманието
3) Безопасен начин на работа
Ви бъде отклонено, може да загубите
а) Бъдете концентрирани, следете внима-
контрола над електроинструмента.
телно действията си и постъпвайте
предпазливо и разумно. Не използвай-
2) Безопасност при работа с електрически
те електроинструмента, когато сте умо-
ток
рени или под влиянието на наркотични
а) Щепселът на електроинструмента
вещества, алкохол или упойващи ле-
трябва да е подходящ за ползвания
карства. Един миг разсеяност при рабо-
контакт. В никакъв случай не се до-
та с електроинструмент може да има за
пуска изменяне на конструкцията на
последствие изключително тежки
щепсела. Когато работите със занулени
наранявания.
електроуреди, не използвайте адап-
б) Работете с предпазващо работно
тери за щепсела. Ползването на ориги-
облекло и винаги с предпазни очила.
нални щепсели и контакти намалява
Носенето на подходящи за ползвания
риска от възникване на токов удар.
електроинструмент и извършваната дей-
Bosch Power Tools 3 609 929 B97 | (25.8.10)

OBJ_BUCH-55-004.book Page 128 Wednesday, August 25, 2010 1:39 PM
128 | Български
ност лични предпазни средства, като
4) Грижливо отношение към електроинстру-
дихателна маска, здрави плътнозатво-
ментите
рени обувки със стабилен грайфер,
а) Не претоварвайте електроинструмен-
защитна каска или шумозаглушители
та. Използвайте електроинструментите
(антифони), намалява риска от
само съобразно тяхното предназначе-
възникване на трудова злополука.
ние. Ще работите по-добре и по-без-
в) Избягвайте опасността от включване
опасно, когато използвате подходящия
на електроинструмента по невнима-
електроинструмент в зададения от про-
ние. Преди да включите щепсела в
изводителя диапазон на натоварване.
захранващата мрежа или да поставите
б) Не използвайте електроинструмент,
акумулаторната батерия, се уверявай-
чиито пусков прекъсвач е повреден.
те, че пусковият прекъсвач е в положе-
Електроинструмент, който не може да
ние «изключено». Ако, когато носите
бъде изключван и включван по пред-
електроинструмента, държите пръста си
видения от производителя начин, е
върху пусковия прекъсвач, или ако
опасен и трябва да бъде ремонтиран.
подавате захранващо напрежение на
електроинструмента, когато е включен,
в) Преди да променяте настройките на
съществува опасност от възникване на
електроинструмента, да заменяте
трудова злополука.
работни инструменти и допълнителни
приспособления, както и когато про-
г) Преди да включите електроинструмен-
дължително време няма да използвате
та, се уверявайте, че сте отстранили от
електроинструмента, изключвайте
него всички помощни инструменти и
щепсела от захранващата мрежа и/или
гаечни ключове. Помощен инструмент,
изваждайте акумулаторната батерия.
забравен на въртящо се звено, може да
Тази мярка премахва опасността от
причини травми.
задействане на електроинструмента по
д) Избягвайте неестествените положения
невнимание.
на тялото. Работете в стабилно поло-
г) Съхранявайте електроинструментите
жение на тялото и във всеки момент
на места, където не могат да бъдат
поддържайте равновесие. Така ще
достигнати от деца. Не допускайте те да
можете да контролирате електроинстру-
бъдат използвани от лица, които не са
мента по-добре и по-безопасно, ако
запознати с начина на работа с тях и не
възникне неочаквана ситуация.
са прочели тези инструкции. Когато са
е) Работете с подходящо облекло. Не
в ръцете на неопитни потребители,
работете с широки дрехи или украше-
електроинструментите могат да бъдат
ния. Дръжте косата си, дрехите и ръка-
изключително опасни.
вици на безопасно разстояние от вър-
д) Поддържайте електроинструментите
тящи се звена на електроинструмен-
си грижливо. Проверявайте дали под-
тите. Широките дрехи, украшенията,
вижните звена функционират безукор-
дългите коси могат да бъдат захванати и
но, дали не заклинват, дали има счупе-
увлечени от въртящи се звена.
ни или повредени детайли, които нару-
ж)Ако е възможно използването на
шават или изменят функциите на елек-
външна аспирационна система, се
троинструмента. Преди да използвате
уверявайте, че тя е включена и функ-
електроинструмента, се погрижете по-
ционира изправно. Използването на
вредените детайли да бъдат ремонти-
аспирационна система намалява риско-
рани. Много от трудовите злополуки се
вете, дължащи се на отделящата се при
дължат на недобре поддържани електро-
работа прах.
инструменти и уреди.
3 609 929 B97 | (25.8.10) Bosch Power Tools

OBJ_BUCH-55-004.book Page 129 Wednesday, August 25, 2010 1:39 PM
Български | 129
е) Поддържайте режещите инструменти
Функционално описание
винаги добре заточени и чисти. Добре
поддържаните режещи инструменти с
Прочетете внимателно всички
остри ръбове оказват по-малко съпро-
указания. Неспазването на
тивление и се водят по-леко.
приведените по-долу указания
може да доведе до токов удар,
ж)Използвайте електроинструментите,
пожар и/или тежки травми.
допълнителните приспособления,
работните инструменти и т.н., съобраз-
Моля, отворете разгъващата се корица с
но инструкциите на производителя.
фигурите и, докато четете ръководството за
При това се съобразявайте и с конкрет-
експлоатация, я оставете отворена.
ните работни условия и операции,
които трябва да изпълните. Използва-
Предназначение на електро-
нето на електроинструменти за различ-
инструмента
ни от предвидените от производителя
Електроинструментът е предназначен за
приложения повишава опасността от
рязане по произволен контур на пенопласти,
възникване на трудови злополуки.
пеногуми и други подобни материали.
5) Поддържане
а) Допускайте ремонтът на електроин-
Изобразени елементи
струментите Ви да се извършва само от
Номерирането на елементите на електро-
квалифицирани специалисти и само с
инструмента се отнася до изображенията на
използването на оригинални резервни
страниците с фигурите.
части. По този начин се гарантира
1 Пусков прекъсвач
съхраняване на безопасността на
електроинструмента.
2 Водач на режещите листове*
3 Комплект режещи листове (2 бр.)*
Указания за безопасна работа с
4 Основна плоча
ножовки за пенопласти
5 Ръкохватка (Изолирана повърхност за
f Когато съществува опасност по време на
захващане)
работа работният инструмент да засегне
6 Винт
скрити под повърхността проводници под
7 Капак
напрежение или захранващия кабел,
8 Винт с накатена глава
допирайте електроинструмента само до
9 Застопоряващ винт за основната плоча
изолираните ръкохватки. При контакт с
проводник под напрежение то се предава
*Изобразените на фигурите и описаните допълни-
на металните детайли на електроинструмен-
телни приспособления не са включени в стандарт-
ната окомплектовка на уреда. Изчерпателен списък
та и това може да предизвика токов удар.
на допълнителните приспособления можете да
f Дръжте ръцете си на разстояние от зоната
намерите съответно в каталога ни за допълнителни
на рязане. Не пипайте под обработвания
приспособления.
детайл. Съществува опасност да се
нараните, ако допрете режещия лист.
Bosch Power Tools 3 609 929 B97 | (25.8.10)

OBJ_BUCH-55-004.book Page 130 Wednesday, August 25, 2010 1:39 PM
130 | Български
Равнището на генерираните вибрации, посо-
Технически данни
чено в това Ръководство за експлоатация, е
определено съгласно процедурата, дефинирана
Електрически трион за
GSG 300
в EN 60745, и може да бъде използвано за срав-
пенопластови
Professional
няване с други електроинструменти. То е под-
материали
ходящо също и за предварителна ориентиро-
Каталожен номер
0 601 575 1..
въчна преценка на натоварването от вибрации.
Номинална консуми-
Посоченото ниво на генерираните вибрации е
рана мощност
W 350
представително за най-често срещаните при-
ложения на електроинструмента. Все пак, ако
Полезна мощност
W 185
електроинструментът се използва за други
Честота на възвратно-
дейности, с други работни инструменти или
постъпателните дви-
ако не бъде поддържан, както е предписано,
жения на празен ход n
0
min
-1
3200
равнището на генерираните вибрации може
Честота на възвратно-
да се промени. Това би могло да увеличи зна-
постъпателните дви-
чително сумарното натоварване от вибрации в
жения при натоварване
min
-1
2100
процеса на работа.
За точната преценка на натоварването от ви-
Макс. дълбочина на
брации трябва да бъдат взимани предвид и
рязане
mm 300
периодите, в които електроинструментът е
Маса съгласно EPTA-
изключен или работи, но не се ползва. Това би
Procedure 01/2003
kg 1,6
могло значително да намали сумарното нато-
варване от вибрации.
Клас на защита
/II
Предписвайте допълнителни мерки за пред-
Данните се отнасят до номинално напрежение [U]
пазване на работещия с електроинструмента
230 V. При различно напрежение, както и при
от въздействието на вибрациите, например:
специалните изпълнения за някои страни данните
техническо обслужване на електроинструмен-
могат да се различават.
та и работните инструменти, поддържане на
Моля, обърнете внимание на каталожния номер на
ръцете топли, целесъобразна организация на
Вашия електроинструмент, написан на табелката му.
работните стъпки.
Търговските наименования на някои
електроинструменти могат да бъдат променяни.
Декларация за съответствие
Информация за излъчван шум и
С пълна отговорност ние декларираме, че опи-
саният в «Технически данни» продукт съот-
вибрации
ветства на следните стандарти или нормативни
Стойностите за шума са определени съгласно
документи: EN 60745 съгласно изискванията
EN 60745.
на Директиви 2004/108/ЕО, 2006/42/ЕО.
Равнището А на генерирания шум
Подробни технически описания при:
обикновено е: равнище на звуковото
Robert Bosch GmbH, PT/ESC,
налягане 81 dB(A); мощност на звука
D-70745 Leinfelden-Echterdingen
92 dB(A). Неопределеност K=3 dB.
Dr. Egbert Schneider
Dr. Eckerhard Strötgen
Работете с шумозаглушители!
Senior Vice President
Head of Product
Пълната стойност на вибрациите (векторната
Engineering
Certification
сума по трите направления) е определена
съгласно EN 60745:
Стойност на генерираните вибрации
a
h
=2,5 m/s
2
, неопределеност K =1,5 m/s
2
.
Robert Bosch GmbH, Power Tools Division
D-70745 Leinfelden-Echterdingen
Leinfelden, 17.05.2010
3 609 929 B97 | (25.8.10) Bosch Power Tools

OBJ_BUCH-55-004.book Page 131 Wednesday, August 25, 2010 1:39 PM
Български | 131
Монтиране
Система за прахоулавяне
f Преди извършване на каквито и да е дей-
f Прахове, отделящи се при обработването на
ности по електроинструмента изключ-
материали като съдържащи олово бои, някои
вайте щепсела от захранващата мрежа.
видове дървесина, минерали и метали могат
да бъдат опасни за здравето. Контактът до
Монтиране на водача на режещите
кожата или вдишването на такива прахове
листове (вижте фиг. А)
могат да предизвикат алергични реакции
и/или заболявания на дихателните пътища на
Развийте напълно и демонтирайте винтовете 6
работещия с електроинструмента или
от корпуса. Поставете водача на режещите
намиращи се наблизо лица.
листове 2 до корпуса така, че задвижващите
Определени прахове, напр. отделящите се
щифтове да попаднат в предвидените за целта
при обработване на бук и дъб, се считат за
отвори. Затегнете водача на режещите
канцерогенни, особено в комбинация с
листове 2 към корпуса с винтовете 6.
химикали за третиране на дървесина (хро-
мат, консерванти и др.). Допуска се обработ-
Поставяне/замяна на режещите
ването на съдържащи азбест материали само
листове (вижте фиг. В)
от съответно обучени квалифицирани лица.
f При монтиране на режещия лист работете
– По възможност използвайте подходяща
с предпазни ръкавици. Съществува опас-
за обработвания материал система за
ност да се нараните при допир до режещите
прахоулавяне.
ръбове на листа.
– Осигурявайте добро проветряване на
работното място.
Развийте винтовете с накатена глава 8 и ги
демонтирайте заедно с федер-шайбите и
– Препоръчва се използването на
капака 7.
дихателна маска с филтър от клас P2.
n Поставете комплект режещи листове 3,
Спазвайте валидните във Вашата страна
като ги плъзнете отдолу във водача 2.
законови разпоредби, валидни при
Внимавайте продълговатите отвори на
обработване на съответните материали.
режещите листове да захванат водещите
щифтове на водача.
o След това окачете двата режещи листа 3 в
задвижващото звено така, че режещите
листове да легнат плътно в
направляващата.
Поставете капака 7 на резбовите щифтове на
корпуса и го затегнете с винтовете с накатена
глава 8. Уверете се, че не сте забравили да
поставите федер-шайбите под винтовете.
Монтиране на основната плоча
(вижте фиг. C)
Поставете водача на режещите листове 2 в
предвидения за целта отвор на основната
плоча 4. Затегнете винта 9.
Bosch Power Tools 3 609 929 B97 | (25.8.10)

OBJ_BUCH-55-004.book Page 132 Wednesday, August 25, 2010 1:39 PM
132 | Български
Работа с електроинструмента
Обработване на пенопласти
За изработване на точни срезове, главно при
Пускане в експлоатация
обработване на меки пенопласти и други
подобни материали, работете с умерено
f Внимавайте за напрежението на захран-
подаване. Не притискайте и не завъртайте
ващата мрежа! Напрежението на захран-
обработвания детайл твърде силно.
ващата мрежа трябва да съответства на
данните, посочени на табелката на елек-
За изработване на малки вътрешни срезове
троинструмента. Уреди, обозначени с
демонтирайте основната плоча. Прободете с
230 V, могат да бъдат захранвани и с
нож или ножица детайла, след това вкарайте
напрежение 220 V.
водача с ножовете и изрежете вътрешния
отвор.
Включване и изключване
За изработване на по-големи вътрешни отвори
За включване на електроинструмента
подгответе първоначалния отвор да е толкова
натиснете и задръжте пусковия прекъсвач 1.
голям, че през него да минат водача с
За застопоряване на натиснатия пусков
монтирана основна плоча. Внимавайте
прекъсвач 1 го придвижете назад.
повърхността, на която е детайлът, да е гладка и
без препятствия. Водете електроинструмента
За да изключите електроинструмента,
по линията на среза с умерено притискане.
отпуснете пусковия прекъсвач 1, респ., ако е
застопорен, го натиснете кратковременно и
след това го отпуснете.
Поддържане и сервиз
Указания за работа
Поддържане и почистване
f Преди извършване на каквито и да е дей-
f Преди извършване на каквито и да е дей-
ности по електроинструмента изключ-
ности по електроинструмента изключ-
вайте щепсела от захранващата мрежа.
вайте щепсела от захранващата мрежа.
Режещи листове и водачи
f За да работите качествено и безопасно,
поддържайте електроинструмента и
В зависимост от дебелината на обработвания
вентилационните отвори чисти.
детайл могат да бъдат поставяни различни
водачи и съответните им режещи листове, за
Периодично, прибл. веднъж на 8 работни часа,
повече информация вижте раздела за
почиствайте водача и режещите листове. За
допълнителните приспособления.
целта демонтирайте режещите листове от
електроинструмента и почистете режещите
Основна плоча с ролки
листове, най-добре с бензин. При
Можете да използвате триона за пенопластови
необходимост за почистване на водача за
материали с или без основна плоча.
режещите листове използвайте шабер. Преди
Съоръжената с ролки основна плоча
да поставите нови, респ. заточени режещи
позволява лекото водене на триона под прав
листове, леко смажете водача.
ъгъл.
Ако въпреки прецизното производство и
За изрязване по произволни профили и за
внимателно изпитване възникне повреда,
изрязване на вътрешни отвори е най-добре да
електроинструментът трябва да се занесе за
работите без основна плоча.
ремонт в оторизиран сервиз за електро-
инструменти на Бош.
Когато се обръщате с Въпроси към представи-
телите, моля, непременно посочвайте
10-цифрения каталожен номер, означен на
табелката на електроинструмента.
3 609 929 B97 | (25.8.10) Bosch Power Tools

OBJ_BUCH-55-004.book Page 133 Wednesday, August 25, 2010 1:39 PM
Български | 133
Сервиз и консултации
Бракуване
Сервизът ще отговори на въпросите Ви относ-
С оглед опазване на околната среда електро-
но ремонти и поддръжка на закупения от Вас
инструментът, допълнителните приспособле-
продукт, както и относно резервни части. Мон-
ния и опаковката трябва да бъдат подложени
тажни чертежи и информация за резервни
на подходяща преработка за повторното из-
части можете да намерите също и на
ползване на съдържащите се в тях суровини.
www.bosch-pt.com
Не изхвърляйте електроинструменти при
Екипът от консултанти на Бош ще Ви помогне
битовите отпадъци!
с удоволствие при въпроси относно закупу-
ване, приложение и възможности за настрой-
Само за страни от ЕС:
ване на различни продукти от производстве-
Съгласно Европейска директива
ната гама на Бош и допълнителни приспосо-
2002/96/EО относно излязла от
бления за тях.
употреба електрическа и
Роберт Бош EООД – България
електронна апаратура и
утвърждаването й като
Бош Сервиз Център
национален закон
Гаранционни и извънгаранционни ремонти
електрическите и електронни устройства,
yл. Сребърна № 3–9
които не могат да се използват повече, трябва
1907 София
да се събират отделно и да бъдат подлагани на
Тел.: +359 (02) 962 5302
подходяща преработка за оползотворяване на
Тел.: +359 (02) 962 5427
съдържащите се в тях суровини.
Тел.: +359 (02) 962 5295
Факс: +359 (02) 62 46 49
www.bosch.bg
Правата за изменения запазени.
Bosch Power Tools 3 609 929 B97 | (25.8.10)

OBJ_BUCH-55-004.book Page 134 Wednesday, August 25, 2010 1:39 PM
134 | Srpski
sr
Uputstva o sigurnosti
d) Ne nosite električni alat za kabl, ne
vešajte ga ili ne izvlačite ga iz utičnice.
Držite kabl dalje od vreline, ulja, oštrih
Opšta upozorenja za električne alate
ivica ili delova aparata koji se pokreću.
UPOZORENJE
Čitajte sva upozorenja i
Oštećeni ili uvrnuti kablovi povećavaju
uputstva. Propusti kod
rizik električnog udara.
pridržavanja upozorenja i uputstava mogu imati
e) Ako sa električnim alatom radite u
za posledicu električni udar, požar i/ili teške
prirodi, upotrebljavajte samo produžne
povrede.
kablove koji su pogodni za spoljnu
Čuvajte sva upozorenja i uputstva za
upotrebu. Upotreba produžnog kabla
budućnost.
uzemljenog za spoljnu upotrebu smanjuje
Pojam upotrebljen u upozorenjima „električni
rizik od električnog udara.
alat“ odnosi se na električne alate sa radom na
f) Ako rad električnog alata ne može da se
mreži (sa mrežnim kablom) i na električne alate
izbegne u vlažnoj okolini, koristite
sa radom na akumulator (bez mrežnog kabla).
prekidač strujne zaštite pri kvaru.
Upotreba prekidača strujne zaštite pri
1) Sigurnost na radnom mestu
kvaru smanjuje rizik od električnog udara.
a) Držite Vaše radno područne čisto i dobro
3) Sigurnost osoblja
osvetljeno. Nered ili neosvetljena radna
a) Budite pažljivi, pazite na to, šta radite i
područja mogu voditi nesrećama.
idite razumno na posao sa Vašim elek-
b) Ne radite sa električnim alatom u okolini
tričnim alatom. Ne koristite električni
ugroženoj eksplozijom, u kojoj se nalaze
alat ako ste umorni ili pod uticajem
zapaljive tečnosti, gasovi ili prašine.
droge, alkohola ili lekova. Momenat
Električni alati prave varnice koje mogu
nepažnje kod upotrebe električnog alata
zapaliti prašinu ili isparenja.
može voditi ozbiljnim povredama.
c) Držite podalje decu i druge osobe za
b) Nosite ličnu zaštitnu opremu i uvek
vreme korišćenja električnog alata.
zaštitne naočare. Nošenje lične zaštitne
Prilikom rada možete izgubiti kontrolu
opreme, kao maske za prašinu, sigurnosne
nad aparatom.
cipele koje ne kližu, zaštitni šlem ili zaštitu
za sluh, zavisno od vrste i upotrebe elek-
2) Električna sigurnost
tričnog alata, smanjuju rizik od povreda.
a) Priključni utikač električnog alata mora
c) Izbegavajte nenamerno puštanje u rad.
odgovarati utičnici. Utikač nesme nikako
Uverite se da je električni alat isključen,
da se menja. Ne upotrebljavajte
pre nego što ga priključite na struju i/ili na
adaptere utikača zajedno sa električnim
akumulator, uzmete ga ili nosite. Ako prili-
alatima zaštićenim uzemljenjem. Ne
kom nošenja električnog alata držite prst
promenjeni utikači i odgovarajuće
na prekidaču ili aparat uključen priključu-
utičnice smanjuju rizik električnog udara.
jete na struju, može ovo voditi nesrećama.
d) Uklonite alate za podešavanje ili klju-
b) Izbegavajte kontakt telom sa uzemljenim
čeve za zavrtnje, pre nego što uključite
površinama kao cevi, grejanja, šporet i
električni alat. Neki alat ili ključ koji se
rashladni ormani. Postoji povećani rizik
nalazi u rotirajućem delu aparata, može
od električnog udara ako je Vaše telo
voditi nesrećama.
uzemljeno.
e) Izbegavajte nenormalno držanje tela.
c) Držite aparat što dalje od kiše ili vlage.
Pobrinite se uvek da stabilno stojite i
Prodor vode u električni alat povećava
održavajte u svako doba ravnotežu. Na
rizik od električnog udara.
taj način možete bolje kontrolisati elek-
trični alat u neočekivanim situacijama.
3 609 929 B97 | (25.8.10) Bosch Power Tools

OBJ_BUCH-55-004.book Page 135 Wednesday, August 25, 2010 1:39 PM
Srpski | 135
f) Nosite pogodnu odeću. Ne nosite široku
g) Upotrebljavajte električni alat, pribor,
odeću ili nakit. Držite kosu, odeću i ruka-
alate koji se umeću itd. prema ovim
vice dalje od pokretnih delova. Opušteno
uputstvima. Obratite pažnju pritom na
odelo, dugu kosu ili nakit mogu zahvatiti
uslove rada i posao koji morate obaviti.
rotirajući delovi.
Upotreba električnih alata za druge
g) Ako mogu da se montiraju uredjaji za
namene koje nisu predvidjene, može
usisavanje i skupljanje prašine, uverite
voditi opasnim situacijama.
se da li su priključeni i upotrebljeni kako
5) Servisi
treba. Upotreba usisavanja prašine može
smanjiti opasnosti od prašine.
a) Neka Vam Vaš električni alat popravlja
samo kvalifikovano osoblje i samo sa
4) Brižljiva upotreba i ophodjenje sa
originalnim rezervnim delovima. Tako se
električnim alatima
obezbedjuje, da ostane sačuvana
a) Ne preopterećujte aparat. Upotrebljavaj-
sigurnost aparata.
te za Vaš posao električni alat odredjen
za to. Sa odgovarajućim električnim ala-
Sigurnosna uputstva za testerisanje
tom radite bolje i sigurnije u navedenom
penastih materijala
području rada.
f Držite uredjaj za izolovane hvataljke, ako
b) Ne koristite nikakav električni alat čiji je
izvodite radove pri kojima upotrebljeni alat
prekidač u kvaru. Električni alat koji se ne
može sresti skrivene vodove struje ili
može više uključiti ili isključiti, je opasan i
sopstveni mrežni kabel. Kontakt sa vodom
mora se popraviti.
koji provodi napon može staviti pod napon i
c) Izvucite utikač iz utičnice i/ili uklonite
metalne delove uredjaja i uticati na električni
akumulator pre nego što preduzmete
udar.
podešavanja na aparatu, promenu delo-
f Držite ruke podalje od područja testere. Ne
va pribora ili ostavite aparat. Ova mera
hvatajte ispod radnog komada. Pri kontaktu
opreza sprečava nenameran start električ-
sa listom testere postoji opasnost od
nog alata.
povreda.
d) Čuvajte nekorišcene električne alate
izvan dometa dece. Ne dozvoljavajte
korišcenje aparata osobama koje ne
poznaju aparat ili nisu pročitale ova
Opis funkcija
uputstva. Električni alati su opasni, kada
Čitajte sva upozorenja i uputstva.
ih koriste neiskusne osobe.
Propusti kod pridržavanja upozo-
e) Održavajte brižljivo električni alat. Kon-
renja i uputstava mogu imati za po-
trolišite da li pokretni delovi aparata
sledicu električni udar, požar i/ili
besprekorno funkcionišu i ne „lepe“, da
teške povrede.
li su delovi polomljeni ili su tako oštećeni
Molimo da otvorite preklopljenu stranicu sa
da je oštećena funkcija električnog alata.
prikazom aparata i ostavite ovu stranicu
Popravite ove oštećene delove pre upo-
otvorenu, dok čitate uputstvo za rad.
trebe. Mnoge nesreće imaju svoje uzroke
u loše održavanim električnim alatima.
f) Održavajte alate za sečenja oštre i čiste.
Upotreba prema svrsi
Brižljivo održavani alati za sečenja sa
Električni alat je namenjen za presecanje
oštrim ivicama manje „slepljuju“ i lakše se
željenih oblika penaste plastike, penaste gume i
vode.
sličnih materijala.
Bosch Power Tools 3 609 929 B97 | (25.8.10)

OBJ_BUCH-55-004.book Page 136 Wednesday, August 25, 2010 1:39 PM
136 | Srpski
Komponente sa slike
Informacije o šumovima/vibracijama
Označavanje brojevima komponenti sa slika
Izmerene vrednosti buke utvrđene su u skladu
odnosi se na prikaz električnog alata na grafičkoj
sa EN 60745.
strani.
Nivo šumova uredjaja označen sa A iznosi
1 Prekidač za uključivanje-isključivanje
tipično: Nivo zvučnog pritiska 81 dB(A); Nivo
2 Vodjica lista testere*
snage zvuka 92 dB(A). Nesigurnost K=3 dB.
Nosite zaštitu za sluh!
3 Par listova testere*
4 Ploča podnožja
Ukupne vrednosti vibracija (Zbir vektora tri
pravca) su dobijene prema EN 60745:
5 Drška (izolovana površina za prihvat)
Emisiona vrednost vibracija a
=2,5 m/s
2
h
,
6 Zavrtanj
Nesigurnost K =1,5 m/s
2
.
7 Pokrivna ploča
Nivo vibracija naveden u ovim uputstvima je iz-
8 Nareckani zavrtanj
meren prema mernom postupku koji je standar-
9 Zatezni zavrtanj za ploču podnožja.
dizovan u EN 60745 i može da se koristi za
poredjenje električnih alata jedan sa drugim.
*Prikazani ili opisani pribor ne spada u standardno
pakovanje. Kompletni pribor možete da nađete u
Pogodan je i za privremenu procenu opterećenja
našem programu pribora.
vibracijama.
Navedeni nivo vibracija predstavlja prvenstveno
primenu električnog alata. Ako se svakako elek-
Tehnički podaci
trični alat upotrebljava za druge namene sa dru-
gim upotrebljenim alatima ili nedovoljno održa-
Testera za penaste
GSG 300
vanja, može doći do odstupanja nivoa vibracija.
materije
Professional
Ovo može u značajnoj meri povećati opterećenje
Broj predmeta
0 601 575 1..
vibracijama preko celog radnog vremena.
Nominalna primljena
Za tačnu procenu opterećenja vibracijama tre-
snaga
W 350
balo bi uzeti u obzir i vreme, u kojem je uredjaj
uključen ili radi, medjutim nije stvarno u upotre-
Predana snaga
W 185
bi. Ovo može značajno redukovati opterećenje
Broj podizanja na
vibracijama preko celog radnog vremena.
prazno n
-1
0
min
3200
Utvrdite dodatne mere sigurnosti radi zaštite
Broj podizanja pod
radnika pre delovanja vibracija kao na primer:
opterećenjem
min
-1
2100
Održavanje električnog alata i upotrebljeni alati,
održavanje toplih ruku, organizacija odvijanja
maks. dubina sečenja
mm 300
posla.
Težina prema EPTA-
Procedure 01/2003
kg 1,6
Klasa zaštite
/II
Podaci važe za nominalne napone [U] od 230 V. Kod
napona koji odstupaju i izvodjenja specifičnih za zemlje
mogu ovi podaci varirati.
Molimo da obratite pažnju na broj predmeta na tipskoj
tablici Vašeg električnog alata. Trgovačke oznake
pojedinih električnih alata mogu varirati.
3 609 929 B97 | (25.8.10) Bosch Power Tools

OBJ_BUCH-55-004.book Page 137 Wednesday, August 25, 2010 1:39 PM
Srpski | 137
Izjava o usaglašenosti
Ubacivanje/promena listova testere
Izjavljujemo na vlastitu odgovornost da je dole
(pogledajte sliku B)
„Tehnički podaci“ opisani proizvod usaglašen sa
f Nosite kod montaže lista testere zaštitne
sledećim standardima ili normativnim aktima:
rukavice za ruku. Kod dodirivanja lista
EN 60745 prema odredbama smernica
testere postoji opasnost od povreda.
2004/108/EG, 2006/42/EG.
Odvrnite nareckane zavrtnje 8 i skinite ih zajedno
Tehnička dokumentacija kod:
sa opružnim podmetačima i pokrivnom pločom 7.
Robert Bosch GmbH, PT/ESC,
n Ubacite par listova testere 3 prvo ispod u
D-70745 Leinfelden-Echterdingen
vodjicu lista testere 2. Pazite na to, da dužni
Dr. Egbert Schneider
Dr. Eckerhard Strötgen
prorezi listova testere zahvataju u čivijicu
Senior Vice President
Head of Product
vodjice lista testere.
Engineering
Certification
o Obesite na kraju par listova testere 3 tako u
rukavac zahvatača, da listovi testere
besprekorno naležu u vodjici.
Stavite pokrivnu ploču 7 na čivije sa navojem
Robert Bosch GmbH, Power Tools Division
kućišta i pričvrstite ih sa nareckanim zavrtnjima
D-70745 Leinfelden-Echterdingen
8. Uverite se da su opružni podmetači stavljeni
Leinfelden, 17.05.2010
ispod.
Montiranje ploče podnožja
Montaža
(pogledajte sliku C)
f Izvucite pre svih radova na električnom
Stavite vodjicu lista testere 2 u odgovarajući
alatu mrežni utikač iz utičnice.
žljeb ploče podnožja 4. Stegnite čvrsto zatezni
zavrtanj 9.
Montiranje vodjice lista testere
(pogledajte sliku A)
Usisavanje prašine/piljevine
Odvrnite zavrtnje 6 sa kućišta i uklonite ih.
f Prašine od materijala kao što je premaz koji
Postavite vodjicu lista testere 2 tako na kućište,
sadrži olovo, neke vrste drveta, minerali i
da čivijice za prihvat uhvate odgovarajuće
metal mogu biti štetni po zdravlje. Dodir ili
otvore. Stegnite vodjicu lista testere 2 sa
udisanje prašine mogu izazvati alergijske
zavrtnjima 6 na kućištu.
reakcije i/ili oboljenja disajnih puteva radnika
ili osoba koje se nalaze u blizini.
Neke prašine kao od hrasta i bukve važe kao
izazivači raka, posebno u vezi sa dodatnim
materijama za obradu drveta (hromati,
zaštitna sredstva za drvo). Materijal koji
sadrži azbest smeju raditi samo stručnjaci.
– Koristite što je više moguće usisavanje
prašine pogodno za materijal.
– Pobrinite se za dobro provetravanje
radnog mesta.
– Preporučuje se, da se nosi zaštitna maska
za disanje sa klasom filtera P2.
Obratite pažnju na propise za materijale koje
treba obradjivati u Vašoj zemlji.
Bosch Power Tools 3 609 929 B97 | (25.8.10)

OBJ_BUCH-55-004.book Page 138 Wednesday, August 25, 2010 1:39 PM
138 | Srpski
Rad
Obrada penastih materija
Za izradu tačnih krojeva, pre svega kod mekih
Puštanje u rad
penastih materijala i sličnih materijala, radite
samo sa odmerenim pomeranjem napred. Ne
f Obratite pažnju na napon mreže! Napon
pritiskajte ili istezite materijal previše pri radu.
strujnog izvora mora biti usaglašen sa
podacima tipske tablice električnog alata.
Demontirajte za izradu manjih isečaka ploču
Električni alati označeni sa 230 V mogu da
podnožja. Ubodite sa nekim nožem ili makazama
rade i sa 220 V.
u materijal, utaknite na kraju vodjicu lista
testere u otvor i radite isečak.
Uključivanje-isključivanje
Za izradu većih isečaka izaberite otvor tako
Pritisnite za puštanje u rad električnog alata
velik, da vodjica lista testere sa montiranom
prekidač za uključivanje-isključivanje 1 i držite
pločom podnožja može da prekrije. Pazite
ga pritisnut.
pritom, da podloga bude oslobodjena smetnji.
Vodite električni alat sa umerenim pritiskom duž
Za fiksiranje pritisnutog prekidača za
linije isecanja.
uključivanje-isključivanje 1 gurnite prekidač za
uključivanje-isključivanje 1 unazad.
Da bi isključili električni alat pustite prekidač za
uključivanje-isključivanje 1 odnosno ako je
Održavanje i servis
blokiran, pritisnite na kratko prekidač za
uključivanje-isključivanje 1 i potom ga pustite.
Održavanje i čišćenje
f Izvucite pre svih radova na električnom
Uputstva za rad
alatu mrežni utikač iz utičnice.
f Izvucite pre svih radova na električnom
f Držite električni alat i proreze za ventilaciju
alatu mrežni utikač iz utičnice.
čiste, da bi dobro i sigurno radili.
Čistite redovno vodjicu lista testere i listove
Listovi testere i vodjice lista testere
testere, oko svakih 8 radnih sati. Za ovo izvadite
Zavisno od debljine materijala koji se obradjuje
listove testere iz električnog alata i čistite
mogu se upotrebiti različite vodjice lista testere
listove testere najbolje sa benzinom.
i odgovarajući listovi testere, pogledajte za ovo
Upotrebljavajte u datom slučaju grebač za
pregled pribora.
čišćenje vodjice lista testere. Lako nauljite
vodjicu lista testere pre ugradnje novih odnosno
Ploča podnožja sa kliznim valjcima
naoštrenih listova testere.
Možete upotrebljavati testeru za penaste
Ako bi električni alat i pored brižljivog postupka
materije sa ili bez ploče podnožja. Ploča
izrade i kontrole nekada otkazao, popravku
podnožja opremljena sa kliznim valjcima
mora vršiti neki autorizovani servis za Bosch-
omogućava lako i pravouglo vodjenje testere.
električne alate.
Za sečenje željenih oblika i izradu isečaka radite
Molimo navedite neizostavno kod svih pitanja i
najbolje bez ploče podnožja.
naručivanja rezervnih delova broj predmeta sa
10 brojčanih mesta prema tipskoj tablici
električnog alata.
3 609 929 B97 | (25.8.10) Bosch Power Tools

OBJ_BUCH-55-004.book Page 139 Wednesday, August 25, 2010 1:39 PM
Srpski | 139
Servis i savetovanja kupaca
Uklanjanje djubreta
Servis odgovara na Vaša pitanja u vezi popravke
Električni pribori, pribor i pakovanja treba da se
i održavanja Vašeg proizvoda kao i u vezi
odvoze regeneraciji koja odgovara zaštiti
rezervnih delova. Šematske prikaze i informacije
čovekove sredine.
u vezi rezervnih delova naći ćete i pod:
Ne bacajte električni alat u kućno djubre!
www.bosch-pt.com
Bosch-ov tim savetnika će Vam pomoći kod
Samo za EU-zemlje:
pitanja u vezi kupovine, primene i podešavanja
Prema evropskoj smernici
proizvoda i pribora.
2002/96/EG o električnim i
elektronskim starim uredjajima i
Srpski
njihovim pretvaranjem u
Bosch-Service
nacionalno dobro ne moraju više
Dimitrija Tucovića 59
neupotrebljivi električni alati da
11000 Beograd
se odvojeno sakupljaju i odvoze nekoj reciklaži
Tel.: +381 (011) 244 85 46
koja odgovara zaštiti čovekove sredine.
Fax: +381 (011) 241 62 93
E-Mail: asboschz@EUnet.yu
Zadržavamo pravo na promene.
Bosch Power Tools 3 609 929 B97 | (25.8.10)

OBJ_BUCH-55-004.book Page 140 Wednesday, August 25, 2010 1:39 PM
140 | Slovensko
sl
Varnostna navodila
c) Prosimo, da napravo zavarujete pred dež-
jem ali vlago. Vdor vode v električno orodje
povečuje tveganje električnega udara.
Splošna varnostna navodila za
d) Ne uporabljajte kabla za nošenje ali obe-
električna orodja
šanje električnega orodja in ne vlecite za
OPOZORILO
Preberite vsa opozorila in
kabel, če želite vtikač izvleči iz vtičnice.
napotila. Napake zaradi
Kabel zavarujte pred vročino, oljem,
neupoštevanja spodaj navedenih opozoril in
ostrimi robovi ali premikajočimi se deli
napotil lahko povzročijo električni udar, požar
naprave. Poškodovani ali zapleteni kabli
in/ali težke telesne poškodbe.
povečujejo tveganje električnega udara.
Vsa opozorila in napotila shranite, ker jih boste
e) Kadar uporabljate električno orodje
v prihodnje še potrebovali.
zunaj, uporabljajte samo kabelske po-
Pojem „električno orodje“, ki se pojavlja v
daljške, ki so primerni za delo na pro-
nadaljnjem besedilu, se nanaša na električna
stem. Uporaba kabelskega podaljška, ki je
orodja z električnim pogonom (z električnim
primeren za delo na prostem, zmanjšuje
kablom) in na akumulatorska električna orodja
tveganje električnega udara.
(brez električnega kabla).
f) Če je uporaba električnega orodja v
vlažnem okolju neizogibna, uporabljajte
1) Varnost na delovnem mestu
stikalo za zaščito pred kvarnim tokom.
a) Delovno področje naj bo vedno čisto in
Uporaba zaščitnega stikala zmanjšuje
dobro osvetljeno. Nered in neosvetljena
tveganje električnega udara.
delovna področja lahko povzročijo
nezgode.
3) Osebna varnost
b) Ne uporabljajte električnega orodja v
a) Bodite pozorni, pazite kaj delate ter se
okolju, kjer lahko pride do eksplozij
dela z električnim orodjem lotite z razu-
oziroma tam, kjer se nahajajo vnetljive
mom. Ne uporabljajte električnega
tekočine, plini ali prah. Električna orodja
orodja, če ste utrujeni oziroma če ste
povzročajo iskrenje, zaradi katerega se
pod vplivom mamil, alkohola ali zdravil.
lahko prah ali para vnameta.
Trenutek nepazljivosti med uporabo elek-
c) Prosimo, da med uporabo električnega
tričnega orodja je lahko vzrok za resne
orodja ne dovolite otrokom ali drugim
telesne poškodbe.
osebam, da bi se Vam približali.
b) Uporabljajte osebno zaščitno opremo in
Odvračanje Vaše pozornosti drugam lahko
vedno nosite zaščitna očala. Nošenje
povzroči izgubo kontrole nad napravo.
osebne zaščitne opreme, na primer maske
proti prahu, nedrsečih zaščitnih čevljev,
2) Električna varnost
varnostne čelade ali zaščitnih glušnikov,
a) Priključni vtikač električnega orodja se
kar je odvisno od vrste in načina uporabe
mora prilegati vtičnici. Spreminjanje vti-
električnega orodja, zmanjšuje tveganje
kača na kakršenkoli način ni dovoljeno.
telesnih poškodb.
Pri ozemljenih električnih orodjih ne
c) Izogibajte se nenamernemu zagonu.
uporabljajte vtikačev z adapterji. Ne-
Pred priključitvijo električnega orodja na
spremenjeni vtikači in ustrezne vtičnice
električno omrežje in/ali na akumulator
zmanjšujejo tveganje električnega udara.
in pred dviganjem ali nošenjem se pre-
b) Izogibajte se telesnemu stiku z ozemlje-
pričajte, če je električno orodje izklop-
nimi površinami kot so na primer cevi,
ljeno. Prenašanje naprave s prstom na
grelci, štedilniki in hladilniki. Tveganje
stikalu ali priključitev vklopljenega elek-
električnega udara je večje, če je Vaše telo
tričnega orodja na električno omrežje je
ozemljeno.
lahko vzrok za nezgodo.
3 609 929 B97 | (25.8.10) Bosch Power Tools

OBJ_BUCH-55-004.book Page 141 Wednesday, August 25, 2010 1:39 PM
Slovensko | 141
d) Pred vklapljanjem električnega orodja
e) Skrbno negujte električno orodje. Kon-
odstranite nastavitvena orodja ali izvija-
trolirajte brezhibno delovanje premičnih
če. Orodje ali ključ, ki se nahaja v vrtečem
delov naprave, ki se ne smejo zatikati.
se delu naprave, lahko povzroči telesne
Če so ti deli zlomljeni ali poškodovani do
poškodbe.
te mere, da ovirajo delovanje električ-
e) Izogibajte se nenormalni telesni drži. Po-
nega orodja, jih je potrebno pred upor-
skrbite za trdno stojišče in za stalno
abo naprave popraviti. Slabo vzdrževana
ravnotežje. Tako boste v nepričakovanih
električna orodja so vzrok za mnoge
situacijah električno orodje lahko bolje
nezgode.
nadzorovali.
f) Rezalna orodja vzdržujte tako, da bodo
f) Nosite primerna oblačila. Ne nosite
vedno ostra in čista. Skrbno negovana
ohlapnih oblačil in nakita. Lase, oblačila
rezalna orodja z ostrimi robovi se manj
in rokavice ne približujte premikajočim
zatikajo in so lažje vodljiva.
se delom naprave. Premikajoči se deli
g) Električna orodja, pribor, vsadna orodja
naprave lahko zagrabijo ohlapno oblačilo,
in podobno uporabljajte ustrezno tem
dolge lase ali nakit.
navodilom. Pri tem upoštevajte delovne
g) Če je na napravo možno montirati pri-
pogoje in dejavnost, ki jo boste
prave za odsesavanje ali prestrezanje
opravljali. Uporaba električnih orodij v
prahu, se prepričajte, če so le-te priklju-
namene, ki so drugačni od predpisanih,
čene in če se pravilno uporabljajo.
lahko privede do nevarnih situacij.
Uporaba priprave za odsesavanje prahu
5) Servisiranje
zmanjšuje zdravstveno ogroženost zaradi
prahu.
a) Vaše električno orodje naj popravlja
samo kvalificirano strokovno osebje ob
4) Skrbna uporaba in ravnanje z električnimi
obvezni uporabi originalnih rezervnih
orodji
delov. Tako bo zagotovljena ohranitev
a) Ne preobremenjujte naprave. Pri delu
varnosti naprave.
uporabljajte električna orodja, ki so za to
delo namenjena. Z ustreznim električnim
Varnostna navodila za žage za penasto
orodjem boste v navedenem zmogljivost-
maso
nem področju delali bolje in varneje.
f Če izvajate dela, pri katerih lahko vstavno
b) Ne uporabljajte električnega orodja s
orodje pride v stik s skritimi omrežnimi
pokvarjenim stikalom. Električno orodje,
napeljavami ali z lastnim omrežnim kablom,
ki se ne da več vklopiti ali izklopiti, je
morate električno orodje držati na
nevarno in ga je potrebno popraviti.
izoliranem ročaju. Stik z napeljavo, ki je pod
c) Pred nastavljanjem naprave, zamenjavo
napetostjo, lahko povzroči, da so tudi
delov pribora ali odlaganjem naprave iz-
kovinski deli naprave pod napetostjo, kar
vlecite vtikač iz električne vtičnice in/ali
lahko povzroči električni udar.
odstranite akumulator. Ta previdnostni
f Ne približujte se z rokami območju žaganja.
ukrep preprečuje nenameren zagon elek-
Ne segajte pod obdelovanec. Stik z žaginim
tričnega orodja.
listom lahko povzroči telesne poškodbe.
d) Električna orodja, katerih ne uporablja-
te, shranjujte izven dosega otrok. Ose-
bam, ki naprave ne poznajo ali niso
prebrale teh navodil za uporabo, napra-
ve ne dovolite uporabljati. Električna
orodja so nevarna, če jih uporabljajo
neizkušene osebe.
Bosch Power Tools 3 609 929 B97 | (25.8.10)

OBJ_BUCH-55-004.book Page 142 Wednesday, August 25, 2010 1:39 PM
142 | Slovensko
Opis delovanja
Tehnični podatki
Preberite vsa opozorila in napotila.
Napake zaradi neupoštevanja
Žaga za penasto maso GSG 300
spodaj navedenih opozoril in napotil
Professional
lahko povzročijo električni udar,
Številka artikla
0 601 575 1..
požar in/ali težke telesne poškodbe.
Nazivna odjemna moč
W 350
Razprite stran s sliko naprave in pustite to stran
med branjem navodil za uporabo odprto.
Izhodna moč
W 185
Število hodov v
Uporaba v skladu z namenom
prostem teku n
0
min
-1
3200
Električno orodje je namenjeno za rezanje
Število hodov pri
poljubnih oblik materialov iz penaste umetne
obremenitvi
min
-1
2100
mase, penaste gume in podobnih materialov.
Maks. globina reza
mm 300
Komponente na sliki
Teža po EPTA-
Procedure 01/2003
kg 1,6
Oštevilčenje komponent, ki so prikazane na
sliki, se nanaša na prikaz električnega orodja na
Zaščitni razred
/II
strani z grafiko.
Navedbe veljajo za nazivne napetosti [U] 230 V. Pri
1 Vklopno/izklopno stikalo
drugih napetostih in državno specifičnih izvedbah
lahko te navedbe variirajo.
2 Vodilo žaginih listov*
Prosimo, da upoštevate številko artikla na tipski
3 Par žaginih listov*
ploščici Vašega električnega orodja. Trgovske oznake
4 Podnožje
posameznih električnih orodij so lahko drugačne.
5 Ročaj (izolirana površina ročaja)
6 Vijak
Podatki o hrupu/vibracijah
7 Pokrov
Merilne vrednosti hrupa izračunane v skladu z
8 Narebričeni vijak
EN 60745.
9 Napenjalni vijak za podnožje
Nivo hrupa naprave po vrednotenju A tipično
*Prikazan ali opisan pribor ni del standarnega obsega
znaša: nivo zvočnega tlaka 81 dB(A); nivo jakosti
dobave. Celoten pribor je del našega programa
hrupa 92 dB(A). Nezanesljivost meritve K=3 dB.
pribora.
Nosite zaščitne glušnike!
Skupne vrednosti nivoja vibriranja (vektorska
vsota treh smeri) so izračunane po EN 60745:
Nivo vibriranja a
h
=2,5 m/s
2
, Nezanesljivost
meritve K =1,5 m/s
2
.
Podane vrednosti nivoja vibracij v teh navodilih
so se izmerile v skladu s standardiziranim
merilnim postopkom po EN 60745 in se lahko
uporabljajo za primerjavo električnih orodij med
seboj. Primeren je tudi za začasno oceno
obremenjenosti z vibracijami.
Naveden nivo vibracij predstavlja glavne upo-
rabe električnega orodja. Če pa se električno
orodje uporablja še v druge namene, z odstopa-
jočimi vstavnimi orodji ali pri nezadostnem
3 609 929 B97 | (25.8.10) Bosch Power Tools

OBJ_BUCH-55-004.book Page 143 Wednesday, August 25, 2010 1:39 PM
Slovensko | 143
vzdrževanju, lahko nivo vibracij odstopa. To
lahko obremenjenosti z vibracijami med dolo-
Vstavljanje/zamenjava žaginih listov
čenim obdobjem uporabe občutno poveča.
(glejte sliko B)
Za natančnejšo oceno obremenjenosti z vibra-
f Pri montaži žaginih listov nosite zaščitne ro-
cijami morate upoštevati tudi tisti čas, ko je
kavice. Ne dotikajte se žaginega lista – nevar-
naprava izklopljena in teče, vendar dejansko ni v
nost telesnih poškodb.
uporabi. To lahko ombremenjenost z vibracijami
Odvijte narebričene vijake 8 in jih odstranite
preko celotnega obdobja dela občutno zmanjša.
skupaj z vzmetnimi podložkami in pokrovom 7.
Določite dodatne varnostne ukrepe za zaščito
upravljalca pred vpljivi vibracij, npr. Vzdrževanje
n Par žaginih listov 3 najprej s spodnje strani
električnega orodja in vstavnih orodij, zegre-
namestite v vodilo žaginih listov 2. Pazite, da
vanje rok, organizacija delovnih postopkov.
bosta vzdolžni zarezi žaginih listov zagrabili
v vodilni zatič vodila žaginih listov.
o Par žaginih listov 3 nato vpnite v čep
Izjava o skladnosti
sojemalnika, tako da bosta žagina lista
Izjavljamo pod izključno odgovornostjo, da
brezhibno nasedla v prijemalo vodila.
proizvod pod „Tehnični podatki“ ustreza
Pokrov 7 namestite na navojne zatiče na ohišju
naslednjim standardom oz. standardiziranim
in jih pritrdite z narebričenimi vijaki 8. Preverite,
dokumentom: EN 60745 v skladu z določili
če so vijaki podloženi z vzmetnimi podložkami.
Direktiv 2004/108/ES, 2006/42/ES.
Tehnična dokumentacija se nahaja pri:
Robert Bosch GmbH, PT/ESC,
Montaža podnožja (glejte sliko C)
D-70745 Leinfelden-Echterdingen
Vodilo žaginih listov 2 vstavite v ustrezno
odprtino v podnožju 4. Trdno zategnite
Dr. Egbert Schneider
Dr. Eckerhard Strötgen
napenjalni vijak 9.
Senior Vice President
Head of Product
Engineering
Certification
Odsesavanje prahu/ostružkov
f Prah nekaterih materialov kot npr. svinčene-
ga premaza, nekaterih vrst lesa, mineralov in
Robert Bosch GmbH, Power Tools Division
kovin je lahko zdravju škodljiv. Dotik ali
D-70745 Leinfelden-Echterdingen
vdihavanje tega prahu lahko povzroči aler-
Leinfelden, 17.05.2010
gične reakcije in/ali obolenja dihal uporab-
nika ali oseb, ki se nahajajo v bližini.
Določene vrste prahu kot npr. prah hrasto-
Montaža
vine ali bukovja veljajo kot kancerogene, še
posebej v povezavi z dodatnimi snovmi za
f Pred začetkom kakršnih koli del na električ-
obdelavo lesa (kromat, zaščitno sredstvo za
nem orodju izvlecite omrežni vtikač iz
les). Material z vsebnostjo azbesta smejo
vtičnice.
obdelovati le strokovnjaki.
– Po možnosti uporabljajte sesalnik prahu,
Montaža vodila žaginih listov
ki je primeren glede na vrsto materiala.
(glejte sliko A)
– Poskrbite za dobro zračenje delovnega
Odvijte vijake 6 na ohišju in jih odstranite. Vodilo
mesta.
žaginih listov 2 namestite na ohišje tako, da
– Priporočamo, da nosite zaščitno masko za
bodo prijemalni zatiči zagrabili v ustrezne
prah s filtrirnim razredom P2.
odprtine. Vodilo žaginih listov 2 z vijaki 6 trdno
Upoštevajte veljavne nacionalne predpise za
privijte na ohišje.
obdelovalne materiale.
Bosch Power Tools 3 609 929 B97 | (25.8.10)

OBJ_BUCH-55-004.book Page 144 Wednesday, August 25, 2010 1:39 PM
144 | Slovensko
Delovanje
Obdelava penaste mase
Pri žaganju natančnih rezov, kar velja predvsem
Zagon
za mehke penaste mase in podobne materiale,
delajte z zmernim pomikom. Med delom ne
f Upoštevajte omrežno napetost! Napetost
smete premočno pritiskati na material ali ga
vira električne energije se mora ujemati s
raztegovati.
podatki na tipski ploščici električnega
orodja. Orodje, ki je označeno z 230 V,
Pred izrezovanjem manjših izrezov demontirajte
lahko priključite tudi na napetost 220 V.
podnožje. Z nožem ali škarjami prebodite
material, nato pa vodilo žaginih listov vtaknite v
Vklop/izklop
odprtino in naredite izrez.
Za zagon električnega orodja pritisnite vklopno/
Pred izdelavo večjih izrezov naredite v material
izklopno stikalo 1 in ga držite pritisnjenega.
večjo odprtino, tako da boste skozi njo lahko
Za fiksiranje pritisnjenega vklopno/izklopnega
vtaknili vodilo žaginih listov skupaj z montiranim
stikala 1 pomaknite vklopno/izklopno stikalo 1
podnožjem. Pazite, da na podlagi ne bo ovir.
nazaj.
Električno orodje z zmernim pritiskanjem vodite
ob liniji izreza.
Če želite električno orodje izklopiti
vklopno/izklopno stikalo 1 spustite, če pa je
aretirano, vklopno/izklopno stikalo 1 kratko
pritisnite in ga nato spustite.
Vzdrževanje in servisiranje
Navodila za delo
Vzdrževanje in čiščenje
f Pred začetkom kakršnih koli del na električ-
f Pred začetkom kakršnih koli del na električ-
nem orodju izvlecite omrežni vtikač iz
nem orodju izvlecite omrežni vtikač iz
vtičnice.
vtičnice.
Žagini listi in vodila žaginih listov
f Električno orodje in prezračevalne reže naj
bodo vedno čisti, kar bo zagotovilo dobro in
Glede na debelino materiala, ki ga obdelujete,
varno delo.
lahko uporabljate različna vodila žaginih listov s
pripadajočimi žaginimi listi. Glejte pregled
Vodilo žaginih listov in žagine liste je treba redno
pribora.
čistiti, približno vsakih 8 delovnih ur. Pri tem iz
električnega orodja odstranite žagine liste in jih
Podnožje z drsnimi valji
očistite, najbolje z bencinom. Pri čiščenju vodila
Uporabljate lahko žago za penasto maso z ali
žaginih listov po potrebi uporabite strgalo. Pred
brez podnožja. Podnožje je opremljeno z
vgradnjo novih oziroma naostrenih žaginih listov
drsnimi valji, kar zagotavlja lahko in pravokotno
je treba vodilo rahlo naoljiti.
vodenje žage.
Če bi kljub skrbnima postopkoma izdelave in
Pri rezanju poljubnih oblik in žaganju izrezov
preizkušanja prišlo do izpada delovanja
boste najbolje delali brez podnožja.
električnega orodja, naj popravilo opravi
servisna delavnica, pooblaščena za popravila
Boschevih električnih orodij.
V primeru dodatnih vprašanj in pri naročanju
nadomestnih delov brezpogojno navedite
10-mestno številko artikla, ki je navedena na
tipski ploščici naprave.
3 609 929 B97 | (25.8.10) Bosch Power Tools

OBJ_BUCH-55-004.book Page 145 Wednesday, August 25, 2010 1:39 PM
Slovensko | 145
Servis in svetovanje
Odlaganje
Servis vam bo dal odgovore na vaša vprašanja
Električno orodje, pribor in embalažo je treba
glede popravila in vzdrževanja izdelka ter
dostaviti v okolju prijazno ponovno predelavo.
nadomestnih delov. Prikaze razstavljenega
Električnih orodij ne vrzite med gospodinjske
stanja in informacije glede nadomestnih delov
odpadke!
se nahajajo tudi na internetnem naslovu:
www.bosch-pt.com
Samo za države EU:
Skupina svetovalcev podjetja Bosch vam bo z
veseljem na voljo pri vprašanjih glede nakupa,
V skladu z Direktivo 2002/96/ES
uporabe in nastavitve izdelka in pribora.
Evropskega Parlamenta in Sveta o
odpadni električni in elektronski
Slovensko
opremi (OEEO) in njeni uresničitvi
Top Service d.o.o.
v nacionalnem pravu se morajo
Celovška 172
električna orodja, ki niso več v
1000 Ljubljana
uporabi, ločeno zbirati ter okolju
Tel.: +386 (01) 5194 225
prijazno reciklirati.
Tel.: +386 (01) 5194 205
Fax: +386 (01) 5193 407
Pridržujemo si pravico do sprememb.
Bosch Power Tools 3 609 929 B97 | (25.8.10)

OBJ_BUCH-55-004.book Page 146 Wednesday, August 25, 2010 1:39 PM
146 | Hrvatski
hr
Upute za sigurnost
c) Uređaj držite dalje od kiše ili vlage.
Prodiranje vode u električni alat povećava
opasnost od strujnog udara.
Opće upute za sigurnost za električne
d) Ne zloupotrebljavajte priključni kabel za
alate
nošenje, vješanje električnog alata ili za
UPOZORENJE
Treba pročitati sve napo-
izvlačenje utikača iz mrežne utičnice.
mene o sigurnosti i upute.
Priključni kabel držite dalje od izvora
Ako se ne bi poštivale napomene o sigurnosti i
topline, ulja, oštrih rubova ili pomičnih
upute to bi moglo uzrokovati strujni udar, požar
dijelova uređaja. Oštećen ili usukan
i/ili teške ozljede.
priključni kabel povećava opasnost od
Sačuvajte sve napomene o sigurnosti i upute
strujnog udara.
za buduću primjenu.
e) Ako sa električnim alatom radite na ot-
U daljnjem tekstu korišten pojam „Električni
vorenom, koristite samo produžni kabel
alat“ odnosi se na električne alate s priključkom
koji je prikladan za uporabu na
na električnu mrežu (s mrežnim kabelom) i na
otvorenom. Primjena produžnog kabela
električne alate s napajanjem iz aku baterije
prikladnog za rad na otvorenom smanjuje
(bez mrežnog kabela).
opasnost od strujnog udara.
f) Ako se ne može izbjeći uporaba elek-
1) Sigurnost na radnom mjestu
tričnog alata u vlažnoj okolini, koristite
a) Održavajte vaše radno mjesto čistim i
zaštitnu sklopku struje kvara. Primjenom
dobro osvijetljenim. Nered ili neosvijet-
zaštitne sklopke struje kvara izbjegava se
ljeno radno mjesto mogu uzrokovati
opasnost od električnog udara.
nezgode.
b) Ne radite s električnim alatom u okolini
3) Sigurnost ljudi
ugroženoj eksplozijom, u kojoj se nalaze
a) Budite pažljivi, pazite što činite i postu-
zapaljive tekućine, plinovi ili prašina.
pajte oprezno kod rada s električnim
Električni alati proizvode iskre koje mogu
alatom. Ne koristite električni alat ako
zapaliti prašinu ili pare.
ste umorni ili pod utjecajem droga, alko-
c) Tijekom uporabe električnog alata djecu
hola ili lijekova. Trenutak nepažnje kod
i ostale osobe držite dalje od mjesta
uporabe električnog alata može uzroko-
rada. U slučaju skretanja pozornosti mogli
vati teške ozljede.
bi izgubiti kontrolu nad uređajem.
b) Nosite osobnu zaštitnu opremu i uvijek
nosite zaštitne naočale. Nošenje osobne
2) Električna sigurnost
zaštitne opreme, kao što je maska za
a) Priključni utikač električnog alata mora
prašinu, sigurnosna obuća koja ne kliže,
odgovarati utičnici. Na utikaču se ni na
zaštitna kaciga ili štitnik za sluh, ovisno od
koji način ne smiju izvoditi izmjene. Ne
vrste i primjene električnog alata,
koristite adapterski utikač zajedno sa
smanjuje opasnost od ozljeda.
zaštitno uzemljenim električnim alatom.
c) Izbjegavajte nehotično puštanje u rad.
Utikač na kojem nisu vršene izmjene i
Prije nego što ćete utaknuti utikač u uti-
odgovarajuća utičnica smanjuju opasnost
čnicu i/ili staviti aku-bateriju, provjerite
od strujnog udara.
je li električni alat isključen. Ako kod
b) Izbjegavajte dodir tijela s uzemljenim
nošenja električnog alata imate prst na
površinama, kao što su cijevi, radijatori,
prekidaču ili se uključen uređaj priključi
štednjaci i hladnjaci. Postoji povećana
na električno napajanje, to može dovesti
opasnost od električnog udara ako bi vaše
do nezgoda.
tijelo bilo uzemljeno.
3 609 929 B97 | (25.8.10) Bosch Power Tools

OBJ_BUCH-55-004.book Page 147 Wednesday, August 25, 2010 1:39 PM
Hrvatski | 147
d) Prije uključivanja električnog alata uklo-
e) Održavajte električni alat s pažnjom.
nite alate za podešavanje ili vijčani ključ.
Kontrolirajte da li pomični dijelovi
Alat ili ključ koji se nalazi u rotirajućem
uređaja besprijekorno rade i da nisu
dijelu uređaja može dovesti do nezgoda.
zaglavljeni, da li su dijelovi polomljeni ili
e) Izbjegavajte neuobičajene položaje
tako oštećeni da se ne može osigurati
tijela. Zauzmite siguran i stabilan položaj
funkcija električnog alata. Prije primjene
tijela i u svakom trenutku održavajte
ove oštećene dijelove treba popraviti.
ravnotežu. Na taj način možete električni
Mnoge nezgode imaju svoj uzrok u slabo
alat bolje kontrolirati u neočekivanim
održavanim električnim alatima.
situacijama.
f) Rezne alate održavajte oštrim i čistim.
f) Nosite prikladnu odjeću. Ne nosite širo-
Pažljivo održavani rezni alati s oštrim
ku odjeću ili nakit. Kosu, odjeću i ruka-
oštricama manje će se zaglaviti i lakše se
vice držite dalje od pomičnih dijelova.
s njima radi.
Nepričvršćenu odjeću, dugu kosu ili nakit
g) Električni alat, pribor, radne alate, itd.
mogu zahvatiti pomični dijelovi.
koristite prema ovim uputama i na način
g) Ako se mogu montirati naprave za usi-
kako je to propisano za poseban tip ure-
savanje i hvatanje prašine, provjerite da
đaja. Kod toga uzmite u obzir radne
li su iste priključene i da li se mogu is-
uvjete i izvođene radove. Uporaba
pravno koristiti. Primjena naprave za
električnih alata za druge primjene nego
usisavanje može smanjiti ugroženost od
što je to predviđeno, može dovesti do
prašine.
opasnih situacija.
4) Brižljiva uporaba i ophođenje s električnim
5) Servisiranje
alatima
a) Popravak vašeg električnog alata
a) Ne preopterećujte uređaj. Za vaš rad
prepustite samo kvalificiranom
koristite za to predviđen električni alat.
stručnom osoblju ovlaštenog servisa i
S odgovarajućim električnim alatom radit
samo s originalnim rezervnim dijelovima.
ćete bolje i sigurnije u navedenom
Na taj će se način osigurati da ostane
području učinka.
sačuvana sigurnost uređaja.
b) Ne koristite električni alat čiji je
prekidač neispravan. Električni alat koji
se više ne može uključivati i isključivati
Upute za sigurnost za piljenje
opasan je i mora se popraviti.
pjenoplasta
c) Izvucite utikač iz mrežne utičnice i/ili
f Kada radite na mjestima gdje bi svrdlo
izvadite aku-bateriju prije podešavanja
moglo oštetiti skrivene električne kablove
uređaja, zamjene pribora ili odlaganja
ili vlastiti priključni kabel, električni alat
uređaja. Ovim mjerama opreza izbjeći će
držite na izoliranim površinama zahvata.
se nehotično pokretanje električnog alata.
Kontakt svrdla sa golom žicom kabela pod
d) Električni alat koji ne koristite spremite
naponom može dovesti pod napon metalne
izvan dosega djece. Ne dopustite rad s
dijelove električnog alata i može uzrokovati
uređajem osobama koje nisu s njim
strujni udar.
upoznate ili koje nisu pročitale ove
f Ruke držite dalje od područja rezanja. Ne
upute. Električni alati su opasni ako s
dirajte ispod izratka. Kod dodira lista pile
njima rade neiskusne osobe.
postoji opasnost od ozljeda.
Bosch Power Tools 3 609 929 B97 | (25.8.10)

OBJ_BUCH-55-004.book Page 148 Wednesday, August 25, 2010 1:39 PM
148 | Hrvatski
Opis djelovanja
Tehnički podaci
Treba pročitati sve napomene o
sigurnosti i upute. Ako se ne bi
Pila za pjenoplast GSG 300
poštivale napomene o sigurnosti i
Professional
upute to bi moglo uzrokovati strujni
Kataloški br.
0 601 575 1..
udar, požar i/ili teške ozljede.
Nazivna primljena
Molimo otvorite preklopnu stranicu sa prikazom
snaga
W 350
uređaja i držite ovu stranicu otvorenom dok
Predana snaga
W 185
čitate upute za uporabu.
Broj hodova pri
praznom hodu n
min
-1
Uporaba za određenu namjenu
0
3200
Električni je alat predviđen za rezanje
Broj hodova pod
opterećenjem
min
-1
proizvoljnih oblika od pjenoplasta, pjenaste
2100
gume i sličnih materijala.
max. dubina rezanja
mm 300
Težina odgovara EPTA-
Prikazani dijelovi uređaja
Procedure 01/2003
kg 1,6
Numeriranje prikazanih dijelova odnosi se na
Klasa zaštite
/II
prikaz električnog alata na stranici sa slikama.
Podaci vrijede za nazivni napon [U] od 230 V. U slučaju
1 Prekidač za uključivanje/isključivanje
odstupanja napona i u izvedbama specifičnim za
2 Vodilica lista pile*
dotičnu zemlju, ovi podaci mogu varirati.
3 Par listova pile*
Molimo pridržavajte se kataloškog broja sa tipske
pločice vašeg električnog alata. Trgovačke oznake
4 Ploča podnožja
pojedinih električnih alata mogu varirati.
5 Ručka (izolirana površina zahvata)
6 Vijak
Informacije o buci i vibracijama
7 Pokrovna ploča
Izmjerene vrijednosti za buku određene su
8 Nareckani vijak
prema EN 60745.
9 Stezni vijak za ploču podnožja
Prag buke uređaja vrednovan s A iznosi obično:
*Prikazan ili opisan pribor ne pripada standardnom
prag zvučnog tlaka 81 dB(A); prag učinka buke
opsegu isporuke. Potpuni pribor možete naći u našem
92 dB(A). Nesigurnost K=3 dB.
programu pribora.
Nosite štitnike za sluh!
Ukupne vrijednosti vibracija (vektorski zbroj tri
smjera) određene su prema EN 60745:
Vrijednost emisija vibracija a
=2,5 m/s
2
h
,
nesigurnost K =1,5 m/s
2
.
Prag vibracija naveden u ovim uputama izmjeren
je postupkom mjerenja propisanom u EN 60745
i može se primijeniti za međusobnu usporedbu
električnih alata. Prikladan je i za privremenu
procjenu opterećenja od vibracija.
Navedeni prag vibracija predstavlja glavne
primjene električnog alata. Ako se ustvari elek-
trični alat koristi za druge primjene sa radnim
alatima koji odstupaju od navedenih ili se nedo-
voljno održavaju, prag vibracija može odstupati.
3 609 929 B97 | (25.8.10) Bosch Power Tools

OBJ_BUCH-55-004.book Page 149 Wednesday, August 25, 2010 1:39 PM
Hrvatski | 149
Na taj se način može osjetno povećati optere-
ćenje od vibracija tijekom čitavog vremenskog
Ugradnja/zamjena listova pile
perioda rada.
(vidjeti sliku B)
Za točnu procjenu opterećenja od vibracija
f Kod montaže lista pile treba koristiti
trebaju se uzeti u obzir i vremena u kojima je
zaštitne rukavice. Kod dodirivanja lista pile
uređaj isključen, ili doduše radi ali stvarno nije u
postoji opasnost od ozljeda.
primjeni. Na taj se način može osjetno smanjiti
Otpustite nareckane vijke 8 i uklonite ih zajedno
opterećenje od vibracija tijekom čitavog vre-
s elastičnim prstenima i pokrovnom pločom 7.
menskog perioda rada.
Prije djelovanja vibracija utvrdite dodatne mjere
n Najprije ugradite par listova pile 3 dolje u
sigurnosti za zaštitu korisnika, kao npr.: održa-
vodilicu lista pile 2. Pazite na to da uzdužni
vanje električnog alata i radnih alata, kao i
prorezi listova pile zahvate u vodeći zatik
organiziranje radnih operacija.
vodilice lista pile.
o Zahvatite nakon toga par listova pile 3 tako
Izjava o usklađenosti
u zahvatni zatik da listovi pile besprijekorno
sjednu u zahvatnu vodilicu.
Izjavljujemo uz punu odgovornost da je ovaj
proizvod opisan u „Tehnički podaci“ usklađen sa
Stavite pokrovnu ploču 7 na navojni zatik na
slijedećim normama ili normativnim dokumen-
kućištu i pričvrstite je sa nareckanim vijkom 8.
tima: EN 60745, prema odredbama smjernica
Provjerite da li su ugrađeni elastični prsteni.
2004/108/EG, 2006/42/EG.
Tehnička dokumentacija se može dobiti kod:
Montaža ploče podnožja
Robert Bosch GmbH, PT/ESC,
(vidjeti sliku C)
D-70745 Leinfelden-Echterdingen
Stavite vodilicu lista pile 2 u odgovarajući izrez
ploče podnožja 4. Stegnite stezni vijak 9.
Dr. Egbert Schneider
Dr. Eckerhard Strötgen
Senior Vice President
Head of Product
Engineering
Certification
Usisavanje prašine/strugotina
f Prašina od materijala kao što su premazi sa
sadržajem olova, neke vrste drva, mineralnih
materijala i metala, može biti štetna za
Robert Bosch GmbH, Power Tools Division
zdravlje. Dodirivanje ili udisanje prašine
D-70745 Leinfelden-Echterdingen
može uzrokovati alergijske reakcije i/ili
Leinfelden, 17.05.2010
oboljenja dišnih putova korisnika električnog
alata ili osoba koje se nalaze u blizini.
Određena vrsta prašine, kao što je npr.
Montaža
prašina od hrastovine ili bukve smatra se
kancerogenom, posebno u kombinaciji sa
f Prije svih radova na električnom alatu
dodatnim tvarima za obradu drva (kromat,
izvucite mrežni utikač iz utičnice.
zaštitna sredstva za drvo). Materijal koji
sadrži azbest smiju obrađivati samo stručne
Montaža vodilice lista pile
osobe.
(vidjeti sliku A)
– Po mogućnosti koristite usisavanje prašine
prikladno za materijal.
Otpustite vijke 6 na kućištu i uklonite ih. Vodilicu
lista pile 2 stavite na kućište tako da zahvatni
– Osigurajte dobru ventilaciju radnog mjesta.
zatici zahvate u odgovarajuće provrte. Vijcima
– Preporučuje se uporaba zaštitne maske sa
pričvrstite na kućište vodilicu lista pile 2 s
filterom klase P2.
vijcima 6.
Pridržavajte se važećih propisa za obrađivane
materijale.
Bosch Power Tools 3 609 929 B97 | (25.8.10)

OBJ_BUCH-55-004.book Page 150 Wednesday, August 25, 2010 1:39 PM
150 | Hrvatski
Rad
Obrada pjenoplasta
Za izvođenje točnih izreza, prije svega na mekim
Puštanje u rad
pjenoplastima i sličnim materijalima, radite
samo sa umjerenim posmakom. Kod obrade
f Pridržavajte se mrežnog napona! Napon
nemojte suviše pritiskati niti istezati materijal.
izvora struje mora se podudarati s podacima
na tipskoj pločici električnog alata. Električni
Za izvođenje manjih izreza demontirajte ploču
alati označeni s 230 V mogu raditi i na 220 V.
podnožja. Zarežite sa nožem ili škarama u
materijal, utaknite nakon toga vodilicu lista pile
Uključivanje/isključivanje
u otvor i obrađujte izrez.
Za puštanje u rad električnog alata pritisnite
Za izvođenje većih izreza odaberite otvor
prekidač za uključivanje/isključivanje 1 i držite
zarezivanja takve veličine da se vodilica lista pile
ga pritisnutim.
s montiranom pločom podnožja može probiti.
Kod toga pazite da podloga bude bez zapreka.
Za utvrđivanje pritisnutog prekidača za
Električni alat sa umjerenim pritiskom vodite
uključivanje/isključivanje 1 pomaknite prekidač
uzduž linije reza.
za uključivanje/isključivanje 1 prema natrag.
Za isključivanje električnog alata otpustite
prekidač za uključivanje/isključivanje 1,
odnosno ako je aretiran, pritisnite na kratko
Održavanje i servisiranje
prekidač za uključivanje/isključivanje 1 i nakon
toga ga otpustite.
Održavanje i čišćenje
f Prije svih radova na električnom alatu
izvucite mrežni utikač iz utičnice.
Upute za rad
f Električni alat i otvore za hlađenje
f Prije svih radova na električnom alatu
održavajte čistim kako bi se moglo dobro i
izvucite mrežni utikač iz utičnice.
sigurno raditi.
Listovi pile i vodilice listova pile
Redovito čistite vodilicu lista pile i list pile, cca.
Ovisno od debljine obrađivanog materijala mogu
svakih 8 sati rada. U tu svrhu uklonite listove
se koristiti različite vodilice listova pile i
pile iz električnog alata i očistite listove pile
pripadajući listovi pile, a za to vidjeti pregled
najbolje s benzinom. Prema potrebi koristite
pribora.
strugalo za čišćenje vodilice lista pile. Prije
ugradnje novih, odnosno naoštrenih listova pile,
Ploča podnožja s kliznim valjčićima
malo namažite uljem vodilicu lista pile.
Pilu za pjenoplast možete koristiti sa ili bez
Ako bi električni alat unatoč brižljivih postupaka
ploče podnožja. Ploča podnožja opremljena
izrade i ispitivanja ipak prestao raditi, popravak
kliznim valjčićima omogućava lako i pravokutno
treba prepustiti ovlaštenom servisu za Bosch
vođenje pile.
električne alate.
Za rezanje proizvoljnih oblika i za izvođenje
Za slučaj povratnih upita ili naručivanja rezerv-
izreza najbolje je raditi bez ploče podnožja.
nih dijelova, molimo vas neizostavno navedite
10-znamenkasti kataloški broj sa tipske pločice
električnog alata.
3 609 929 B97 | (25.8.10) Bosch Power Tools

OBJ_BUCH-55-004.book Page 151 Wednesday, August 25, 2010 1:39 PM
Hrvatski | 151
Servis za kupce i savjetovanje kupaca
Zbrinjavanje
Naš servis će odgovoriti na vaša pitanja o
Električni alat, pribor i ambalažu treba dovesti
popravku i održavanju vašeg proizvoda, kao i o
na ekološki prihvatljivu ponovnu primjenu.
rezervnim dijelovima. Crteže u rastavljenom
Električne alate ne bacajte u kućni otpad!
obliku i informacije o rezervnim dijelovima
možete naći i na našoj adresi:
Samo za zemlje EU:
www.bosch-pt.com
Prema Europskim smjernicama
Tim Bosch savjetnika za kupce rado će
2002/96/EG za električne i
odgovoriti na vaša pitanja o kupnji, primjeni i
elektroničke stare uređaje,
podešavanju proizvoda i pribora.
neuporabivi električni alati moraju
se odvojeno sakupljati i dovoditi
Hrvatski
na ekološki prihvatljivo
Robert Bosch d.o.o
recikliranje.
Kneza Branimira 22
10040 Zagreb
Zadržavamo pravo na promjene.
Tel.: +385 (01) 295 80 51
Fax: +386 (01) 5193 407
Bosch Power Tools 3 609 929 B97 | (25.8.10)

OBJ_BUCH-55-004.book Page 152 Wednesday, August 25, 2010 1:39 PM
152 | Eesti
et
Ohutusnõuded
väljatõmbamiseks. Hoidke toitejuhet
kuumuse, õli, teravate servade ja sead-
me liikuvate osade eest. Kahjustatud või
Üldised ohutusjuhised
keerduläinud toitejuhtmed suurendavad
TÄHELEPANU
Kõik ohutusnõuded ja ju-
elektrilöögi ohtu.
hised tuleb läbi lugeda.
e) Kui töötate elektrilise tööriistaga vabas
Ohutusnõuete ja juhiste eiramise tagajärjeks
õhus, kasutage ainult selliseid pikendus-
võib olla elektrilöök, tulekahju ja/või rasked
juhtmeid, mida on lubatud kasutada ka
vigastused.
välistingimustes. Välistingimustes
Hoidke kõik ohutusnõuded ja juhised
kasutamiseks sobiva pikendusjuhtme
edasiseks kasutamiseks hoolikalt alles.
kasutamine vähendab elektrilöögi ohtu.
Allpool kasutatud mõiste „Elektriline tööriist“
f) Kui elektrilise tööriista kasutamine niis-
käib võrgutoitega (toitejuhtmega) elektriliste
kes keskkonnas on vältimatu, kasutage
tööriistade ja akutoitega (ilma toitejuhtmeta)
rikkevoolukaitselülitit. Rikkevoolukaitse-
elektriliste tööriistade kohta.
lüliti kasutamine vähendab elektrilöögi
1) Ohutusnõuded tööpiirkonnas
ohtu.
a) Töökoht peab olema puhas ja hästi
3) Inimeste turvalisus
valgustatud. Töökohas valitsev segadus ja
hämarus võib põhjustada õnnetusi.
a) Olge tähelepanelik, jälgige, mida Te
teete, ning toimige elektrilise tööriistaga
b) Ärge kasutage elektrilist tööriista plah-
töötades kaalutletult. Ärge kasutage
vatusohtlikus keskkonnas, kus leidub
elektrilist tööriista, kui olete väsinud või
tuleohtlikke vedelikke, gaase või tolmu.
uimastite, alkoholi või ravimite mõju all.
Elektrilistest tööriistadest lööb sädemeid,
Hetkeline tähelepanematus seadme kasu-
mis võivad tolmu või aurud süüdata.
tamisel võib põhjustada tõsiseid
c) Elektrilise tööriista kasutamise ajal
vigastusi.
hoidke lapsed ja teised isikud töökohast
eema. Kui Teie tähelepanu kõrvale juhi-
b) Kandke isikukaitsevahendeid ja alati
takse, võib seade Teie kontrolli alt väljuda.
kaitseprille. Isikukaitsevahendite, näiteks
tolmumaski, libisemiskindlate turvajalat-
2) Elektriohutus
site, kaitsekiivri või kuulmiskaitsevahen-
a) Elektrilise tööriista pistik peab pistiku-
dite kandmine – sõltuvalt elektrilise töö-
pessa sobima. Pistiku kallal ei tohi teha
riista tüübist ja kasutusalast – vähendab
mingeid muudatusi. Ärge kasutage kait-
vigastuste ohtu.
semaandusega elektriliste tööriistade
c) Vältige seadme tahtmatut käivitamist.
puhul adapterpistikuid. Muutmata
Enne pistiku ühendamist pistikupessa,
pistikud ja sobivad pistikupesad
aku ühendamist seadme külge, seadme
vähendavad elektrilöögi saamise riski.
ülestõstmist ja kandmist veenduge, et
b) Vältige kehakontakti maandatud
elektriline tööriist on välja lülitatud. Kui
pindadega, nagu torud, radiaatorid,
hoiate elektrilise tööriista kandmisel
pliidid ja külmikud. Kui Teie keha on
sõrme lülitil või ühendate vooluvõrku
maandatud, on elektrilöögi oht suurem.
sisselülitatud seadme, võivad tagajärjeks
c) Hoidke seadet vihma ja niiskuse eest.
olla õnnetused.
Kui elektrilisse tööriista on sattunud vett,
d) Enne elektrilise tööriista sisselülitamist
on elektrilöögi oht suurem.
eemaldage selle küljest reguleerimis- ja
d) Ärge kasutage toitejuhet otstarvetel,
mutrivõtmed. Seadme pöörleva osa
milleks see ei ole ette nähtud, näiteks
küljes olev reguleerimis- või mutrivõti võib
elektrilise tööriista kandmiseks, ülesri-
põhjustada vigastusi.
putamiseks või pistiku pistikupesast
3 609 929 B97 | (25.8.10) Bosch Power Tools

OBJ_BUCH-55-004.book Page 153 Wednesday, August 25, 2010 1:39 PM
Eesti | 153
e) Vältige ebatavalist kehaasendit. Võtke
f) Hoidke lõiketarvikud teravad ja puhtad.
stabiilne tööasend ja hoidke kogu aeg ta-
Hoolikalt hooldatud, teravate lõikeserva-
sakaalu. Nii saate elektrilist tööriista oota-
dega lõiketarvikud kiilduvad harvemini
matutes olukordades paremini kontrollida.
kinni ja neid on lihtsam juhtida.
f) Kandke sobivat rõivastust. Ärge kandke
g) Kasutage elektrilist tööriista, lisavarus-
laiu riideid ega ehteid. Hoidke juuksed,
tust, tarvikuid jne vastavalt siintoodud
rõivad ja kindad seadme liikuvatest
juhistele ning nii, nagu konkreetse sead-
osadest eemal. Lotendavad riided, ehted
metüübi jaoks ette nähtud. Arvestage
või pikad juuksed võivad sattuda seadme
seejuures töötingimuste ja teostatava
liikuvate osade vahele.
töö iseloomuga. Elektriliste tööriistade
g) Kui on võimalik paigaldada tolmueemal-
nõuetevastane kasutamine võib põhjus-
dus- ja tolmukogumisseadiseid, veen-
tada ohtlikke olukordi.
duge, et need on seadmega ühendatud ja
et neid kasutatakse õigesti. Tolmu-
5) Teenindus
eemaldusseadise kasutamine vähendab
a) Laske elektrilist tööriista parandada
tolmust põhjustatud ohte.
ainult kvalifitseeritud spetsialistidel, kes
kasutavad originaalvaruosi. Nii tagate
4) Elektriliste tööriistade hoolikas
püsivalt seadme ohutu töö.
käsitsemine ja kasutamine
a) Ärge koormake seadet üle. Kasutage töö
Ohutusnõuded vahtkummilõikurite
tegemiseks selleks ettenähtud elektrilist
tööriista. Sobiva elektrilise tööriistaga
kasutamisel
töötate ettenähtud jõudluspiirides
f Kui teostate töid, mille puhul võib tarvik
efektiivsemalt ja ohutumalt.
tabada varjatud elektrijuhtmeid või seadme
b) Ärge kasutage elektrilist tööriista, mille
enda toitejuhet, hoidke seadet ainult
lüliti on rikkis. Elektriline tööriist, mida ei
isoleeritud käepidemetest. Kontakt pinge all
ole enam võimalik lülitist sisse ja välja
oleva elektrijuhtmega võib pingestada sead-
lülitada, on ohtlik ning tuleb parandada.
me metallosad ja põhjustada elektrilöögi.
c) Tõmmake pistik pistikupesast välja
f Hoidke käed töödeldavast piirkonnast
ja/või eemaldage seadmest aku enne
eemal. Ärge viige sõrmi tooriku alla.
seadme reguleerimist, tarvikute
Saelehega kokkupuutel võite end vigastada.
vahetamist ja seadme ärapanekut. See
ettevaatusabinõu väldib elektrilise
tööriista soovimatut käivitamist.
Tööpõhimõtte kirjeldus
d) Kasutusvälisel ajal hoidke elektrilisi töö-
riistu lastele kättesaamatus kohas.
Kõik ohutusnõuded ja juhised
Ärge laske seadet kasutada isikutel,
tuleb läbi lugeda. Ohutusnõuete ja
kes seadet ei tunne või pole siintoodud
juhiste eiramise tagajärjeks võib olla
juhiseid lugenud. Asjatundmatute isikute
elektrilöök, tulekahju ja/või rasked
käes on elektrilised tööriistad ohtlikud.
vigastused.
e) Hoolitsege seadme eest korralikult.
Avage kokkuvolditud lehekülg, millel on toodud
Kontrollige, kas seadme liikuvad osad
joonised seadme kohta, ja jätke see kasutus-
töötavad veatult ega kiildu kiini. Veen-
juhendi lugemise ajaks lahti.
duge, et seadme detailid ei ole murdu-
nud või kahjustatud määral, mis mõjutab
seadme töökindlust. Laske kahjustatud
Nõuetekohane kasutamine
detailid enne seadme kasutamist paran-
Elektriline tööriist on ette nähtud vahtplasti,
dada. Paljude õnnetuste põhjuseks on
vahtkummi ja muude sarnaste materjalide
halvasti hooldatud elektrilised tööriistad.
lõikamiseks mis tahes vormi.
Bosch Power Tools 3 609 929 B97 | (25.8.10)

OBJ_BUCH-55-004.book Page 154 Wednesday, August 25, 2010 1:39 PM
154 | Eesti
Seadme osad
Andmed müra/vibratsiooni kohta
Seadme osade numeratsiooni aluseks on
Müra mõõdetud vastavalt standardile EN 60745.
jooniste leheküljel toodud numbrid.
Seadme A-karakteristikuga mõõdetud müratase
1 Lüliti (sisse/välja)
on üldjuhul: helirõhu tase 81 dB(A); müravõim-
2 Saelehe juhik*
suse tase 92 dB(A). Mõõtemääramatus K=3 dB.
Kasutage kuulmiskaitsevahendeid!
3 Saelehtede paar*
4 Alustald
Vibratsiooni koguväärtus (kolme suuna vektor-
summa), mõõdetud EN 60745 kohaselt:
5 Käepide (isoleeritud haardepind)
vibratsioon a
2
h
=2,5 m/s
, mõõtemääramatus
6 Kruvi
K=1,5m/s
2
.
7 Katteplaat
Käesolevas juhendis toodud vibratsioon on
8 Rihveldatud kruvi
mõõdetud standardi EN 60745 kohase mõõte-
9 Alustalla kinnituskruvi
meetodi järgi ja seda saab kasutada elektriliste
tööriistade omavaheliseks võrdlemiseks. See
*Tarnekomplekt ei sisalda kõiki kasutusjuhendis
olevatel joonistel kujutatud või kasutusjuhendis
sobib ka vibratsiooni esialgseks hindamiseks.
nimetatud lisatarvikuid. Lisatarvikute täieliku loetelu
Toodud vibratsioonitase on tüüpiline elektrilise
leiate meie lisatarvikute kataloogist.
tööriista kasutamisel ettenähtud töödeks. Kui
aga elektrilist tööriista kasutatakse muudeks
töödeks, rakendatakse teisi tarvikuid või kui
Tehnilised andmed
tööriista hooldus pole piisav, võib vibratsiooni-
Vahtkummilõikur GSG 300
tase kõikuda. See võib vibratsiooni tööperioodi
Professional
jooksul tunduvalt suurendada.
Vibratsiooni täpseks hindamiseks tuleb arvesse
Tootenumber
0 601 575 1..
võtta ka aega, mil seade oli välja lülitatud või küll
Nimivõimsus
W 350
sisse lülitatud, kuid tegelikult tööle rakendama-
ta. See võib vibratsiooni tööperioodi jooksul
Väljundvõimsus
W 185
tunduvalt vähendada.
Tühikäigusagedus n
0
min
-1
3200
Rakendage tööriista kasutaja kaitsmiseks vibrat-
Käigusagedus
siooni mõju eest täiendavaid kaitsemeetmeid,
koormusel
min
-1
2100
näiteks: hooldage tööriistu ja tarvikuid piisavalt,
hoidke käed soojas, tagage sujuv töökorraldus.
Max lõikesügavus
mm 300
Kaal EPTA-Procedure
01/2003 järgi
kg 1,6
Kaitseaste
/II
Andmed kehtivad nimipingel [U] 230 V. Teistsuguste
pingete ja kasutusriigis spetsiifiliste mudelite puhul
võivad toodud andmed varieeruda.
Pöörake palun tähelepanu oma tööriista andmesildil
toodud tootenumbrile. Seadmete kaubanduslik
tähistus võib olla erinev.
3 609 929 B97 | (25.8.10) Bosch Power Tools

OBJ_BUCH-55-004.book Page 155 Wednesday, August 25, 2010 1:39 PM
Eesti | 155
Vastavus normidele
Alustalla paigaldamine (vt joonist C)
Kinnitame ainuvastutajana, et punktis „Tehni-
Asetage saelehtede paar 2 alustalla 4 vastavasse
lised andmed“ kirjeldatud toode vastab järg-
avasse. Keerake kinni kinnituskruvi 9.
mistele standarditele või normdokumentidele:
EN 60745 vastavalt direktiivide 2004/108/EÜ,
2006/42/EÜ.
Tolmu/saepuru äratõmme
Tehniline toimik saadaval aadressil:
f Pliisisaldusega värvide, teatud puiduliikide,
Robert Bosch GmbH, PT/ESC,
mineraalide ja metalli tolm võib kahjustada
D-70745 Leinfelden-Echterdingen
tervist. Tolmuga kokkupuude ja tolmu sisse-
Dr. Egbert Schneider
Dr. Eckerhard Strötgen
hingamine võib põhjustada seadme kasutajal
Senior Vice President
Head of Product
või läheduses viibivatel inimestel allergilisi
Engineering
Certification
reaktsioone ja/või hingamisteede haigusi.
Teatud tolm, näiteks tamme- ja pöögitolm, on
vähkitekitava toimega, iseäranis kombinat-
sioonis puidutöötlemisel kasutatavate
lisaainetega (kromaadid, puidukaitsevahen-
Robert Bosch GmbH, Power Tools Division
D-70745 Leinfelden-Echterdingen
did). Asbesti sisaldavat materjali tohivad
Leinfelden, 17.05.2010
töödelda üksnes vastava ala asjatundjad.
– Kasutage konkreetse materjali
eemaldamiseks sobivat tolmuimejat.
Montaaž
– Tagage töökohas hea ventilatsioon.
f Enne mistahes tööde teostamist elektrilise
– Soovitav on kasutada hingamisteede
tööriista kallal tõmmake pistik
kaitsemaski filtriga P2.
pistikupesast välja.
Pidage kinni töödeldavate materjalide suhtes
Teie riigis kehtivatest eeskirjadest.
Saelehe juhiku paigaldamine
(vtjoonistA)
Keerake kruvid 6 korpuse küljest lahti ja eemalda-
Kasutus
ge. Asetage saelehe juhik 2 korpuse külge nii, et
alustihvtid haakuvad vastavatesse avadesse. Kin-
Seadme kasutuselevõtt
nitage saelehe juhik 2 kruvidega 6 korpuse külge.
f Pöörake tähelepanu võrgupingele! Võrgu-
pinge peab ühtima tööriista andmesildil
Saelehtede paigaldamine/vahetamine
märgitud pingega. Andmesildil toodud
(vtjoonistB)
230 V seadmeid võib kasutada ka 220 V
f Saelehe paigaldamisel kandke kaitsekindaid.
võrgupinge korral.
Saelehega kokkupuutel võite end vigastada.
Keerake lahti rihveldatud kruvid 8 ja võtke need
Sisse-/väljalülitus
koos vedruseibide ja katteplaadiga 7 maha.
Seadme kasutuselevõtuks vajutage lüliti
n Asetage saelehtede paar 3 kõigepealt alt
(sisse/välja) 1 alla ja hoidke seda all.
saelehe juhikusse 2. Veenduge, et saelehtede
Et lukustada sissevajutatud lülitit (sisse-/välja)
pikiavad haakuvad saelehe juhiku juhttihvti.
1, lükake lülitit (sisse-/välja) 1 taha.
o Seejärel asetage saelehtede paar 3 kinni-
Seadme väljalülitamiseks vabastage lüliti
tusse nii, et tagatud oleks korrektne asend.
(sisse/välja) 1 või juhul, kui see on lukustatud,
Asetage katteplaat 7 korpuse keermestatud
vajutage korraks lülitile (sisse/välja) 1 ja
tihvtidele ja kinnitage see rihveldatud kruvidega
vabastage see seejärel.
8. Veenduge, et vedruseibid on kohale asetatud.
Bosch Power Tools 3 609 929 B97 | (25.8.10)

OBJ_BUCH-55-004.book Page 156 Wednesday, August 25, 2010 1:39 PM
156 | Eesti
vitavalt bensiiniga. Vajadusel kasutage saelehte-
Tööjuhised
de puhastamiseks kaabitsat. Enne uute või teri-
f Enne mistahes tööde teostamist elektrilise
tatud saelehtede paigaldamist õlitage saelehe
tööriista kallal tõmmake pistik
juhikut kergelt.
pistikupesast välja.
Antud seade on hoolikalt valmistatud ja testitud.
Saelehed ja saelehe juhikud
Kui seade sellest hoolimata rikki läheb, tuleb
Sõltuvalt töödeldava materjali paksusest võib
see lasta parandada Boschi elektriliste
kasutada erinevaid saelehe juhikuid ja selle
käsitööriistade volitatud remonditöökojas.
juurde kuuluvaid saelehti, asjakohane teave
Järelepärimiste esitamisel ja tagavaraosade
sisaldub punktis Ülevaade lisatarvikutest.
tellimisel näidake kindlasti ära seadme
andmesildil olev 10-kohaline tootenumber.
Liugrullikutega alustald
Vahtkummilõikurit võib kasutada koos alustallaga
või ilma. Liugrullikutega varustatud alustald lubab
Müügijärgne teenindus ja nõustamine
lõikurit juhtida kergelt ja täisnurga all.
Müügiesindajad annavad vastused toote
Kujundite lõikamiseks ja väljalõigete tegemiseks
paranduse ja hooldusega ning varuosadega
on soovitav töötada ilma alusplaadita.
seotud küsimustele. Joonised ja lisateabe
varuosade kohta leiate ka veebiaadressilt:
Vahtkummi lõikamine
www.bosch-pt.com
Täpsete lõigete tegemiseks eelkõige pehmes
Boschi müügiesindajad nõustavad Teid toodete
vahtkummis ja teistes sarnastes materjalides
ja lisatarvikute ostmise, kasutamise ja
töötage vaid mõõduka ettenihkega. Ärge
seadistamisega seotud küsimustes.
avaldage materjalile liigset survet, samuti ärge
venitage materjali liigselt.
Eesti Vabariik
Väikeste väljalõigete tegemisel võtke alustald
Mercantile Group AS
maha. Torgake materjalisse noa või kääridega
Boschi elektriliste käsitööriistade remont ja
auk, seejärel asetage auku saelehe juhik ja tehke
hooldus
väljalõige.
Pärnu mnt. 549
Suuremate väljalõigete tegemiseks peab
76401 Saue vald, Laagri
sissetorgatud auk olema nii suur, et saelehe
Tel.: + 372 (0679) 1122
juhikut koos külgemonteeritud alustallaga saaks
Fax: + 372 (0679) 1129
sellest läbi torgata. Veenduge, et aluspinnal ei
ole takistusi. Juhtige seadet mõõduka survega
Kasutuskõlbmatuks muutunud
piki lõikejoont.
seadmete käitlus
Elektriseadmed, lisatarvikud ja pakendid tuleks
keskkonnasäästlikult ringlusse võtta.
Hooldus ja teenindus
Ärge visake kasutusressursi ammendanud elekt-
rilisi tööriistu olmejäätmete hulka!
Hooldus ja puhastus
Üksnes EL liikmesriikidele:
f Enne mistahes tööde teostamist elektrilise
Vastavalt Euroopa Liidu direktiivile
tööriista kallal tõmmake pistik
2002/96/EÜ elektri- ja elektroo-
pistikupesast välja.
nikaseadmete jäätmete kohta ning
f Seadme laitmatu ja ohutu töö tagamiseks
direktiivi kohaldamisele liikmesrii-
hoidke seade ja selle ventilatsiooniavad
kides tuleb kasutusressursi
puhtad.
ammendanud elektrilised tööriistad eraldi kokku
Puhastage saelehe juhikut ja saelehti regulaar-
koguda ja keskkonnasäästlikult ringlusse võtta.
selt iga 8 töötunni järel. Puhastamiseks võtke
saelehed seadmest välja ja puhastage need soo-
Tootja jätab endale õiguse muudatuste tegemiseks.
3 609 929 B97 | (25.8.10) Bosch Power Tools

OBJ_BUCH-55-004.book Page 157 Wednesday, August 25, 2010 1:39 PM
Latviešu | 157
lv
Drošības noteikumi
b) Darba laikā nepieskarieties sazemētiem
priekšmetiem, piemēram, caurulēm, ra-
diatoriem, plītīm vai ledusskapjiem. Pie-
Vispārējie drošības noteikumi darbam
skaroties sazemētām virsmām, pieaug
ar elektroinstrumentiem
risks saņemt elektrisko triecienu.
BRĪDINĀJUMS
Uzmanīgi izlasiet visus
c) Nelietojiet elektroinstrumentu lietus lai-
drošības noteikumus. Šeit
kā, neturiet to mitrumā. Mitrumam
sniegto drošības noteikumu un norādījumu
iekļūstot elektroinstrumentā, pieaug risks
neievērošana var izraisīt aizdegšanos un būt par
saņemt elektrisko triecienu.
cēloni elektriskajam triecienam vai nopietnam
d) Nenesiet un nepiekariet elektroinstru-
savainojumam.
mentu aiz elektrokabeļa. Neraujiet aiz
Pēc izlasīšanas uzglabājiet šos noteikumus
kabeļa, ja vēlaties atvienot instrumentu
turpmākai izmantošanai.
no elektrotīkla kontaktligzdas. Sargājiet
Turpmākajā izklāstā lietotais apzīmējums „elek-
elektrokabeli no karstuma, eļļas, asām
troinstruments“ attiecas gan uz tīkla elektroin-
šķautnēm un elektroinstrumenta kustī-
strumentiem (ar elektrokabeli), gan arī uz aku-
gajām daļām. Bojāts vai samezglojies
mulatora elektroinstrumentiem (bez elektro-
elektrokabelis var būt par cēloni elektris-
kabeļa).
kajam triecienam.
e) Darbinot elektroinstrumentu ārpus tel-
1) Drošība darba vietā
pām, izmantojiet tā pievienošanai vienīgi
a) Sekojiet, lai darba vieta būtu tīra un
tādus pagarinātājkabeļus, kuru lietošana
sakārtota. Nekārtīgā darba vietā un sliktā
ārpus telpām ir atļauta. Lietojot elektro-
apgaismojumā var viegli notikt nelaimes
kabeli, kas piemērots darbam ārpus tel-
gadījums.
pām, samazinās risks saņemt elektrisko
b) Nelietojiet elektroinstrumentu eksplo-
triecienu.
zīvu vai ugunsnedrošu vielu tuvumā un
f) Ja elektroinstrumentu tomēr nepiecie-
vietās ar paaugstinātu gāzes vai putekļu
šams lietot vietās ar paaugstinātu mitru-
saturu gaisā. Darba laikā elektroinstru-
mu, izmantojiet tā pievienošanai noplū-
ments nedaudz dzirksteļo, un tas var
des strāvas aizsargreleju. Lietojot noplū-
izsaukt viegli degošu putekļu vai tvaiku
des strāvas aizsargreleju, samazinās risks
aizdegšanos.
saņemt elektrisko triecienu.
c) Lietojot elektroinstrumentu, neļaujiet
3) Personiskā drošība
nepiederošām personām un jo īpaši bēr-
niem tuvoties darba vietai. Citu personu
a) Darba laikā saglabājiet paškontroli un
klātbūtne var novērst uzmanību, kā rezul-
rīkojieties saskaņā ar veselo saprātu.
tātā jūs varat zaudēt kontroli pār elektro-
Pārtrauciet darbu, ja jūtaties noguris vai
instrumentu.
atrodaties alkohola, narkotiku vai medi-
kamentu izraisītā reibumā. Strādājot ar
2) Elektrodrošība
elektroinstrumentu, pat viens neuzmanī-
a) Elektroinstrumenta kontaktdakšai jābūt
bas mirklis var būt par cēloni nopietnam
piemērotai elektrotīkla kontaktligzdai.
savainojumam.
Kontaktdakšas konstrukciju nedrīkst
b) Izmantojiet individuālos darba aizsardzī-
nekādā veidā mainīt. Nelietojiet kontakt-
bas līdzekļus. Darba laikā nēsājiet aiz-
dakšas salāgotājus, ja elektroinstru-
sargbrilles. Individuālo darba aizsardzī-
ments caur kabeli tiek savienots ar aiz-
bas līdzekļu (putekļu maskas, neslīdošu
sargzemējuma ķēdi. Neizmainītas kon-
apavu un aizsargķiveres vai ausu aizsargu)
strukcijas kontaktdakša, kas piemērota
pielietošana atbilstoši elektroinstrumenta
kontaktligzdai, ļauj samazināt elektriskā
tipam un veicamā darba raksturam ļauj
trieciena saņemšanas risku.
izvairīties no savainojumiem.
Bosch Power Tools 3 609 929 B97 | (25.8.10)

OBJ_BUCH-55-004.book Page 158 Wednesday, August 25, 2010 1:39 PM
158 | Latviešu
c) Nepieļaujiet elektroinstrumenta patvaļī-
c) Pirms elektroinstrumenta apkopes, re-
gu ieslēgšanos. Pirms elektroinstrumen-
gulēšanas vai darbinstrumenta nomaiņas
ta pievienošanas elektrotīklam, akumu-
atvienojiet tā kontaktdakšu no barojošā
latora ievietošanas vai izņemšanas, kā
elektrotīkla vai izņemiet no tā akumula-
arī pirms elektroinstrumenta pārnešanas
toru. Šādi iespējams novērst elektro-
pārliecinieties, ka tas ir izslēgts. Pārne-
instrumenta nejaušu ieslēgšanos.
sot elektroinstrumentu, ja pirksts atrodas
d) Ja elektroinstruments netiek lietots, uz-
uz ieslēdzēja, kā arī pievienojot to elektro-
glabājiet to piemērotā vietā, kur elek-
barošanas avotam laikā, kad elektro-
troinstruments nav sasniedzams bēr-
instruments ir ieslēgts, var viegli notikt
niem un personām, kuras neprot ar to
nelaimes gadījums.
rīkoties vai nav iepazinušās ar šiem no-
d) Pirms elektroinstrumenta ieslēgšanas
teikumiem. Ja elektroinstrumentu lieto
neaizmirstiet izņemt no tā regulējošos
nekompetentas personas, tas var apdrau-
instrumentus vai atslēgas. Regulējošais
dēt cilvēku veselību.
instruments vai atslēga, kas ieslēgšanas
e) Rūpīgi veiciet elektroinstrumenta apkal-
brīdī atrodas elektroinstrumenta kustīga-
pošanu. Pārbaudiet, vai kustīgās daļas
jās daļās, var radīt savainojumu.
darbojas bez traucējumiem un nav ie-
e) Darba laikā izvairieties ieņemt neērtu vai
spiestas, vai kāda no daļām nav salauzta
nedabisku ķermeņa stāvokli. Vienmēr
vai bojāta, vai katra no tām pareizi funk-
ieturiet stingru stāju un centieties sagla-
cionē un pilda tai paredzēto uzdevumu.
bāt līdzsvaru. Tas atvieglo elektroinstru-
Nodrošiniet, lai bojātās daļas tiktu sav-
menta vadību neparedzētās situācijās.
laicīgi nomainītas vai remontētas pilnva-
f) Izvēlieties darbam piemērotu apģērbu.
rotā remonta darbnīcā. Daudzi nelaimes
Darba laikā nenēsājiet brīvi plandošas
gadījumi notiek tāpēc, ka elektroinstru-
drēbes un rotaslietas. Netuviniet matus,
ments pirms lietošanas nav pienācīgi
apģērbu un aizsargcimdus elektroinstru-
apkalpots.
menta kustīgajām daļām. Elektroinstru-
f) Savlaicīgi notīriet un uzasiniet griezošos
menta kustīgajās daļās var ieķerties
darbinstrumentus. Rūpīgi kopti elektro-
vaļīgas drēbes, rotaslietas un gari mati.
instrumenti, kas apgādāti ar asiem griezēj-
g) Ja elektroinstrumenta konstrukcija ļauj
instrumentiem, ļauj strādāt daudz ražīgāk
tam pievienot ārējo putekļu uzsūkšanas
un ir vieglāk vadāmi.
vai savākšanas/uzkrāšanas ierīci, seko-
g) Lietojiet vienīgi tādus elektroinstrumen-
jiet, lai tā būtu pievienota un pareizi dar-
tus, papildpiederumus, darbinstrumen-
botos. Pielietojot putekļu uzsūkšanu vai
tus utt., kas atbilst šeit sniegtajiem
savākšanu/uzkrāšanu, samazinās to
norādījumiem, ņemot vērā arī konkrētos
kaitīgā ietekme uz strādājošās personas
darba apstākļus un pielietojuma īpat-
veselību.
nības. Elektroinstrumentu lietošana
citiem mērķiem, nekā tiem, kuriem to ir
4) Saudzējoša apiešanās un darbs ar elektro-
paredzējusi ražotājfirma, ir bīstama un var
instrumentiem
novest pie neparedzamām sekām.
a) Nepārslogojiet elektroinstrumentu. Kat-
ram darbam izvēlieties piemērotu elektro-
5) Apkalpošana
instrumentu. Elektroinstruments darbojas
a) Nodrošiniet, lai elektroinstrumenta
labāk un drošāk pie nominālās slodzes.
remontu veiktu kvalificēts personāls,
b) Nelietojiet elektroinstrumentu, ja ir bo-
nomaiņai izmantojot oriģinālās rezerves
jāts tā ieslēdzējs. Elektroinstruments, ko
daļas un piederumus. Tikai tā iespējams
nevar ieslēgt un izslēgt, ir bīstams lieto-
panākt un saglabāt vajadzīgo darba
šanai un to nepieciešams remontēt.
drošības līmeni.
3 609 929 B97 | (25.8.10) Bosch Power Tools

OBJ_BUCH-55-004.book Page 159 Wednesday, August 25, 2010 1:39 PM
Latviešu | 159
Drošības noteikumi poraino materiālu
Tehniskie parametri
zāģiem
f Veicot darbu, kura laikā darbinstruments var
Poraino materiālu
GSG 300
skart slēptus elektriskos vadus vai paša in-
zāģis
Professional
strumenta elektrokabeli, turiet instrumentu
Izstrādājuma numurs
0 601 575 1..
tikai aiz izolētajām virsmām. Darbinstrumen-
tam skarot spriegumnesošus vadus, sprie-
Nominālā patērējamā
gums nonāk arī uz instrumenta metāla daļām
jauda
W 350
un var būt par cēloni elektriskajam triecienam.
Mehāniskā jauda
W 185
f Netuviniet rokas zāģējuma trasei. Neturiet
rokas zem zāģējamā priekšmeta. Ķermeņa
Darba gājienu biežums
daļu saskaršanās ar zāģa asmeni var būt par
brīvgaitā n
0
min.
-1
3200
cēloni savainojumam.
Darba gājienu biežums
pie slodzes
min.
-1
2100
Funkciju apraksts
Maks. zāģēšanas
dziļums
mm 300
Uzmanīgi izlasiet visus drošības
noteikumus. Šeit sniegto drošības
Svars atbilstoši EPTA-
noteikumu un norādījumu neievēro-
Procedure 01/2003
kg 1,6
šana var izraisīt aizdegšanos un būt
Elektroaizsardzības
par cēloni elektriskajam triecienam
klase
/II
vai nopietnam savainojumam.
Lūdzam atvērt atlokāmo lappusi ar elektroin-
Šādi parametri tiek nodrošināti pie nominālā elektroba-
strumenta attēlu un turēt to atvērtu visu laiku,
rošanas sprieguma [U] 230 V. Iekārtām, kas paredzētas
citam spriegumam vai ir modificētas atbilstoši
kamēr tiek lasīta lietošanas pamācība.
nacionālajiem standartiem, šie parametri var atšķirties.
Lūdzam vadīties pēc elektroinstrumenta izstrādājuma
Pielietojums
numura. Atsevišķiem izstrādājumiem tirdzniecības
Elektroinstruments ir paredzēts brīvi izvēlētas
apzīmējumi var mainīties.
formas objektu izgriešanai no putuplasta,
putugumijas un citiem līdzīgiem materiāliem.
Attēlotās sastāvdaļas
Informācija par troksni un vibrāciju
Attēloto sastāvdaļu numerācija atbilst
Trokšņa parametru vērtības ir noteiktas
numuriem elektroinstrumenta attēlā, kas
atbilstoši standartam EN 60745.
sniegts ilustratīvajā lappusē.
Elektroinstrumenta radītā pēc raksturlīknes A iz-
1 Ieslēdzējs
svērtā trokšņa parametru tipiskās vērtības ir
2 Zāģa asmeņu vadotne*
šādas: trokšņa spiediena līmenis 81 dB(A);
3 Zāģa asmeņu pāris*
trokšņa jaudas līmenis 92 dB(A). Izkliede
4 Balstplāksne
K=3 dB.
5 Rokturis (ar izolētu noturvirsmu)
Nēsājiet ausu aizsargus!
6 Skrūve
Kopējā vibrācijas paātrinājuma vērtība (vektoru
7 Nosegplāksne
summa trijos virzienos) ir noteikta atbilstoši
8 Rievuzgrieznis
standartam EN 60745.
Vibrācijas paātrinājuma vērtība a
2
h
=2,5 m/s
,
9 Stiprinošā skrūve balstplāksnei
izkliede K =1,5 m/s
2
.
*Šeit attēlotie vai aprakstītie piederumi neietilpst stan-
darta piegādes komplektā. Pilns pārskats par izstrādā-
juma piederumiem ir sniegts mūsu piederumu katalogā.
Bosch Power Tools 3 609 929 B97 | (25.8.10)

OBJ_BUCH-55-004.book Page 160 Wednesday, August 25, 2010 1:39 PM
160 | Latviešu
Šajā pamācībā sniegtais vibrācijas līmenis ir iz-
Montāža
mērīts atbilstoši standartā EN 60745 noteiktajai
procedūrai un var tikt lietots instrumentu salī-
f Pirms elektroinstrumenta apkopes vai
dzināšanai. To var izmantot arī vibrācijas radītās
apkalpošanas izvelciet tā elektrokabeļa
papildu slodzes iepriekšējai novērtēšanai.
kontaktdakšu no barojošā elektrotīkla
Šeit sniegtais vibrācijas līmenis ir attiecināms uz
kontaktligzdas.
elektroinstrumenta galvenajiem pielietojuma
veidiem. Ja elektroinstruments tiek lietots
Zāģa asmeņu vadotnes nostiprināšana
netipiskiem mērķiem, kopā ar netipiskiem darb-
(attēls A)
instrumentiem vai nav vajadzīgajā veidā apkal-
Atskrūvējiet skrūves 6 un izņemiet tās no
pots, tā vibrācijas līmenis var atšķirties no šeit
instrumenta korpusa. Novietojiet uz korpusa
sniegtās vērtības. Tas var ievērojami palielināt
zāģa asmeņu vadotni 2 tā, lai tās fiksējošie stieņi
vibrācijas radīto papildu slodzi zināmam darba
ievietotos atbilstošajos urbumos. Stingri
laika posmam.
pieskrūvējiet zāģa asmeņu vadotni 2 pie
Lai precīzi izvērtētu vibrācijas radīto papildu
instrumenta korpusa ar skrūvēm 6.
slodzi zināmam darba laika posmam, jāņem vērā
arī laiks, kad elektroinstruments ir izslēgts vai
arī darbojas, taču reāli netiek izmantots pare-
Zāģa asmeņu iestiprināšana vai nomaiņa
dzētā darba veikšanai. Tas var ievērojami sama-
(attēls B)
zināt vibrācijas radīto papildu slodzi zināmam
f Iestiprinot zāģa asmeņus, uzvelciet aizsarg-
darba laika posmam.
cimdus. Ķermeņa daļu saskaršanās ar zāģa
Veiciet papildu pasākumus, lai pasargātu strā-
asmeni var būt par cēloni savainojumam.
dājošo personu no vibrācijas kaitīgās iedarbī-
Noskrūvējiet rievuzgriežņus 8 un tad noņemiet
bas, piemēram, savlaicīgi veiciet elektroinstru-
atsperpaplāksnes un nosegplāksni 7.
menta un darbinstrumentu apkalpošanu, novēr-
siet roku atdzišanu un pareizi plānojiet darbu.
n Vispirms ievietojiet zāģa asmeņu pāra 3
apakšējo daļu asmeņu vadotnē 2. Sekojiet,
lai zāģa asmeņu gareniskais izgriezums
Atbilstības deklarācija
novietotos uz vadotnes turētājstieņa.
Mēs ar pilnu atbildību paziņojam, ka sadaļā
o Tad ievirziet zāģa asmeņu pāri 3 asmeņu
„Tehniskie parametri“ aprakstītais izstrādājums
vadotnē tā, lai asmeņu izgriezumi novietotos
atbilst šādiem standartiem vai normatīvajiem
uz pacēlāju pievadizciļņiem un asmeņi bez
dokumentiem: EN 60745, kā arī direktīvām
traucējumiem varētu kustēties vadotnē.
2004/108/EK un 2006/42/EK.
Novietojiet nosegplāksni 7 uz korpusa
Tehniskā dokumentācija no:
vītņstieņiem un nostipriniet ar rievuzgriežņiem
Robert Bosch GmbH, PT/ESC,
8. Neaizmirstiet zem rievuzgriežņiem palikt
D-70745 Leinfelden-Echterdingen
atsperpaplāksnes.
Dr. Egbert Schneider
Dr. Eckerhard Strötgen
Senior Vice President
Head of Product
Balstplāksnes nostiprināšana (attēls C)
Engineering
Certification
Ievietojiet zāģa asmeņu vadotni 2 šim nolūkam
paredzētajā balstplāksnes 4 izgriezumā. Stingri
pieskrūvējiet stiprinošo skrūvi 9.
Robert Bosch GmbH, Power Tools Division
D-70745 Leinfelden-Echterdingen
Leinfelden, 17.05.2010
3 609 929 B97 | (25.8.10) Bosch Power Tools

OBJ_BUCH-55-004.book Page 161 Wednesday, August 25, 2010 1:39 PM
Latviešu | 161
Putekļu un skaidu uzsūkšana
Norādījumi darbam
f Dažu materiālu, piemēram, svinu saturošu
f Pirms elektroinstrumenta apkopes vai
krāsu, dažu koksnes šķirņu, minerālu un me-
apkalpošanas izvelciet tā elektrokabeļa
tālu putekļi var būt kaitīgi veselībai. Pieskar-
kontaktdakšu no barojošā elektrotīkla
šanās šādiem putekļiem vai to ieelpošana var
kontaktligzdas.
izraisīt alerģiskas reakcijas vai elpošanas ceļu
saslimšanu elektroinstrumenta lietotājam vai
Zāģa asmeņi un zāģa asmeņu vadotnes
darba vietai tuvumā esošajām personām.
Atkarībā no apstrādājamā materiāla biezuma,
Atsevišķu materiālu putekļi, piemēram, pu-
instrumentā ir iespējams iestiprināt dažādas
tekļi, kas rodas, zāģējot ozola vai dižskābarža
zāģa asmeņu vadotnes un tām atbilstošus
koksni, var izraisīt vēzi, īpaši tad, ja koksne
asmeņu pārus, par kuriem sīkāku informāciju var
iepriekš ir tikusi ķīmiski apstrādāta (ar hro-
atrast pārskatā par papildpiederumiem.
mātu vai koksnes aizsardzības līdzekļiem).
Azbestu saturošus materiālus drīkst apstrā-
Balstplāksne ar veltnīšiem
dāt vienīgi personas ar īpašām profesionālām
Poraino materiālu zāģi var lietot gan ar
iemaņām.
balstplāksni, gan arī bez tās. Ar veltnīšiem
– Pielietojiet apstrādājamajam materiālam
aprīkota balstplāksne ievērojami atvieglo
vispiemērotāko putekļu uzsūkšanas
instrumenta vadīšanu un ļauj ieturēt taisnu
metodi.
zāģēšanas leņķi.
– Darba vietai jābūt labi ventilējamai.
Veidojot neregulāru apveidu griezumus un
– Darba laikā ieteicams izmantot masku
neliela izmēra noslēgtus izgriezumus, ieteicams
elpošanas ceļu aizsardzībai ar filtrēšanas
strādāt bez balstplāksnes.
klasi P2.
Poraino materiālu apstrāde
Ievērojiet jūsu valstī spēkā esošos priekš-
rakstus, kas attiecas uz apstrādājamo
Lai veidotu precīzu zāģējumu, īpaši tad, ja tiek
materiālu.
apstrādāti mīksti porainie un citi līdzīgi
materiāli, zāģēšanas laikā virziet instrumentu ar
nelielu ātrumu. Ieturiet mērenu spiedienu uz
zāģējamo materiālu, cenšoties to pēc iespējas
Lietošana
mazāk deformēt.
Lai veidotu nelielus, noslēgtus izgriezumus,
Uzsākot lietošanu
noņemiet no instrumenta balstplāksni. Ar nazi
f Pievadiet instrumentam pareizu spriegumu!
vai šķērēm izveidojiet materiālā nelielu
Spriegumam elektrotīklā jāatbilst vērtībai,
atvērumu, tad ievietojiet šajā atvērumā asmeņu
kas norādīta instrumenta marķējuma plāks-
vadotni un veiciet izzāģēšanu.
nītē. Elektroinstrumenti, kas paredzēti
Lai veidotu lielākus izgriezumus, izveidojiet tik
230 V spriegumam, var darboties arī no
lielu sākotnējo atvērumu, lai caur to varētu
220 V elektrotīkla.
izvadīt asmeņu vadotni kopā ar uz tās
Ieslēgšana un izslēgšana
nostiprināto balstplāksni. Raugieties, lai uz
zāģējuma trases zem zāģējamā materiāla
Lai ieslēgtu elektroinstrumentu, nospiediet
neatrastos šķēršļi, kas varētu traucēt zāģēšanu.
ieslēdzēju 1 un turiet to nospiestu.
Zāģēšanas laikā vadiet elektroinstrumentu pa
Lai nospiesto ieslēdzēju 1 nostiprinātu ieslēgtā
zāģējuma trasi, ieturot mērenu spiedienu.
stāvoklī, pabīdiet ieslēdzēju 1 virzienā uz
aizmuguri.
Lai izslēgtu elektroinstrumentu, atlaidiet ieslē-
dzēju 1 vai arī īslaicīgi nospiediet un atlaidiet ie-
slēdzēju 1, ja tas ir fiksēts ieslēgtā stāvoklī.
Bosch Power Tools 3 609 929 B97 | (25.8.10)

OBJ_BUCH-55-004.book Page 162 Wednesday, August 25, 2010 1:39 PM
162 | Latviešu
Apkalpošana un apkope
Atbrīvošanās no nolietotajiem
izstrādājumiem
Apkalpošana un tīrīšana
Nolietotie elektroinstrumenti, to piederumi un
f Pirms elektroinstrumenta apkopes vai
iesaiņojuma materiāli jānogādā otrreizējai
apkalpošanas izvelciet tā elektrokabeļa
pārstrādei apkārtējai videi nekaitīgā veidā.
kontaktdakšu no barojošā elektrotīkla
kontaktligzdas.
Neizmetiet elektroinstrumentu sadzīves
f Lai nodrošinātu ilgstošu un nevainojamu
atkritumu tvertnē!
elektroinstrumenta darbību, uzturiet tīru tā
Tikai ES valstīm
korpusu un ventilācijas atveres.
Saskaņā ar Eiropas Savienības
Regulāri tīriet zāģa asmeņu vadotni un zāģa
direktīvu 2002/96/EK par
asmeņus, veicot to aptuveni ik pēc 8 darba
nolietotajām elektriskajām un
stundām. Šim nolūkam izņemiet no
elektroniskajām ierīcēm un šīs
elektroinstrumenta zāģa asmeņus un notīriet
direktīvas atspoguļojumiem
tos, ieteicams, ar benzīnu. Ar skrāpi noņemiet
nacionālajā likumdošanā,
nosēdumus no zāģa asmeņu vadotnes. Pirms
lietošanai nederīgie elektroinstrumenti jāsavāc
jaunu vai uzasinātu zāģa asmeņu iestiprināšanas
atsevišķi un jānogādā otrreizējai pārstrādei
nedaudz ieeļļojiet zāģa asmeņu vadotni.
apkārtējai videi nekaitīgā veidā.
Ja, neraugoties uz augsto izgatavošanas kvalitāti
un rūpīgo pēcražošanas pārbaudi, elektroinstru-
Tiesības uz izmaiņām tiek saglabātas.
ments tomēr sabojājas, tas nogādājams remon-
tam firmas Bosch pilnvarotā elektroinstrumentu
remonta darbnīcā.
Pieprasot konsultācijas un pasūtot rezerves
daļas, noteikti paziņojiet 10 zīmju izstrādājuma
numuru, kas atrodams uz elektroinstrumenta
marķējuma plāksnītes.
Tehniskā apkalpošana un konsultācijas
klientiem
Klientu apkalpošanas dienests atbildēs uz Jūsu
jautājumiem par izstrādājumu remontu un apkal-
pošanu, kā arī par to rezerves daļām. Kopsaliku-
ma attēlus un informāciju par rezerves daļām var
atrast arī interneta vietnē:
www.bosch-pt.com
Bosch klientu konsultāciju grupa centīsies Jums
palīdzēt vislabākajā veidā, atbildot uz jautāju-
miem par izstrādājumu un to piederumu iegādi,
lietošanu un regulēšanu.
Latvijas Republika
Robert Bosch SIA
Bosch elektroinstrumentu servisa centrs
Dzelzavas ielā 120 S
LV-1021 Rīga
Tālr.: + 371 67 14 62 62
Telefakss: + 371 67 14 62 63
E-pasts: service-pt@lv.bosch.com
3 609 929 B97 | (25.8.10) Bosch Power Tools

OBJ_BUCH-55-004.book Page 163 Wednesday, August 25, 2010 1:39 PM
Lietuviškai | 163
lt
Saugos nuorodos
d) Nenaudokite maitinimo laido ne pagal
paskirtį, t.y. neneškite elektrinio įrankio
paėmę už laido, nekabinkite ant laido,
Bendrosios darbo su elektriniais įran-
netraukite už jo, jei norite iš kištukinio
kiais saugos nuorodos
lizdo ištraukti kištuką. Laidą patieskite
Perskaitykite visas šias sau-
taip, kad jo neveiktų karštis, jis neišsi-
gos nuorodas ir reikalavimus.
teptų alyva ir jo nepažeistų aštrios de-
Jei nepaisysite žemiau pateiktų saugos nuorodų
talės ar judančios prietaiso dalys.
ir reikalavimų, gali trenkti elektros smūgis, kilti
Pažeisti arba susipynę laidai gali tapti
gaisras ir galite sunkiai susižaloti arba sužaloti
elektros smūgio priežastimi.
kitus asmenis.
e) Jei su elektriniu įrankiu dirbate lauke,
Išsaugokite šias saugos nuorodas ir reikalavi-
naudokite tik tokius ilginamuosius lai-
mus, kad ir ateityje galėtumėte jais pasinaudoti.
dus, kurie tinka ir lauko darbams. Naudo-
Toliau pateiktame tekste vartojama sąvoka
jant lauko darbams pritaikytus ilginamuo-
„Elektrinis įrankis“ apibūdina įrankius, maitina-
sius laidus, sumažėja elektros smūgio
mus iš elektros tinklo (su maitinimo laidu), ir
pavojus.
akumuliatorinius įrankius (be maitinimo laido).
f) Jei su elektriniu įrankiu neišvengiamai
1) Darbo vietos saugumas
reikia dirbti drėgnoje aplinkoje, naudo-
kite nuotėkio srovės saugiklį. Dirbant su
a) Darbo vieta turi būti švari ir gerai
nuotėkio srovės saugikliu sumažėja elek-
apšviesta. Netvarkinga arba blogai
tros smūgio pavojus.
apšviesta darbo vieta gali tapti nelaimingų
atsitikimų priežastimi.
3) Žmonių sauga
b) Nedirbkite su elektriniu įrankiu aplinko-
a) Būkite atidūs, sutelkite dėmesį į tai,
je, kurioje yra degių skysčių, dujų ar dul-
ką jūs darote ir, dirbdami su elektriniu
kių. Elektriniai įrankiai gali kibirkščiuoti, o
įrankiu, vadovaukitės sveiku protu. Ne-
nuo kibirkščių dulkės arba susikaupę garai
dirbkite su elektriniu įrankiu, jei esate
gali užsidegti.
pavargę arba vartojote narkotikų, alko-
c) Dirbdami su elektriniu įrankiu neleiskite
holio ar medikamentų. Akimirksnio
šalia būti žiūrovams, vaikams ir lankyto-
neatidumas dirbant su elektriniu įrankiu
jams. Nukreipę dėmesį į kitus asmenis
gali tapti sunkių sužalojimų priežastimi.
galite nebesuvaldyti prietaiso.
b) Visada dirbkite su asmens apsaugos
priemonėmis ir apsauginiais akiniais.
2) Elektrosauga
Naudojant asmens apsaugos priemones,
a) Elektrinio įrankio maitinimo laido kištu-
pvz., respiratorių ar apsauginę kaukę, ne-
kas turi atitikti tinklo kištukinio lizdo
slystančius batus, apsauginį šalmą, klausos
tipą. Kištuko jokiu būdu negalima modifi-
apsaugos priemones ir kt., rekomenduo-
kuoti. Nenaudokite kištuko adapterių su
jamas atitinkamai pagal naudojamą
įžemintais elektriniais įrankiais. Origina-
elektrinį įrankį, sumažėja rizika susižeisti.
lūs kištukai, tiksliai tinkantys elektros
c) Saugokitės, kad elektrinio įrankio
tinklo kištukiniam lizdui, sumažina
neįjungtumėte atsitiktinai. Prieš
elektros smūgio pavojų.
prijungdami elektrinį įrankį prie elektros
b) Saugokitės, kad neprisiliestumėte prie
tinklo ir/arba akumuliatoriaus, prieš
įžemintų paviršių, pvz., vamzdžių, šildytu-
pakeldami ar nešdami įsitikinkite, kad jis
vų, viryklių ar šaldytuvų. Kai jūsų kūnas yra
yra išjungtas. Jeigu nešdami elektrinį
įžemintas, padidėja elektros smūgio rizika.
įrankį pirštą laikysite ant jungiklio arba
c) Saugokite elektrinį įrankį nuo lietaus ir
prietaisą įjungsite į elektros tinklą, kai
drėgmės. Jei į elektrinį įrankį patenka
jungiklis yra įjungtas, gali įvykti
vandens, padidėja elektros smūgio rizika.
nelaimingas atsitikimas.
Bosch Power Tools 3 609 929 B97 | (25.8.10)

OBJ_BUCH-55-004.book Page 164 Wednesday, August 25, 2010 1:39 PM
164 | Lietuviškai
d) Prieš įjungdami elektrinį įrankį pašalin-
rios trikdytų elektrinio įrankio veikimą.
kite reguliavimo įrankius arba veržlinius
Prieš vėl naudojant prietaisą, pažeistos
raktus. Prietaiso besisukančioje dalyje
prietaiso dalys turi būti sutaisytos.
esantis įrankis ar raktas gali sužaloti.
Daugelio nelaimingų atsitikimų priežastis
e) Stenkitės, kad kūnas visada būtų norma-
yra blogai prižiūrimi elektriniai įrankiai.
lioje padėtyje. Dirbdami stovėkite sau-
f) Pjovimo įrankiai turi būti aštrūs ir švarūs.
giai ir visada išlaikykite pusiausvyrą.
Rūpestingai prižiūrėti pjovimo įrankiai su
Tvirtai stovėdami ir gerai išlaikydami pu-
aštriomis pjaunamosiomis briaunomis
siausvyrą galėsite geriau kontroliuoti
mažiau stringa ir juos yra lengviau valdyti.
elektrinį įrankį netikėtose situacijose.
g) Elektrinį įrankį, papildomą įrangą, darbo
f) Dėvėkite tinkamą aprangą. Nedėvėkite
įrankius ir t.t. naudokite taip, kaip
plačių drabužių ir papuošalų. Saugokite
nurodyta šioje instrukcijoje, ir atsižvel-
plaukus, drabužius ir pirštines nuo
kite į darbo sąlygas ir atliekamą darbą.
besisukančių elektrinio įrankio dalių.
Naudojant elektrinius įrankius ne pagal
Laisvus drabužius, papuošalus bei ilgus
paskirtį, gali susidaryti pavojingos
plaukus gali įtraukti besisukančios dalys.
situacijos.
g) Jei yra numatyta galimybė prijungti
5) Aptarnavimas
dulkių nusiurbimo ar surinkimo įrengi-
a) Elektrinį įrankį turi remontuoti tik kva-
nius, visada įsitikinkite, ar jie yra
lifikuoti specialistai ir naudoti tik ori-
prijungti ir ar tinkamai naudojami.
ginalias atsargines dalis. Taip galima
Naudojant dulkių nusiurbimo įrenginius
garantuoti, jog elektrinis įrankis išliks
sumažėja kenksmingas dulkių poveikis.
saugus naudoti.
4) Rūpestinga elektrinių įrankių priežiūra ir
naudojimas
Saugos nuorodos dirbantiems su
a) Neperkraukite prietaiso. Naudokite jūsų
putplasčio pjūklais
darbui tinkamą elektrinį įrankį. Su
f Jei atliekate darbus, kurių metu darbo
tinkamu elektriniu įrankiu jūs dirbsite
įrankis gali kliudyti paslėptus elektros laidus
geriau ir saugiau, jei neviršysite nurodyto
arba paties elektrinio įrankio maitinimo
galingumo.
laidą, tai elektrinį įrankį laikykite už izoliuotų
b) Nenaudokite elektrinio įrankio su
rankenų. Palietus laidą, kuriuo teka elektros
sugedusiu jungikliu. Elektrinis įrankis,
srovė, metalinėse elektrinio įrankio dalyse gali
kurio nebegalima įjungti ar išjungti, yra
atsirasti įtampa ir trenkti elektros smūgis.
pavojingas ir jį reikia remontuoti.
f Nelaikykite rankų arti pjovimo zonos.
c) Prieš reguliuodami prietaisą, keisdami
Nekiškite rankų po ruošiniu. Dėl kontakto su
darbo įrankius ar prieš valydami prietai-
pjūkleliu kyla pavojus susižeisti.
są, iš elektros tinklo lizdo ištraukite
kištuką ir/arba išimkite akumuliatorių. Ši
atsargumo priemonė apsaugos jus nuo
netikėto elektrinio įrankio įsijungimo.
Funkcijų aprašymas
d) Nenaudojamą elektrinį įrankį
Perskaitykite visas šias saugos
sandėliuokite vaikams ir nemokantiems
nuorodas ir reikalavimus. Jei nepai-
juo naudotis asmenims neprieinamoje
sysite žemiau pateiktų saugos nuo-
vietoje. Elektriniai įrankiai yra pavojingi,
rodų ir reikalavimų, gali trenkti
kai juos naudoja nepatyrę asmenys.
elektros smūgis, kilti gaisras ir galite
e) Rūpestingai prižiūrėkite elektrinį įrankį.
sunkiai susižaloti arba sužaloti kitus
Patikrinkite, ar besisukančios prietaiso
asmenis.
dalys tinkamai veikia ir niekur nestringa,
Atverskite lapą su elektrinio įrankio schema ir,
ar nėra sulūžusių ar pažeistų dalių, ku-
skaitydami instrukciją, palikite šį lapą atverstą.
3 609 929 B97 | (25.8.10) Bosch Power Tools

OBJ_BUCH-55-004.book Page 165 Wednesday, August 25, 2010 1:39 PM
Lietuviškai | 165
Elektrinio įrankio paskirtis
Informacija apie triukšmą ir vibraciją
Elektrinis įrankis skirtas įvairioms formoms iš
Triukšmo matavimų vertės nustatytos pagal
guminio ir plastikinio putplasčio bei panašių
EN 60745.
medžiagų pjauti.
Pagal A skalę išmatuotas elektrinio įrankio
triukšmo lygis tipiniu atveju siekia: garso slėgio
Pavaizduoti prietaiso elementai
lygis 81 dB(A); garso galios lygis 92 dB(A).
Numeriais pažymėtus elektrinio įrankio
Paklaida K=3 dB.
elementus rasite šios instrukcijos puslapiuose
Dirbkite su klausos apsaugos priemonėmis!
pateiktuose paveikslėliuose.
Vibracijos bendroji vertė (trijų krypčių atstoja-
1 Įjungimo-išjungimo jungiklis
masis vektorius) nustatyta pagal EN 60745:
2 Pjūklelių kreipiančioji*
Vibracijos emisijos vertė a
=2,5 m/s
2
h
, paklaida
2
3 Pjūklelių pora*
K=1,5m/s
.
4 Atraminė plokštė
Šioje instrukcijoje pateiktas vibracijos lygis buvo
5 Rankena (izoliuotas rankenos paviršius)
išmatuotas pagal EN 60745 normoje standar-
6 Varžtas
tizuotą matavimo metodą, ir lyginant elektrinius
įrankius jį galima naudoti. Jis skirtas vibracijos
7 Dengiamoji plokštelė
poveikiui laikinai įvertinti.
8 Rantytasis varžtas
Nurodytas vibracijos lygis atspindi pagrindinius
9 Atraminės plokštės suveržiamasis varžtas
elektrinio įrankio naudojimo atvejus. Tačiau
*Pavaizduoti ar aprašyti priedai į tiekiamą standartinį
jeigu elektrinis įrankis naudojamas kitokiai
komplektą neįeina. Visą papildomą įrangą rasite mūsų
paskirčiai, su kitokiais darbo įrankiais arba jeigu
papildomos įrangos programoje.
jis nepakankamai techniškai prižiūrimas, vibra-
cijos lygis gali kisti. Tokiu atveju vibracijos povei-
Techniniai duomenys
kis per visą darbo laikotarpį gali žymiai padidėti.
Norint tiksliai įvertinti vibracijos poveikį per tam
Putplasčio pjūklas GSG 300
tikrą darbo laiką, reikia atsižvelgti ir į laiką, per
Professional
kurį elektrinis įrankis buvo išjungtas arba, nors ir
Gaminio numeris
0 601 575 1..
veikė, bet nebuvo naudojamas. Tai įvertinus,
Nominali naudojamoji
vibracijos poveikis per visą darbo laiką žymiai
galia
W 350
sumažės.
Dirbančiajam nuo vibracijos poveikio apsaugoti
Atiduodamoji galia
W 185
paskirkite papildomas apsaugos priemones,
Tuščiosios eigos
pvz.: elektrinių ir darbo įrankių techninę priežiū-
judesių skaičius n
0
min
-1
3200
rą, rankų šildymą, darbo eigos organizavimą.
Judesių sk. esant
apkrovai
min
-1
2100
Maks. pjovimo gylis
mm 300
Svoris pagal „EPTA-
Procedure 01/2003“
kg 1,6
Apsaugos klasė
/II
Duomenys galioja tik tada, kai nominalioji įtampa [U]
230 V. Jei įtampa kitokia arba jei naudojamas
specialus, tam tikrai šaliai gaminamas modelis, šie
duomenys gali skirtis.
Atkreipkite dėmesį į jūsų elektrinio įrankio gaminio
numerį, nes kai kurių elektrinių įrankių modelių
pavadinimai gali skirtis.
Bosch Power Tools 3 609 929 B97 | (25.8.10)

OBJ_BUCH-55-004.book Page 166 Wednesday, August 25, 2010 1:39 PM
166 | Lietuviškai
Atitikties deklaracija
Pjūklelių įdėjimas ir keitimas
Atsakingai pareiškiame, kad skyriuje „Techniniai
(žiūr.pav.B)
duomenys“ aprašytas gaminys atitinka žemiau
f Įdedant ir keičiant pjūklelį rekomenduo-
pateiktus standartus ir norminius dokumentus:
jama mūvėti apsaugines pirštines. Liečiant
EN 60745 pagal Direktyvų 2004/108/EB,
pjūklelį kyla pavojus susižeisti.
2006/42/EB reikalavimus.
Atlaisvinkite rantytuosius varžtus 8 ir nuimkite
Techninė byla laikoma:
juos kartu su spyruoklinėmis poveržlėmis ir
Robert Bosch GmbH, PT/ESC,
dengiamąja plokštele 7.
D-70745 Leinfelden-Echterdingen
n Pjūklelių porą 3 pirmiausiai įstatykite į krei-
Dr. Egbert Schneider
Dr. Eckerhard Strötgen
piančiąją 2 apačioje. Atkreipkite dėmesį į tai,
Senior Vice President
Head of Product
kad išilginės išpjovos pjūkleliuose užsimautų
Engineering
Certification
ant kreipiančiojo kaištelio kreipiančiojoje.
o Paskui pjūklelių porą 3 taip užkabinkite ant
varančiojo kakliuko, kad pjūkleliai tiksliai
patektų į tvirtinimo mechanizmo išpjovas.
Užmaukite dengiamąją plokštelę 7 ant korpuso
Robert Bosch GmbH, Power Tools Division
D-70745 Leinfelden-Echterdingen
srieginių kaiščių ir pritvirtinkite ją rantytais
Leinfelden, 17.05.2010
varžtais 8. Įsitikinkite, kad yra idetos
spyruoklinės poveržlės.
Atraminės plokštės montavimas
Montavimas
(žiūr.pav.C)
f Prieš atliekant bet kokius elektrinio įrankio
Įstatykite pjūklelių kreipiančiąją 2 į atitinkamą
reguliavimo ar priežiūros darbus reikia
išpjovą atraminėje plokštėje 4. Priveržkite
ištraukti kištuką iš elektros tinklo lizdo.
suveržiamąjį varžtą 9.
Pjūklelių kreipiančiųjų montavimas
Dulkių, pjuvenų ir drožlių nusiurbimas
(žiūr.pav.A)
f Medžiagų, kurių sudėtyje yra švino, kai kurių
Atlaisvinkite varžtus 6 ir išsukite juos iš korpuso.
rūšių medienos, mineralų ir metalų dulkės
Uždėti kreipiančiąsias 2 taip, kad montavimo
gali būti kenksmingos sveikatai. Dirbančia-
kaištukai patektų į atitinkamas skyles.
jam arba netoli esantiems asmenims nuo
Kreipiančiąsias 2 priveržkite varžtais 6 prie
sąlyčio su dulkėmis arba jų įkvėpus gali kilti
korpuso.
alerginės reakcijos, taip pat jie gali susirgti
kvėpavimo takų ligomis.
Kai kurios dulkės, pvz., ąžuolo ir buko, yra
vėžį sukeliančios, o ypač, kai mediena yra
apdorota specialiomis medienos priežiūros
priemonėmis (chromatu, medienos apsaugos
priemonėmis). Medžiagas, kuriose yra as-
besto, leidžiama apdoroti tik specialistams.
– Jei yra galimybė, naudokite apdirbamai me-
džiagai tinkančią dulkių nusiurbimo įrangą.
– Pasirūpinkite geru darbo vietos vėdinimu.
– Rekomenduojama dėvėti kvėpavimo takų
apsauginę kaukę su P2 klasės filtru.
Laikykitės jūsų šalyje galiojančių apdoro-
jamoms medžiagoms taikomų taisyklių.
3 609 929 B97 | (25.8.10) Bosch Power Tools

OBJ_BUCH-55-004.book Page 167 Wednesday, August 25, 2010 1:39 PM
Lietuviškai | 167
Naudojimas
Putų polistirolio pjaustymas
Norint gražiai supjauti minkštą putplastį ir
Paruošimas naudoti
panašias medžiagas, dirbant reikia naudoti mažą
pastūmą. Ruošinio per stipriai nespausti.
f Atkreipkite dėmesį į tinklo įtampą! Elektros
tinklo įtampa turi atitikti elektrinio įrankio
Išpjaustant mažas detales, atraminę plokštę
firminėje lentelėje nurodytą įtampą. 230 V
reikia nuimti. Peiliu ar žirklėmis ruošinyje
pažymėtus elektrinius įrankius galima
padaryti skylę pjūklui įkišti. Įstatyti pjūklelių
jungti ir į 220 V įtampos elektros tinklą.
kreipiančiąsias ir išpjauti norimą kontūrą.
Išpjaustant didesnius kontūrus pradinę skylę
Įjungimas ir išjungimas
reikia padaryti tokio dydžio, kad pjūklelių
Norėdami įjungti elektrinį įrankį, nuspauskite
kreipiančiosios tilptų kartu su sumontuota
įjungimo-išjungimo jungiklį 1 ir laikykite jį
atramine plokšte. Pagrindas, ant kurio padėtas
nuspaustą.
ruošinys, neturi sudaryti kliūčių pjūklo judėjimui.
Norėdami užfiksuoti nuspaustą įjungimo-
Lengvai spaudžiant veskite prietaisą pagal
išjungimo jungiklį 1, patraukite jungiklį 1 atgal.
norimą pjūvio liniją.
Norėdami išjungti prietaisą, atleiskite įjungimo-
išjungimo jungiklį 1 arba, jei jis užfiksuotas,
trumpam paspauskite ir vėl atleiskite įjungimo-
išjungimo jungiklį 1.
Priežiūra ir servisas
Darbo patarimai
Priežiūra ir valymas
f Prieš atliekant bet kokius elektrinio įrankio
f Prieš atliekant bet kokius elektrinio įrankio
reguliavimo ar priežiūros darbus reikia
reguliavimo ar priežiūros darbus reikia
ištraukti kištuką iš elektros tinklo lizdo.
ištraukti kištuką iš elektros tinklo lizdo.
Pjūkleliai ir pjūklelių kreipiančiosios
f Reguliariai valykite elektrinį įrankį ir venti-
liacines angas jo korpuse, tuomet galėsite
Priklausomai nuo pjaunamos medžiagos storio
dirbti kokybiškai ir saugiai.
galima sumontuoti įvairius pjūklelius ir
kreipiančiąsias (žiūr. pap. įrangos apžvalgą).
Pjūklelius ir kreipiančiąsias reikia reguliariai
valyti (maždaug kas 8 darbo valandas).
Atraminė plokštė su ritinėliais
Pjūklelius reikia išimti, o valymui geriausia yra
Jūs galite naudoti putplasčio pjūklą su atramine
naudoti benziną. Jei reikia, apnašas nuo
plokšte arba be jos. Atraminė plokštė su
pjūklelių kreipiančiųjų nuvalykite grandikliu.
ritinėliais užtikrina lengvą pjūklelio eigą,
Prieš įstatant naujus ar naujai užgaląstus
išlaikant statų kampą.
pjūklelius, kreipiančiąsias reikia patepti.
Pjaustant įvairias formas bei atliekant išpjovas
Jeigu elektrinis įrankis, nepaisant gamykloje
ruošinio viduryje atraminę plokštę geriausia yra
atliekamo kruopštaus gamybos ir kontrolės
nuimti.
proceso, vis dėlto sugestų, jo remontas turi būti
atliekamas įgaliotame Bosch elektrinių įrankių
klientų aptarnavimo skyriuje.
Ieškant informacijos ir užsakant atsargines dalis
būtina nurodyti dešimtženklį gaminio užsakymo
numerį.
Bosch Power Tools 3 609 929 B97 | (25.8.10)

OBJ_BUCH-55-004.book Page 168 Wednesday, August 25, 2010 1:39 PM
168 | Lietuviškai
Klientų aptarnavimo skyrius ir klientų
Šalinimas
konsultavimo tarnyba
Elektrinis įrankis, papildoma įranga ir pakuotė
Klientų aptarnavimo skyriuje gausite atsakymus
yra pagaminti iš medžiagų, tinkančių antriniam
į klausimus, susijusius su jūsų gaminio remontu,
perdirbimui, ir vėliau privalo būti atitinkamai
technine priežiūra bei atsarginėmis dalimis.
perdirbti.
Detalius brėžinius ir informaciją apie atsargines
Nemeskite elektrinių įrankių į buitinių atliekų
dalis rasite čia:
konteinerius!
www.bosch-pt.com
Bosch klientų konsultavimo tarnybos specialis-
Tik ES šalims:
tai mielai jums patars gaminių ir papildomos
Pagal Europos direktyvą
įrangos pirkimo, naudojimo bei nustatymo klau-
2002/96/EB dėl elektros ir
simais.
elektroninės įrangos atliekų ir šios
direktyvos perkėlimo į nacionalinę
Lietuva
teisę aktus, naudoti nebetinkami
Bosch įrankių servisas
elektriniai įrankiai turi būti
Informacijos tarnyba: +370 (037) 713350
surenkami atskirai ir perdirbami
ļrankių remontas: +370 (037) 713352
aplinkai nekenksmingu būdu.
Faksas: +370 (037) 713354
El. paštas: service-pt@lv.bosch.com
Galimi pakeitimai.
3 609 929 B97 | (25.8.10) Bosch Power Tools

ﻲﺑﺮﻋ
| 169
ﺔﻴﺋﺎﺑﺮﻬﻜﻟا ةﺪﻌﻟا ﻦﻣ ﺺﻠﺨﺘﻟا
ﺔﻣﺪﳋاﻭ ﺔﻧﺎﻴﺼﻟا
ﺔﻔﺼﻨﻣ ﺔﻘﻳﺮﻄﺑ ﻑﻼﻐﻟاﻭ ﻊﺑاﻮﺘﻟاﻭ ﺔﻴﺋﺎﺑﺮﻬﻜﻟا دﺪﻌﻟا ﻦﻣ ﺺﻠﺨﺘﻟا ﻲﻐﺒﻨﻳ
.ﻊﻴﻨﺼﺘﻟا ةدﺎﻋﻹ ﺔﻠﺑﺎﻘﻟا تﺎﻳﺎﻔﻨﻟا ﻖﻳﺮﻃ ﻦﻋ ﺔﺌﻴﺒﻠﻟ
ﻒﻴﻈﻨﺘﻟاﻭ ﺔﻧﺎﻴﺼﻟا
!ﺔﻴﻟﺰﻨﳌا تﺎﻳﺎﻔﻨﻟا ﰲ ﺔﻴﺋﺎﺑﺮﻬﻜﻟا دﺪﻌﻟا ﻡﺮﺗ ﻻ
ﯽﻠﻋ ﻞﻤﻋ ﻱأ ءاﺮﺟإ ﻞﺒﻗ ﺔﻴﺋﺎﺑﺮﻬﻜﻟا ﺔﻜﺒﺸﻟا ﺲﺒﻘﻣ ﻦﻣ ﺲﺑﺎﻘﻟا ﺐﺤﺳا
e
.ﺔﻴﺋﺎﺑﺮﻬﻜﻟا ةﺪﻌﻟا
:ﻂﻘﻓ ﰊﻭرﻭﻷا دﺎﲢﻻا ﻝﻭﺪﻟ
ﻞﻜﺸﺑ ﻞﻤﻌﻠﻟ ﺔﻳﻮﻬﺘﻟا ﻕﻮﻘﺷﻭ ﺔﻴﺋﺎﺑﺮﻬﻜﻟا ةﺪﻌﻟا ﺔﻓﺎﻈﻧ ﯽﻠﻋ
ﹰ
ﲈﺋاد ﻆﻓﺎﺣ
e
ﺔﳊﺎﺻ ﲑﻐﻟا ﺔﻴﺋﺎﺑﺮﻬﻜﻟا دﺪﻌﻟا ﻊﲨ ﻢﺘﻳ ﻥأ ﺐﳚ
.ﻦﻣآﻭ ﺪﻴﺟ
ﺔﻘﻳﺮﻄﺑ ﺎﻬﻨﻣ ﺺﻠﺨﺘﻟا ﻢﺘﻴﻟ داﺮﻔﻧا ﯽﻠﻋ ﻝﲈﻌﺘﺳﻼﻟ
8 ﻞﻛ ﺪﻌﺑ ﻢﻈﺘﻨﻣ ﻞﻜﺸﺑ رﺎﺸﻨﳌا ﻝﺎﺼﻧﻭ رﺎﺸﻨﳌا ﻞﺼﻧ رﺎﺴﻣ ﻞﻴﻟد ﻒﻈﻧ
ةدﺎﻋﻹ ﺔﻠﺑﺎﻘﻟا تﺎﻳﺎﻔﻨﻟا ﻖﻳﺮﻃ ﻦﻋ ﺔﺌﻴﺒﻟﺎﺑ ﺔﻔﺼﻨﻣ
ﺔﻴﺋﺎﺑﺮﻬﻜﻟا ةﺪﻌﻟا ﻦﻣ رﺎﺸﻨﳌا ﻝﺎﺼﻧ ﻚﻔﺗ ،ﻚﻟذ ﺬﻴﻔﻨﺘﻟ .
ﺎﺒﻳﺮﻘﺗ ﻞﻴﻐﺸﺗ تﺎﻋﺎﺳ
ﹰ
2002/96/EG ﰊﻭرﻭﻷا ﻪﻴﺟﻮﺘﻟا ﺐﺴﺣ ،ﻊﻴﻨﺼﺘﻟا
ﻒﻴﻈﻨﺘﻟ ﺔﻄﺸﻜﻣ ﻡﺪﺨﺘﺳا .ﻦﻳﺰﻨﺒﻟا ﺔﻄﺳاﻮﺑ رﺎﺸﻨﳌا ﻝﺎﺼﻧ ﻒﻴﻈﻨﺗ ﻦﺴﺤﺘﺴﻳﻭ
ﺔﻤﻳﺪﻘﻟا ﺔﻴﻧﻭﱰﻜﻟﻻاﻭ ﺔﻴﺋﺎﺑﺮﻬﻜﻟا ةﺰﻬﺟﻷا دﺪﺼﺑ
ﺾﻌﺑ رﺎﺸﻨﳌا ﻞﺼﻧ رﺎﺴﻣ ﻞﻴﻟد ﺖ
ﻳز .ةرﻭﴬﻟا ﺪﻨﻋ رﺎﺸﻨﳌا ﻞﺼﻧ رﺎﺴﻣ ﻞﻴﻟد
.ﺔﻴﻠﺤﳌا ﻡﺎﻜﺣﻷا ﯽﻠﻋ ﻪﻘﻴﺒﻄﺗﻭ
ﹼ
.ﺎﻫﺬﺤﺷ دﺎﻌﳌا ﻭأ ةﺪﻳﺪﳉا رﺎﺸﻨﳌا ﻝﺎﺼﻧ
ﺐﻴﻛﺮﺗ ﻞﺒﻗ ءﴚﻟا
ﺔﻳﺎﻨﻌﺑ ﺖﻌﻨﺻ ﺪﻗ ﺎﳖأ ﻦﻣ ﻢﻏﺮﻟﺎﺑ ﺔﻴﺋﺎﺑﺮﻬﻜﻟا ةﺪﻌﻟﺎﺑ ﻞﻠﺧ ﻱأ ثﻭﺪﺣ ﺪﻨﻋ
.تﻼﻳﺪﻌﺘﻟا ﻝﺎﺧدإ ﻖﺤﺑ ﻆﻔﺘﺤﻧ
ﺔﻟﺎﻛﻭ ﺔﻣﺪﺧ ﺰﻛﺮﻣ ﰲ ﺎﻬﺣﻼﺻإ ﺐﺟﻮﺗ ةﺪﻳﺪﻋ تارﺎﺒﺘﺧا تزﺎﺘﺟاﻭ ﺔﻘﺋﺎﻓ
.ﺔﻴﺋﺎﺑﺮﻬﻜﻟا شﻮﺑ دﺪﻋ
ﺔﻴﺋﺎﺑﺮﻬﻜﻟا ةﺪﻌﻟا زاﺮﻃ ﺔﺤﺋﻻ ﺐﺴﺣ ﴩﻌﻟا ﺐﺗاﺮﳌﺎﺑ ﻒﻨﺼﻟا ﻢﻗر ﺮﻛذ ﯽﺟﺮﻳ
.رﺎﻴﻐﻟا ﻊﻄﻗ تﺎﻴﺒﻠﻃ ﻝﺎﺳرإ ﺪﻨﻋﻭ ةرﺎﺸﺘﺳﻻا ﺪﻨﻋ ﻱرﻭﴐ ﻞﻜﺸﺑ
ﻦﺋﺎﺑﺰﻟا ةرﻮﺸﻣﻭ ﺔﻣﺪﺧ
ﺔﻧﺎﻴﺻﻭ ﺢﻴﻠﺼﺗ دﺪﺼﺑ ﺔﺣﻭﺮﻄﳌا ﺔﻠﺌﺳﻷا ﯽﻠﻋ ﻦﺋﺎﺑﺰﻟا ﺔﻣﺪﺧ ﺰﻛﺮﻣ ﺐﻴﳚ
ﻦﻋ تﺎﻣﻮﻠﻌﳌاﻭ ةدﺪﻤﳌا ﻡﻮﺳﺮﻟا ﺪﺠﺘﺳ .رﺎﻴﻐﻟا ﻊﻄﻗ ﺺﳜ ﲈﺑ
ﺎﻀﻳأﻭ ﺞ
ﹰ
ﺘﻨﳌا
ﹶ
:ﻊﻗﻮﻤﺑ رﺎﻴﻐﻟا ﻊﻄﻗ
www.bosch-pt.com
ﺔﺣﻭﺮﻄﳌا ﺔﻠﺌﺳﻷا ﯽﻠﻋ ﺔﺑﺎﺟﻹﺎﺑ شﻮﺑ ﻦﺋﺎﺑز ﻱرﺎﺸﺘﺳا ﻖﻳﺮﻓ ﻙﺪﻋﺎﺴﻴﺳ
.ﺎﻬﻌﺑاﻮﺗﻭ تﺎﺠ
ﺘﻨﳌا ﻂﺒﺿﻭ ،ﻡاﺪﺨﺘﺳا ،ءاﴍ دﺪﺼﺑ
ﹶ
ﲔﻣﺄﺗﻭ ﺢﻴﻠﺼﺘﻟاﻭ ﻥﲈﻀﻟا رﻮﻣﺄﺑ ﻖ
ﹼ
ﻠﻌﺘﻳ ﲈﺑ ﺺﺘﺨﳌا ﺮﺟﺎﺘﻟا ﯽﻟإ ﻪﺟﻮﺘﻟا ﯽﺟﺮﻳ
.رﺎﻴﻐﻟا ﻊﻄﻗ
Bosch Power Tools 3 609 929 B97 | (25.8.10)
gsg300_ar_3609929B97_002.indd 169gsg300_ar_3609929B97_002.indd 169 25.08.2010 12:44:0925.08.2010 12:44:09



