Bosch PCL766DEU Piano a gas 70 cm acciaio inox: инструкция
Раздел: Бытовая, кухонная техника, электроника и оборудование
Тип: Плита
Инструкция к Плите Bosch PCL766DEU Piano a gas 70 cm acciaio inox

|*9lliinH5iil* 9000407456 AF
^0 Montageanleitung
ni
Installatievoorschrift
Installation instructions
pi
Instrukcja montazu
Instrucciones de montaje
pt
Instrugòes de montagem
^0 Notice de montage
ru
Инструкция no монтажу
^0 Istruzioni per il montaggio
tr
Monta] kilavuzu
min.30
max.50
50
min.5
//—
------
4\
45
max.
150
35
min.10
min.80
min.25

> >
о о
см rf
CM CM
(Q
Ю
г
>
о
rf
CM
>
о
CM
CM
1- CM CO
co
IO
iD

7a
8 8a
10
-3-

Drücken Sie die Ränder so lange nach unten, bis der gesamte
de
Rand aufliegt.
3. Drehen Sie die Klammern und ziehen Sie diese fest an.
Sicherheitshinweise
Die Position der Klammern hängtvon der Dicke der
Lesen Sie die Gebrauchsanweisung für das Gerät, bevor Sie es
Arbeitsoberfläche ab. Abb. 4
installieren und benutzen.
Die in dieser Anleitung enthaltenen Abbildungen sind orientativ.
Ausbau des Kochfeldes
Der Hersteller ist jeglicher Verantwortung enthoben, wenn die
Trennen Sie das Gerätvon der Strom- und Gasversorgung.
Bestimmungen dieses Handbuchs nicht eingehalten werden.
Schrauben Sie die Klammern auf und folgen Sie den Einbauschrit
Dieses Gerät darf nur an einem ausreichend belüfteten Ort genutzt
ten in umgekehrter Reihenfolge.
werden. Das Gerät darf nicht an einen Schornstein oder eine
Abgasanlage angeschlossen werden.
Gasanschluss (Abb. 5)
Alle Installations-, Anschluss-, Regelungs- und Umstellungs
Am Ende des Eingangsrohrs zum Gaskochfeld befindet sich ein 1/
arbeiten auf eine andere Gasart müssen von einem autorisier
2” (20,955 mm) Gewinde. Dieses Gewinde ermöglicht:
ten Fachmann und unter Beachtung der jeweils anwendbaren
■ einen Festanschluss.
Regelungen und gesetzlichen Vorgaben sowie der Vorschrif
ten der örtlichen Strom- und Gasversorger vorgenommen
■ einen Anschluss mit einem Metallschlauch (L min. 1 m -
werden. Besondere Aufmerksamkeit ist den für die Belüftung
max. 3 m).
geltenden Bestimmungen und Richtlinien zuzuwenden.
Die mitgelieferte bzw. über den technischen Kundendienst bezo
Für Umstellungsarbeiten auf eine andere Gasart empfehlen
gene Dichtung (Artikelnummer 034308) muss zwischen dem Aus
wir, den Kundendienst zu rufen.
lass der Sammelleitung und dem Gasanschluss angebracht
werden.
Dieses Gerät wurde ausschließlich für die Verwendung in Privat
haushalten entworfen; eine kommerzielle oder gewerbliche Nut
Der Schlauch sollte nicht in Kontakt zu den beweglichen Teilen der
zung ist nicht gestattet. Dieses Gerät darf nicht auf Jachten oder in
Einbaueinheit gelangen (z. B. einer Schublade) oder durch
Wohnwagen eingebaut werden. Die Garantie gilt nur dann, wenn
Öffnungen verlegt werden, die verschlossen werden könnten.
das Gerät ausschließlich für seinen vorgesehenen Zweck genutzt
Wenn ein horizontaler Gasanschluss hergestellt werden soll, liefert
wird.
Ihnen unser technischer Kundendienst einen Krümmer
Überprüfen Sie vor der Installation des Geräts, dass die örtlichen
(Artikelnummer 173018) sowie eine Dichtung
Voraussetzungen und die auf dem Typenschild angegebenen
(Artikelnummer 034308).
Geräteeinstellungen (Gasart und -druck, Nennleistung, Spannung)
Wenn ein zylindrischer Anschluss hergestellt werden soll, ersetzen
miteinander kompatibel sind. Siehe Tabelle I.
Sie den werkseitig installierten Krümmer mit dem Krümmer aus
Stellen Sie vor der Durchführung jeglicher Arbeiten die
dem Zubehörbeutel, der mitgeliefert wurde bzw. über den techni
Strom- und Gaszufuhr ab.
schen Kundendienst bezogen werden kann
(Artikelnummer 529649). Abb. 5a.
Das Netzkabel muss am Einbaumöbel gut befestigt werden, damit
es nicht mit heißen Teilen des Backofens oder des Kochfeldes in
Vergessen Sie nicht, dazwischen die Dichtung anzubringen.
Berührung kommen kann.
: Gasaustrittsgefahr!
Elektrische Geräte müssen immer geerdet werden.
Nach Arbeiten an einer Anschlussstelle diese immer auf Dichtheit
Nehmen Sie keine Arbeiten im Geräteinneren vor. Rufen Sie
prüfen.
gegebenenfalls unseren Kundendienst an.
Der Hersteller übernimmt für den Gasaustritt an einer Anschluss
stelle, an der zuvor hantiert wurde, keine Verantwortung.
Vor dem Einbau
Dieses Gerät entspricht Klasse 3 gemäß DIN EN 30-1-1 für
Elektrischer Anschluss (Abb. 6)
Gasgeräte: Einbaugeräte.
Prüfen Sie, ob Spannung und Nennleistung des Geräts mit der
Das Möbel, in welches das Gerät eingebaut wird, muss ausrei
elektrischen Installation übereinstimmen.
chend fixiert und stabil sein.
Die Kochfelder werden mit Netzkabel mit oder ohne Stecker gelie
Die neben dem Gerät befindlichen Möbel, deren Schichtwerkstoffe
fert.
sowie der sie zusammenhaltende Leim dürfen nicht aus brennba
Mit Stecker ausgestattete Geräte dürfen nur in vorschriftsmäßig
ren Materialien bestehen und müssen hitzebeständig sein.
angebrachte, geerdete Steckdosen gesteckt werden.
Dieses Gerät darf nicht über Kühlschränken, Waschmaschinen,
Es muss ein allpoligerTrennschalter mit mindestens 3 mm Kon
Spülmaschinen oder ähnlichen Geräten eingebaut werden.
taktabstand angebracht werden (außer bei Anschluss an eine frei
Wenn Sie das Kochfeld über einem Backofen jnstallieren, muss
zugängliche Steckdose).
dieser über eine Zwangsbelüftung verfügen. Überprüfen Sie die
Das Gerät gehört zum Typ "Y". Das Zuleitungskabel darf nicht vom
Abmessungen des Backofens in Ihrem Installationshandbuch.
Benutzer, sondern nurvom Kundendienst ausgetauschtwerden.
Wenn eine Dunstabzugshaube angebracht wird, muss dies gemäß
Sowohl Kabeltyp als auch minimalerQuerschnitt müssen
der Montageanleitung und immer unter Berücksichtigung des verti
berücksichtigt werden.
kalen Mindestabstands zum Kochfeld (Abb. 1) geschehen.
Umstellung auf eine andere Gasart
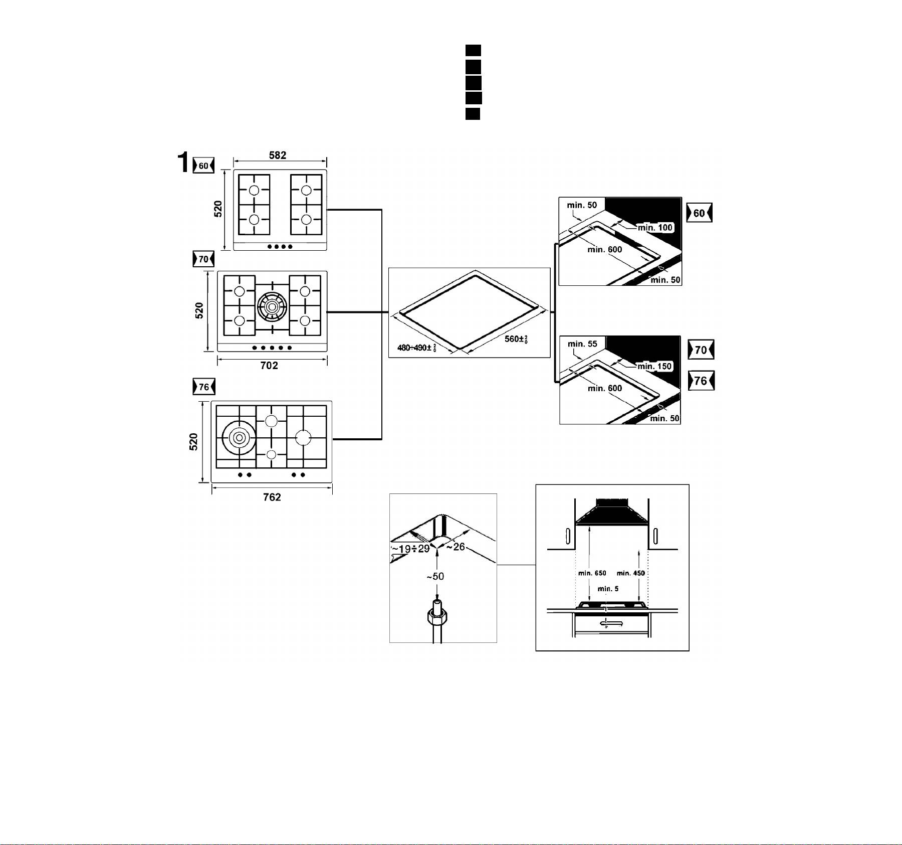
Vorbereitung des Küchenmöbels (Abb. 1-2)
Wenn die einschlägigen Bestimmungen des jeweiligen Landes
Nehmen Sie in der Arbeitsfläche einen Ausschnitt mit den
dies erlauben, kann dieses Gerät auf andere Gasarten umgestellt
benötigten Abmessungen vor.
werden (siehe Typenschild). Die hierfür notwendigen Teile befin
Wenn es sich bei dem Kochfeld um ein elektrisches oder gemisch
den sich im mitgelieferten Ümbaukit (je nach Modell) oder können
tes Kochfeld (Gas und elektrisch) handelt und sich kein Ofen dar
über den Kundendienst bezogen werden.
unter befindet, bringen Sie einen Zwischenboden aus nicht
WICHTIG:Bringen Sie den Aufkleber mit der umgestellten Gasart
brennbarem Material (z.B. Metall oder Sperrholz) 10 mm unter
in der Nähe des Typenschildes an.
dem Boden des Kochfeldes an. So wird ein Zugang zum unteren
Es müssen folgende Schritte befolgt werden:
Teil des Kochfeldes verhindert.Wenn es sich bei dem Kochfeld um
ein Gaskochfeld handelt, wird empfohlen, den Zwischenboden im
A) Austausch der Düsen (Abb. 7-7a):
selben Abstand zum Kochfeld anzubringen.
1. Nehmen Sie die Roste, Brennerdeckel und Verteiler ab.
Bei Arbeitsflächen aus Holz firnissen Sie die Schnittflächen mit
2. Tauschen Sie die Düsen mit dem über unseren Kundendienst
Spezialleim, um sie vor Feuchtigkeit zu schützen.
erhältlichen Schlüssel mit der Artikelnummer 340847 aus (für
Doppelbrenner und Dreiflammenbrenner Artikelnummer
Einbau des Geräts
340808), siehe Tabelle II. Achten Sie dabei besonders darauf,
Je nach Modell kann die Klebedichtung bereits im Werk ange
dass die Düse beim Herausdrehen oder Befestigen am Brenner
brachtworden sein. Die Klebedichtung dann keinesfalls entfernen,
nicht abbricht.
sie verhindert Durchsickern. Wenn die Dichtung nicht werkseitig
Stellen Sie sicher, sie bis zum Anschlag eingedreht zu haben, um
angebracht wurde, kleben Sie sie an den unteren Rand des Koch
eine gute Abdichtung zu erreichen.
felds. Abb. 3.
Bei diesen Brennern muss keine Einstellung der Primärluftvor-
Zur Befestigung des Geräts am Einbaumöbel:
genommen werden
1. Schrauben Sie die Klammern in der angegebenen Position an,
3. Bringen Sie die Verteiler und Brennerdeckel auf den entspre
so dass sie sich frei drehen.
chenden Kochstellen an und setzen Sie die Roste korrekt in den
2. Fügen Sie das Kochfeld mittig ein.
entsprechenden Halteelementen ein.

B) Einstellung der Gashähne (Abb. 8):
The kitchen units next to the appliance, the laminated covering
1. Drehen Sie die Bedienknebel auf die niedrigste Stufe.
and glue for adhering it must be made of non-flammable and heat-
resistant materials.
2. Ziehen Sie die Bedienknebel der Gashähne ab. Es wird eine
Knebeldichtung aus flexiblem Gummi sichtbar. Drücken Sie
This appliance cannot be installed above fridges, washing
diese mit der Schraubendreherspitze beiseite, um an die Ein
machines, dishwashers or similar.
stellschraube des Gashahns zu gelangen.
An oven must have forced ventilation to install a hob above it.
Bauen Sie die Knebeldichtungen niemals aus. Die Dichtun
Check the dimensions of the oven in the installation manual.
gen sind für den fehlerfreien Betrieb des Geräts unerlässlich, da
If an extractor fan is installed, you must follow the instructions in
sie das Eindringen von Flüssigkeiten und Schmutz ins
the installation manual, always respecting the minimum vertical
Geräteinnere verhindern.
distance from the hob (fig. 1).
3. Stellen Sie die minimale Gaszufuhr ein, indem Sie die Bypass
Schraube mit einem Schlitzschraubenzieher drehen.
Preparation of the kitchen unit (fig. 1-2)
Je nach Gasart, auf die Sie umstellen (siehe Tabelle III), müssen
Make an appropriate size cut in the work surface.
entsprechende Schritte durchgeführt werden:
If the hob is electric or mixed (gas and electricity) and there is no
A: die Bypass-Schrauben ganz anziehen.
oven below, place a non-flammable separator (e.g. metal or
B: die Bypass-Schrauben bis zum korrekten Gasaustritt an den
plywood) 10 mm from the bottom of the hob. This will prevent
Brennern lockern.
access to the base of the hob.lf the hob is gas, it is
recommendable to place the separator at the same distance.
C: die Bypass-Schrauben müssen von einem autorisierten Fach
mann ausgetauschtwerden.
On wood work surfaces, varnish the cutting surfaces with a special
glue. This protects them from moisture which could collect under
D: nehmen Sie keine Veränderungen an den Bypass-Schrauben
the work surface.
vor.
Stellen Sie sicher, dass der Brenner bei einer Umstellung des Be
instaiiation of appiiance
dienknebels von der höchsten auf die niedrigste Stufe nicht aus
geht und nicht zurückschlägt.
Depending on the model, the adhesive seal may be factory-fitted.
If this is the case, it should not be removed under any
Wenn Sie nicht an die Bypass-Schraube gelangen sollten, bauen
circumstances, since the adhesive seal prevents leaks. If the seal
Sie die Fettauffangschale, die mit dem restlichen Kochfeld mittels
has not been factory-fitted, apply it to the underside of the hob.
eines Clip-Befestigungssystems und Schrauben verbunden ist,
Fig. 3.
aus. Zum Abnehmen gehen Sie wie folgt vor:
Fitting the appliance onto the kitchen unit:
1. Nehmen Sie alle Roste, Brennerdeckel, Verteiler und Bedienkne
1. Screw each one of the clips into the position indicated so that
bel ab.
they are free to rotate.
2. Lockern Sie die Brenner-Schrauben.
2. Insert and centre the hob.
3. Verwenden Sie ggf. den bei unserem Kundendienst erhältlichen
Press the sides of the hob until it is supported around its entire
Demontagehebel 483196. Lösen Sie die vordere Clip-Befesti
perimeter.
gung, indem Sie den Hebel in den markierten Bereichen anset
zen. Abb. 9.
3. Turn the clips and tighten them fully.
4. Für den Wiedereinbau des Geräts folgen Sie den Ausbauanwei
The position of the clips depends on how thick the work surface
sungen in umgekehrter Reihenfolge.
is. Fig. 4.
Bauen Sie niemals die Achse des Gashahns aus (Abb. 10). Bei
Removal of hob
einer Störung den kompletten Gashahn ersetzen.
Turn off the appliance's electricity and gas supply.
en
Unscrew the clips and proceed in the reverse order to installation.
Safety precautions
Gas connection (fig. 5)
Read the appliance's instructions before installing and using.
The end of the inlet connection point of the gas hob has a 1/2”
The images shown in these instructions are for guidance only.
(20.955 mm) thread that allows for:
The manufacturer is exempt from all responsibility if the
■ fixed connection.
requirements of this manual are not complied with.
■ connection using a flexible metal pipe (L min. 1 m - max. 3 m).
This appliance must only be used in well ventilated places. It must
The watertight seal supplied or available from the technical
not be connected to a combustion product removal device.
assistance service (code 034308) must be inserted between the
All operations relating to installation, connection, regulation
manifold outlet and the gas supply.
and conversion to other gas types must be carried out by an
You must prevent the pipe from coming into contact with moving
authorised installation engineer, respecting all applicable
parts of the kitchen unit (for example, a drawer) and prevent
regulations, standards and the specifications of the local gas
access to any spaces which might become obstructed.
and electricity suppliers. Special attention shall be paid to
If you need to connect the gas supply horizontally, our technical
ventilation regulations.
assistance service can supply you with an L-tube (code 173018),
It is recommended you contact the Technical Assistance
and a seal (code 034308).
Service to change to another gas type.
If you need to make a cylindrical connection, replace the factory-
This appliance has been designed for home use only, not for
fitted L-tube with the one in the accessory bag supplied or
commercial or professional use. This appliance cannot be installed
available from the technical assistance service (code 529649).
on yachts or in caravans. The warranty will only be valid if the
Fig. 5a.
appliance is used for the purpose for which it was designed.
Please remember to insert the seal.
Before installing, you need to check that local distribution
: Danger of leaks!
conditions are compatible with the appliance's adjustment
indicated on the specifications plate (gas type and pressure,
If any connection is handled, check the seal.
power, voltage). See table I.
The manufacturer is not liable for any connection leaking, after
Before you begin, turn off the appliance's electricity and gas
being handled.
supply.
Electric connection (fig. 6)
The supply cable must be attached to the unit to prevent it from
touching hot parts of the oven or hob.
Check that the voltage and power of the appliance are compatible
with the electrical installation.
Appliances with electrical supply must be earthed.
The hobs are supplied with a power cable with or without a wall
Do not tamper with the appliance's interior. If necessary, call our
socket plug.
Technical Assistance Service.
Appliances with plugs must only be connected to sockets that
Before installing
have earth wires correctly installed.
This appliance is class 3 type, according to the EN 30-1-1
Provide an omnipolar cut-off switch with a minimum contact
regulation for gas appliances: built-in appliance.
opening of 3 mm (except for plug connections, if the user has
access to it).
The kitchen unit in which the appliance is installed must be
properly secured and stable.
This appliance is type “Y”: the supply cable can only be changed
by the Technical Assistance Service and not the user. The cable
type and minimum cross-section must be respected.

Changing the gas type
Este aparato ha sido diseñado solo para uso doméstico, no
estando permitido su uso comercial o profesional. Este aparato no
If the country's regulations allow, this appliance can be adapted to
puede ser instalado en yates o caravanas. La garantía únicamente
other types of gas (see specifications plate). The components
tendrá validez en caso de que se respete el uso para el que fue
required for this are in the transformation kit supplied (depending
diseñado.
on the model) or are available from ourTechnical Assistance
Service.
Antes de la instalación, compruebe que las condiciones de
distribución local son compatibles con el reglaje del aparato que
Important: After finishing, stick the sticker, indicating the new gas
figura en la placa de características (naturaleza y presión del gas,
type, close to the specifications plate.
potencia, voltaje). Ver tabla I.
The following steps should be taken:
Antes de cualquier actuación corte la alimentación eléctrica y
A) Changing the nozzles (fig. 7-7a):
de gas del aparato.
1. Remove the pan supports, burner caps and diffusers.
El cable de alimentación debe fijarse al mueble para evitar que
2. Change the nozzles using the spanner code 340847 (code
toque partes calientes del horno o placa de cocción.
340808 for double-flame burners or triple-flame burners)
Los aparatos con alimentación eléctrica deben conectarse a tierra
provided by ourTechnical Assistance Service, see table II,
obligatoriamente.
taking special care to ensure that the nozzle does not fall when it
No manipule el interior del aparato. Si es preciso, llame a nuestro
is removed from or fitted to the burner.
Servicio Técnico.
Ensure that it is completely tightened in order to guarantee the
seal.
Antes de la instalación
Primary air adjustment is not necessary with these burners.
Este aparato corresponde a la clase 3, según la norma EN 30-1-1
3. Position the diffusers and burner caps on the corresponding rings
para aparatos a gas: aparato encastrado en un mueble.
and the pan supports on their fasteners.
El mueble en el que se instale el aparato debe estar
B) Adjusting the taps (Fig. 8):
convenientemente fijado y ser estable.
1. Set the control knobs to minimum.
Los muebles próximos al aparato, los revestimientos estratificados
y la cola que los fija deben ser de materiales no inflamables y
2. Remove the control knobs from the taps. It has a flexible rubber
resistentes al calor.
valve reinforcing ring. Press with the tip of the screwdriver to
access the tap's adjusting screw.
Este aparato no se puede instalar sobre neveras, lavadoras,
lavavajillas o similares.
Never remove the valve reinforcing ring. The valve reinforcing
rings guarantee the watertightness of the appliance's interior
Para instalar la placa de cocción sobre un horno, este debe tener
from liquids and dirt, which might otherwise prevent its correct
ventilación forzada. Compruebe las dimensiones del horno en su
operation.
manual de instalación.
3. Adjust the minimum ring setting by turning the by-pass screw
Si instala un extractor, tenga en cuenta su manual de instalación,
using a flat head screwdriver.
respetando siempre la distancia vertical mínima a la placa de
cocción (fig. 1).
Depending on the gas to which your appliance is going to be
adapted, see table III, carry out the corresponding action:
Preparación del mueble (fig. 1-2)
A: firmly tighten the by-pass screws.
Haga un corte de las dimensiones necesarias en la superficie de
B: loosen the by-pass screws until the gas flow from the burners
trabajo.
is correct.
Si la placa de cocción es eléctrica o mixta (gas y electricidad) y no
C: the by-pass screws need to be changed by an authorised
hay un horno debajo, coloque un separador de material no
engineer.
inflamable (p. ej. metal o madera contrachapada) a 10 mm de la
D: do not touch the by-pass screws.
base de la placa de cocción. Así impide el acceso a la parte
When adjusting the control knob between maximum and
inferior de esta. Si la placa de cocción es de gas, se recomienda
minimum, the burner does not go out, nor is there a flame
colocar el separador a la misma distancia.
backdraught created.
En superficies de trabajo de madera, barnice las superficies de
If the by-pass screw cannot be accessed, disassemble the grease
corte con una cola especial para protegerlas de la humedad.
drip tray, which is fitted to the hob via a series of clips and screws.
Remove it as follows:
Instalación del aparato
1. Remove all pan supports, burner caps, diffusers and control
Según modelo, la junta adhesiva puede salir puesta de fábrica. Si
knobs.
es así, no la quite bajo ningún concepto: lajunta adhesiva evita
2. Remove the screws from the burners.
filtraciones. Si lajunta no está puesta de fábrica, péguela en el
borde inferior de la placa de cocción. Fig. 3.
3. If necessary, use the disassembly lever 483196 availablle from
ourTechnical Assistance Service. To release the front clips,
Para la fijación del aparato al mueble de encastramiento:
apply the lever to the area shown in figure 9.
1. Atornille cada una de las grapas en la posición indicada dejando
4. To reinstall the appliance, proceed in the reverse order to
que giren libremente.
disassembly.
2. Encastre y centre la placa de cocción.
Never remove the tap spindle (Fig. 10). In the event of a
Presione sobre sus extremos hasta que se apoye en todo su
malfunction, change the whole tap.
perímetro.
3. Gire las grapas y apriételas a fondo.
es
La posición de las grapas depende del espesor de la superficie
de trabajo. Fig. 4.
Indicaciones de seguridad
Lea las instrucciones del aparato antes de proceder a su
Desmontaje de la placa de cocción
instalación y uso.
Desconecte el aparato de las tomas eléctrica y de gas.
Las imágenes representadas en estas instrucciones tienen
Desatornille las grapas y proceda de modo inverso al montaje.
carácter orientativo.
El fabricante queda exento de toda responsabilidad si no se
Conexión de gas (fig. 5)
cumplen las disposiciones de este manual.
El extremo de la conexión de entrada de la placa de cocción de
Este aparato se debe utilizar únicamente en lugares
gas está provisto de una rosca de 1/2” (20,955 mm) que permite:
suficientemente ventilados. No se debe conectar a un dispositivo
■ la conexión rígida.
de evacuación de los productos de combustión.
■ La conexión con un tubo flexible metálico (L min. 1 m -
Todos los trabajos de instalación, conexión, regulación y
max. 3 m).
adaptación a otros tipos de gas deben ser efectuados por un
Intercale lajunta de estanquidad suministrada o disponible a
técnico de instalación autorizado, respetando toda la
través del Servicio Técnico (código 034308) entre la salida del
normativa y legislación aplicables y las prescripciones de las
colector y la acometida de gas.
compañías locales proveedoras de gas y electricidad. Se
pondrá especial atención a las disposiciones aplicables en
Evite el contacto del tubo con partes móviles de la unidad de
cuanto a la ventilación.
encastramiento (por ejemplo un cajón) y el paso a través de
espacios que sean susceptibles de obstruirse.
Se recomienda llamar a nuestro Servicio Técnico para la
adaptación a otros tipos de gas.

Si necesita realizar la conexión de gas en horizontal, en nuestro
4. Para volver a montar el aparato proceda de modo inverso al
Servicio Técnico dispone de un codo (código 173018), más una
desmontaje.
junta (código 034308).
Nunca desmonte el eje del grifo (Fig. 10). En caso de avería
Si necesita realizar una conexión cilindrica, sustituya el codo
cambie el grifo completo.
instalado de fábrica por el de la bolsa de accesorios suministrada
o disponible a través del Servicio Técnico (código 529649).
fr
Fig. 5a.
No olvide intercalar lajunta.
Indications de sécurité
: ¡Peligro de fuga!
Lisez les instructions de l'appareil avant de procéder à son
Si manipula cualquier conexión, compruebe la estanquidad.
installation et à son utilisation.
El fabricante no se responsabiliza si alguna conexión presenta
Les images de cette notice sont proposées à titre indicatif.
fugas tras haber sido manipulada.
Le fabricant est exempt de toute responsabilité si les
instructions de cette notice ne sont pas respectées.
Conexión eléctrica (fig. 6)
Cet appareil doit être utilisé uniquement dans des endroits
Compruebe que el voltaje y la potencia del aparato son
suffisamment ventilés. L'appareil ne doit pas être connecté à un
compatibles con la instalación eléctrica.
dispositif d'évacuation des produits de combustion.
Las placas de cocción se suministran con un cable de
Tous les travaux d'installation, de connexion, de réglage et
alimentación con o sin clavija.
d'adaptation à un autre type de gaz doivent être réalises par
un technicien agréé qui doit respecter les normes et la
Los aparatos provistos de clavija solo se deben conectar a cajas
législation applicables, ainsi que les prescriptions des
de enchufe con toma de tierra debidamente instalada.
sociétés locales fournisseuses d'électricité et de gaz. Les
Debe preverse un interruptor de corte omnipolar con abertura de
dispositions applicables quant à la ventilation seront
contacto mín. de 3 mm (excepto en conexiones con clavija, si esta
attentivement respectées.
es accesible para el usuario).
Il est recommandé de faire appel au Service Technique pour
Este aparato es del tipo “Y": el cable de entrada no puede ser
l'adaptation à un autre type de gaz.
cambiado por el usuario, sino por el Servicio Técnico. Se deben
Cet appareil n'a été conçu que pour un usage domestique ; son
respetar el tipo de cable y la sección mínima.
usage commercial ou professionnel n'est en aucun cas permis.
Cet appareil ne peut pas être installé dans des yachts ou des
Cambio del tipo de gas
caravanes. La garantie ne sera valable que si l'usage pour lequel il
Si la normativa del país lo permite, este aparato se puede adaptar
a été conçu a été respecté.
a otros gases (ver placa de características). Las piezas necesarias
Avant l'installation, vérifiez que les conditions de distribution locale
para ello están en la bolsa de transformación suministrada (según
sont compatibles avec le réglage de l'appareil, qui figure sur la
modelo) o disponible en nuestro Servicio Técnico.
plaque signalétique (nature et pression du gaz, puissance,
Importante: Al finalizar, coloque la etiqueta adhesiva, indicando el
tension). Cf. tableau I.
nuevo tipo de gas, cerca de la placa de características.
Avant toute intervention, coupez l'alimentation électrique et
Los pasos a seguir son los siguientes:
de gaz de l'appareil.
A) Cambio de inyectores (fig. 7-7a):
Le câble d'alimentation doit être fixé au meuble pour qu'il ne
1. Retire las parrillas, tapas de quemador y difusores.
touche pas des parties chaudes du four ou de la plaque de
cuisson.
2. Cambie los inyectores usando la llave disponible a través de
nuestro servicio técnico con código 340847 (para quemadores
Les appareils alimentés électriquement doivent être
de doble o triple llama código 340808), ver tabla II, teniendo
obligatoirement connectés à la terre.
especial cuidado en que no se desprenda el inyector al retirarlo
Ne manipulez pas l'intérieur de l'appareil. Le cas échéant, appelez
o fijarlo en el quemador.
notre Service Technique.
Asegúrese de apretarlos a fondo para garantizar la estanquidad.
Avant l'installation
En estos quemadores no hay que realizar reglaje del aire
primario.
Cet appareil correspond à la classe 3, selon la norme EN 30-1-1
3. Coloque los difusores y las tapas de los quemadores en sus
pour les appareils à gaz : appareil encastré dans un meuble.
correspondientes fuegos y las parrillas en sus elementos de
Le meuble où l'appareil sera installé doit être fixé correctement et
sujeción.
être stable.
B) Reglaje de los grifos (fig. 8):
Les meubles proches de l'appareil, les revêtements stratifiés et la
colle qui les fixe doivent être non inflammables et résistants à la
1. Coloque los mandos en la posición de mínimo.
chaleur.
2. Retire los mandos de los grifos. Se encontrará con un retén de
Cet appareil ne peut pas être installé sur des réfrigérateurs, des
goma flexible. Presione con la punta del destornillador para
machines à laver le linge, des lave-vaisselle ou d'autres appareils
acceder al tornillo de regulación del grifo.
semblables.
Jamás desmonte el retén. Los retenes garantizan la
Pour installer la plaque de cuisson sur un four, celui-ci doit
estanquidad del interior del aparato frente a líquidos y suciedad,
disposer d'une ventilation forcée. Vérifiez les dimensions du four
que pueden impedir su correcto funcionamiento.
dans le manuel d'installation.
3. Regule el fuego mínimo girando el tornillo bypass mediante un
Si une hotte aspirante est installée, il faut prendre en compte les
destornillador de punta plana.
observations de son manuel d'installation et respecter toujours
Dependiendo del gas al que vaya a adaptar su aparato (ver
une distance verticale minimum par rapport à la plaque de cuisson
tabla III) realice la acción correspondiente:
(fig. 1).
A: apretar los tornillos bypass a fondo.
B: aflojar los tornillos bypass hasta la correcta salida de gas de
Préparation du meuble (fig.1-2)
los quemadores.
Effectuez une découpe sur la surface de travail selon les
C: los tornillos bypass deben ser cambiados por un técnico
dimensions nécessaires.
autorizado.
Si la plaque de cuisson est électrique ou mixte (gaz et électricité)
D: no manipular los tornillos bypass.
et s'il n'y a pas de four dessous, placez un séparateur de matériau
Compruebe que al girar el mando entre el máximo y el mínimo,
non inflammable (p. ex. métal ou bois contreplaqué) à 10 mm de la
el quemador no se apaga ni se crea retroceso de llama.
base de la plaque de cuisson. Ainsi est empêché l'accès à la partie
inférieure de celle-ci.Si la plaque de cuisson est à gaz, il est
Si no encuentra acceso al tornillo bypass desmonte la grasera,
recommandé de placer le séparateur à la même distance.
que está fijada al resto de la placa de cocción por un sistema de
clipaje y tornillos. Para retirarla proceda del siguiente modo:
Pour des surfaces de travail en bois, vernissez les surfaces de
découpe avec une colle spéciale, pour les protéger de l'humidité.
1. Quite todas las parrillas, tapas de los quemadores, difusores y
mandos.
Installation de l'appareil
2. Suelte los tornillos de los quemadores.
Selon le modèle, le joint adhésif peut être placé d'usine. Si c'est le
3. Si es necesario, utilice la palanca de desmontaje 483196
cas, ne le retirez sous aucun prétexte ; le joint adhésif évite les
disponible a través de nuestro servicio técnico. Libere el clipaje
filtrations. Si le joint n'est pas placé d'usine, collez-le sur le bord
delantero aplicando la palanca en las zonas señaladas. Fig. 9.
inférieur de la plaque de cuisson. Fig. 3.
Pour la fixation de l'appareil au meuble d'encastrement :

1. Vissez chacune des agrafes dans la position indiquée en les
Ne démontez jamais la bague. Los bagues garantissent
laissant tourner librement.
l'étanchéité à l'intérieur de l'appareil et le protègent des liquides
2. Encastrez et centrez la plaque de cuisson.
et des saletés qui pourraient l'empêcher de fonctionner
Appuyez sur ses extrémités jusqu'à ce qu'elle s'appuie sur tout
correctement.
son périmètre.
3. Réglez le feu minimum en tournant la vis by-pass à l'aide d'un
tournevis à pointe plate.
3. Tournez les agrafes et serrez-les à fond.
La position des agrafes dépend de l'épaisseur de la surface de
En fonction du type de gaz auquel vous adapterez votre appareil,
cf. tableau III, réalisez l'action correspondante:
travail (Fig. 4).
A : serrez les vis by-pass à fond.
Démontage de la plaque de cuisson
B : desserrez les vis by-pass jusqu'à obtenir la sortie correcte de
Débranchez l'appareil des prises de courant électrique et du gaz.
gaz des brûleurs.
Dévissez les agrafes et suivez la procédure inverse au montage.
C : les vis by-pass doivent être changées par un technicien
agréé.
Branchement de gaz (fig. 5)
D : ne manipulez pas les vis by-pass.
L'extrémité du branchement d'entrée de la plaque de cuisson à
Vérifiez, en réglant le bouton de commande entre le maximum et
gaz est munie d'un filet d'un demi-pouce (20,955 mm), qui permet:
le minimum, que le brûleur ne s'éteint pas et qu'aucun retour de
flamme n'est généré.
■ La connexion rigide.
Si vous ne trouvez pas l'accès à la vis by-pass, démontez la
■ Le branchement avec un tuyau flexible métallique (L min. 1 m -
lèchefrite, qui est fixée au reste de la plaque de cuisson par un
max. 3 m).
système d'ensemble de clips et de vis. Pour la retirer, procédez de
Intercalez le joint d'étanchéité fourni ou disponible via le service
la manière suivante :
technique (code 034308) entre la sortie du collecteur et le
1. Ôtez tous les grilles, couvercles des brûleurs, diffuseurs et
raccordement de gaz.
boutons de commande.
Il faut éviter que ce tuyau touche des parties mobiles de l'unité
2. Desserrez les vis des brûleurs.
d'encastrement (par exemple un tiroir) et qu'il passe à travers des
espaces pouvant être obstrués.
3. Si nécessaire, utilisez le levier de démontage 483196 disponible
chez notre service technique. Libérez l'ensemble de clips avant
Si vous devez créer un branchement de gaz horizontal, notre
en appliquant le levier sur les zones indiquées. Fig. 9.
service technique dispose d'un coude (code 173018) et d'un joint
(code 034308).
4. Pour remonter l'appareil, suivez la procédure inverse au
démontage.
Si vous devez créer un raccord cylindrique, remplacez le coude
installé en usine par celui de la poche des accessoires fourni ou
Ne démontezjamais l'axe du robinet (Fig. 10). En cas d'incident,
via le service technique (code 529649). Fig. 5a.
changez complètement le robinet.
N'oubliez pas d'intercaler le joint.
It
: Risque de fuites !
Si vous manipulez un branchement, vérifiez son étanchéité.
Indicazioni di sicurezza
Le fabricant ne pourra être tenu responsable si un branchement
Leggere attentamente le istruzioni dell'apparecchio prima di
quelconque présente des fuites après avoir été manipulé.
procedere all'installazione e all'uso.
Le immagini rappresentate in queste istruzioni hanno carattere
Branchement électrique (fig. 6)
orientativo.
Vérifiez que la tension et la puissance de l'appareil sont
Il costruttore declina ogni responsabilità in caso di mancata
compatibles avec l'installation électrique.
osservanza delle disposizioni del presente manuale.
Les plaques de cuisson sont fournies avec un câble d'alimentation
L'apparecchio deve essere utilizzato solo in luoghi
avec ou sans broche de fiche mâle.
sufficientemente ventilati.Non deve essere collegato a un
Les appareils munis d'une broche ne peuvent être raccordés qu'à
dispositivo di espulsione dei prodotti di combustione.
des boîtiers de fiche mâle avec une prise de terre dûment
Tutte le operazioni di installazione, connessione, regolazione
installée.
e adattamento ad altri tipi di gas devono essere effettuate da
Il faut installer un interrupteur de coupure omnipolaire avec
un tecnico di installazione autorizzato, nel rispetto della
ouverture de contact d'au moins 3 mm (sauf pour des
normativa e della legislazione applicabili, nonché delle
branchements à fiche mâle, si cette dernière est accessible par
prescrizioni delle società locali di fornitura di gas ed
l'utilisateur).
elettricità. Fare particolare attenzione alle disposizioni
Cet appareil est du type “Y”: le câble d'entrée ne peut pas être
applicabili in materia di ventilazione.
remplacé par l'utilisateur, mais par le Service Technique. Le type
Per l'adattamento ad altri tipi di gas, si consiglia di rivolgersi
de câble et la section minimum doivent être respectés.
al nostro servizio tecnico.
Questo apparecchio è stato concepito esclusivamente per uso
Changement du type de gaz
domestico, non è consentito l'uso a scopi commerciali o
Si la réglementation du pays le permet, cet appareil peut être
professionali. Questo apparecchio non può essere installato in
adapté à d'autres gaz (voir plaque signalétique). Les pièces
yacht o camper. La garanzia ha validità solo in caso venga
nécessaires pour cela se trouvent dans la pochette de
rispettato l'utilizzo per cui è stato concepito.
transformation fournie (selon le modèle) ou disponible auprès de
Prima dell'installazione,verificare che le condizioni di distribuzione
notre Service Technique.
locale siano compatibili con la regolazione dell'apparecchio
Important :À la fin, placez l'étiquette autocollante, en indiquant le
indicata targa identificativa (tipo e pressione del gas, potenza,
nouveau type de gaz, près de la plaque signalétique.
tensione). V. tabella I.
Les pas à suivre sont les suivants:
Prima di effettuare qualsiasi operazione, scollegare
l'alimentazione elettrica e l'alimentazione del gas
A) Changement des injecteurs (fig. 7-7a):
dell'apparecchio.
1. Retirez les grilles, les couvercles de brûleur et les diffuseurs.
Il cavo di alimentazione deve essere fissato al mobile per evitare
2. Changez les injecteurs en utilisant la clé disponible (réf. 340847)
che tocchi parti calde del forno o del piano di cottura.
auprès de notre Service technique (pour brûleurs double ou
Gli apparecchi con alimentazione elettrica devono essere collegati
triple flamme, réf. 340808), cf. tableau II, en faisant
obbligatoriamente a terra.
particulièrement attention à ne pas déloger l'injecteur en le
retirant ou en le fixant au brûleur.
Non manipolare l'interno dell'apparecchio. Qve necessario,
contattare il nostro Servizio Tecnico.
Prenez soin de les fixer à fond pour garantir l’étanchéité.
Ces brûleurs ne requièrent aucun réglage de l'air primaire.
Prima dell'installazione
3. Placez les diffuseurs et les couvercles des brûleurs sur les feux
Questo apparecchio rientra nella classe 3 della norma EN 30-1-1
correspondants et les grilles sur leurs éléments de fixation.
per gli apparecchi a gas: apparecchio incassato in un mobile.
B) Réglage des robinets (fig. 8):
Il mobile in cui si installa l'apparecchio deve essere
1. Placez les boutons de commande sur la position minimum.
opportunamente fissato e deve essere stabile.
2. Retirez les commandes des robinets. Vous trouverez alors une
I mobili vicini all'apparecchio, i rivestimenti stratificati e la colla con
bague en caoutchouc flexible. Appuyez avec la pointe du
cui sono fissati devono essere costituiti da materiale non
tournevis afin d'accéder à la vis de réglage du robinet.
infiammabile e resistente al calore.

Questo apparecchio non può essere installato su frigoriferi,
Questo apparecchio è del tipo “Y”: Il cavo di ingresso non può
lavatrici, lavastoviglie o elettrodomestici simili.
essere cambiato dall'utente ma solo dal Servizio Tecnico. Occorre
Per installare il piano di cottura su un forno, verificare che
infatti rispettare il tipo di cavo e la sezione minima.
quest'ultimo sia dotato di ventilazione forzata. Verificare le
dimensioni del forno nel relativo manuale di installazione.
Cambio del tipo di gas
Se si installa un estrattore, fare riferimento al relativo manuale di
Se la normativa del paese lo consente, questo apparecchio può
installazione, mantenendo sempre una distanza verticale minima
essere adattato ad altri tipi di gas (v. targa identificativa). I
dal piano di cottura (fig. 1).
componenti necessari a questa operazione si trovano nella borsa
kit di conversione in dotazione (a seconda del modello) o
Preparazione del mobile (fig. 1-2)
disponibile presso il nostro Servizio Tecnico.
Effettuare un taglio, delle dimensioni necessarie, sul piano di
lmportante:AI termine, applicare l'etichetta adesiva, indicando il
lavoro.
nuovo tipo di gas, accanto alla targa identificativa.
Se il piano di cottura è elettrico o misto (gas ed elettricità) e non c'è
Procedere come indicato di seguito:
un forno nella zona sottostante, collocare un separatore di
A) Sostituzione degli iniettori (fig. 7-7a):
materiale non infiammabile (ad es. metallo o legno compensato) a
1. Rimuovere le griglie, i coperchi del bruciatore e i diffusori.
10 mm dalla base del piano di cottura. In tal modo, se ne
impedisce l'accesso alla parte inferiore. Se il piano di cottura è a
2. Sostituire gli iniettori usando la chiave disponibile presso il
gas, si raccomanda di collocare il separatore alla stessa distanza.
nostro Servizio Tecnico, codice 340847 (340808 per i bruciatori
a doppia o tripla fiamma); far riferimento alla tabella II, facendo
Sui piani di lavoro in legno, rifinire le superfici di taglio con una
particolare attenzione che l'iniettore non si distacchi quando tolto
colla speciale, per proteggerle dall'umidità.
o fissato al bruciatore.
Installazione dell'apparecchio
Assicurarsi di serrarli a fondo per garantirne la tenuta.
In questi bruciatori, non è necessario effettuare la regolazione
A seconda del modello, la guarnizione adesiva può essere
dell'aria primaria.
applicata in fabbrica. In tal caso, non rimuoverla per nessun
motivo; la guarnizione adesiva evita le infiltrazioni. Se la
3. Collocare i diffusori e i coperchi dei bruciatori sui fuochi
guarnizione non è applicata in fabbrica, incollarla sul bordo
corrispondenti e le griglie sugli appositi elementi di sostegno.
inferiore del piano di cottura. Fig. 3.
B) Regolazione dei rubinetti (fig. 8):
Per il fissaggio dell'apparecchio al mobile di incasso:
1. Collocare le manopole nella posizione di minimo.
1. Avvitare ognuna delle graffe nella posizione indicata, lasciandole
2. Estrarre le manopole dei rubinetti. Si troverà una tenuta in
girare liberamente.
gomma flessibile. Esercitare pressione con la punta del
2. Incassare e centrare il piano di cottura.
cacciavite per accedere alla vite di regolazione del rubinetto.
Premere sui bordi fino ad appoggiare perfettamente tutto il
Non rimuovere mai la tenuta. Le tenute garantiscono la
perimetro.
resistenza dell'interno dell'apparecchio a liquidi e sporcizia che
3. Girare le graffe e stringerle a fondo.
possono impedirne il corretto funzionamento.
La posizione delle graffe dipende dallo spessore del piano di
3. Regolare il fuoco minimo girando la vite di by-pass con un
lavoro. Fig. 4.
cacciavite a punta piatta.
A seconda del gas utilizzato dall'apparecchio, v. tabella III, agire
Smontaggio del piano di cottura
di conseguenza:
Scollegare l'apparecchio dalle prese elettriche e dall'attacco del
A: stringere a fondo le viti di bypass.
gas.
B: allentare le viti di bypass fino alla corretta regolazione del gas
Svitare le graffe e seguire, in modo inverso, la procedura di
in uscita dai bruciatori.
montaggio.
C: le viti di bypass devono essere sostituite da un tecnico
autorizzato.
Attacco del gas (fig. 5)
D: non manipolare le viti di bypass.
L'estremità della connessione di ingresso del piano di cottura a
Verificare che regolando la manopola tra il massimo e il minimo,
gas è dotata di filettatura da 1/2” (20,955 mm), che consente:
il bruciatore non si spenga, né si verifichino ritorni di fiamma.
■ il collegamento rigido.
Se non si trova l'accesso alla vite di bypass, smontare la parte
■ l'attacco a un tubo flessibile metallico (L min. 1 m - max. 3 m).
superiore del piano di cottura, che è fissata al resto del piano di
Inserire la guarnizione di tenuta in dotazione o disponibile tramite il
cottura mediante un sistema di fissaggio a clip e viti. Per
servizio tecnico (codice 034308) tra l'uscita del collettore e il
rimuoverla, procedere come segue:
raccordo delgas.
1. Togliere tutte le griglie, i coperchi dei bruciatori, i diffusori e le
Evitare il contatto del tubo con parti mobili dell'unità d'incasso (ad
manopole.
esempio, un cassetto) e non effettuare il passaggio dello stesso in
2. Rimuovere le viti dei bruciatori.
spazi soggetti a possibili ostruzioni.
3. Se necessario, utilizzare la leva di smontaggio 483196
Nel caso in cui occorra realizzare l'attacco del gas in orizzontale,
disponibile presso il nostro servizio tecnico. Rilasciare il fissaggio
presso il nostro servizio tecnico sono disponibili un gomito
a clip anteriore facendo leva nelle zone indicate. Fig. 9
(codice 173018) e un giunto (codice 034308).
4. Per rimontare l'apparecchio, invertire la procedura di
Nel caso in cui occorra realizzare una connessione cilindrica,
smontaggio.
sostituire il gomito montato in fabbrica con quello fornito nel
Non smontare mai l'asse del rubinetto (Fig. 10). in caso di guasto,
sacchetto degli accessori o disponibile tramite il servizio tecnico
sostituire il rubinetto completo.
(codice 529649). Fig. 5a.
Non scordarsi di intercalare la guarnizione.
nl
: Pericolo di fughe!
Veiligheidsaanwijzingen
Se si manipola qualunque tipo di raccordo, verificarne la tenuta.
11 fabbricante declina ogni responsabilità in caso di connessioni
Leos de instructies van hot apparaat alvorens over te gaan tot de
che presentino fughe dopo la manipolazione delle stesse.
installatie en hot gebruik ervan.
De afbeeldingen die bij deze aanwijzingen staan afgedrukt zijn
Connessione elettrica (fig. 6)
slechts ter oriëntatie.
Verificare che la tensione e la potenza dell'apparecchio siano
De fabrikant is vrij van elke verantwoordelijkheid, indien de
compatibili con l'impianto elettrico.
beschikkingen van deze handleiding niet nageleefd worden.
I piani di cottura vengono forniti dotati di cavo di alimentazione con
Dit apparaat mag alleen gebruikt worden in voldoende
o senza spina elettrica.
geventileerde ruimtes.Het mag niet worden aangesloten op een
inrichting voor de afvoer van verbrandingsproducten.
Gli apparecchi muniti di spina devono essere collegati soltanto a
prese elettriche con presa di terra debitamente installate.
Alle werkzaamheden betreffende installatie, afstelling en
aanpassing aan een ander gastype moeten worden
Prevedere un sezionatore onnipolare con apertura di contatto di
uitgevoerd door een bekwaam Installateur, waarbij alle
almeno 3 mm (tranne che per i collegamenti a spina, se l'utente
toepasbare normen en wetgeving en de voorschriften van de
può accedervi).
lokale gas- en elektriciteitsmaatschappijen moeten worden
nageleefd. Er wordt met name gelet op de voorschriften met
betrekking tot ventilatie.

Voor de aanpassing aan een ander gastype raden wij aan om
Vermijd dat deze slang contact maakt met de beweegbare
onze Technische Dienst te bellen.
onderdelen van de eenheid waarin de kookplaat is ingebouwd
Dit apparaat is uitsluitend bestemd voor huishoudelijk gebruik. Het
(een lade, bijvoorbeeld) of dat hij door ruimtes loopt die verstopt
is niet toegestaan het te gebruiken voor professionele of
kunnen raken.
commerciele doeleinden. Het apparaat mag niet in jachten of
Indien u de gasaansluiting horizontaal moet uitvoeren, zijn er bij
Caravans worden geinstalleerd. De garantie geldt alleen wanneer
onze technische dienst een kniestuk (code 173018), en een
het apparaat op de juiste wijze wordt gebruikt.
afdichting (code 034308) beschikbaar.
Controleer voor de installatie of de voorwaarden van lokale
Indien u een cilindrische aansluiting moet maken, vervang dan het
distributie compatibel zijn met de afstelling van het apparaat die is
door de fabriek geïnstalleerde kniestuk door dat uit de bijgeleverde
aangegeven op het gegevensplaatje (aard en druk van het gas,
of bij de technische dienst beschikbare zak met accessoires
vermögen, voltage). Yie tabel I.
(code 529649). Afb. 5a.
Sluit voor elke handeling de stroom- en gastoevoer van het
Vergeet niet om de pakking in te voegen.
apparaat af.
: Lekgevaar!
De voedingskabel moet worden vastgemaakt in het meubelstuk,
om te voorkomen dat deze contact maakt met de gedeeltes van de
Indien een aansluiting gemanipuleerd wordt, controleer de
oven of van de kookplaat die warm worden.
lekdichtheid.
Apparaten met stroomtoevoer moeten verplicht geaard worden.
De fabrikant is niet aansprakelijk als een aansluiting lekken
vertoont nadat deze gemanipuleerd is.
Manipuleer de binnenzijde van het apparaat niet. Telefoneer
indien nodig onze Technische Dienst.
Elektrische aansluiting (Afb. 6)
Voor de installatie
Controleer of hetvoltage en hetvermogen van het apparaat
compatibel zijn met de elektrische installatie.
Dit apparaat behoort tot klasse 3, volgens de norm EN 30-1-1 voor
gasapparaten: apparaat ingebouwd in een meubel.
De kookplaten worden geleverd met een voedingskabel met of
zonder stekker.
Het meubelstukwaarin het apparaat geinstalleerd wordt moet op
de juiste wijze bevestigd zijn en stabiel staan.
Apparaten die voorzien zijn van een stekker mögen alleen op een
goed geaard stopcontact worden aangesloten.
Meubels die in de buurt van het apparaat staan, de gelaagde
bekledingen en de lijm waarmee deze geplakt zijn, moeten niet-
Er moet een omnipolaire onderbrekingsschakelaar voorzien
ontvlambaar en hittebestendig zijn.
worden met een minimale contactopening van 3 mm (behalve bij
een stekkeraansluiting, indien deze gemakkelijk bereikbaar is voor
Dit apparaat kan niet geinstalleerd worden op koelkasten,
de gebruiker).
wasmachines, vaatwassers of dergelijke.
Dit apparaat is van het type “Y”: de invoerkabel mag niet
Om een kookplaat op een oven te installeren, moet deze over
vervangen worden door de gebruiker, maar door de Technische
geforceerde ventilatie beschikken. Controleer de afmetingen van
Dienst. Het type kabel en de minimumdoorsnede dienen te worden
de oven in uw installatiehandleiding.
gerespecteerd.
Als u een afzuigkap installeert, doe dat dan volgens de
installatiehandleiding en houd altijd de minimale verticale afstand
Verandering van gastype
totde kookplaat aan (fig. 1).
Indien de norm van het land het toelaat, mag dit apparaat
aangepastworden aan andere gassen (zie gegevensplaatje). De
Voorbereiding van het meubel (afb. 1-2)
hiervoor benodigde onderdelen bevinden zieh in het geleverde
Breng een insnijding aan van de nodige afmetingen op het
omvormingspakket (afhankelijkvan het model). Het pakket is
werkviak.
beschikbaar bij onze technische dienst.
Indien de kookplaat elektrisch of gemengd (gas en elektriciteit) is
Belangrijk:Plaats tenslotte de sticker die het nieuwe gastype
en er zieh geen oven onder bevindt, plaats dan een scheidingsstuk
aanduidt dichtbij het gegevensplaatje.
van niet-ontviambaar materiaal (bv. metaal of gelaagd hout) op
Volg onderstaande stappen op:
10 mm van de basis van de kookplaat. Zo wordt toegang
vermeden tot de onderzijde hiervon. Indien het een gaskookplaat
A) Vervangen van de inspuiters (afb. 7-7a):
is, wordt aanbevolen het scheidingsstuk op dezelfde afstand te
1. Verwijder de roosters, hoedjes en verspreiders.
plaatsen.
2. Vervang de inspuiters met de sleutel die beschikbaar is via onze
Vernis voor houten werkviakken de snijvlakken met een speciale
technische dienst, met code 340847 (voor branders met dubbele
lijm, om deze te beschermen tegen vocht.
of driedubbele vlam code 340808), zie tabel II. Zorg dat de
inspuiter niet losraakt bij hetverwijderen of bevestigen hiervon
Installatie van het apparaat
op de brander.
Afhankelijkvan het model kan de zelfklevende pakking al in de
Draai deze goed aan, om de lekdichtheid te garanderen.
fabriek zijn geplaatst. Als dat zo is, verwijder deze dan in geen
Voor deze branders dient de afstelling van de primaire lucht niet
geval; de zelfklevende pakking voorkomt filtraties. Als de pakking
te worden uitgevoerd
niet in fabriek is geplaatst, plakdeze dan aan de onderrand van de
3. Plaats de diffusors en de deksels van de branders op de
kookplaat. Afb. 3.
bijbehorende pitten en de roosters op de bevestigingselementen.
Voor de bevestiging van het apparaat aan het inbouwmeubel:
B) Afstelling van de kranen (afb. 8):
1. Draai elkvan de klemmen in de aangeduide stand en zorg dat
deze vrij draaien.
1. Zet de knoppen in de laagste stand.
2. Bouw de kookplaat in en centreer deze.
2. Haal de bedieningsknoppen van de kranen af. U treft een
flexibele rubberen keerring aan. Voer met de punt van de
Druk op de uiteinden totdat de plaat op de hele omtrek steunt.
schroevendraaier druk uit om bij de stelschroef van de kraan te
3. Draai de klemmen helemaal aan.
körnen.
De stand van de klemmen is afhankelijkvan de dikte van het
Bouw de keerring nooit uit.De keerringen garanderen dat het
werkviak. Afb. 4.
apparaat afgedicht is tegen vloeistoffen en vuil die de correcte
werking kunnen belemmeren.
Ultbouw van de kookplaat
3. Stel de minimumstand af door de bypass bout te draaien met
Sluit het apparaat af van de elektriciteits- en gasaansluiting.
een schroevendraaier met een vlakke punt.
Draai de klemmen los en ga op omgekeerde werkwijze te werk als
Voer, afhankelijk van het gas waaraan uw apparaat aangepast
bij de montage.
zai worden, zie tabel III, onderstaande handeling uit:
A: draai de bypass beuten helemaal aan.
Gasaansluiting (afb. 5)
B: maak de bypass bouten los tot de correcte gasuitlaat van de
Het uiteinde van de inlaatcollector van de gaskookplaat is voorzien
branders.
van een schroefdraad van 1/2” (20,955 mm). Met deze
C: de bypass bouten moeten worden vervangen door een
schroefdraad is mogelijk:
bevoegde Technische Dienst.
■ Een starre verbinding.
D: manipuleer de bypass bouten niet.
■ Een verbinding met een metalen slang (L min. 1 m - max. 3 m).
Controleer of bij het afstellen van de knop tussen de maximum-
Voeg de bijgeleverde of via de technische dienst beschikbare
en minimumstand, de brander niet uitgaat noch gasinslag
afdichtpakking (code 034308) in tussen de uitlaat van het
gevormd wordt.
spruitstuk en de gasaansluiting.
Indien u geen toegang vindt tot de bypass bouten, bouw dan
vetpot uit, die bevestigd is aan de rest van de kookplaat met een
-10 ■

systeem van clips en schroeven. Ga, om deze te verwijderen, op
skiejki lub z metalu, w odiegtosci 10 mm od podstawy zabudowy
onderstaande wijze te werk:
ptyty kuchenki. W ten sposób uniemoziiwia sip dostpp do dolnej
1. Verwijderalle roosters, hoedjes, verspreiders en knoppen.
czpsci ptyty.W przypadku ptyty kuchenki gazowej, zaiecane jest
2. Maak de bouten van de branders les.
umieszczenie elementu oddzielaj^cego w tej samej odiegtosci.
W blatach wykonanych z drewna, naiezy powlec powierzchnie
3. Gebruik indien vereist de uitbouwhendel 483196, beschikbaar bij
ciccia specjalnym klejem, w celu ochrony przed wilgoci^.
onze technische dienst. Maak de voorste clips les door deze in
de aangeduide zones omhoog te wippen. Afb. 9.
Instalacja urzqdzenia
4. Ga, om het apparaat terug in te bouwen, op omgekeerde wijze te
werk dan bij de démontage.
W zaieznosci od modelu urz^dzenia, uszczelka samoprzylepna
moze zostaó przymocowana fabrycznie. Nie naiezy jej wówczas w
Bouw de as van de kraan nooit uit (Afb. 10). Bij storingen dient de
zadnym wypadku zdejmowaó, poniewaz uszczelka
kraan in zijn geheel te worden vervangen.
samoprzylepna zapobiega s^czeniu. Jezeli uszczelka nie zostata
zatozona fabrycznie, naiezyja nakleió na dolnym brzegu ptyty
Pl
kuchenki. Rys. 3.
W celu zamocowania urz^dzenia w meblu:
Wskazówki dotyczqce bezpieczehstwa
1. Przykrpció kazdy z uchwytów we wskazanej pozycji, tak by
Przed przyst^pieniem do instalacji i uzytkowania urz^dzenia,
obracaty sip swobodnie.
naiezy zapoznac sip z instrukcj^.
2. Wsun^ó ptytp kuchenki i ustawió centralnie w wycipciu mebla.
Ilustracje przedstawione w niniejszej instrukcji maj^charakter
Przycisn^ó brzegi ptyty kuchenki w ten sposób, aby catym swoim
orientacyjny.
obwodem spoczywata na podstawie.
Producent nie penosi jakiejkoiwiek odpowiedzialnosci w
3. Obróció uchwyty i docisn^óje do konca.
przypadku, gdy zaiecenia zawarte w niniejszej instrukcji nie
b^dq przestrzegane.
Potozenie uchwytów zaiezy od grubosci blatu. Rys. 4.
To urz^dzenie powinno byc uzytkowane wyt^cznie w miejscach
Demontaz ptyty kuchenki
posiadaj^cych odpowiedni^wentylacjp. Nie naiezy podt^czac
urz^dzenia do sprzptu stuz^cego do usuwania produktów
Odt^czyó urz^dzenie od pr^du i odci^ó doptyw gazu.
spalania.
Odkrpció uchwyty i wykonaó czynnosci montazu w odwrotnej
Wszystkie czynnosci zwiqzane z instalacjq, podtqczeniem,
kolejnosci.
regulacjq i dostosowaniem urzqdzenia do innych rodzajów
gazu powinny byé wykonywane przez uprawnionego
Podtqczanie gazu (rys. 5)
instalatora serwisu technicznego, zgodnie z obowiqzujqcymi
Zakonczenie kolektora wejsciowego ptyty kuchenki gazowej jest
normami i przepisami oraz zarzqdzeniami lokalnych
wyposazone w zt^cze kolankowe z gwintem o wymiarze 1/2”
dostawców energii elektrycznej i gazu. Naiezy zwrócié
(20,955 mm), które umoziiwia:
szczególnq uwag^ na obowiqzujqce przepisy w zakresie
■ sztywne pot^czenie
wentylacji.
■ pot^czenie za pomoc^ elastycznego przewodu z metalu
W celu dostosowania urzqdzenia do zasilania innymi
(L min. 1 m - max. 3 m).
rodzajami gazu, zaieca si^ kontakt z naszym Serwisem
Technicznym.
Zatozyó dostarczon^ lub kupion^w Serwisie Technicznym
uszczelkp (kod 034308) mipdzy wyjscie kolektora a przewód
Urz^dzenie zostato zaprojektowane wyt^cznie do uzytku
doprowadzaj^cy gaz.
domowego; niedozwolone jest jego uzytkowanie w
zastosowaniach handlowych lub profesjonalnych. Nie naiezy
Naiezy zapobiec stykaniu sip przewodu z ruchomymi czpsciami
instalowac urz^dzenia najachtach ani w przyczepach
zabudowy (na przyktad szuflad^) i przechodzeniu przez miejsca,
kempingowych. Gwarancja bpdzie wazna wyt^cznie w przypadku
które mog^ zostaó zajpte przez blokuj^ce przestrzen przedmioty.
przestrzegania przewidzianego sposobu uzytkowania urz^dzenia.
Jesii wymagane jest wykonanie poziomego podt^czenia gazu,
Przed instalacj^urz^dzenia, naiezy upewnic sip, ze parametry
nasz Serwis Techniczny oferuje odpowiednio zt^cze kolankowe
gazu i pr^du, które s^dostarczane przez lokalnych dostawców, s^
(kod produktu 173018) i uszczelkp (kod produktu 034308).
zgodne z parametrami regulacji urz^dzenia, znajduj^cymi sip na
Jesii wymagane jest wykonanie zt^cza cylindrycznego, naiezy
tabliczce znamionowej (rodzaj i cisnienie gazu, moc, napiecie).
wymienió zt^cze kolankowe zamontowane fabrycznie na zt^cze
Patrz tabela I.
znajduj^ce sip w torebce z akcesoriami lub dostppne w Serwisie
Przed wykonaniem jakiejkoiwiek czynnosci naiezy odciqé
Technicznym (kod produktu 529649). Rys. 5a.
zasilanie elektryczne i doptyw gazu do urzqdzenia.
Proszp pamiptaó o zatozeniu uszczelki.
Przewód zasilaj^cy powinien zostac przymocowany do urz^dzenia
: Niebezpieczenstwo ulatniania siç gazu!
w ten sposób, aby zapobiec jego zetknipciu z gor^cymi czpsciami
Po przeprowadzeniu jakichkoiwiek czynnosci przy elementach
piekarnika lub ptyty kuchenki.
podt^czenia gazu, naiezy sprawdzió szczeinosó pot^czen.
Urz^dzenia korzystaj^ce z zasilania elektrycznego powinny
Producent nie penosi odpowiedzialnosci w przypadku, gdy
obowi^zkowo posiadac uziemienie.
pot^czenie utraci szczeinosó na skutekwykonanych operacji.
Nie naiezy wykonywac zadnych czynnosci we wnptrzu urz^dzenia.
W razie potrzeby naiezy skontaktowac sip z naszym Serwisem
Podtqczanie prqdu (rys. 6)
Technicznym.
Upewnió sip, ze parametry urz^dzenia s^zgodne z napipciem i
Przed zainstalowaniem
moc^ instalacji elektrycznej.
Ptyty kuchenki s^ dostarczane wraz z przewodem zasilania
Urz^dzenie spetnia wymogi klasy 3, zgodnie z norm^ EN 30-1-1
zaopatrzonym we wtyczkp lub bez niej.
dotycz^c^ urz^dzen gazowych: urz^dzenie do zabudowy.
Urz^dzenia wyposazone we wtyczkp mozna podt^czaó wyt^cznie
Mebel, w którym zostanie zainstalowane urz^dzenie, powinien byc
do puszekz gniazdkiem posiadajacych prawidtowo zainstalowane
odpowiednio zamocowany i stabilny.
uziemienie.
Meble znajduj^ce sip w poblizu urz^dzenia, pokrycia z laminate
Naiezy pamiptaó o wielobiegunowym wyt^czniku odcinaj^cym
oraz klej uzywany do ich zamocowania powinny byc wykonane z
zasilanie z przynajmniej 3-milimetrowym odstppem stykowym (nie
materiatów niepalnych i odpornych nawysok^temperaturp.
dotyczy podtaczenia za pomoca wtyczki, gdy jest ona dostepna
Urz^dzenie nie moze byc instalowane na lodówkach, pralkach,
dia uzytkownika).
zmywarkach lub podobnym sprzpcie.
Jest to urz^dzenie typu “Y”: przewód wejsciowy nie moze byó
Aby móc zainstalowac ptytp kuchenki na piekarniku, piekarnik
wymieniany przez uzytkownika, lecz wyt^cznie przez Serwis
powinien byc wyposazony w System wymuszonej wentylacji.
Techniczny. Naiezy zachowaó odpowiedni rodzaj przewodu oraz
Sprawdzic wymiary piekarnika w instrukcji montazu.
minimalny przekrój.
W przypadku instalacji wyci^gu kuchennego, naiezy przestrzegac
zalecen zawartych w jego instrukcji montazu i zachowac zawsze
Zmiana rodzaju gazu
minimaln^odlegtoscw pionie od plyty kuchenki (rys. 1).
Jesii zezwalaj^ na to przepisy obowi^zuj^ce w danym kraju,
urz^dzenie mozna dostosowaó do zasilania innymi rodzajami gazu
Przygotowanie mebla (rys. 1-2)
(patrz: tabliczka znamionowa urz^dzenia). Niezbpdne czpsci
Wykonac w blacie wycipcie o podanych wymiarach.
znajduj^ sip w torebce z zestawem umozliwiaj^cym zmianp
Jezeli pod elektryczn^ lub mieszan^ (gazowo-elektryczn^) ptyt^
zasilania gazowego, która zostata zat^czona (w zaieznosci od
kuchenki nie jest zainstalowany piekarnik, naiezy zastosowac
modelu) lub któr^ mozna nabyó w naszym Serwisie Technicznym.
element oddzielaj^cy z materiatu niepalnego, na przyktad ze
-11

Wazne: Po zakoñczeniu pracy, w poblizu tabliczki znamionowej
Este aparelho foi unicamente concebido para utilizagáo
nalezy przykieic nakiejkp informuj^c^, jakim rodzajem gazu
doméstica, nao podendo, por isso, ser utilizado para fins
urz^dzenie jest zasilane.
comerciáis cu profissionais. Este aparelho nao pode ser instalado
Nalezy wykonac nastppuj^ce czynnosci:
em iates cu caravanas. A garantía apenas será válida caso o
aparelho seja utilizado correctamente e para os fins a que se
A) Wymiana dyszy (Rys. 7-7a):
destina.
1. Zdj^c ruszty, naktadki palnika i dyfuzory.
Antes da instalagáo, verifique se as condigóes de distribuigao local
2. Wymienic dysze za pernee^ klucza dostppnego w naszym
sao compatíveis com a regulagáo do aparelho que é apresentada
Serwisie Technicznym (kod produktu 340847, natomiastw
na placa de características (natureza e pressao do gás, poténcia,
przypadku palników o podwójnym lub potrójnym wieñcu
voltagem). Ver tabela I.
ptomieni - kod produktu 340808), patrz tabela II, zwracaj^c
Antes de qualquer procedimento, corte a alimentagáo
szczególn^ uwagp na to, aby nie oderwac dyszy przy
eléctrica e de gás do aparelho.
wyei^ganiu lub mocowaniu je] w palniku.
O cabo de alimentagáo deve ser fixe ao móvel para evitar que
Nalezy moeno dokrpcic dysze w celu zapewnienia szczeinosci
entre em contacto com as partes quentes do forno cu da placa de
uktadu.
cozedura.
W tych palnikach nie jest konieczne wyregulowanie doptywu
Os aparelhos com alimentagáo eléctrica devem ser
powietrza podstawowego.
obrigatoriamente ligados à terra.
3. Zatozyc dyfuzory i naktadki palników na odpowiednich palnikach
Nao manipule o interior do aparelho. Se necessàrio, contacte o
i rusztach, nawtasciwych elementach mocuj^cych.
nesso Servigo de AssisténciaTécnica.
B) Regulacja kurków gazu (rys. 8):
1. Ustawic wszystkie pokrptta w potozeniu minimainym.
Antes da instalaçâo
2. Wyj^c pokrptta z kurków. Pod spodem znajduje sip element
Este aparelho corresponde à classe 3, segundo a norma EN 30-1
zabezpieczaj^cy z elastycznej gumy. Nacisn^ó element koñcem
1 para aparelhos a gás: aparelho encastrado num móvel.
srubokrptu, aby dostaó sip do sruby regulacyjnej kurka.
O móvel onde se instala o aparelho deve estar convenientemente
W zadnym wypadku nie wyjmowaé elementu
fixado e deve ser estável.
zabezpieczajqcego. Elementy zabezpieczaj^ce gwarantuj^
Os móveis próximos do aparelho, os revestimentos estratificados
szezeinosó urz^dzenia, chroni^c przed przedostaniem sip do
e a cola que os fixa, devem tratar-se de materiais nao inflamáveis
wnptrza cieczy i zanieczyszczeñ, które mog^ uniemoziiwió
e resistentes ao calor.
prawidtowe dziatanie.
Este aparelho nao pode ser instalado sobre frigoríficos, máquinas
3. Wyregulowaó ptomieñ minimalny, obracaj^c srubp zt^czki
de lavar roupa, máquinas de lavar loiga cu aparelhos similares.
przejsciowej za pomoc^ srubokrptu z ptask^ koñcówk^.
Para instalar a placa de cozedura sobre um forno, este deve
W zaleznosci od rodzaju gazu, do którego dostosowywane
incluir um mecanismo de ventilagáo forgada. Verifique as
bpdzie urz^dzenie, patrz tabela III, nalezy wykonaó nastppuj^ce
dimensóes do forno no seu manual de instalagáo.
czynnosci:
Se instalar um extractor, deve ter em conta o respectivo manual
A: nacisn^ó do koñea sruby zt^czek przejsciowych.
de instalagáo, respeitando sempre a distáncia vertical mínima em
B: poluzowaó sruby zt^czek przejsciowych do momento, gdy gaz
relagáo à placa de cozedura (fig. 1).
zaeznie prawidtowe wydobywaó sip z palników.
Preparaçâo do móvel (fig. 1-2)
C: sruby zt^czek przejsciowych powinny byó wymieniane przez
uprawnionego pracownika Serwisu Technicznego.
Realize um corte das dimensóes necessárias na superficie de
D: nie manipulowaó srubami zt^czek przejsciowych.
trabalho.
Upewnió sip, ze przy obracaniu pokrpttem mipdzy potozeniem
Se a placa de cozedura for eléctrica cu mista (gás e electricidade)
maksymainym a minimainym palnik nie gasnie ani nie wystppuje
e se nao houver um forno por baixo da mesma, coloque um
cofanie sip ptomienia.
separador de material nao inflamável (por ex. de metal cu madeira
contraplacada) a 10 mm da base da placa de cozedura. Assim
Jezeli nie mozna dostaó sip do sruby zt^czki przejsciowej, nalezy
impede o acesso à parte inferior desta. Se a placa de cozedura for
wymontowaó formp na ttuszcz, która jest przymocowana do ptyty
a gás, recomenda-se que coloque o separador à mesma
kuchenki za pomoc^ systemu zacisków i srub. W celu jej wyjpcia,
distáncia.
nalezy postppowaó w sposób nastppuj^cy:
Em superficies de trabalho de madeira, envernize as superficies
1. Zdj^ó wszystkie ruszty, naktadki z palników, dyfuzory oraz wyj^ó
de corte com urna cola especial para as proteger da humidade.
pokrptta.
2. Wykrpció sruby z palników.
Instalaçâo do aparelho
3. Nalezy skorzystaó z dzwigni demontuj^cej (kod produktu
Segundo o modelo, a junta adesiva pode vir colocada de fábrica.
483196) dostppnej w naszym Serwisie Technicznym. Zwolnió
Se for esse o caso, nao a remova de forma alguma; a junta
przednie zaciski, uzywaj^c dzwigni w zaznaezonyeh miejscach.
adesiva impede as infiltragôes. Se a junta nao vier colocada de
Rys. 9.
fábrica, cole-a na margem inferior da placa de cozedura. Fig. 3.
4. W celu ponownego zamontowania formy na ttuszcz, nalezy
Para a fixagáo do aparelho no móvel de encastramento:
wykonaó czynnosci demontazu w odwrotnej kolejnosci:
1. Aparafuse cada um dos grampos na posigao indicada, deixando
Nigdy nie nalezy demontowaó trzpienia kurka (rys. 10). W
que estes rodem livremente.
przypadku awarii, nalezywymienió kompletny kurek.
2. Encastre e centre a placa de cozedura.
Faga pressao sobre os extremos até que se apoie em todo o seu
Pt
perímetro.
Indicagoes de seguranga
3. Gire os grampos e aperte-os bem.
Leia as instrugóes do aparelho antes de proceder à instalagao e
A posigao dos grampos depende da espessura da superficie de
utilizagao.
trabalho. Fig. 4.
As imagens apresentadas ao longo das instrugóes servem apenas
Desmontagem da placa de cozedura
para orientagao.
Desligue o aparelho das tomadas eléctrica e de gás.
O fabricante fica isento de qualquer tipo de responsabilidade
caso nao se cumpram as disposigoes deste manual.
Desaparafuse os grampos e proceda de modo inverso ao da
montagem.
Este aparelho deve ser apenas utilizado em locáis com urna
ventilagao adequada. Nao deve ser ligado a um dispositivo de
Ligaçâo a gás (fig. 5)
evacuagao dos produtos de combustao.
Todos os trabalhos de instalagáo, ligagáo, regulagáo e
A extremidade do colector de entrada da placa de cozedura a gás
adaptagáo a outros tipos de gás devem ser efectuados por
está equipada com urna rosca de 1/2” (20,955 mm), que permite:
um técnico de instalagáo autorizado, respeitando todas as
Realizar urna ligagáo rígida.
regulamentagoes e legislagáo aplicáveis, bem como o
Realizar a ligagáo com um tubo flexível metálico (L min. 1 m -
estipulado pelas empresas locáis fornecedoras de gás e
max. 3 m)
electricidade. Deve prestar particular atengáo ás disposigoes
Intercale a junta de estanqueidade fornecida cu disponível através
aplicáveis relativamente á ventilagáo.
do Servigo de Assisténcia Técnica (código 034308), entre a saída
Recomenda-se chamar o nosso Servigo de Assistencia
do colector e a entrada de gás.
Técnica para a adaptagáo a outros tipos de gás.
-12 ■

Evite o contacto do tubo com qualquer parte móvel da unidade de
3. Se necessàrio, utilizo a alavanca de desmontagem 483196
encastramento (por exemplo, urna gaveta), bem como a sua
disponivel através do nesso Servigo de AssisténciaTécnica.
passagem por espagos que possam ficar obstruidos.
Retire o dipo dianteiro, colocando a alavanca ñas zonas
Para realizar a ligagao a gás na horizontal, o nosso Servigo de
assinaladas. Fig. 9.
AssisténciaTécnica disponibiliza um cotovelo (código 173018) e
4. Para voltar a montar o aparelho, proceda de modo inverso ao da
urna junta (código 034308).
desmontagem
Para realizar urna ligagao com tubagem cilindrica, substitua o
Nunca desmonte o eixo da torneira (Fig. 10). Em caso de avaria,
cotovelo instalado de fábrica pelo cotovelo incluido no conjunto de
deve substituir-so todo o conjunto da torneira.
acessórios fornecido ou disponivel através do Servigo de
AssisténciaTécnica (código 529649). Fig. 5a.
ru
Nao se esquega de intercalar a junta.
: Perigo de fuga!
Правила техники безопасности
Se manipular qualquer ligagáo, verifique a estanqueidade.
Перед началом монтажа и эксплуатации внимательно изучите
руководство к электроприбору.
O fabricante nao se responsabiliza se alguma ligagáo apresentar
Приведенные в данном руководстве рисунки являются
fugas depois de ter sido manipulada.
ориентировочными.
Ligagáo eléctrica (fig. 6)
При невыполнении инструкций, содержащихся в данном
руководстве, производитель освобождается от всякой
Verifique se a voltagem e a potencia do aparelho sao compativeis
ответственности.
com a instalagáo eléctrica.
Данный прибор можно устанавливать только в хорошо
As placas de cozedura sao fornecidas com um cabo de
проветриваемых помещениях. Варочную панель нельзя
alimentagáo com ou sem ficha.
подсоединять к дымоходу для отвода дымовых газов.
Os aparelhos fornecidos com ficha só devem ser ligados a
Все операции по установке, подключению к электросети,
tomadas de terra devidamente instaladas.
наладке и адаптации к другому виду газа должны
Deve prever-se um interruptor omnipolar com urna abertura de
проводиться сертифицированным специалистом в
contacto mínima de 3 mm (excepto em ligagóes com ficha, se esta
соответствии со всеми действующими нормами и
законодательством, а также с предписаниями местных газо-
estiver acessível ao utilizador).
и электроснабжающих компаний. Особое внимание следует
Este aparelho é do tipo “Y”: o cabo de entrada nao pode ser
уделить требованиям к вентиляции.
mudado pelo utilizador, só o Servigo de Assisténcia Técnica deve
Для адаптации прибора к другому виду газа рекомендуем
fazé-lo. Deve sempre respeitar-se a secgáo mínima e o tipo de
связаться с нащим сервисным центром.
cabo.
Данный прибор предназначен исключительно для бытового
использования и не может применяться в промышленных или
Mudanga do tipo de gás
коммерческих целях. Данный прибор нельзя устанавливать на
Se as regulamentagóes do país o permitirem, este aparelho pode
яхтах или в автокемперах. Гарантия производителя действительна
ser adaptado a cutres tipos de gás (ver placa de características).
только в случае использования прибора по назначению.
As pegas necessárias para tal estáo incluidas no saco de
Перед установкой необходимо проверить, соответствуют ли
transformagáo fornecido (consoante o modelo) ou disponíveis no
характеристики местных распределительныхсетей (вид и
nesso Servigo de Assisténcia Técnica.
давление газа, мощность и напряжение электросети) настройкам
lmportante:Ao terminar, coloque a etiqueta adesiva indicando o
прибора. С О м. таблицу I.
novo tipo de gás, próximo da placa de características.
Перед проведением любых действий необходимо перекрыть
Os passes a seguir sao os seguintes:
подачу газа и электроэнергии к данному электроприбору.
Кабель питания необходимо закрепить на тумбе, чтобы не
A) Substituigáo dos injectores (fig. 7-7a):
допускать его соприкосновения с нагревающимися деталями
1. Retire as grelhas, as tampas de queimador e os difusores.
духового шкафа или варочной панели.
2. Substitua os injectores usando a chave disponibilizada pelo
Приборы, работающие от электросети, обязательно должны быть
nesso servigo de assisténcia técnica, com o código 340847
заземлены.
(para queimadores de chama dupla ou tripla, código 340808)
Нельзя вносить изменения во внутренние элементы прибора.
(ver tabela II), tendo especial atengáo para que o injector nao se
Если необходимо произвести ремонт, обратитесь в наш
solté ao retirá-lo ou fixá-lo ao queimador.
сервисный центр.
Aporte bem os injectores para garantir a estanqueidade.
Перед началом установки
Nestes queimadores nao é necessàrio realizar a regulagáo do ar
primàrio
Данный прибор относится к третьему классу защиты по стандарту
ЕН 30-1-1 для газовых приборов: встроенное оборудование.
3. Coloque os difusores e as tampas dos queimadores nos
respectivos lugares e as grelhas nos respectivos elementos de
Кухонная тумба, в которую встраивается варочная панель,
должна быть закреплена и устойчива.
fixagáo.
Соприкасающаяся с варочной панелью мебель, слоистые
B) Regulagáo das torneiras (fig. 8):
облицовочные покрытия и закрепляющий их клей должны быть
1. Coloque os comandos na sua posigáo mínima.
невоспламеняющимися и термостойкими.
2. Retire os comandos das torneiras. Picará visível um retentor de
Данный прибор нельзя устанавливать над холодильниками,
borracha flexível. Pressione com a penta de urna chave de
стиральными машинами, посудомоечными машинами и другой
fondas, para aceder ao parafuso de regulagáo da torneira.
подобной техникой.
Nunca desmonte o retentor. Os retentores garantem a
Если требуется установить варочную панель над духовым
estanqueidade do interior do aparelho, relativamente a líquidos e
шкафом, следует выбрать модель духового шкафа с системой
sujidade quo possam impedir um funcionamento correcto.
принудительной вентиляции. Проверьте размеры духового шкафа
в соответствующем руководстве по монтажу.
3. Regule a chama mínima rodando o parafuso bypass através de
При установке вытяжного устройства необходимо следовать
urna chave de fondas de penta plana.
инструкциям соответствующего руководства по монтажу,
Consoante o gás ao qual vai adaptar o aparelho (ver tabela III),
соблюдая минимальное расстояние по вертикали между
efectúe a acgao correspondente:
варочной панелью и вытяжкой (рис. 1).
A: aportar bem os parafusos bypass.
B: afrouxar os parafusos bypass até conseguir a saida de gás
Подготовкатумбы(рис. 1-2)
correcta dos queimadores.
Проделайте в столешнице отверстие нужных размеров.
C: OS parafusos bypass devem sor substituidos por um técnico
При установке электрической или комбинированной (газовые и
autorizado.
электрические конфорки) варочной панели без духового шкафа,
необходимо поставить под ней перегородку из
D: nao manipular os parafusos bypass.
невоспламеняющегося материала (например, из металла или
Verifique se, ao ajustar o comando entre o máximo e o mínimo,
фанерного листа) на расстоянии 10 мм от основания варочной
o queimador nao se apaga nem ocorre um retrocesso da chama.
панели. Таким образом доступ к нижней части панели будет
Se nao conseguir aceder ao parafuso bypass, desmonte a
перекрыт.В случае газовой варочной панели также
pingadeira que está fixada á placa de cozedura por um sistema de
рекомендуется установить перегородку на том же расстоянии.
clipes e parafusos. Para retirá-la proceda da seguinte forma:
Если столешница выполнена из дерева, покройте поверхность
1. Remova todas as grelhas, tampas dos queimadores, difusores e
среза специальным герметиком, чтобы защитить ее от действия
comandos.
влаги.
2. Desaperte os parafusos dos queimadores.
- 13 ■

Монтаж прибора
тщательно следя за тем, чтобы в процессе снятия жиклера или
его закрепления на горелке он не соскочил.
Некоторые модели поставляются с установленной на фабрике
клеящейся прокладкой. Если прокладкаустановлена, ни в коем
Убедитесь в том, что жиклеры тщательно прижаты, чтобы
случае не снимайте ее; клеящаяся прокладка предотвращает
обеспечить герметичность горелок.
подтекание. Если прокладка не установлена на фабрике,
В данных горелках не нужно производить регулировку подачи
приклейте ее к нижнему краю варочной панели (рис. 3).
первичного воздуха.
Закрепление варочной панели в тумбе:
3.Установите рассекатели и крыщки горелок на соответствующие
1. Привинтите все зажимы в нужном положении так, чтобы они
конфорки, а рещетки — на соответствующие опорные
могли свободно вращаться.
элементы.
2. Вставьте варочную панель в подготовленное отверстие и
В) Регулировка кранов (рис. 8)
выровняйте ее.
1. Установите ручки управления в положение минимального
Нажмите на края панели так, чтобы варочная панель оперлась
пламени.
на край столещницы по всему периметру.
2. Снимите ручки кранов. Под ними находится уплотнительная
3. Разверните зажимы и туго затяните их.
прокладка из эластичной резины. Надавите на прокладку
Положение зажимов зависит от толщины столещницы (рис. 4).
кончиком отвертки, чтобы открыть доступ к байпасному винту.
Никогда не снимайте прокладку. Прокладки обеспечивают
Демонтаж варочной панели
герметичность варочной панели, не допуская попадания внутрь
приборажидкостей и грязи, которые могут нарущить его
Отсоедините прибор от электросети и от газопровода.
правильную работу.
Открутите винты зажимов и повторите действия, выполненные во
3. Отрегулируйте минимальную величину пламени, повернув
время монтажа, в обратном порядке.
байпасный винт с помощью плоской отвертки.
Подключение газа (рис. 5)
В зависимости от вида газа, к которому вы адаптируете свой
прибор (см. таблицу III), выполните следующие действия:
На конце впускного патрубка варочной панели имеется резьба
А: закрутите байпасные винты до отказа.
диаметром М2” (20,955 мм), позволяющая обеспечить:
В: ослабьте байпасные винты, пока газ не будет правильно
■ жесткое соединение;
выходить из горелок.
■ соединение с гибким металлическим щлангом (L min. 1 m -
С: замену байпасных винтов может производить только
max. 3 m).
специалист, имеющий соответствующую квалификацию.
Между отверстием входного патрубка и газовой трубой
D: никаких действий с байпасными винтами производить не
необходимо установить уплотнительную прокладку,
нужно.
поставляемую вместе с варочной панелью или приобретенную в
сервисном центре (артикул 034308).
Убедитесь, что при повороте ручки управления от максимальной
до минимальной отметки горелки не гаснут и не происходит
Необходимо исключить соприкосновение щлангас подвижными
возврат пламени.
частями мебели, в которую встраивается варочная панель
(например, с выдвижными ящиками), а также прохождение
Если вы не можете найти доступ к байпасному винту,
щланга в местах, которые могут оказаться загроможденными.
демонтируйте рабочую панель электроприбора, которая крепится
костальным элементам с помощью системы зажимов и винтов.
При необходимости горизонтального соединения с газовой трубой
Чтобы снять эту панель, выполните следующие действия:
можно приобрести в сервисном центре специальное колено
(артикул 173018) и уплотнительную прокладку (артикул 034308).
1. Снимите все рещетки, крыщки горелок, рассекатели и ручки
управления.
При необходимости в соединении с цилиндрической резьбой
замените колено, установленное на заводе, на колено из пакета с
2. Ослабьте винты крепления горелок.
принадлежностями, входящее в комплект поставки варочной
3. При необходимости используйте рычаг для демонтажа (483196),
панели, или на колено, приобретенное в сервисном центре
который можно приобрести в нащем сервисном центре.
(артикул 529649) (рис. 5а).
Нажатием рычага в указанных точках высвободите зажимы на
Не забудьте установить уплотнительную прокладку.
передней части варочной панели (рис. 9).
4. Чтобы установить рабочую панель на место, повторите эти
: Существует опасность утечки газа!
действия в обратном порядке.
После внесения изменений в соединительную конструкцию
Никогда не демонтируйте вал газового крана (рис. 10). В случае
проверьте ее герметичность.
его повреждения замените весь кран.
Производитель не несет ответственности за утечку газа в
соединениях, выполненных пользователем или исполнителем
tr
монтажных работ.
Подключение к электросети (рис. 6)
Güvenlik önerileri
Проверьте, чтобы напряжение и мощность прибора
Cihazi kurmadan veya kullanmadan önce talimatlari okuyunuz.
соответствовали параметрам тока в электросети.
Bu talimatlarda yer alan resimler bilgilendirme amaplidir.
Варочные панели поставляются с кабелем питания, который
Bu kilavuzdaki kurallara uyulmadigi takdirde, üretici herhangi
может не иметь щтепсельной вилки.
bir sorumluluktan muaf olacaktir.
Приборы, снабженные щтепсельной вилкой, можно подключать
Bu cihaz yalnizca yeterince havalandirilan yerlerde kullanilmalidir.
только к розеткам с правильно установленным заземлением.
Herhangi bir yanma ürünleri tahliye cihazma baglanmamalidir.
Необходимо предусмотреть размыкающее устройство для всех
Bütün kurulum, baglanti, ayarlama ve gaz tipine göre
полюсов прибора с воздущным зазором между контактами не
uyarlama i^lemleri yetkili bir teknisyen tarafindan, ülkedeki
менее 3 мм (за исключением случаев подсоединения с
Standartlara ve yürürlükteki kanuni yönergeler ile yerel gaz ve
использованием розетки, если пользователь имеет к ней доступ).
elektrik tedarikgisi ^irketin talimatlarina uygun olarak
Данный прибор относится к классу “Y”: не допускается замена
gergekle^tirilmelidir. Havalandirma ile ilgili gegerli
кабеля питания пользователем, это может делать только
düzenlemelere özel bir dikkat gösterilecektir.
сервисный центр. Необходимо учитывать тип кабеля и его
минимальное сечение.
Diger gaz tiplerine uyarlama gerektiginde Teknik Servisimizi
gagirmaniz önerilir.
Адаптация к другому виду газа
Bu cihaz evde kullanim igln tasarlanmigtir, ticari veya profesyonel
Если это разрещено нормами страны, данный прибор можно
amaglarla kullanilamaz. Bu cihaz yat veya karavanlara kurulamaz.
настроить для использования с другими видами газа (см.
Garant! sadece tasarim amacina uygun kullanilmasi durumunda
табличку с характеристиками). Необходимые для этого детали
gegerlidir.
находятся в поставляемом с некоторыми моделями наборе для
Kurulumdan önce, yerel gaz tedarik §artlarmm özellik plakasmda
адаптации, который также можно приобрести в нащем сервисном
yer alan cihaz düzenlemesiyle (gazm özelligi ve basinci, güg,
центре.
voltaj) uyumlu olup olmadigmi kontrol ediniz. Bkz tablo I.
Внимание! После окончания работы наклейте рядом с табличкой
Herhangi bir leiernden önce, cihazin gaz ve elektrik
с характеристиками варочной панели этикетку с указанием
beslemesini kesiniz.
нового вида газа.
Elektrik kablosu, firm veya pigirme tezgahinin sicak kisimlarina
Необходимо выполнить следующие действия:
temas etmemesi igln mutfak mobilyasina sabitlenmelidir.
А) Замена жиклеров (рис. 7-7а):
Elektrik beslemesi ile galigan cihaziarin tüm baglantilari mutlaka
1. Снимите рещетки, крыщки горелок и рассекатели.
topraklanmalidir.
2. Замените жиклеры с помощью ключа, имеющегося в продаже
Cihazin lg kismini kurcalamayiniz. Gerekirse Teknik Servisimizi
в нащем сервисном центре, артикул 340847 (Конфорка
gagiriniz.
двойного или тройного пламени артикул 340808), см. таблицу II,
-14-

Kurulumdan once
Minimum kontak agikligi 3 mm elan bir omnipolar akim kesici
temin edilmelidir (prizii baglantilar harig, eger kullanici tarafmdan
Bu EN 30-1-1 gazli cihazlar normuna göre 3. sinif bir cihazdir:
erigilebiliyorsa).
mobilyaya gömme cihaz.
Bu cihaz “Y” tipindendir: Girig kablosu, kullanici tarafmdan, Teknik
Cihazin monte edildigi mobilya düzgün §ekilde sabitlenmi§ ve
Servis olmadan degigtirilemez. Kable tipine ve minimum kalmliga
hareketsiz olmalidir.
dikkat etmek gerekmektedir.
Cihaz yakinindaki mobilyalar, yüzey kaplamalari ve bunlari
birbirine yapi§tiran tutkal, yanici olmamali ve isiya dayanikli
Gaz tipinin degl§tlrllmesl
olmalidir.
Ülke standartlari izin verdigi takdirde, cihaz farkli gaz tiplerine
Bu cihaz, buzdolabi, gama§ir makinesi, bula§ik makinesi ve
uyarlanabilir (özellikler tablosuna bakmiz). Bunun igin gerekli elan
benzeri e§yalarin üzerine kurulamaz.
pargalar, (modele göre) temin edilen veyaTeknik Servisimizde
Pi§irme tezgahini bir firinin üzerine kurmak igin bu firm yapay bir
mevcut bulunan transformasyon donanim gantasmda
havalandirmaya sahip olmalidir. Finnin boyutlarini, kurulum
bulunmaktadir.
kilavuzundan kontrol ediniz.
0nemli:Son olarak yeni gaz tipini gösteren etiketi özellikler
Havalandirma kurarken kurulum kilavuzunu dikkate aliniz, pi§irme
tablosunun yanma yapigtirmiz.
tezgahina minimum dikey uzakliga uyunuz (§ek. 1).
izienecek adimlar gu gekildedir:
Mobilyanin hazirlanmasi (§ekil 1-2)
A) Brülör ucunun degigtirilmesi (gek. 7-7a):
Qali§ma yüzeyinin üzerine, belirtilen ölgülerde bir kesik aginiz.
1. Izgaralari, brülör kapaklarmi ve alev dagiticilari gikarmiz.
Pigirme tezgahi elektrikli veya goklu (gaz ve elektrik) ise ve altinda
2. Teknik Servisimizden 340847 kod numerasi ile temin
firm bulunmuyorsa, pigirme tezgahmm tabanma 10 mm gelecek
edilebilecekolan anahtari kullanarak brülöruglarmi degigtiriniz
gekilde yanmaz malzemeden yapilmig bir ayrag yerlegtiriniz
(gift alevli brülörler igin kod numerasi 340808), bkz table II,
(örnegin metal ya da ahgap kontrplak). Böylece alt kisma girig
brülöre takarken veya gikarirken brülör ucunun dügmemesine
engellenmig olur.Pigirme tezgahi gazli ise, yine ayni mesafede bir
dikkat ediniz.
ayrag yerlegtirilmesi tavsiye edilir.
Sizdirmazligi garanti etmek igin iyice sikildigmdan emin olunuz.
Ahgap galigma tezgahlarmda, kesim yüzeyini nemden korumak
Bu brülörlerde, primer have düzenlemesini gergeklegtirmeye
amaciyla özel bir kola ile vernikleyiniz.
gerek yoktur.
3. Alev dagiticilari ve brülör kapaklarmi ilgili kisimlarma ve
Cihazin kurulumu
izgaralari tespit elemanlarma takmiz.
Modele bagli olarak yapigkan conta fabrikadan monte edilmig
B) Vanalarin ayarlanmasi (gek. 8):
olarak gelebilir. Eger bu gekilde gelirse, higbir suretle
1. Kumanda dügmelerini minimum konumuna getiriniz.
gikartmaymiz; yapigkan conta sizmtilara engel olur. Eger conta
fabrikadan monte edilmig olarakgelmezse pigirme tezgahmm alt
2. Vanalarin kumanda dügmelerini gikartmiz. Esnek bir kauguk
kismma yapigtirmiz. §ekil 3.
conta ile birlikte bulunur. Vena ayar vidasma ulagmak igin
tornavidamn ucuyla bastirmiz.
Cihazi ankastre mobilyaya baglamak igin:
Contayi kesinlikle sökmeyiniz. Contalarcihazm dogru
1. Kiskaglari rahatga dönebilmelerini saglayarak belirtilen
galigmasmi bozabilecek elan siviya ve kire kargi cihazin iginin
pozisyonda vidalaymiz.
kuru kalmasmi seglar.
2. Yerlegtiriniz ve pigirme tezgahini ortalaymiz.
3. DÜZ uglu tornavida ile by-pass vidasmi gevirerek on dügük alevi
Yüzeyin tüm gevresini destekleyene kadar kenarlarmdan
ayarlaymiz.
bastirmiz.
Cihazmizm baglanacagi gaz tipine göre, bkz. table III, ilgili
3. Kiskaglari döndürünüz ve sikica vidalaymiz.
ayarlari gergeklegtiriniz:
Kiskaglarm pozisyonu galigma yüzeyinin kalmligma baglidir.
A: by-pass vidalarmi iyice sikigtirmiz.
§ekil 4.
B: by-pass vidalarmi brülörlerin dogru gaz gikiglarma kadar
sikigtirmiz.
Pi§irme tezgahinin sökülmesi
C: by-pass vidalari yetkili bir servis tarafmdan degigtirilmelidir.
Cihazin elektrikve gaz alicilarmi kapatmiz.
D: by-pass vidalarma müdahale etmeyiniz.
Kiskaglari gikarmiz ve montajm torsi bir sirayla devam ediniz.
Maksimum ve minimum arasmdaki kumanda dügmesini
Gazli baglanti (§ekil 5)
ayarlarken brülörün sönmediginden ve alevin geri tepmediginden
emin olunuz.
Gazli pigirme tezgahi girig baglantismm ucu 1/2" (20,955 mm)'lik
By-pass vidaya erigim bulunmuyorsa pigirme tezgahmm geri
bir yiv ile donatilmigtir, bu agagidakileri saglar:
kalanma baglanti ve vida sistemi ile sabitlenmig elan yagdanligi
■ sabitbaglanti.
sökünüz. Yagdanligi gikarmak igin agagidaki iglemleri takip ediniz:
■ baglantmm metal elastik bir boru ile gergeklegtirilmesi
1. Tüm brülör kapaklarmi, izgaralari ve kumanda dügmelerini
(L min. 1 m - max. 3 m).
sökünüz.
Kolektör gikigi ile gaz girigi arasma verilen ya daTeknik Servis
2. Brülörlerin vidalarmi gikarmiz.
araciligiyla edinebileceginiz (kod 034308) sizdirmazlikcontasmi
3. Gerekliyse, teknikservisimizden 483196 kodu ile tedarik
takmiz.
edebileceginiz bir dementa) aleti kullanmiz. Aleti belirtilen
Borunun, ankastre ünitesinin hareketli kisimlari ile (örnegin bir
alanlarda uygulayarakön kisimdaki baglantiyi agmiz. Çek. 9.
gekmece) temas etmesini ve engellenebilecekyerlerden gegigini
4. Yag sigratma aparatmi tekrartakmak igin sökme iglemlerinin tersi
önieyiniz.
bir sirayla devam ediniz.
Gaz baglantismi yatay olarak yapmaniz gerekiyorsa, Teknik
Vana milini asía sökmeyiniz (gekil 10). Ariza halinde vanayi
Servisimiz size bir dirsek (kod 173018), ve bir conta (kod 034308)
komple degigtiriniz.
saglayabilir.
Silindirik baglanti yapilmasi gerekirse, fabrikada monte edilen
dirsegi aksesuar gantasidakiyie ya daTeknik Servis araciligiyla
edinebileceginiz dirsekle degigtiriniz (kod 529649). §ekil 5a.
Contayi takmayi unutmaymiz.
: Sizinti tehlikesi!
Herhangi bir baglanti degigikligi gerekli oldugunda sizdirma yapip
yapmadigmi kontrol ediniz.
Herhangi bir gaz baglantisi kurcalanma sonucu sizmti yaptigi
takdirde üretici firma sorumiuluk kabul etmez.
Elektrikli baglanti (§ekil 6)
Cihazin kuvvet ve voltajmm elektrikli kurulum igin uygun olup
olmadigmi kontrol ediniz.
Pigirme tezgahlari, figli veya figsiz bir besleme kablosu ile birlikte
tedarik edilir.
Figleri elan cihazlar, sadece uygun gekilde yerlegtirilmig
topraklama girigli priz kutularma baglanmalidir.
-15 ■

ZQm
ZQn G30,
G20
G25
G25.1
G30
G31
COUNTRIES/GASES GAS ADJUSTED MODEL TYPE
G20, G25,
W V- Hz
G31(kW)
(m3/h)
(m3/h)
(m3/h)
(g/h)
(g/h)
G25.1(kW)
3ETX394BP HSE-S6F4030 7,50 7,50 0,715
- -
544 535 0,8 W 220-240 V~ 50/60 Hz
ES
PT MT CY
3ETX395BP HSE-S6F2V30 8,00 8,00 0,762
- -
581 571 0,8 W 220-240 V~ 50/60 Hz
Cat.
II2H3+ II2H3+ l3BP
11 2H3BrP
G-30 )031-28-30 )37 m bar B U TAN 0-P R OP AN 0
DtmOar)
20-20/37 20-30/37 30 20-30
3ETX397BP HSE-S7F4V30 11,50 11,50 1,096
- -
835 821 0,8 W 220-240 V~ 50/60 Hz
3ETX398BP HSE-S7F4V30 11,50 11,50 1,096
- -
835 821 0,8 W 220-240 V~ 50/60 Hz
CA122650NL HSE-S6F4030 7,50 7,50
-
0,831
-
544 535 0,8 W 220-240 V~ 50/60 Hz
CA174251NL HSE-S7F4V30 11,50 11,50
-
1,275
-
835 821 0,8 W 220-240 V~ 50/60 Hz
CAI 74651NL HSE-S7F4V30 11,50 11,50
-
1,275
-
835 821 0,8 W 220-240 V~ 50/60 Hz
EC645HC90N HSE-S6F3W30 9,05 9,05
-
1,003
-
657 646 0,8 W 220-240 V~ 50/60 Hz
EC645HV90N HSE-S6F3W3M 9,05 9,05
-
1,003
-
657 646 3,00 W 220-240 V~ 50/60 Hz
EC645PC90N HSE-S6F4030 7,50 7,50
-
0,831
-
544 535 0,8 W 220-240 V~ 50/60 Hz
EC6E5PC90N HSE-S6F4030 7,50 7,50
-
0,831
-
544 535 0,8 W 220-240 V~ 50/60 Hz
EC745RC90N HSE-S7F4W30 12,10 12,50
-
1,386
-
878 864 0,8 W 220-240 V~ 50/60 Hz
GK64VBE20 HSE-S6F4030 7,50 7,50
-
0,831
-
544 535 0,8 W 220-240 V~ 50/60 Hz
JG16BB50NL HSE-S6F4030 7,50 7,50
-
0,831
-
544 535 0,8 W 220-240 V~ 50/60 Hz
NL
JG17BB50NL HSE-S7F4V30 11,50 11,50
-
1,275
-
835 821 0,8 W 220-240 V~ 50/60 Hz
Cat.
II 2L3B/P
MRDGAS Q25/25 mbar
PCH615C90N HSE-S6F3W30 9,05 9,05
-
1,003
-
657 646 0,8 W 220-240 V~ 50/60 Hz
p[mbar)
25-30
PCP615C90N HSE-S6F4030 7,50 7,50
-
0,831
-
544 535 0,8 W 220-240 V~ 50/60 Hz
PCP6E5C90N HSE-S6F4030 7,50 7,50
-
0,831
-
544 535 0,8 W 220-240 V~ 50/60 Hz
PCR715C90N HSE-S7F4W30 12,10 12,50
-
1,386
-
878 864 0,8 W 220-240 V~ 50/60 Hz
PCS815C90N HSE-S7F4L30 12,10 12,50
-
1,386
-
878 864 0,8 W 220-240 V~ 50/60 Hz
PCS815U90N HSE-S7F4L3M 12,10 12,50
-
1,386
-
878 864 3,00 W 220-240 V~ 50/60 Hz
PCS8E5C90N HSE-S7F4L30 12,10 12,50
-
1,386
-
878 864 0,8 W 220-240 V~ 50/60 Hz
T23S36N0NL HSE-S6F4030 7,50 7,50
-
0,831
-
544 535 0,8 W 220-240 V~ 50/60 Hz
T25S86N0NL HSE-S7F4L30 12,10 12,50
-
1,386
-
878 864 0,8 W 220-240 V~ 50/60 Hz
T26R86N0NL HSE-S7F4L3H 12,10 12,50
-
1,386
-
878 864 3,00 W 220-240 V~ 50/60 Hz
VVK27G335N HSE-S7F4V30 11,50 11,50
-
1,275
-
835 821 0,8 W 220-240 V~ 50/60 Hz
G-20/20 mbar ERDGAS/ERDGAS E /
__________________
L0>PL
NATURGAS / GAS NATURAL/
ll2K3Bff II2E+3H
MAAKAASU NATURGAS
/ ®uoiK_aeoio .
pi)ntao| 20-S0 |;Di;5-;8-3D^7| 20 I2D-3DS7
■leECZeKCEilTSLISO/SGiNOCY DE ESiOBifSWä
NATURAL GAS / GAS METANO / GAS
NATUREL/GAZ ZIEMNY
EC645YB80E HSE-S6F3E30 5,75 5,75 0,548 0,637
-
417 410 1500 W 220-240 V~ 50/60 Hz
G-20/G-25-20/25 mba r AARDGAS / GAZ
NATUREL LAGO
ES PT CY
3ETX394NP HSE-S6F4030 7,50 7,50 0,715
- -
544 535 0,8 W 220-240 V~ 50/60 Hz
Cal.
II 2H3+ ll2HЗ-^
II2H3B/P
10-20/20 mbar OAS NATURAL
3ETX395NP HSE-S6F2V30 8,00 8,00 0,762
- -
581 571 0,8 W 220-240 V~ 50/60 Hz
20-23/37 20-30/37
20-30
3ETX397NP HSE-S7F4V30 11,50 11,50 1,096
-
-
835 821 0,8 W 220-240 V~ 50/60 Hz
CA174251 HSE-S7F4V30 11,50 11,50 1,096 1,275 1,272 835 821 0,8 W 220-240 V~ 50/60 Hz
CA174651 HSE-S7F4V30 11,50 11,50 1,096 1,275 1,272 835 821 0,8 W 220-240 V~ 50/60 Hz
CGE645G02 HSE-S6F4030 7,50 7,50 0,715 0,831 0,830 544 535 0,8 W 220-240 V~ 50/60 Hz
EC612PB90R HSE-S6F4030 7,50 7,50 0,715 0,831 0,830 544 535 0,8 W 220-240 V~ 50/60 Hz
G-20/20 mbar ERDGAS/ERDGAS E/
Cät II2H3B/P II2E+3-1- l2E H2H3t 2H H2BP1PÌ’:)
NATURGAS/GAS NATURAL/
pijmap 2D.SD 2Dl2S-28-3DÌ3T'2D~^3DJ37 ~2tr 2D-37~
MAAKAASU NATURGAS / 0)uoiK_O£Ciio /
EC615HB80E HSE-S6F3W30 9,05 9,05 0,862 1,003 1,001 657 646 0,8 W 220-240 V~ 50/60 Hz
DMieEICZeKiEEATemO^BGiMOCV DE ES/GBiGFVlE
NATURAL GAS / GAS METAN 0 / GAS
NATUREL/GAZ ZIEMNY
EC615PB80E HSE-S6F4030 7,50 7,50 0,715 0,831 0,830 544 535 0,8 W 220-240 V~ 50/60 Hz
G-20/G-25-20/26 mbarAARDGAS/GAZ
NATUREL LACQ
EC615PB90E HSE-S6F4030 7,50 7,50 0,715 0,831 0,830 544 535 0,8 W 220-240 V~ 50/60 Hz
EC616PB90R HSE-S6F4030 7,50 7,50 0,715 0,831 0,830 544 535 0,8 W 220-240 V~ 50/60 Hz
EC645HB80E HSE-S6F3W30 9,05 9,05 0,862 1,003 1,001 657 646 0,8 W 220-240 V~ 50/60 Hz
EC645HB90E HSE-S6F3W30 9,05 9,05 0,862 1,003 1,001 657 646 0,8 W 220-240 V~ 50/60 Hz
EC645HB90R HSE-S6F3W30 9,05 9,05 0,862 1,003 1,001 657 646 0,8 W 220-240 V~ 50/60 Hz

EC645HC90E HSE-S6F3W30 9,05 9,05 0,862 1,003 1,001 657 646 0,8 W 220-240 V~ 50/60 Hz
EC645PB80E HSE-S6F4030 7,50 7,50 0,715 0,831 0,830 544 535 0,8 W 220-240 V~ 50/60 Hz
EC645PB90E HSE-S6F4030 7,50 7,50 0,715 0,831 0,830 544 535 0,8 W 220-240 V~ 50/60 Hz
EC645PB90R HSE-S6F4030 7,50 7,50 0,715 0,831 0,830 544 535 0,8 W 220-240 V~ 50/60 Hz
EC645PT90E HSE-S6F403M 7,50 7,50 0,715 0,831 0,830 544 535 3,00 W 220-240 V~ 50/60 Hz
EC715QB80E HSE-S7F4V30 11,50 11,50 1,096 1,275 1,272 835 821 0,8 W 220-240 V~ 50/60 Hz
EC745QB80E HSE-S7F4V30 11,50 11,50 1,096 1,275 1,272 835 821 0,8 W 220-240 V~ 50/60 Hz
EC745QB90R HSE-S7F4V30 11,50 11,50 1,096 1,275 1,272 835 821 0,8 W 220-240 V~ 50/60 Hz
ER17362EU HSE-S7F4V30 11,50 11,50 1,096 1,275 1,272 835 821 0,8 W 220-240 V~ 50/60 Hz
JG16BB50 HSE-S6F4030 7,50 7,50 0,715 0,831 0,830 544 535 0,8 W 220-240 V~ 50/60 Hz
JG17BB50 HSE-S7F4V30 11,50 11,50 1,096 1,275 1,272 835 821 0,8 W 220-240 V~ 50/60 Hz
OA36P5180D HSE-S6F4030 7,50 7,50 0,715 0,831 0,830 544 535 0,8 W 220-240 V~ 50/60 Hz
OCA753 HSE-S7F4V30 11,50 11,50 1,096 1,275 1,272 835 821 0,8 W 220-240 V~ 50/60 Hz
PCC615B80E HSE-S6F2V30 8,00 8,00 0,762 0,887 0,885 581 571 0,8 W 220-240 V~ 50/60 Hz
PCC615B90E HSE-S6F2V30 8,00 8,00 0,762 0,887 0,885 581 571 0,8 W 220-240 V~ 50/60 Hz
PCD666DEU HSE-S6F4030 7,50 7,50 0,715 0,831 0,830 544 535 0,8 W 220-240 V~ 50/60 Hz
PCH612M90R HSE-S6F3W30 9,05 9,05 0,862 1,003 1,001 657 646 0,8 W 220-240 V~ 50/60 Hz
PCH615B80E HSE-S6F3W30 9,05 9,05 0,862 1,003 1,001 657 646 0,8 W 220-240 V~ 50/60 Hz
PCH615B90E HSE-S6F3W30 9,05 9,05 0,862 1,003 1,001 657 646 0,8 W 220-240 V~ 50/60 Hz
PCH615M90E HSE-S6F3W30 9,05 9,05 0,862 1,003 1,001 657 646 0,8 W 220-240 V~ 50/60 Hz
PCH615M90R HSE-S6F3W30 9,05 9,05 0,862 1,003 1,001 657 646 0,8 W 220-240 V~ 50/60 Hz
PCH616M90R HSE-S6F3W30 9,05 9,05 0,862 1,003 1,001 657 646 0,8 W 220-240 V~ 50/60 Hz
G-20/20 mbar ERDGAS / ERDGAS E /
NATURGAS/GAS NATURAL/
PCL766DEU HSE-S7F4V30 11,50 11,50 1,096 1,275 1,272 835 821 0,8 W 220-240 V~ 50/60 Hz
a» 20-iP l2D^i-28-3Pg7l 2DbO-3
MAAKAASU NATURGAS/®uaiK_aeaio /
iKjfLSEJMK^E'LTeiJiOJSiMOiCYT
NATU RAL GAS / GAS METANO / GAS
PCP611B90E HSE-S6F4030 7,50 7,50 0,715 0,831 0,830 544 535 0,8 W 220-240 V~ 50/60 Hz
NATUREL/GAZ ZIEMNY
PCP612B80E HSE-S6F4030 7,50 7,50 0,715 0,831 0,830 544 535 0,8 W 220-240 V~ 50/60 Hz
PCP612B90E HSE-S6F4030 7,50 7,50 0,715 0,831 0,830 544 535 0,8 W 220-240 V~ 50/60 Hz
PCP612M90E HSE-S6F4030 7,50 7,50 0,715 0,831 0,830 544 535 0,8 W 220-240 V~ 50/60 Hz
PCP615B80E HSE-S6F4030 7,50 7,50 0,715 0,831 0,830 544 535 0,8 W 220-240 V~ 50/60 Hz
PCP615B80R HSE-S6F4030 7,50 7,50 0,715 0,831 0,830 544 535 0,8 W 220-240 V~ 50/60 Hz
PCP615B90B HSE-S6F4030 7,50 7,50 0,715 0,831 0,830 544 535 0,8 W 220-240 V~ 50/60 Hz
PCP615B90E HSE-S6F4030 7,50 7,50 0,715 0,831 0,830 544 535 0,8 W 220-240 V~ 50/60 Hz
PCP615M90E HSE-S6F4030 7,50 7,50 0,715 0,831 0,830 544 535 0,8 W 220-240 V~ 50/60 Hz
PCP616B80E HSE-S6F4030 7,50 7,50 0,715 0,831 0,830 544 535 0,8 W 220-240 V~ 50/60 Hz
PCP616B90E HSE-S6F4030 7,50 7,50 0,715 0,831 0,830 544 535 0,8 W 220-240 V~ 50/60 Hz
PCP616M90E HSE-S6F4030 7,50 7,50 0,715 0,831 0,830 544 535 0,8 W 220-240 V~ 50/60 Hz
PCQ715B80E HSE-S7F4V30 11,50 11,50 1,096 1,275 1,272 835 821 0,8 W 220-240 V~ 50/60 Hz
PCQ715B90E HSE-S7F4V30 11,50 11,50 1,096 1,275 1,272 835 821 0,8 W 220-240 V~ 50/60 Hz
PCQ715M90E HSE-S7F4V30 11,50 11,50 1,096 1,275 1,272 835 821 0,8 W 220-240 V~ 50/60 Hz
PCY615B80E HSE-S6F3E30 5,75 5,75 0,548 0,637 0,636 417 410 1500 W 220-240 V~ 50/60 Hz
T22S16N0 HSE-S6F2V30 8,00 8,00 0,762 0,887 0,885 581 571 0,8 W 220-240 V~ 50/60 Hz
T22S36C0 HSE-S6F4030 7,50 7,50 0,715 0,831 0,830 544 535 0,8 W 220-240 V~ 50/60 Hz
T22S36J0 HSE-S6F4030 7,50 7,50 0,715 0,831 0,830 544 535 0,8 W 220-240 V~ 50/60 Hz
T22S36N0 HSE-S6F4030 7,50 7,50 0,715 0,831 0,830 544 535 0,8 W 220-240 V~ 50/60 Hz
T22S36N0GB HSE-S6F4030 7,50 7,50 0,715 0,831 0,830 544 535 0,8 W 220-240 V~ 50/60 Hz
T22S36S0 HSE-S6F4030 7,50 7,50 0,715 0,831 0,830 544 535 0,8 W 220-240 V~ 50/60 Hz
T22S36W0 HSE-S6F4030 7,50 7,50 0,715 0,831 0,830 544 535 0,8 W 220-240 V~ 50/60 Hz
T22S46N0 HSE-S6F3W30 9,05 9,05 0,862 1,003 1,001 657 646 0,8 W 220-240 V~ 50/60 Hz

T23R46N0 HSE-S6F3W3H 9,05 9,05 0,862 1,003 1,001 657 646 3,00 W 220-240 V~ 50/60 Hz
T23S36N0 HSE-S6F4030 7,50 7,50 0,715 0,831 0,830 544 535 0,8 W 220-240 V~ 50/60 Hz
T23S36N0GB HSE-S6F4030 7,50 7,50 0,715 0,831 0,830 544 535 0,8 W 220-240 V~ 50/60 Hz
T25S56N0 HSE-S7F4V30 11,50 11,50 1,096 1,275 1,272 835 821 0,8 W 220-240 V~ 50/60 Hz
AT BE/FR LU IT)PT LV PL
G-20/2D mbar ERDGAS / ERDGAS E /
Zai.
ll2H3B)P ll2E-i3-t- l2E II 2E3P|liI^
NATURGAS / GAS NATURAL /
T25S56N0GB HSE-S7F4V30 11,50 11,50 1,096 1,275 1,272 835 821 0,8 W 220-240 V~ 50/60 Hz
5(bba0
20-50 20/25-20-30/3720 )-30/37
2L 20-37
MAAKAASU NATURGAS/(DuoiK_a£Qio /
) M le EC SjSioee ATe iflo fl CM 0 c DE SjCB/GR/IE
NATURAL GAS / GAS METANO / GAS
T25S56S0 HSE-S7F4V30 11,50 11,50 1,096 1,275 1,272 835 821 0,8 W 220-240 V~ 50/60 Hz
Zat
II2H3B2P
bELL3B(P II2H3Í-
NATUREL/GAZ ZIEMNY
5(inBaD
20-30 20-50
20-2807
G-20/G-25-20/25 mbar AARDGAS / GAZ
NATURELLACQ
T25S76N0 HSE-S7F4N30 11,50 11,50 1,096 1,275 1,272 835 821 0,8 W 220-240 V~ 50/60 Hz
T26S56N0 HSE-S7F4V30 11,50 11,50 1,096 1,275 1,272 835 821 0,8 W 220-240 V~ 50/60 Hz
VVK26G3251 HSE-S6F4030 7,50 7,50 0,715 0,831 0,830 544 535 0,8 W 220-240 V~ 50/60 Hz
VVK27G3350 HSE-S7F4V30 11,50 11,50 1,096 1,275 1,272 835 821 0,8 W 220-240 V~ 50/60 Hz
EC715RB90E HSE-S7F4W30 12,10 12,50 1,191 1,386 1,383 878 864 0,8 W 220-240 V~ 50/60 Hz
EC745RB90E HSE-S7F4W30 12,10 12,50 1,191 1,386 1,383 878 864 0,8 W 220-240 V~ 50/60 Hz
EC745RC90E HSE-S7F4W30 12,10 12,50 1,191 1,386 1,383 878 864 0,8 W 220-240 V~ 50/60 Hz
EC745RF90E HSE-S7F4W3F 12,10 12,50 1,191 1,386 1,383 878 864 3,00 W 220-240 V~ 50/60 Hz
G-2D/20 mbar ERDGAS/ERD GAS E/
EC745RT90E HSE-S7F4W3M 12,10 12,50 1,191 1,386 1,383 878 864 3,00 W 220-240 V~ 50/60 Hz
ll2H3Eyp| IUE+3-i- I UE I II2H3+
NATURGAS /GAS NATURAL/
20;25-2S-30ß7 20 20-30Í37 20
MAAKAASU NATURGAS/ibuciiK_a£Oio/
EC745RU90E HSE-S7F4W3M 12,10 12,50 1,191 1,386 1,383 878 864 3,00 W 220-240 V~ 50/60 Hz
ESí^erORílE
NATURAL GAS/GAS METANO /GAS
IbEOBiF
ll2ELL3BiP
NATUREL/GAZ ZIEMNY
PCR715F90E HSE-S7F4W3F 12,10 12,50 1,191 1,386 1,383 878 864 3,00 W 220-240 V~ 50/60 Hz
20-37
20-50
G-20/G-25-20/25 mbar AARDGAS / GAZ
NATUREL LACQ
PCR715M90E HSE-S7F4W30 12,10 12,50 1,191 1,386 1,383 878 864 0,8 W 220-240 V~ 50/60 Hz
PCS815B90E HSE-S7F4L30 12,10 12,50 1,191 1,386 1,383 878 864 0,8 W 220-240 V~ 50/60 Hz
PCS815M90E HSE-S7F4L30 12,10 12,50 1,191 1,386 1,383 878 864 0,8 W 220-240 V~ 50/60 Hz
T26R66N0 HSE-S7F4W3H 12,10 12,50 1,191 1,386 1,383 878 864 3,00 W 220-240 V~ 50/60 Hz
T26R86N0 HSE-S7F4L3H 12,10 12,50 1,191 1,386 1,383 878 864 3,00 W 220-240 V~ 50/60 Hz
AT BE/FR ES)GR IT)PT LU PL
G-20/20 mbar ERDGAS/ERDGAS E /
Zat
NATURGAS/GAS NATURAL/
II 2H3b;p II2E+3+ II2H3+ ll2H3-f l2E I2E3B/P
DitnCari 20-SQ JDflä-28-30/3720-2873720-30737VII 20-37
MAAKAASU NATURGAS/®uoiK_os:ciio /
NATURAL GAS / GAS METANO / GAS
NATUREL/GAZ ZIEMNY
EC645PB90D HSE-S6F4030 7,50 7,50 0,715 0,831 0,830 544 535 0,8 W 220-240 V~ 50/60 Hz
G-20/G-25-20/25 mbar AARDGAS / GAZ
NATUREL LACQ
G-20C0 mbar ERDGAS iERDGAS E /
NATURG3ÌS > GAS NATURAL >
EC745RB90D HSE-S7F4W30 12,10 12,50 1,191 1,386 1,383 878 864 0,8 W 220-240 V~ 50/60 Hz
20)25-28-30f37 20 20-30Q7 20
MAAKAASU NATURGAS > 3iuoiK_aiCilci >
_ D№l'SE/CZ'SK^E/LTy?IJ;0)EC)l-IO/CV _
MATURALGAS/GAS metano; GAS
NATUREL/GAZ ZIEMNY
EC745RF90D HSE-S7F4W3F 12,10 12,50 1,191 1,386 1,383 878 864 3,00 W 220-240 V~ 50/60 Hz
. GellsbiP II2H3-I-
20-50 20-2SJ37
0-20/3-25-20/25 mbar AARDGAS /GAZ
NATURELLACQ
PCS815C90D HSE-S7F4L30 12,10 12,50 1,191 1,386 1,383 878 864 0,8 W 220-240 V~ 50/60 Hz

GAS mbar
®1
Qn (kW) тЗ/h g/h
«i
G20 20 72 1 0,095
-
27
G20 25 68 1 0,095
-
27
G25 20 73 1 0,111
-
27
G25 25 72 1 0,111
-
27
О
G25.1 25 72 1 0,111
-
27
G30 29 50 1
-
73 27
G30 37 48 1
-
73 27
G30 50 43 1
-
73 24
G31 37 50 1
-
71 27
G20 20 100 1,75 0,167
-
30
G20 25 91 1,75 0,167
-
30
G25 20 100 1,75 0,194
-
30
G25 25 98 1,75 0,194
-
30
G25.1 25 98 1,75 0,194
-
30
0
G30 29 67 1,75
-
127 30
G30 37 63 1,75
-
127 30
G30 50 58 1,75
-
127 26
G31 37 67 1,75
-
125 30
G20 20 115 3 0,286
-
39
G20 25 110 3 0,286
-
39
G25 20 132 3 0,333
-
39
G25 25 128 3 0,333
-
39
G25.1 25 128 3 0,333
-
39
0
G30 29 85 3
-
218 39
G30 37 82 3
-
218 39
G30 50 74 3
-
218 33
G31 37 85 3
-
214 39
G20 20 134 3,3 0,314
-
55
G20 25 125 3,3 0,314
-
55
G25 20 142 3,3 0,366
-
5
G25 25 136 3,3 0,366
-
55
G25.1 25 136 3,3 0,366
-
55
G30 29 91 3,3
-
240 55
G30 37 85 3,3
-
240 55
G30 50 83 3,3
-
240 53
G31 37 91 3,3
-
236 55
G20 20 145 4 0,381
-
55
G20 25 137 4 0,381
-
55
G25 20 153 4 0,443
-
55
G25 25 148 4 0,443
-
55
G25.1 25 148 4 0,443
-
55
7
G30 29 100 4
-
290 55
G30 37 95 4
-
290 55
G30 50 91 4
-
290 53
G31 37 100 4
-
285 55
G20 20 115 5 0,476
- -
G20 20 70
- - -
27
G20 25 106 5 0,476
- -
G20 25 65
- - -
27
G25 20 128 5 0,554
- -
G25 20 74
- - -
27
G25 25 117 5 0,554
- -
G25 25 71
- - -
27
G25.1 25 117 5 0,554
- -
G25 25 71
- - -
27
G30 29 71 4,6
-
334
-
G30 29 46
- -
27
*
G30 37 67 4,6
-
334
-
G30 37 46
- -
27
G30 50 63 4,6
-
334
-
G30 50 41
- - -
25
G31 37 71 4,6
-
328
-
G31 37 46
- -
27
G20 20 118 2,7 0,257
-
53
G20 25 112 2,7 0,257
-
53
G25 20 129 2,7 0,299
-
53
G25 25 121 2,7 0,299
-
53
G25.1 25 121 2,7 0,299
-
53
G30 29 81 2,7
-
196 53
G30 37 76 2,7
-
196 53
1
G30 50 76 2,7
-
196 49
G31 37 81 2,7
-
193 53
G20/20 G20/25 G25/20 G25/25 G25.1/25 G30/29
G30/37
G30/50
G31/37
G20/20
D D D D A A C A
G20/25
D D D D A A C A
G25/20
D D D D A A c A
G25/25
D D D D A A c A
G25.1/25
D D D D A A c A
G30/29
В B B B B D c D
G30/37 В B B B B D c D
G30/50
С C C C C C C C
G31/37 В B B B B D D c
- 19-

