Bosch DKE 635 A: инструкция
Характеристики, спецификации
Инструкция к Кухонной Вытяжке Bosch DKE 635 A

B
RUS
Инструкция по эксплуатации
RUS
Инструкция по эксплуатации
Напечатано в России / февраль 2007 / 3000 / GM2638
DKE 63..
DKE 93..
b
901528

Перед чтением настоящей инструкции по эксплуатации
откройте страницу 6 с рисунками.
Описание вытяжки
Режимы работы
Обшивка
Такое пониженное давление воздуха мож
вытяжной трубы
но обеспечить, если воздух при сгорании
топлива может выводиться из помещения
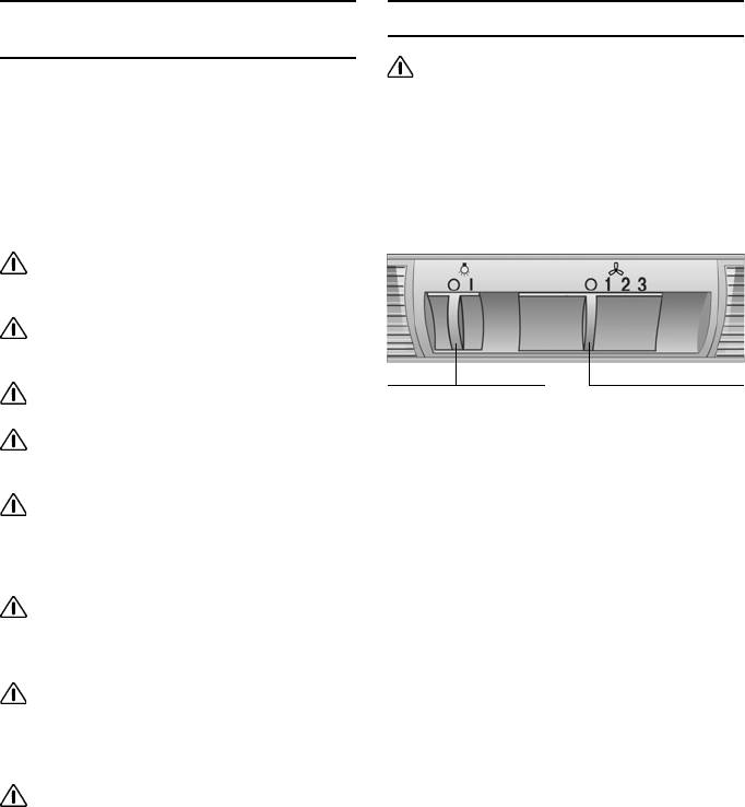
Переключатели
через незакрытые отверстия, например,
освещения/вентилятора
через двери, окна, настенные вентиляцион
ные шкафы или с использованием других
технических методов, например, взаимной
блокировки и т.д.
Применение только настенного вентиляци
онного шкафа не гарантирует, что предель
ное значение пониженного давления возду
ха не будет превышено.
Примечание. При оценке давления воздуха
Решетка фильтра Освещение
следует учитывать всю систему вентиляции,
которая имеется в здании. Однако это прави
ло не применяется при использовании обо
Режимы работы
рудования для приготовления пищи, напри
мер, варочных панелей и газовых плит.
Режим отвода воздуха:
При обеспечении отвода воздуха необходи
мо придерживаться правил, установленных
Вентилятор вытяжки всасывает кухон
местными административными органами.
ные испарения, появляющиеся во вре
мя приготовления пищи, и удаляет их за
Если вытяжка используется в режиме цир
пределы помещения через жиропогло
куляции воздуха (с угольным фильтром),
щающий фильтр.
эксплуатация возможна без какихлибо ог
Жиропоглощающий фильтр поглощает
раничений.
частицы жира, которые содержатся в ку
Режим циркуляции воздуха:
хонных испарениях, появляющихся во
время приготовления пищи.
Этот режим требует установки угольно
Кухня почти полностью освобождается
го фильтра (см. раздел «Фильтры и их
от жиров и запахов.
техническое обслуживание»).
Если вытяжка в режиме отвода воздуха
Полный комплект для монтажа и
работает одновременно с отопительным
фильтры для замены можно приобрес
оборудованием, которое пользуется вы
ти в специализированном магазине.
тяжными трубами (например, отопительные
Соответствующие номера принадлеж
системы, проточные водонагреватели или
ностей можно найти на стр. 5.
котлы, которые работают на газе, жидком или
Вентилятор вытяжки всасывает кухон
твердом топливе), необходимо обеспе
ные испарения, которые проходят через
чить достаточную подачу воздуха для
жиропоглощающий фильтр и угольный
сгорания топлива.
фильтр. После этого очищенный воздух
По соображениям безопасности требуется,
возвращается на кухню.
чтобы в помещении, где установлено отопи
Жиропоглощающий фильтр поглощает
тельное и нагревательное оборудование с
частицы жира, которые могут содер
открытым огнем, давление воздуха по срав
жаться в кухонных испарениях.
нению с атмосферным было понижено не
Угольный фильтр поглощает имеющие
более чем на 4 Па (0,04 мбар).
ся запахи.
Информация для предварительного ознакомления. Официальной информацией изготовителя не является.
1

Перед первым
Управление вытяжкой
использованием вытяжки
Самым эффективным способом удале
Важные указания:
ния кухонных испарений, образующихся при
приготовлении пищи, является следующий
Эта вытяжка соответствует применимым
способ:
правилам техники безопасности.
Ремонт вытяжки должен выполняться толь
Включите вытяжку сразу же, как толь
ко квалифицированным персоналом.
ко Вы начинаете готовить.
Неправильный ремонт вытяжки может
Выключите вытяжку через несколько
привести к возникновению серьезной
минут после того, как Вы закончите го
опасности для пользователя.
товить.
Подключение и ввод в эксплуатацию
вытяжки должен выполнять только квалифи
цированный специалист.
Утилизацию упаковочного материала
следует проводить правильным образом
(см. инструкцию по монтажу).
Эксплуатируйте вытяжку только с уста
Выключение/включение
Настройка вентилятора
новленными лампами.
освещения
Никогда не эксплуатируйте вытяжку без
установленного жиропоглощающего филь
Включение:
тра.
Сдвиньте правый движковый регулятор
в положение, соответствующее требуе
Перегретые жир и масло легко воспла
мой настройке вентилятора.
меняются. Поэтому всегда тщательно конт
ролируйте процесс приготовления блюд с
использованием жира или масла, напри
Выключение:
мер, картофеля фри.
Сдвиньте правый движковый регулятор
назад в положение «0».
Не стерилизуйте продукты питания пла
менем непосредственно под вытяжкой.
Освещение:
Опасность воспламенения жиропогло
Освещение можно включить в любой
!
щающего фильтра изза пламени.
момент, даже когда вентилятор выклю
Эксплуатация вытяжки над очагом, в ко
чен.
тором сгорает твердое топливо (уголь, де
рево и т.д.), разрешается только в ограни
ченных случаях (см. инструкцию по монта
жу).
Всегда правильно эксплуатируйте газо
вые варочные панели.
Важное замечание:
Пламя газовых варочных панелей всегда
должно быть закрыто посудой.
Сильный нагрев пламенем газовых кон
!
форок может повредить вытяжку.
2
Информация для предварительного ознакомления. Официальной информацией изготовителя не является.

Фильтры и их техническое обслуживание
Жиропоглощающие фильтры:
Угольный фильтр:
Металлические фильтры используются
Угольный фильтр предназначен для ус
для поглощения частиц жира в кухонных
транения запахов в режиме циркуляции
испарениях, образующихся при приго
воздуха.
товлении пищи.
Установка фильтра:
Фильтрующие прокладки выполнены из не
1. Снимите металлические жиропоглоща
воспламеняющегося металла.
ющие фильтры (см. раздел «Снятие и ус
Внимание:
тановка металлических жиропоглощаю
По мере насыщения фильтра остатками жи
щих фильтров»).
ров не только увеличивается риск воспла
2. Вставьте угольный фильтр справа и сле
менения, но это может также оказывать от
ва от двигателя вентилятора и поверни
рицательное воздействие на работу вытяж
те фильтры, так чтобы они сели на мес
ки.
то (рис. 2).
Важное замечание:
3. Установите металлические жиропогло
щающие фильтры (см. раздел «Снятие
Своевременная чистка металлических жи
и установка металлических жиропогло
ропоглощающих фильтров снижает вероят
щающих фильтров»).
ность воспламенения, которое возможно
изза нагрева при жарении в большом ко
Снятие фильтра:
личестве жира.
Фильтры снимаются в обратной последова
Чистка металлических
тельности.
жиропоглощающих фильтров:
Замена угольного фильтра:
При нормальной эксплуатации (от одно
При нормальной эксплуатации (от одно
го до двух часов ежедневно) металли
го до двух часов ежедневно) угольный
ческий жиропоглощающий фильтр сле
фильтр следует заменять примерно
дует чистить каждые 810 недель.
один раз в год.
Фильтры можно мыть в посудомоечной
Угольный фильтр можно приобрести в
машине. Однако это может привести к
специализированных магазинах (см. до
незначительному изменению окраски
полнительные принадлежности, стр. 5).
фильтров.
Используйте только фильтры нашей
Важное замечание:
фирмы. В этом случае Вы сможете обес
Сильно загрязненные металлические
печить оптимальную работу вытяжки.
жиропоглощающие фильтры никогда не
мойте в посудомоечной машине вмес
Утилизация старого угольного
те с посудой.
фильтра:
При ручной мойке фильтров сначала за
Угольные фильтры не содержат вредных
мочите их в горячей мыльной воде. За
веществ. Их можно утилизировать как
тем очистите фильтры щеткой, тщатель
обычный домашний мусор.
но прополощите их и дайте воде стечь.
Снятие и установка металлических
жиропоглощающих фильтров:
1. Нажмите на защелку на жиропоглоща
ющих фильтрах в направлении стрелки
и потяните фильтры вниз (рис. 1).
2. Проведите чистку фильтров.
3. Установите очищенные фильтры на ме
сто в вытяжку.
Информация для предварительного ознакомления. Официальной информацией изготовителя не является.
3

Чистка и уход Замена ламп
Выключите электропитание вытяжки,
1. Выключите вытяжку и отключите ее от
для чего отсоедините вилку от сетевой
сети путем отсоединения вилки от сете
розетки или выключите предохранитель.
вой розетки или выключения предохра
нителя.
Одновременно с чисткой жиропоглоща
ющего фильтра проводите чистку всех
2. Снимите жиропоглощающие фильтры
доступных деталей корпуса от имею
(см. раздел «Фильтры и их техническое
щихся отложений жира. Это значитель
обслуживание»).
но снижает опасность воспламенения и
3. Нажмите на плафон лампы и снимите
гарантирует оптимальную работу вы
его с планки для освещения (рис. 3).
тяжки.
4. Замените лампу (имеющаяся в прода
Для чистки вытяжки пользуйтесь горя
же свечеобразная лампа накаливания,
чей мыльной водой или мягким сред
максимум 40 Вт, цоколь Е14) (рис. 4).
ством для чистки окон.
5. Поставьте на место плафон лампы.
Не соскребайте присохшую грязь, а раз
6. Поставьте на место жиропоглощающие
мягчайте ее влажной тряпкой.
фильтры.
Никогда не пользуйтесь абразивными
7. Подключите опять вилку к сетевой ро
чистящими средствами или губками, ко
зетке или включите предохранитель.
торые могут поцарапать поверхность.
Примечание. Никогда не чистите спир
том пластмассовые поверхности, так
поверхность может стать матовой.
Неисправности
Предостережение. Достаточно часто
проветривайте кухню, никогда не остав
Если у Вас имеются какиелибо вопросы или
ляйте открытое пламя!
если появилась неисправность, обращай
тесь в Сервисную службу (см. перечень ма
Чистите движковый регулятор только
стерских Сервисной службы).
мягкой влажной тряпкой (смоченной в сла
бом растворе моющего средства). Не ис
При телефонном звонке, пожалуйста, сооб
пользуйте для чистки движкового регулято
щите следующие сведения:
ра средство для чистки нержавеющей стали.
ENr. FD
Поверхности из нержавеющей стали:
Используйте мягкое неабразивное
Впишите эти номера в вышеуказанных ме
средство для чистки поверхностей из
стах. Номера ENr. (номер изделия) и FD (за
нержавеющей стали.
водской номер) Вы найдете на табличке с
техническими характеристиками внутри Ва
Чистите только в направлении шли
шей вытяжки после того, как снимете жиро
фовки.
поглощающий фильтр.
Для чистки поверхностей из нержавею
щей стали не применяйте следующие сред
ства: абразивные губки, чистящие вещества
с содержанием песка, соды, кислот или хло
ридов!
4
Информация для предварительного ознакомления. Официальной информацией изготовителя не является.

DHZ 5145
353121
90 см: DHZ 9055
60 см: DHZ 6055
90 см: DHZ 9550
60 см: DHZ 6550
265171
Информация для предварительного ознакомления. Официальной информацией изготовителя не является.
5

Рис. 1
Рис. 2
Рис. 3 Рис. 4
6
Информация для предварительного ознакомления. Официальной информацией изготовителя не является.

Перед чтением настоящей инструкции по монтажу
откройте страницы 1114 с рисунками.
Инструкция по монтажу
Важная информация:
Установка вытяжки над газовой вароч
ной панелью или плитой на минимальном
Старая вытяжка не является совершен
расстоянии 650 мм (рис. 1) разрешается
но ненужным мусором. Она содержит цен
только в том случае, если не превышаются
ные материалы, которые могут быть вторич
следующие значения номинальной тепло
но использованы при утилизации с учетом
вой нагрузки (Hs):
требований охраны окружающей среды.
Газовые плиты
Перед тем, как отправлять на утилизацию
Тепловая нагрузка
старую вытяжку, приведите ее в неработос
одной конфорки: макс. 3,0 кВт
пособное состояние.
всех конфорок: макс. 8,3 кВт
Ваша новая вытяжка защищена соответ
духовки: макс. 3,9 кВт
ствующей упаковкой на время транспорти
Панели газовых конфорок
ровки. Все материалы, которые использо
Тепловая нагрузка
ваны для этой цели, не наносят вреда окру
одной конфорки: макс. 3,9 кВт
жающей среде и могут быть переработаны
всех конфорок: макс. 11,3 кВт
для вторичного использования. Пожалуй
Газовые стеклокерамические
ста, сделайте свой вклад в охрану окружа
варочные панели
ющей среды, отправив этот материал для
Информация по номинальной тепловой
упаковки на переработку с учетом требова
нагрузке не относится к закрытым газо
ний охраны окружающей среды.
вым стеклокерамическим варочным па
Самые последние сведения относительно
нелям. Соблюдайте указания, которые
возможностей по утилизации Вашей старой
дает изготовитель варочных панелей.
вытяжки и упаковки новой вытяжки Вы мо
Плиты на твердом топливе
жете получить в той организации, где Вы
Максимальная номинальная тепловая
приобрели вытяжку, или в местных админи
нагрузка и минимальное расстояние до
стративных органах.
плиты такие же, как и для газовых плит.
Вытяжка предназначена для использо
вания в режиме отвода воздуха или в режи
ме циркуляции воздуха.
Чем меньше расстояние между вытяж
кой и варочной панелью, тем выше вероят
Всегда устанавливайте вытяжку над
ность конденсации поднимающихся паров
центральной частью варочной панели.
на вытяжке.
Минимальное расстояние между элек
Над очагом, в котором сгорает твердое
трической варочной панелью и нижним кра
топливо, вследствие потенциальной пожар
ем вытяжки – 550 мм (рис. 1).
ной опасности (изза разлетающихся искр)
устанавливать вытяжку разрешается только
Дополнительные инструкции в случае
в том случае, если очаг имеет закрытое
использования газовых плит:
несъемное укрытие и соблюдаются все
Во всех случаях следует соблюдать со
правила, которые действуют в каждой конк
ответствующие правила и указания по уста
ретной стране. Это ограничение не относит
новке, которые даются изготовителем газо
ся к газовым плитам и газовым варочным па
вой плиты.
нелям.
Вытяжку разрешается устанавливать
таким образом, чтобы только с одной ее сто
роны располагались высокий шкаф или вы
сокая стена. При этом расстояние до этого
шкафа или до этой стены должно быть не
менее 50 мм.
Информация для предварительного ознакомления. Официальной информацией изготовителя не является.
7

Инструкция по монтажу
Перед монтажом:
Если вытяжка используется в режиме цир
куляции воздуха (с угольным фильтром), эк
Режим отвода воздуха
(рис. 2)
сплуатация возможна без какихлибо огра
Отводимый воздух подается вверх через
ничений.
вентиляционный ствол или непосредствен
В случае работы вытяжки в режиме отвода
но через наружную стену за пределы поме
воздуха, внутри вытяжки следует установить
щения.
обратный клапан, если он уже не установлен
Отводимый воздух нельзя выводить через
в вытяжной трубе или в воздуховоде (рис. 3).
дымоход, который используется для других
Если обратный клапан не входит в комплект
целей, или в ствол, используемый для вен
вытяжки, его можно приобрести в специали
тиляции помещений, в которых также уста
зированном магазине.
новлены печи или камины.
Установка обратного клапана:
Следует получить разрешение соответству
Вставьте обратный клапан в воздуховод
ющих администартивных органов при отво
(рис. 3).
де воздуха через дымоход, который не экс
плуатируется.
Должна быть возможность сдвигать
Если вытяжка в режиме отвода воздуха
вверх два клапана с небольшим подпружи
работает одновременно с отопительным
ниванием.
оборудованием, которое пользуется вы
Если отводимый воздух удаляется через
тяжными трубами (например, отопительные
наружную стену, следует установить теле
системы, проточные водонагреватели или
скопический воздуховод в наружной стене.
котлы, которые работают на газе, жидком или
твердом топливе), необходимо обеспечить
Соединение между вытяжкой и
подачу воздуха в объеме, достаточном для
телескопическим воздуховодом:
сгорания топлива.
Подсоединяйте вытяжку к телескопи
По соображениям безопасности требуется,
ческому воздуховоду с помощью гибко
чтобы в помещении, где установлено ото
го шланга или вытяжной трубы.
пительное и нагревательное оборудование
с открытым огнем, давление воздуха по
Оптимальная эффективность вытяжки
сравнению с атмосферным было понижено
обеспечивается при выполнении
не более чем на 4 Па (0,04 мбар).
следующих условий:
Такое пониженное давление воздуха мож
Использование коротких и гладких вы
но обеспечить, если воздух при сгорании
тяжных труб без резких изгибов.
топлива может выводиться из помещения
Обеспечение минимального количества
через незакрытые отверстия, например,
колен.
через двери, окна, настенные вентиляцион
Использование труб с насколько воз
ные шкафы или с использованием других
можно большими внутренними диамет
технических методов, например, взаимной
рами, а также использование колен труб
блокировки и т.д.
с большим радиусом.
Применение только настенного вентиляци
Круглые трубы:
онного шкафа не гарантирует, что предель
Мы рекомендуем внутренний диаметр
ное значение пониженного давления возду
125 мм (минимальный внутренний ди
ха не будет превышено.
аметр 100 мм).
Примечание. При оценке давления воздуха
Трубы прямоугольного сечения дол
следует учитывать всю систему вентиляции,
жны иметь площадь внутреннего сече
которая имеется в здании. Однако это пра
ния, равную площади внутреннего сече
вило не применяется при использовании
ния соответствующих круглых труб.
оборудования для приготовления пищи, на
В случае труб с внутренним диаметром
пример, варочных панелей и газовых плит.
100 мм площадь внутреннего сечения
При обеспечении отвода воздуха необходи
составляет примерно 78 см
2
.
мо придерживаться правил, установленных
В случае труб с внутренним диаметром
местными административными органами.
125 мм площадь внутреннего сечения
2
составляет примерно 113 см
.
8
Информация для предварительного ознакомления. Официальной информацией изготовителя не является.

Инструкция по монтажу
Если трубы имеют различные диа
Электрическое подключение
метры: используйте герметизирующую
ленту.
Вытяжку следует подключать только к ро
В случае эксплуатации вытяжки в режи
зетке с контактом заземления, установлен
ме отвода воздуха обеспечивайте до
ной согласно действующим правилам.
статочное поступление свежего воздуха.
По возможности розетку с контактом зазем
ления следует располагать непосредствен
но за обшивкой вытяжной трубы (рис. 6).
Подсоединение к вытяжной трубе
диаметром 125 мм:
Электрические характеристики:
Установите вытяжную трубу непосред
ственно в выходном отверстии вытяжки.
Их можно найти на табличке с технически
ми характеристиками, которая располагает
ся внутри вытяжки за решеткой фильтра.
Подсоединение к вытяжной трубе
диаметром 100 мм:
В случае ремонта всегда отсоединяй
те вытяжку от электрической сети.
Установите переходник для сужения ка
нала в выходном отверстии (входит в
Длина соединительных проводов: 1,30 м.
комплект поставки или приобретается в
специализированном магазине) (рис. 4)
В случае необходимости
и затем прикрепите вытяжную трубу к
фиксированного подключения к сети:
этому переходнику.
Вытяжка должна подключаться к электро
питанию только квалифицированным элек
триком.
Режим циркуляции воздуха (рис. 5)
Со стороны сети электропитания должно
быть установлено размыкающее устрой
С угольным фильтром. Применяется,
ство. В качестве размыкающего устройства
если нет возможности использовать ре
следует использовать переключатель с ми
жим отвода воздуха.
нимальным расстоянием между контакта
ми 3 мм. К числу таких переключателей от
Полный комплект для монтажа и филь
носятся автоматические выключатели или
тры для замены можно приобрести в спе
контакторы.
циализированном магазине. Соответ
ствующие номера принадлежностей можно
Если соединительный кабель вытяжки
найти в инструкции по эксплуатации.
поврежден, для предотвращения серьезных
травм пользователя его замену должны осу
Подготовка стены
ществлять изготовитель, Служба сервиса
Стена должна быть ровной и вертикаль
или квалифицированный специалист.
ной.
Данное оборудование соответствует требо
Для прочной опоры используйте дю
ваниям правил Европейского Сообщества
бели.
по подавлению радиопомех.
Вес (кг):
Режим Режим
отвода циркуляции
воздуха воздуха
60 см 12,5 13,5
90 см 13,9 14,9
Оставляем за собой право на конструктивные изме
нения в целях технического усовершенствования.
Информация для предварительного ознакомления. Официальной информацией изготовителя не является.
9

Инструкция по монтажу
Монтаж вытяжки
10.Подключите вытяжку к электропитанию.
Данная вытяжка предназначена для монта
11.Модель из нержавеющей стали:
жа на стене кухни.
Снимите защитную пленку с двух
1. Начертите линию на стене от потолка до
воздуховодов.
нижнего края вытяжки в центре того ме
Будьте осторожны и не повредите
ста, в котором предполагается устано
поверхности из нержавеющей стали, ко
вить вытяжку (рис. 6).
торые легко поцарапать.
2. Используйте шаблон для маркировки
12. Привинтите верхний воздуховод с боко
точек на стене, в которых будут установ
вых сторон к скобе крепления двумя ко
лены винты (рис. 6).
роткими винтами (рис. 9).
Обеспечьте минимальное расстояние
13. Установите нижний воздуховод на вы
между варочной панелью и вытяжкой 550 мм
тяжку и привинтите вытяжку к воздухо
для электрической варочной панели и 650 мм
воду снизу двумя длинными винтами
для газовой варочной панели. Нижний край
(рис. 10).
шаблона располагается на уровне нижнего
Чтобы защитить от царапин верх
края вытяжки.
ний воздуховод, когда он надевается на
3. Просверлите 5 отверстий (∅ 8 мм) для
нижний воздуховод, закройте верхний
вытяжки и 4 отверстия (∅ 8 мм) для скоб,
край нижнего воздуховода шаблоном,
которые крепят воздуховоды, и вставь
использовавшимся для маркировки
те дюбели в отверстия таким образом,
стены, или другим защитным материа
чтобы они были заподлицо со стеной
лом (рис. 10).
(рис. 6).
Затем привинтите воздуховод с боковых
Примечание. Если предполагается устано
сторон к скобе крепления двумя корот
вить какиелибо специальные принадлеж
кими винтами (рис. 10).
ности, это следует учесть.
Перед тем, как затягивать 2 вин
4. Привинтите 2 скобы для крепления вер
та, выровняйте воздуховод.
хнего и нижнего воздуховодов (рис. 7).
14. Установите на место жиропоглощаю
5. Ввинтите средний винт (без шайбы) для
щий фильтр (см. инструкцию по эксплу
помощи в креплении вытяжки на стене
атации).
так, чтобы винт выступал примерно на
5 мм (рис. 7).
6. Снимите жиропоглощающий фильтр
(см. инструкцию по эксплуатации).
7. Подвесьте вытяжку на винт, установлен
ный в стене (рис. 7).
8. Ввинтите другие четыре винта с шайба
ми (рис. 8).
Перед тем, как затягивать 4 винта,
выровняйте вытяжку.
9. Подсоедините трубу для отвода воздуха.
10
Информация для предварительного ознакомления. Официальной информацией изготовителя не является.

Рис. 1
ГАЗОВАЯ
ЭЛЕКТРО$
ПЛИТА
ПЛИТА
мин.
мин.
650
550
Информация для предварительного ознакомления. Официальной информацией изготовителя не является.
11

Рис. 2
Рис. 3 Рис. 5Рис. 4
12
Информация для предварительного ознакомления. Официальной информацией изготовителя не является.

Рис. 6
Режим
мин. 55
отвода воздуха
макс. 1080
мин. 793
мин. 550 до электроплиты
мин. 650 до газовой плиты
Рис. 6
Режим
циркуляции
воздуха
макс. 1080
мин. 813
мин. 550 до электроплиты
мин. 650 до газовой плиты
Информация для предварительного ознакомления. Официальной информацией изготовителя не является.
13

Рис. 7 Рис. 8
~5 мм
Рис. 9
Рис. 10
14
Информация для предварительного ознакомления. Официальной информацией изготовителя не является.











