Bosch GIM 60 L Professional: инструкция
Раздел: Инструмент, электроинструмент, силовая техника
Тип:
Инструкция к Bosch GIM 60 L Professional

Robert Bosch GmbH
Power Tools Division
70745 Leinfelden-Echterdingen
Germany
www.bosch-pt.com
1 618 C00 62X (2012.08) T / 223 XXX
al
GIM
60
L
al
GIM
60
L
Prof
Prof
ession
ession
GIM 60 L
Professional
GIM 60 L Professional
de Originalbetriebsanleitung
ro Instrucţiuni originale
en Original instructions
bg Îðèãèíàëíà èíñòðóêöèÿ
fr Notice originale
sr Originalno uputstvo za rad
es Manual original
sl Izvirna navodila
pt Manual original
hr Originalne upute za rad
it Istruzioni originali
et Algupärane kasutusjuhend
nl Oorspronkelijke
lv Instrukcijas oriģinālvalodā
gebruiksaanwijzing
lt Originali instrukcija
da Original brugsanvisning
ja
オリジナル取扱説明書
sv Bruksanvisning i original
cn 正本使用说明书
no Original driftsinstruks
tw 正本使用說明書
fi Alkuperäiset ohjeet
ko 사용 설명서 원본
el Ðñùôüôõðï ïäçãéþí ÷ñÞóçò
ar
tr Orijinal işletme talimat
fa
pl Instrukcja oryginalna
cs Původní návod k používání
sk Pôvodný návod na použitie
hu Eredeti használati utasítás
ru Îðèãèíàëüíîå ðóêîâîäñòâî
ïî ýêñïëóàòàöèè
uk Îðèã³íàëüíà ³íñòðóêö³ÿ ç
åêñïëóàòàö³¿
ΕΎϤϴϠόΗϞϴϐθΘϟΔϴϠλϷ
OBJ_BUCH-1628-001.book Page 1 Thursday, August 16, 2012 12:44 PM
Ϡλ έΎ ίήσ ΎϤϨϫέ

2 |
Deutsch . . . . . . . . . . . . . . . . . . . . . . . . . . . . . . . . . . . . . . . . Seite 7
English . . . . . . . . . . . . . . . . . . . . . . . . . . . . . . . . . . . . . . . . . . Page 13
Français . . . . . . . . . . . . . . . . . . . . . . . . . . . . . . . . . . . . . . . . . Page 22
Español . . . . . . . . . . . . . . . . . . . . . . . . . . . . . . . . . . . . . . . Página 28
Português. . . . . . . . . . . . . . . . . . . . . . . . . . . . . . . . . . . . . . Página 35
Italiano . . . . . . . . . . . . . . . . . . . . . . . . . . . . . . . . . . . . . . . . Pagina 42
Nederlands . . . . . . . . . . . . . . . . . . . . . . . . . . . . . . . . . . . . Pagina 49
Dansk . . . . . . . . . . . . . . . . . . . . . . . . . . . . . . . . . . . . . . . . . . . Side 56
Svenska . . . . . . . . . . . . . . . . . . . . . . . . . . . . . . . . . . . . . . . . . Sida 62
Norsk . . . . . . . . . . . . . . . . . . . . . . . . . . . . . . . . . . . . . . . . . . . Side 67
Suomi. . . . . . . . . . . . . . . . . . . . . . . . . . . . . . . . . . . . . . . . . . . Sivu 73
ÅëëçíéêÜ. . . . . . . . . . . . . . . . . . . . . . . . . . . . . . . . . . . . . . . Óåëßäá 79
Türkçe . . . . . . . . . . . . . . . . . . . . . . . . . . . . . . . . . . . . . . . . . Sayfa 86
Polski . . . . . . . . . . . . . . . . . . . . . . . . . . . . . . . . . . . . . . . . . Strona 93
Česky . . . . . . . . . . . . . . . . . . . . . . . . . . . . . . . . . . . . . . . . . .Strana 100
Slovensky. . . . . . . . . . . . . . . . . . . . . . . . . . . . . . . . . . . . . . Strana 106
Magyar . . . . . . . . . . . . . . . . . . . . . . . . . . . . . . . . . . . . . . . . . Oldal 113
Ðóññêèé . . . . . . . . . . . . . . . . . . . . . . . . . . . . . . . . . . . . Ñòðàíèöà 119
Óêðà¿íñüêà. . . . . . . . . . . . . . . . . . . . . . . . . . . . . . . . . . . Ñòîð³íêà 127
Română . . . . . . . . . . . . . . . . . . . . . . . . . . . . . . . . . . . . . . . Pagina 134
Áúëãàðñêè . . . . . . . . . . . . . . . . . . . . . . . . . . . . . . . . . . Ñòðàíèöà 140
Srpski. . . . . . . . . . . . . . . . . . . . . . . . . . . . . . . . . . . . . . . . . Strana 147
Slovensko . . . . . . . . . . . . . . . . . . . . . . . . . . . . . . . . . . . . . . Stran 153
Hrvatski . . . . . . . . . . . . . . . . . . . . . . . . . . . . . . . . . . . . . . Stranica 159
Eesti . . . . . . . . . . . . . . . . . . . . . . . . . . . . . . . . . . . . . . . . Lehekülg 165
Latviešu . . . . . . . . . . . . . . . . . . . . . . . . . . . . . . . . . . . . . Lappuse 171
Lietuviškai . . . . . . . . . . . . . . . . . . . . . . . . . . . . . . . . . . . . Puslapis 178
日本語 . . . . . . . . . . . . . . . . . . . . . . . . . . . . . . . . . . . . . . . ページ 184
中文 . . . . . . . . . . . . . . . . . . . . . . . . . . . . . . . . . . . . . . . . . . . . . . 页 192
中文 . . . . . . . . . . . . . . . . . . . . . . . . . . . . . . . . . . . . . . . . . . . . . . 頁 198
한국어 . . . . . . . . . . . . . . . . . . . . . . . . . . . . . . . . . . . . . . . . . . . . 면 204
. . . . . . . . . . . . . . . . . . . . . . . . . . . . . . . . . . . . . . . . 210
. . . . . . . . . . . . . . . . . . . . . . . . . . . . . . . . . . . . . . . 216
1 618 C00 62X | (16.8.12) Bosch Power Tools
vv
vv
cc
cc
ΔΤϔλ
vÝ—U
ϪΤϔλ
OBJ_BUCH-1628-001.book Page 2 Thursday, August 16, 2012 12:46 PM

3 |
1 618 C00 62X | (16.8.12) Bosch Power Tools
a
bcde f a
1
23456
13
12
GIM 60 L
11
l
l
G
G
GIM 60 L
I
M
I
M
6
6
0
L
0
L
Prof
Prof
Professional
es
es
siona
siona
14
10
15
9
8
16
15
7
14
15
14
17
14
18
16
14
19
24 mm
23
22
2021
24
26
BS 150
25
0 601 096 974
A
OBJ_BUCH-1628-001.book Page 3 Thursday, August 16, 2012 12:46 PM

4 |
1 618 C00 62X | (16.8.12) Bosch Power Tools
B
10
9
8
G
G
GIM 60 L
I
M
I
M
60 L
60 L
Prof
Prof
Professional
es
es
sional
sional
16
17
C
25
G
GIM 60 L
IM 6
0
L
25
Pro
Professional
f
e
s
si
o
n
al
15
15
Pro
Professional
f
e
s
si
o
n
al
G
GIM 60 L
IM 6
0
L
25
25
D
OBJ_BUCH-1628-001.book Page 4 Thursday, August 16, 2012 12:46 PM

5 |
1 618 C00 62X | (16.8.12) Bosch Power Tools
E
ON
10 s
CAL
2 s
180°
10 s
CAL
180°
10 s
CAL
2 s
180°
10 s
CAL
✓
OBJ_BUCH-1628-001.book Page 5 Thursday, August 16, 2012 12:46 PM

6 |
1 618 C00 62X | (16.8.12) Bosch Power Tools
F
180°
ON
10 s
10 s
CAL
CAL
2 s
2 s
180°
180°
10 s
10 s
CAL
CAL
✓
OBJ_BUCH-1628-001.book Page 6 Thursday, August 16, 2012 12:46 PM

OBJ_BUCH-1628-002.book Page 7 Monday, August 27, 2012 12:22 PM
Deutsch | 7
Deutsch
Sicherheitshinweise
Sämtliche Anweisungen sind zu lesen und zu beachten,
um mit dem Messwerkzeug gefahrlos und sicher zu
arbeiten. Machen Sie Warnschilder am Messwerkzeug
niemals unkenntlich. BEWAHREN SIE DIESE ANWEISUN-
GEN GUT AUF.
f Vorsicht – wenn andere als die hier angegebenen Bedienungs- oder
Justiereinrichtungen benutzt oder andere Verfahrensweisen aus-
geführt werden, kann dies zu gefährlicher Strahlungsexposition
führen.
f Das Messwerkzeug wird mit einem Warnschild ausgeliefert (in der
Darstellung des Messwerkzeugs auf der Grafikseite mit Nummer 22
gekennzeichnet).
Laserstrahlung
Nicht in den Strahl blicken
Laser Klasse 2
IEC 60825-1:2007<1mW, 635 nm
f Ist der Text des Warnschildes nicht in Ihrer Landessprache, dann
überkleben Sie ihn vor der ersten Inbetriebnahme mit dem mitgelie-
ferten Aufkleber in Ihrer Landessprache.
f Richten Sie den Laserstrahl nicht auf Personen oder Tiere und bli-
cken Sie nicht selbst in den Laserstrahl. Dieses Messwerkzeug er-
zeugt Laserstrahlung der Laserklasse 2 gemäß IEC 60825-1. Dadurch
können Sie Personen blenden.
f Verwenden Sie die Laser-Sichtbrille nicht als Schutzbrille. Die Laser-
Sichtbrille dient zum besseren Erkennen des Laserstrahls, sie schützt je-
doch nicht vor der Laserstrahlung.
f Verwenden Sie die Laser-Sichtbrille nicht als Sonnenbrille oder im
Straßenverkehr. Die Laser-Sichtbrille bietet keinen vollständigen UV-
Schutz und vermindert die Farbwahrnehmung.
f Lassen Sie das Messwerkzeug von qualifiziertem Fachpersonal und
nur mit Original-Ersatzteilen reparieren. Damit wird sichergestellt,
dass die Sicherheit des Messwerkzeuges erhalten bleibt.
f Lassen Sie Kinder das Laser-Messwerkzeug nicht unbeaufsichtigt
benutzen. Sie könnten unbeabsichtigt Personen blenden.
f Arbeiten Sie mit dem Messwerkzeug nicht in explosionsgefährdeter
Umgebung, in der sich brennbare Flüssigkeiten, Gase oder Stäube
befinden. Im Messwerkzeug können Funken erzeugt werden, die den
Staub oder die Dämpfe entzünden.
Bringen Sie das Messwerkzeug nicht in die Nähe von
Herzschrittmachern. Durch die Magnete 14 wird ein
Feld erzeugt, das die Funktion von Herzschrittmachern
beeinträchtigen kann.
f Halten Sie das Messwerkzeug fern von magnetischen Datenträgern
und magnetisch empfindlichen Geräten. Durch die Wirkung der Mag-
nete 14 kann es zu irreversiblen Datenverlusten kommen.
Produkt- und Leistungsbeschreibung
Bitte klappen Sie die Ausklappseite mit der Darstellung des Messwerkzeugs
auf, und lassen Sie diese Seite aufgeklappt, während Sie die Betriebsanlei-
tung lesen.
Bestimmungsgemäßer Gebrauch
Das Messwerkzeug ist bestimmt zum präzisen Messen und Übertragen von
Neigungen.
Das Messwerkzeug ist für die Verwendung im Innenbereich optimiert.
Abgebildete Komponenten
Die Nummerierung der abgebildeten Komponenten bezieht sich auf die
Darstellung des Messwerkzeugs auf der Grafikseite.
1 Taste Signalton
2 Ein-Aus-Taste Neigungsmessung/Display
3 Taste Nullpunkt ändern „Alt 0°“
4 Taste Kalibrierung/Anzeigenwert erhöhen „CAL“
5 Taste Maßeinheitenwechsel/Anzeigenwert verringern
„° / % / mm/m“
6 Taste „Hold/Copy“
7 Batteriefachdeckel Neigungsmessung
8 Taste zum Ausfahren des Nivellierfußes
9 Justierschraube des Nivellierfußes
10 Schalter zum Einfahren des Nivellierfußes
11 Display
Bosch Power Tools 1 618 C00 62X | (27.8.12)

OBJ_BUCH-1628-002.book Page 8 Monday, August 27, 2012 12:22 PM
8 | Deutsch
12 Horizontallibelle
13 Vertikallibelle
14 Magnete
15 Gurtführung
16 Standfuß
17 Nivellierfuß
18 Stativaufnahme 1/4"
19 Ein-Aus-Taste Laser
20 Batteriefachdeckel Laser
21 Austrittsöffnung Laserstrahlung
22 Laser-Warnschild
23 Seriennummer
24 Schutztasche
25 Haltegurt
26 Stativ*
* Abgebildetes oder beschriebenes Zubehör gehört nicht zum Standard-Liefer-
umfang.
Anzeigenelemente
a Ausrichthilfen
b Messwert
c Anzeige Signalton
d Batteriewarnung
e Anzeige geänderter Nullpunkt
f Maßeinheit
Technische Daten
Digitaler Neigungsmesser GIM 60 L
Sachnummer
3 601 K76 300
Messbereich
0–360° (4x90°)
Messgenauigkeit
–0°/90°
± 0,05°
–1°–89°
± 0,2°
1)
Arbeitsbereich Laser
30 m
Nivelliergenauigkeit Laser
± 0,5 mm/m
Abstand Laseraustritt–Unterkante des Mess-
werkzeugs
24 mm
Laserklasse
2
Lasertyp
635 nm, <1 mW
Durchmesser Laserstrahl (bei 25 °C) ca.
– in 5 m Entfernung
3,5 mm
– in 10 m Entfernung
6mm
Betriebstemperatur
–10 °C...+50 °C
Lagertemperatur
–20 °C...+70 °C
Relative Luftfeuchte max.
90 %
Stativaufnahme
1/4"
Batterien
– Neigungsmessung
1x9V6LR61
– Laserbetrieb
2x1,5VLR03 (AAA)
Betriebsdauer ca.
– Neigungsmessung
300 h
– Laserbetrieb
20 h
Gewicht entsprechend
EPTA-Procedure 01/2003
0,9 kg
Maße (Länge x Breite x Höhe)
600x27x59mm
1) Der Arbeitsbereich kann durch ungünstige Umgebungsbedingungen (z.B. direkte
Sonneneinstrahlung) verringert werden.
Zur eindeutigen Identifizierung Ihres Messwerkzeugs dient die Seriennummer 23 auf
dem Typenschild.
Montage
Batterien einsetzen/wechseln
Im Messwerkzeug gibt es zwei voneinander getrennte Stromkreise: Die Nei-
gungsmessung inklusive des Displays wird von einer anderen Batterie ver-
sorgt als der Laser.
Für den Betrieb des Messwerkzeugs wird die Verwendung von Alkali-Man-
gan-Batterien empfohlen.
f Nehmen Sie die Batterien aus dem Messwerkzeug, wenn Sie es län-
gere Zeit nicht benutzen. Die Batterien können bei längerer Lagerung
korrodieren und sich selbst entladen.
Batterie für die Neigungsmessung einsetzen/wechseln
Entnehmen Sie den Batteriefachdeckel 7 mit der Batteriehalterung vorsich-
tig aus dem Messwerkzeug. Achten Sie darauf, dass dabei weder die An-
schlusskabel der Batterie noch der Batteriefachdeckel beschädigt werden.
Größere Beschädigungen an den Auflageflächen des Batteriefachdeckels 7
können zu Fehlmessungen führen.
1 618 C00 62X | (27.8.12) Bosch Power Tools

OBJ_BUCH-1628-002.book Page 9 Monday, August 27, 2012 12:22 PM
Deutsch | 9
Schließen Sie die Batterie polrichtig an die Batteriehalterung an. Setzen Sie
den Batteriefachdeckel mit der Batteriehalterung so in das Messwerkzeug
ein, dass die Anschlusskabel nicht eingeklemmt werden.
Beim ersten Einschalten der Neigungsmessung nach dem Batteriewechsel
leuchten alle Displayelemente für 1 s auf und es ertönt ein Signalton. Alle
gespeicherten Einstellungen (Messfunktion, eingestellte Maßeinheit) wer-
den beim Batteriewechsel gelöscht.
Leuchtet die Batteriewarnung d auf, müssen Sie die Batterie wechseln.
Batterien für den Laser einsetzen/wechseln
Klappen Sie den Batteriefachdeckel 20 auf und setzen Sie die Batterien ein.
Achten Sie dabei auf die richtige Polung entsprechend der Darstellung auf
der Innenseite des Batteriefachdeckels.
Leuchtet der Laser nicht mehr, müssen die Batterien gewechselt werden.
Hinweis: Die Batteriewarnung d im Display bezieht sich nicht auf die Batte-
rien für den Laser.
f Schalten Sie den Laser unbedingt vor dem Batteriewechsel aus. Ein
unbeabsichtigt eingeschalteter Laser kann Personen blenden.
Ersetzen Sie immer alle für den Laserbetrieb bestimmten Batterien gleichzei-
tig. Verwenden Sie nur Batterien eines Herstellers und mit gleicher Kapazität.
Betrieb
Inbetriebnahme
f Schützen Sie das Messwerkzeug vor Nässe und direkter Sonnenein-
strahlung.
f Setzen Sie das Messwerkzeug keinen extremen Temperaturen oder
Temperaturschwankungen aus. Lassen Sie es z.B. nicht längere Zeit
im Auto liegen. Lassen Sie das Messwerkzeug bei größeren Temperatur-
schwankungen erst austemperieren, bevor Sie es in Betrieb nehmen.
Bei extremen Temperaturen oder Temperaturschwankungen kann die
Präzision des Messwerkzeugs beeinträchtigt werden.
f Vermeiden Sie heftige Stöße oder Stürze des Messwerkzeuges.
Nach starken äußeren Einwirkungen auf das Messwerkzeug sollten Sie
vor dem Weiterarbeiten immer eine Genauigkeitsüberprüfung durchfüh-
ren (siehe „Genauigkeitsüberprüfung und Kalibrierung des Messwerk-
zeugs“, Seite 11).
f Halten Sie die Auflageflächen des Messwerkzeugs sauber und
schützen Sie sie vor Stoß und Schlag. Schmutzpartikel oder Verfor-
mungen können zu Fehlmessungen führen.
Messwerkzeug aufstellen/befestigen
Um Neigungen zu messen oder zu übertragen, können Sie das Messwerk-
zeug nicht nur auf Flächen aufsetzen oder anlegen, sondern haben weitere
Möglichkeiten, es aufzustellen bzw. zu befestigen.
Aufstellen mit der Nivelliermechanik (z.B. bei unebenem Boden)
(siehe Bild B):
– Drücken Sie kurz gegen den Standfuß 16, um ihn auszufahren. Drücken
Sie die Taste 8, um den Nivellierfuß 17 auszufahren. Justieren Sie den
Nivellierfuß durch Drehen der Justierschraube 9 so in der Höhe, dass
der Laserstrahl entlang der zu messenden Fläche verläuft bzw. die ge-
wünschte Neigung als Messwert b angezeigt wird.
– Für Arbeiten ohne Nivelliermechanik fahren Sie Standfuß 16 und Nivel-
lierfuß 17 wieder ein. Drücken Sie dazu beide Teile des Standfußes zu-
sammen () und schieben dann den Standfuß 16 in das Messwerkzeug
(), bis er hörbar einrastet. Zum Einfahren des Nivelierfußes 17 schie-
ben Sie den Schalter 10 zur Seite.
Befestigen auf dem Stativ:
– Setzen Sie das Messwerkzeug mit der 1/4"-Stativaufnahme 18 auf die
Schnellwechselplatte des Stativs 26 oder eines handelsüblichen Foto-
stativs auf. Schrauben Sie das Messwerkzeug mit der Feststellschraube
der Schnellwechselplatte fest.
Bosch Power Tools 1 618 C00 62X | (27.8.12)

OBJ_BUCH-1628-002.book Page 10 Monday, August 27, 2012 12:22 PM
10 | Deutsch
Befestigen mit Magneten:
– Setzen Sie das Messwerkzeug mit den Magneten 14 auf ein ausreichend
magnetisches Teil.
f Prüfen Sie das Messwerkzeug auf sichere Befestigung. Nicht sicher
befestigte Messwerkzeuge können herunterfallen und Sie oder andere
verletzen. Beim Sturz kann das Messwerkzeug beschädigt werden oder
Beschädigungen verursachen.
Befestigen mit Haltegurten (siehe Bild C):
– Ziehen Sie die Haltegurte 25 durch die Gurtführungen 15 und befestigen
Sie das Messwerkzeug mit beiden Gurten an Rohren oder Ähnlichem. Ach-
ten Sie darauf, dass die Klettbefestigung des Gurtendes auf dem Haltegurt
angedrückt wird. Bei dünnen Rohren stecken Sie dazu den Haltegurt mit
der glatten Seite nach außen durch die Gurtführungen und schlagen ihn
wie im Bild dargestellt nochmals um das Messwerkzeug, bei dicken Roh-
ren stecken Sie den Haltegurt mit der glatten Seite nach innen durch die
Gurtführungen.
f Sichern Sie das Messwerkzeug immer mit beiden Haltegurten und
prüfen Sie die Haltegurte auf festen Sitz. Die Haltekraft der Gurte 25
ist abhängig von der Beschaffenheit des Materials, auf dem sie befestigt
werden. Locker sitzende Messwerkzeuge können herunterrutschen und
beschädigt werden oder Beschädigungen verursachen.
f Lassen Sie Kinder die Haltegurte 25 nicht unbeaufsichtigt benutzen.
Sie können sich mit den Haltegurten verletzen.
Ein-/Ausschalten Neigungsmessung und Display
Zum Einschalten von Neigungsmessung und Display drücken Sie die Ein-
Aus-Taste 2. Das Messwerkzeug befindet sich in der Funktion Neigungs-
messung mit Standard-Nullpunkt.
Zum Ausschalten von Neigungsmessung und Display drücken Sie die Ein-
Aus-Taste 2 erneut.
Wird ca. 30 min lang keine Taste am Messwerkzeug gedrückt und die Nei-
gung des Messwerkzeugs nicht mehr als 1,5 ° geändert, dann werden Nei-
gungsmessung und Display zur Schonung der Batterie automatisch abge-
schaltet. Der Laser ist davon nicht betroffen.
Ein-/Ausschalten Laser
Zum Einschalten des Lasers drücken Sie die Ein-Aus-Taste 19 in Position
„I“.
f Richten Sie den Laserstrahl nicht auf Personen oder Tiere und bli-
cken Sie nicht selbst in den Laserstrahl, auch nicht aus größerer Ent-
fernung.
Zum Ausschalten des Lasers drücken Sie die Ein-Aus-Taste 19 in Position
„0“.
f Lassen Sie das Messwerkzeug mit eingeschaltetem Laser nicht un-
beaufsichtigt und schalten Sie den Laser nach Gebrauch ab. Andere
Personen könnten vom Laserstrahl geblendet werden.
Wenn Sie den Laser nicht benutzen, schalten Sie ihn aus, um Energie zu
sparen.
Maßeinheit wechseln (siehe Bild A)
Sie können jederzeit zwischen den Maßeinheiten „°“, „%“ und „mm/m“
wechseln. Drücken Sie dazu die Taste für Maßeinheitenwechsel 5 so oft, bis
die gewünschte Maßeinheit in der Anzeige f erscheint. Der aktuelle Mess-
wert wird automatisch umgerechnet.
Die Einstellung der Maßeinheit bleibt beim Aus- und Einschalten des Mess-
werkzeugs erhalten.
Signalton ein-/ausschalten
Mit der Taste Signalton 1 können Sie den Signalton ein- und ausschalten.
Bei eingeschaltetem Signalton erscheint im Display die Anzeige c.
Die Einstellung des Signaltons bleibt beim Aus- und Einschalten des Mess-
werkzeugs erhalten.
Messwertanzeige und Ausrichthilfen
Der Messwert wird bei jeder Bewegung des Messwerkzeugs aktualisiert.
Warten Sie nach größeren Bewegungen des Messwerkzeugs mit dem Able-
sen des Messwertes, bis dieser sich nicht mehr verändert.
Je nach Lage des Messwerkzeugs werden Messwert und Maßeinheit im Dis-
play um 180° gedreht angezeigt. Dadurch ist die Anzeige auch bei Arbeiten
über Kopf ablesbar.
Das Messwerkzeug zeigt durch die Ausrichthilfen a im Display an, in welche
Richtung es geneigt werden muss, um den Zielwert zu erreichen. Der Ziel-
wert ist bei Standardmessungen die Waagerechte bzw. die Senkrechte, in
der Funktion „Copy“ der gespeicherte Messwert und bei geändertem Null-
punkt der gespeicherte Nullpunkt.
Ist der Zielwert erreicht, erlöschen die Pfeile der Ausrichthilfen a und bei
eingeschaltetem Signalton ertönt ein Dauerton.
Messfunktionen
Festhalten/Übertragen eines Messwertes (siehe Bild D)
Mit der Taste „Hold/Copy“ 6 können zwei Funktionen gesteuert werden:
– Festhalten („Hold“) eines Messwertes, auch wenn das Messwerkzeug
nachträglich bewegt wird (z.B. weil das Messwerkzeug in einer Position
ist, in der das Display schlecht ablesbar ist);
– Übertragen („Copy“) eines Messwertes.
1 618 C00 62X | (27.8.12) Bosch Power Tools

OBJ_BUCH-1628-002.book Page 11 Monday, August 27, 2012 12:22 PM
Deutsch | 11
Funktion „Hold“:
– Drücken Sie die Taste „Hold/Copy“ 6. Der aktuelle Messwert b wird im
Display festgehalten, alle Displayelemente außer dem Messwert blin-
ken.
– Um in die Funktion „Copy“ zu wechseln, drücken Sie die Taste Signalton
1, um eine neue Messung zu starten, die Taste „Hold/Copy“ 6.
Funktion „Copy“:
– Schalten Sie den Signalton ein (siehe „Signalton ein-/ausschalten“,
Seite 10).
– Drücken Sie die Taste „Hold/Copy“ 6. Der aktuelle Messwert wird ge-
speichert. Ein kurzes Signal ertönt, die Anzeigen für Maßeinheit f und Si-
gnalton c blinken.
– Grob gemessene Werte können Sie vor dem Übertragen korrigieren:
Drücken Sie die Taste Anzeigenwert erhöhen 4, um den gespeicherten
Messwert zu erhöhen, die Taste Anzeigenwert verringern 5, um ihn zu
verringern.
– Legen Sie das Messwerkzeug am Zielort an, an den der Messwert über-
tragen werden soll. Wie im Bild dargestellt, ist die Ausrichtung des Mess-
werkzeugs dabei unerheblich. Die Ausrichthilfen a zeigen die Richtung
an, in die das Messwerkzeug bewegt werden muss, um den zu kopieren-
den Winkel zu erreichen. Beim Erreichen des gespeicherten Winkels er-
tönt ein Signalton, die Ausrichthilfen a erlöschen.
– Drücken Sie die Taste „Hold/Copy“ 6 erneut, um eine neue Messung zu
starten.
Nullpunkt ändern
Zum leichteren Überprüfen von Schrägen (z.B. 45°) können Sie den Null-
punkt der Messung ändern.
Richten Sie das Messwerkzeug z.B. durch Anlegen an ein Referenzwerk-
stück so aus, dass der gewünschte neue Nullpunkt als Messwert angezeigt
wird (z.B. 45,1°). Drücken Sie die Taste „Alt 0°“ 3. Der Messwert b und
die Anzeige geänderter Nullpunkt e blinken.
Grob gemessene Werte können Sie korrigieren, solange der Messwert b
blinkt: Drücken Sie die Taste Anzeigenwert erhöhen 4, um den gespeicher-
ten Messwert zu erhöhen, die Taste Anzeigenwert verringern 5, um ihn zu
verringern (z.B. von 45,1°auf 45,0°). 3 s nach dem letzten Tastendruck
wird der angezeigte Neigungswert als neuer Referenzwert gespeichert.
Nach der Speicherung weist die blinkende Anzeige e auf den geänderten
Nullpunkt hin. In der Messanzeige b wird der aktuelle Messwert bezogen auf
den neuen Nullpunkt angezeigt, auch die Ausrichthilfen und Signaltöne be-
ziehen sich auf den neuen Nullpunkt. Beispiel: Bei einer Neigung von 43,8°
in Bezug auf die Waagerechte und einem gespeicherten Nullpunkt von 45°
wird 1,2° als Messwert angezeigt.
Um zum Standard-Nullpunkt 0° zurückzukehren, drücken Sie eine der Tas-
ten „Alt 0°“ 3, „Hold/Copy“ 6 oder „CAL“ 4. Die Anzeige geänderter Null-
punkt e erlischt.
Neigungen berührungslos messen/übertragen
Mithilfe des Lasers können Sie Neigungen berührungslos messen bzw.
übertragen, auch über größere Entfernungen.
f Richten Sie den Laserstrahl nicht auf Personen oder Tiere und bli-
cken Sie nicht selbst in den Laserstrahl, auch nicht aus größerer Ent-
fernung.
f Verwenden Sie immer nur die Mitte des Laserpunktes zum Markie-
ren. Die Größe des Laserpunktes ändert sich mit der Entfernung.
Zum Messen von Neigungen richten Sie das Messwerkzeug so aus, dass der
Laserstrahl entlang der zu messenden Fläche verläuft. Zum Übertragen
von Neigungen richten Sie das Messwerkzeug so aus, dass die gewünschte
Neigung als Messwert b angezeigt wird, und tragen die Neigung mithilfe des
Laserpunkts auf der Zielfläche an.
Hinweis: Berücksichtigen Sie bei der Übertragung von Neigungen mittels
Laser, dass der Laser 24 mm über der Unterkante des Messwerkzeugs aus-
tritt.
Genauigkeitsüberprüfung und Kalibrierung des Messwerk-
zeugs
Messgenauigkeit überprüfen
Überprüfen Sie die Genauigkeit des Messwerkzeugs vor kritischen Messun-
gen, nach starken Temperaturänderungen sowie nach starken Stößen.
Vor dem Messen von Winkeln <45° sollte die Überprüfung an einer ebenen,
etwa waagerechten Fläche erfolgen, vor dem Messen von Winkeln >45° an
einer ebenen, etwa senkrechten Fläche.
Schalten Sie das Messwerkzeug ein und legen Sie es auf die waagerechte
bzw. senkrechte Fläche.
Wählen Sie die Maßeinheit „°“ (siehe „Maßeinheit wechseln“, Seite 10).
Warten Sie 10 s und notieren Sie dann den Messwert.
Drehen Sie das Messwerkzeug um 180° um die senkrechte Achse. Warten
Sie erneut 10 s und notieren Sie den zweiten Messwert.
f Kalibrieren Sie das Messwerkzeug nur, wenn die Differenz beider
Messwerte größer als 0,1° ist.
Kalibrieren Sie das Messwerkzeug in der Lage (senkrecht bzw. waage-
recht), in der die Differenz der Messwerte festgestellt wurde.
Bosch Power Tools 1 618 C00 62X | (27.8.12)

OBJ_BUCH-1628-002.book Page 12 Monday, August 27, 2012 12:22 PM
12 | Deutsch
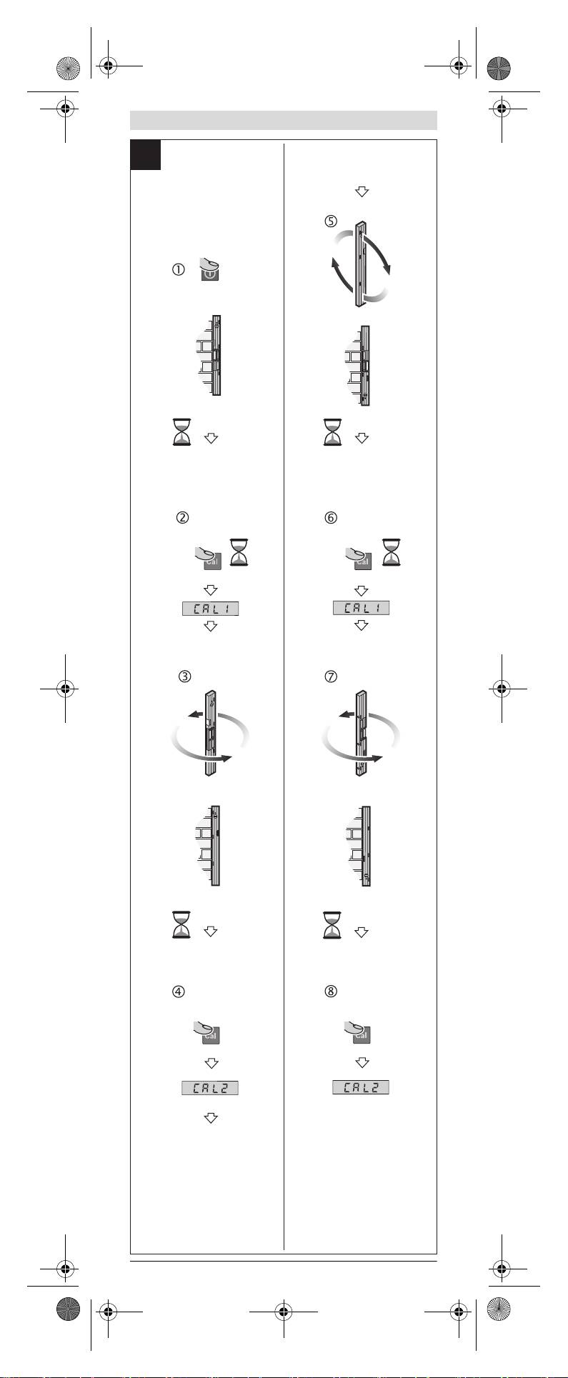
Kalibrieren der waagerechten Auflageflächen (siehe Bild E)
Die Fläche, auf die Sie das Messwerkzeug auflegen, darf nicht mehr als 5°
von der Waagerechten abweichen. Ist die Abweichung größer, wird die Ka-
librierung mit der Anzeige „---“ abgebrochen.
Schalten Sie das Messwerkzeug ein und legen Sie es so auf die waage-
rechte Fläche, dass die Libelle 12 nach oben zeigt und das Display 11
zu Ihnen gerichtet ist. Warten Sie 10 s.
Drücken Sie dann für ca. 2 s die Kalibrierungstaste „CAL“ 4, bis kurz
„CAL1“ im Display erscheint. Danach blinkt der Messwert im Display.
Drehen Sie das Messwerkzeug um 180° um die senkrechte Achse, so
dass die Libelle weiterhin nach oben zeigt, das Display 11 sich jedoch
auf der von Ihnen abgewandten Seite befindet. Warten Sie 10 s.
Drücken Sie dann die Kalibrierungstaste „CAL“ 4 erneut. Im Display
wird kurz „CAL2“ angezeigt. Danach erscheint der Messwert (nicht
mehr blinkend) im Display. Das Messwerkzeug ist nun für diese Aufla-
gefläche neu kalibriert.
Im Anschluss daran müssen Sie das Messwerkzeug für die gegenüber-
liegende Auflagefläche kalibrieren. Dazu drehen Sie das Messwerk-
zeug so um die horizontale Achse, dass die Libelle 12 nach unten und
das Display 11 zu Ihnen zeigt. Legen Sie das Messwerkzeug auf die
waagerechte Fläche. Warten Sie 10 s.
Drücken Sie dann für ca. 2 s die Kalibrierungstaste „CAL“ 4, bis kurz
„CAL1“ im Display erscheint. Danach blinkt der Messwert im Display.
Drehen Sie das Messwerkzeug um 180° um die senkrechte Achse, so
dass die Libelle weiterhin nach unten zeigt, das Display 11 sich jedoch
auf der von Ihnen abgewandten Seite befindet. Warten Sie 10 s.
Drücken Sie dann die Kalibrierungstaste „CAL“ 4 erneut. Im Display
wird kurz „CAL2“ angezeigt. Danach erscheint der Messwert (nicht
mehr blinkend) im Display. Das Messwerkzeug ist nun für beide waa-
gerechten Auflageflächen neu kalibriert.
Hinweis: Wird das Messwerkzeug bei den Schritten und nicht um die
im Bild dargestellte Achse gedreht, kann die Kalibrierung nicht abge-
schlossen werden („CAL2“ erscheint nicht im Display).
Kalibrieren der senkrechten Auflageflächen (siehe Bild F)
Die Fläche, auf die Sie das Messwerkzeug auflegen, darf nicht mehr als 5°
von der Senkrechten abweichen. Ist die Abweichung größer, wird die Kali-
brierung mit der Anzeige „---“ abgebrochen.
Schalten Sie das Messwerkzeug ein und legen Sie es so an die senk-
rechte Fläche, dass die Libelle 13 nach oben zeigt und das Display 11
zu Ihnen gerichtet ist. Warten Sie 10 s.
Drücken Sie dann für ca. 2 s die Kalibrierungstaste „CAL“ 4, bis kurz
„CAL1“ im Display erscheint. Danach blinkt der Messwert im Display.
Drehen Sie das Messwerkzeug um 180° um die senkrechte Achse, so
dass die Libelle weiterhin nach oben zeigt, das Display 11 sich jedoch
auf der von Ihnen abgewandten Seite befindet. Warten Sie 10 s.
Drücken Sie dann die Kalibrierungstaste „CAL“ 4 erneut. Im Display
wird kurz „CAL2“ angezeigt. Danach erscheint der Messwert (nicht
mehr blinkend) im Display. Das Messwerkzeug ist nun für diese Aufla-
gefläche neu kalibriert.
Im Anschluss daran müssen Sie das Messwerkzeug für die gegenüber-
liegende Auflagefläche kalibrieren. Dazu drehen Sie das Messwerk-
zeug so um die horizontale Achse, dass die Libelle 13 nach unten und
das Display 11 zu Ihnen zeigt. Legen Sie das Messwerkzeug an die
senkrechte Fläche. Warten Sie 10 s.
Drücken Sie dann für ca. 2 s die Kalibrierungstaste „CAL“ 4, bis kurz
„CAL1“ im Display erscheint. Danach blinkt der Messwert im Display.
Drehen Sie das Messwerkzeug um 180° um die senkrechte Achse, so
dass die Libelle weiterhin nach unten zeigt, das Display 11 sich jedoch
auf der von Ihnen abgewandten Seite befindet. Warten Sie 10 s.
Drücken Sie dann die Kalibrierungstaste „CAL“ 4 erneut. Im Display
wird kurz „CAL2“ angezeigt. Danach erscheint der Messwert (nicht
mehr blinkend) im Display. Das Messwerkzeug ist nun für beide senk-
rechten Auflageflächen neu kalibriert.
Hinweis:
Wird das Messwerkzeug bei den Schritten und nicht um die
im Bild dargestellte Achse gedreht, kann die Kalibrierung nicht abge-
schlossen werden („CAL2“ erscheint nicht im Display).
Wartung und Service
Wartung und Reinigung
Lagern und transportieren Sie das Messwerkzeug nur in der mitgelieferten
Schutztasche.
Halten Sie das Messwerkzeug stets sauber.
Tauchen Sie das Messwerkzeug nicht ins Wasser oder andere Flüssigkeiten.
Wischen Sie Verschmutzungen mit einem feuchten, weichen Tuch ab. Ver-
wenden Sie keine Reinigungs- oder Lösemittel.
Reinigen Sie insbesondere die Flächen an der Austrittsöffnung des Lasers
regelmäßig und achten Sie dabei auf Fusseln.
1 618 C00 62X | (27.8.12) Bosch Power Tools

OBJ_BUCH-1628-002.book Page 13 Monday, August 27, 2012 12:22 PM
English | 13
Sollte das Messwerkzeug trotz sorgfältiger Herstellungs- und Prüfverfahren
einmal ausfallen, ist die Reparatur von einer autorisierten Kundendienst-
stelle für Bosch-Elektrowerkzeuge ausführen zu lassen. Öffnen Sie das
Messwerkzeug nicht selbst.
Geben Sie bei allen Rückfragen und Ersatzteilbestellungen bitte unbedingt
die 10-stellige Sachnummer laut Typenschild des Messwerkzeugs an.
Senden Sie im Reparaturfall das Messwerkzeug in der Schutztasche 24 ein.
Kundendienst und Kundenberatung
Der Kundendienst beantwortet Ihre Fragen zu Reparatur und Wartung Ihres
Produkts sowie zu Ersatzteilen. Explosionszeichnungen und Informationen
zu Ersatzteilen finden Sie auch unter:
www.bosch-pt.com
Das Bosch-Kundenberater-Team hilft Ihnen gerne bei Fragen zu Kauf,
Anwendung und Einstellung von Produkten und Zubehören.
www.powertool-portal.de, das Internetportal für Handwerker und Heim-
werker.
www.ewbc.de, der Informations-Pool für Handwerk und Ausbildung.
Deutschland
Robert Bosch GmbH
Servicezentrum Elektrowerkzeuge
Zur Luhne 2
37589 Kalefeld – Willershausen
Tel. Kundendienst: +49 (1805) 70 74 10*
Fax: +49 (1805) 70 74 11*
(*Festnetzpreis 14 ct/min, höchstens 42 ct/min aus Mobilfunknetzen)
E-Mail: Servicezentrum.Elektrowerkzeuge@de.bosch.com
Tel. Kundenberatung: +49 (1803) 33 57 99
(Festnetzpreis 9 ct/min, höchstens 42 ct/min aus Mobilfunknetzen)
Fax: +49 (711) 7 58 19 30
E-Mail: kundenberatung.ew@de.bosch.com
Österreich
Tel.: +43 (01) 7 97 22 20 10
Fax: +43 (01) 7 97 22 20 11
E-Mail: service.elektrowerkzeuge@at.bosch.com
Schweiz
Tel.: +41 (044) 8 47 15 11
Fax: +41 (044) 8 47 15 51
Luxemburg
Tel.: +32 2 588 0589
Fax: +32 2 588 0595
E-Mail: outillage.gereedschap@be.bosch.com
Entsorgung
Messwerkzeuge, Zubehör und Verpackungen sollen einer umweltgerechten
Wiederverwertung zugeführt werden.
Werfen Sie Messwerkzeuge und Akkus/Batterien nicht in den Hausmüll!
Nur für EU-Länder:
Gemäß der europäischen Richtlinie 2002/96/EG müssen
nicht mehr gebrauchsfähige Messwerkzeuge und gemäß
der europäischen Richtlinie 2006/66/EG müssen defekte
oder verbrauchte Akkus/Batterien getrennt gesammelt
und einer umweltgerechten Wiederverwendung zugeführt
werden.
Nicht mehr gebrauchsfähige Akkus/Batterien können direkt abgegeben
werden bei:
Deutschland
Recyclingzentrum Elektrowerkzeuge
Osteroder Landstraße 3
37589 Kalefeld
Schweiz
Batrec AG
3752 Wimmis BE
Änderungen vorbehalten.
English
Safety Notes
Working safely with the measuring tool is possible only
when the operating and safety information are read com-
pletely and the instructions contained therein are strict-
ly followed. Never make warning labels on the measuring
tool unrecognisable. SAVE THESE INSTRUCTIONS.
f Caution – The use of other operating or adjusting equipment or the
application of other processing methods than those mentioned
here, can lead to dangerous radiation exposure.
Bosch Power Tools 1 618 C00 62X | (27.8.12)

OBJ_BUCH-1628-002.book Page 14 Monday, August 27, 2012 12:22 PM
14 | English
f The measuring tool is provided with a warning label (marked with
number 22 in the representation of the measuring tool on the graph-
ics page).
Laserstrahlung
Nicht in den Strahl blicken
Laser Klasse 2
IEC 60825-1:2007<1mW, 635 nm
f If the text of the warning label is not in your national language, stick
the provided warning label in your national language over it before
operating for the first time.
f Do not direct the laser beam at persons or animals and do not stare
into the laser beam yourself. This measuring tool produces laser class 2
laser radiation according to IEC 60825-1. This can lead to persons being
blinded.
f Do not use the laser viewing glasses as safety goggles. The laser
viewing glasses are used for improved visualisation of the laser beam,
but they do not protect against laser radiation.
f Do not use the laser viewing glasses as sun glasses or in traffic. The
laser viewing glasses do not afford complete UV protection and reduce
colour perception.
f Have the measuring tool repaired only through qualified specialists
using original spare parts. This ensures that the safety of the measur-
ing tool is maintained.
f Do not allow children to use the laser measuring tool without super-
vision. They could unintentionally blind other persons or themselves.
f Do not operate the measuring tool in explosive environments, such
as in the presence of flammable liquids, gases or dusts. Sparks can
be created in the measuring tool which may ignite the dust or fumes.
Keep the measuring tool away from cardiac pacemak-
ers. The magnets 14 generate a field that can impair the
function of cardiac pacemakers.
f Keep the measuring tool away from magnetic data medium and mag-
netically-sensitive equipment. The effect of the magnets 14 can lead
to irreversible data loss.
Product Description and Specifications
Please unfold the fold-out page with the representation of the measuring
tool and leave it unfolded while reading the operating instructions.
Intended Use
The measuring tool is intended for precise measuring and transferring of
grades.
The measuring tool is optimized for indoor use.
Product Features
The numbering of the product features shown refers to the illustration of the
measuring tool on the graphic page.
1 Audio signal button
2 On/Off button for grade measurement/display
3“Alt0°” button for changing the zero point
4 “CAL” button for calibration/increasing the display value
5 “° / % / mm/m” button for changing the unit of measure/reducing the
display value
6“Hold/Copy” button
7 Battery lid, grade measurement
8 Button for extracting the levelling foot
9 Adjusting screw of the levelling foot
10 Switch for retracting the levelling foot
11 Display
12 Spirit level, horizontal
13 Spirit level, vertical
14 Magnets
15 Opening for strap attachment
16 Pedestal
17 Levelling foot
18 Tripod mount 1/4"
19 Laser On/Off button
20 Battery lid, laser
21 Exit opening for laser beam
22 Laser warning label
23 Serial number
24 Protective pouch
25 Fastening strap
26 Tripod*
* The accessories illustrated or described are not included as standard delivery.
1 618 C00 62X | (27.8.12) Bosch Power Tools

OBJ_BUCH-1628-002.book Page 15 Monday, August 27, 2012 12:22 PM
English | 15
Display Elements
a Alignment aides
b Reading
c Audio signal indicator
d Battery low indicator
e Indicator for changed zero point
f Unit of measure
Technical Data
Digital level GIM 60 L
Article number
3 601 K76 300
Measuring range
0–360° (4x90°)
Measuring accuracy
–0°/90°
± 0.05°
–1°–89°
± 0.2°
1)
Working range of laser
30 m
Levelling accuracy of laser
± 0.5 mm/m
Clearance of laser exit – bottom edge of
measuring tool
24 mm
Laser class
2
Laser type
635 nm, <1 mW
Laser beam diameter (at 25 °C) approx.
– at 5 m distance
3.5 mm
– at 10 m distance
6mm
Operating temperature
–10 °C...+50 °C
Storage temperature
–20 °C...+70 °C
Relative air humidity, max.
90 %
Tripod mount
1/4"
Batteries
– Grade measurement
1x9V6LR61
– Laser operation
2x1.5VLR03 (AAA)
Operating life time, approx.
– Grade measurement
300 h
– Laser operation
20 h
Weight according to EPTA-Procedure 01/2003
0.9 kg
Dimensions (length x width x height)
600x27x59mm
1) The working range can be decreased by unfavourable environmental conditions
(e.g. direct sun irradiation).
The measuring tool can be clearly identified with the serial number 23 on the type plate.
Assembly
Inserting/Replacing the Battery
The measuring tool has two separate electric circuits: The grade measure-
ment and display are powered by a different battery than the laser.
Alkali-manganese batteries are recommended for the measuring tool.
f Remove the batteries from the measuring tool when not using it for
extended periods. When storing for extended periods, the batteries
can corrode and discharge themselves.
Inserting/Replacing the Battery for Grade Measurement
Carefully remove the battery lid 7 with the battery holder from the measur-
ing tool. Pay attention that neither the connection cables of the battery nor
the battery lid become damaged. Damage on the supporting surfaces of the
battery compartment 7 can lead to faulty measurements.
Connect the battery to the battery tray observing the correct polarity. Insert
the battery lid with the battery tray into the measuring tool in such a manner
that the connection cables are not pinched.
When switching on the grade measurement for the first time after changing
the battery, all display elements light up for 1 s and an audio signal sounds.
All saved settings (measuring mode, set unit of measure) are deleted when
changing the battery.
When the battery low indicator d lights up, the battery must be replaced.
Inserting/Replacing the Batteries for the Laser
Fold out the battery lid 20 and insert the batteries. When inserting, pay at-
tention to the correct polarity according to the representation on the inside
of the battery lid.
When the laser no longer lights up, the batteries must be replaced.
Bosch Power Tools 1 618 C00 62X | (27.8.12)

OBJ_BUCH-1628-002.book Page 16 Monday, August 27, 2012 12:22 PM
16 | English
Note: The battery low indicator d on the display does not refer to the laser
batteries.
f Make sure to switch the laser off before changing the batteries. An
accidentally switched on laser can blind other persons.
Always replace all batteries intended for laser operation at the same time.
Only use same-brand battery with the identical battery capacity.
Operation
Initial Operation
f Protect the measuring tool against moisture and direct sun light.
f Do not subject the measuring tool to extreme temperatures or vari-
ations in temperature. As an example, do not leave it in vehicles for long
time. In case of large variations in temperature, allow the measuring tool
to adjust to the ambient temperature before putting it into operation. In
case of extreme temperatures or variations in temperature, the accuracy
of the measuring tool can be impaired.
f Avoid heavy impact to or falling down of the measuring tool. After
severe exterior effects to the measuring tool, it is recommended to carry
out an accuracy check (see “Accuracy Check and Calibration of the
Measuring Tool”, page 18) each time before continuing to work.
f Keep the supporting surfaces of the measuring tool clean and pro-
tect them against impact and shock. Debris particles or deformations
can lead to faulty measurements.
Setting Up/Attaching the Measuring Tool
To measure or transfer grades, the measuring tool can not only be placed on
or against surfaces, but can also be set up or fastened in various ways.
Setting up with the levelling mechanics (e.g. on uneven floors)
(see figure B):
– Briefly press against the pedestal 16 to extract it. Press button 8 to ex-
tract the levelling foot 17. Adjust the height of the levelling foot by turn-
ing adjusting screw 9 so that the laser beam runs along the surface to be
measured or the desired grade is displayed as the measuring value b.
– For work without levelling mechanics, retract pedestal 16 and levelling
foot 17. For this, press both parts of the pedestal () together and then
slide the pedestal 16 into the measuring tool () until it can be heard to
engage. To retract the levelling foot 17, press switch 10 sideways.
Fastening to the tripod:
– Position the measuring tool with the 1/4" tripod mount 18 onto the quick-
change plate of the tripod 26 or a commercially available camera tripod.
Tighten the measuring tool with the quick-change plate locking screw.
Attachment with magnets:
– Place the measuring tool against an adequate magnetic object via the
magnets 14.
f Check the secure attachment of the measuring tool. Improperly secured
measuring tools can fall down and cause injury to yourself or other persons.
A falling down measuring tool can become damaged or cause damage.
Attachment with fastening straps (see figure C):
– Thread the fastening straps 25 through the openings 15 and attach the
measuring tool with both straps to a pipe or similar. Pay attention that
the Velcro attachment of the strap end is pressed against the fastening
strap. For thin pipes, thread the fastening strap through the openings
with the smooth side facing outward and wrap it once more around the
measuring tool; for thick pipes, thread the fastening strap through the
openings with the smooth side facing inward.
f Always secure the measuring tool with both fastening straps and
check the tight seating of the straps. The holding force of the straps
25 depends on the nature of the material that they are being fastened to.
Loosely attached measuring tools can slip down and become damaged
or cause damage.
f Do not allow children to use the fastening straps 25 without supervi-
sion. Possible danger of injury through the fastening straps.
Switching the Grade Measurement and Display On and Off
To switch on the grade measurement and display, press the On/Off button 2.
The measuring tool is in grade measurement mode with standard zero point.
To switch off the grade measurement and display, press the On/Off button 2
again.
When no button on the measuring tool is pressed for approx. 30 minutes
and its grade is not changed by more than 1.5°, then the grade measure-
ment and display are automatically switched off to save the battery. This
does not affect the laser.
1 618 C00 62X | (27.8.12) Bosch Power Tools

OBJ_BUCH-1628-002.book Page 17 Monday, August 27, 2012 12:22 PM
English | 17
Switching the Laser On and Off
To switch on the laser, press the On/Off button 19 to position “I”.
f Do not point the laser beam at persons or animals and do not look in-
to the laser beam yourself, not even from a large distance.
To switch off the laser, press the On/Off button 19 to position “0”.
f Do not leave the measuring tool unsupervised with the laser
switched on, and switch the laser off after use. Other persons could
be blinded by the laser beam.
When not using the laser, switch it off in order to save energy.
Changing the Unit of Measure (see figure A)
You can change between the units of measure “°”, “%” and “mm/m” at any
time. For this, press the button for changing the unit of measure 5 as often
as required until the desired setting is displayed in indicator f. The current
measuring value is automatically converted.
The unit-of-measure setting is retained when switching the measuring tool
on or off.
Switching the Audio Signal On/Off
The audio signal can be switched on/off with the audio signal button 1.
When the audio signal is switched on, indicator c appears in the display.
The signal tone setting is maintained after switching the measuring tool off
and on again.
Measured-value Indication and Alignment Aides
For each movement of the measuring tool, the measured value is updated.
After moving the measuring tool to any extent, wait until the measured value
no longer changes before reading the value.
Depending on the position of the measuring tool, the measured value and
the unit of measure are indicated in the display rotated by 180°. Thus, the
indication can also be read for overhead work.
By means of the alignment aides a in the display the measuring tool indi-
cates the direction in which it has to be inclined, in order to reach the target
value. For standard measurements, the target value is the horizontal or the
vertical line; in “Copy” mode, the target value is the saved measuring value
and when changing the zero point, the target value is the saved zero point.
When the target value is reached, the arrows of the alignment aides a go out
and a continuous audio signal sounds when the audio signal is switched on.
Measuring Functions
Holding/Copying a Measured Value (see figure D)
Two functions can be controlled with the “Hold/Copy” button 6:
– Holding (“Hold”) of a measured value, even when the measuring tool is
moved afterwards (e.g., because the measuring tool is in a position, in
which the display cannot be read);
– Copying (“Copy”) of a measured value.
“Hold” function:
–Press the “Hold/Copy” button 6. The current measured value b is held
in the display; all display elements flash, with exception of the measured
value.
– To switch to the “Copy” function, press the audio signal button 1; to
start a new measurement, press the “Hold/Copy” button 6.
“Copy” function:
– Switch the audio signal on (see “Switching the Audio Signal On/Off”,
page 17).
–Press the “Hold/Copy” button 6. The current measuring value is saved.
A short beep sounds, the indicators for unit of measure f and audio signal
c flash.
– Coarsely measured values can be corrected before transferring them:
To increase the saved value, press the button for increasing the display
value 4; to decrease the value, press the button for decreasing the dis-
play value 5.
– Position the measuring tool at the target location, where the measured
value is to be transferred. As shown in the figure, the alignment of the
measuring tool is irrelevant. The alignment aides a indicate the direction
in which the measuring tool has to be moved, in order to reach the angle
to be copied. When reaching the saved value, an audio signal sounds and
the alignment aides a go out.
–Press the “Hold/Copy” button 6 again to start a new measurement.
Changing the Zero Point
For easier checking of grades (e.g. 45°), the zero point of a measurement
can be changed.
Align the measuring tool by placing it against a reference workpiece in such
a manner that the desired new zero point is displayed as the measuring val-
ue (e.g., 45.1°). Press the “Alt 0°” button 3. The measured value
b and
the indicator for a changed zero point e flash.
Coarsely measured values can be corrected as long as the measured value
b flashes: To increase the saved value, press the button for increasing the
display value 4; to decrease the value, press the button for decreasing the
display value 5 (e.g. from 45.1° to 45.0°). 3 s after the last button actua-
tion, the displayed grade value is saved as the new reference value.
Bosch Power Tools 1 618 C00 62X | (27.8.12)

OBJ_BUCH-1628-002.book Page 18 Monday, August 27, 2012 12:22 PM
18 | English
After the value has been saved, the flashing indicator e indicates the
changed zero point. The current measuring value, with reference to the new
zero point, is displayed in measuring indicator b; the alignment aides and
the audio signals also refer to the new zero point. Example: For a 43.8°
grade with reference to the horizontal line and a saved zero point of 45°,
the value 1.2° is displayed as the measuring value.
To return to the standard zero point 0°, press either of buttons “Alt 0°” 3,
“Hold/Copy” 6 or “CAL” 4. The indicator for changed zero point e goes out.
Contact-free Measuring/Transferring of Grades
With the laser, it is possible to measure and transfer grades contact-free,
even over greater distances.
f Do not point the laser beam at persons or animals and do not look in-
to the laser beam yourself, not even from a large distance.
f Always use the centre of the laser point for marking. The size of the
laser point changes with the distance.
To measure grades, align the measuring tool in such a manner that the laser
beam runs alongside the surface to be measured. To transfer grades, align
the measuring tool in such a manner that the desired grade is displayed as
measuring value b, and mark the grade on the target surface using the laser
point.
Note: When transferring grades via laser, take into consideration that the
laser comes out 24 mm above the bottom edge of the measuring tool.
Accuracy Check and Calibration of the Measuring Tool
Checking the Measuring Accuracy
Check the accuracy of the measuring tool prior to critical measurements,
after intense variations in temperature as well as after heavy impact.
Before measuring angles <45°, the accuracy check should take place on a
level and roughly horizontal surface; before measuring angles >45°, on a
level and roughly vertical surface.
Switch the measuring tool on and place it on the horizontal or vertical sur-
face.
Select the unit of measure “°” (see “Changing the Unit of Measure”,
page 17).
Wait for 10 s and note down the measured value.
Rotate the measuring tool by 180° around its vertical axis. Wait again for
10 s and note down the second measured value.
f Calibrate the measuring tool only when the difference between both
reading values is greater than 0.1°.
Calibrate the measuring tool in the position (vertical or horizontal), in which
the difference of the measured values has been determined.
Calibration for Horizontal Surfaces (see figure E)
The surface onto which you place the measuring tool must not deviate from
the horizontal line by more than 5°. If the deviation is greater, the calibra-
tion process is discontinued with the indication “---” .
Switch the measuring tool on and position it on the horizontal surface
in such a manner that the spirit level 12 faces upward and the display
11 faces you. Wait for 10 s.
Then press the calibration button “CAL” 4 for approx. 2 s until “CAL1”
briefly appears in the display. Afterwards, the measuring value flashes
in the display.
Turn the measuring tool by 180° around the vertical axis so that the
spirit level still faces upward, but the display 11 faces away from you.
Wait for 10 s.
Then press the calibration button “CAL” 4 again. “CAL2” is briefly in-
dicated in the display. Afterwards, the measuring value appears in the
display (no longer flashing). The measuring tool is now re-calibrated
for this supporting surface.
After this, the measuring tool must be calibrated for the opposite sup-
porting surface. Rotate the measuring tool around the horizontal axis
in such a manner that the spirit level 12 faces downward and the dis-
play 11 faces you. Place the measuring tool on the horizontal surface.
Wait for 10 s.
Then press the calibration button “CAL” 4 for approx. 2 s until “CAL1”
briefly appears in the display. Afterwards, the measuring value flashes
in the display.
Turn the measuring tool 180° around the vertical axis so that the spirit
level still faces downward but the display 11 is facing away from you.
Wait for 10 s.
Then press the calibration button “CAL” 4 again. “CAL2” is briefly in-
dicated in the display. Afterwards, the measuring value appears in the
display (no longer flashing). The measuring tool is now re-calibrated
for both horizontal supporting surfaces.
Note: If the measuring tool is not turned around the axis shown in the figure
in steps and , then the calibration cannot be completed (“CAL2” is
not indicated in the display).
1 618 C00 62X | (27.8.12) Bosch Power Tools

OBJ_BUCH-1628-002.book Page 19 Monday, August 27, 2012 12:22 PM
English | 19
Calibration for Vertical Surfaces (see figure F)
The surface onto which you place the measuring tool must not deviate from
the vertical line by more than 5°. If the deviation is greater, the calibration
process is discontinued with the indication “---”.
Switch the measuring tool on and position it on the vertical surface in
such a manner that the spirit level 13 faces upward and the display 11
faces you. Wait for 10 s.
Then press the calibration button “CAL” 4 for approx. 2 s until “CAL1”
briefly appears in the display. Afterwards, the measuring value flashes
in the display.
Turn the measuring tool by 180° around the vertical axis so that the
spirit level still faces upward, but the display 11 faces away from you.
Wait for 10 s.
Then press the calibration button “CAL” 4 again. “CAL2” is briefly in-
dicated in the display. Afterwards, the measuring value appears in the
display (no longer flashing). The measuring tool is now re-calibrated
for this supporting surface.
After this, the measuring tool must be calibrated for the opposite sup-
porting surface. Rotate the measuring tool around the horizontal axis
in such a manner that the spirit level 13 faces downward and the dis-
play 11 faces you. Place the measuring tool against the vertical sur-
face. Wait for 10 s.
Then press the calibration button “CAL” 4 for approx. 2 s until “CAL1”
briefly appears in the display. Afterwards, the measuring value flashes
in the display.
Turn the measuring tool 180° around the vertical axis so that the spirit
level still faces downward but the display 11 is facing away from you.
Wait for 10 s.
Then press the calibration button “CAL” 4 again. “CAL2” is briefly in-
dicated in the display. Afterwards, the measuring value appears in the
display (no longer flashing). The measuring tool is now re-calibrated
for both vertical supporting surfaces.
Note: If the measuring tool is not turned around the axis shown in the figure
in steps and , then the calibration cannot be completed (“CAL2” is
not indicated in the display).
Maintenance and Service
Maintenance and Cleaning
Store and transport the measuring tool only in the supplied protective pouch.
Keep the measuring tool clean at all times.
Do not immerse the measuring tool in water or other fluids.
Wipe off debris using a moist and soft cloth. Do not use any cleaning agents
or solvents.
Regularly clean the surfaces at the exit opening of the laser in particular,
and pay attention to any fluff of fibres.
If the measuring tool should fail despite the care taken in manufacturing and
testing procedures, repair should be carried out by an authorised after-sales
service centre for Bosch power tools. Do not open the measuring tool your-
self.
In all correspondence and spare parts orders, please always include the
10-digit article number given on the type plate of the measuring tool.
In case of repairs, send in the measuring tool packed in its protective
pouch 24.
After-sales Service and Customer Assistance
Our after-sales service responds to your questions concerning mainte-
nance and repair of your product as well as spare parts. Exploded views and
information on spare parts can also be found under:
www.bosch-pt.com
Our customer service representatives can answer your questions concern-
ing possible applications and adjustment of products and accessories.
Great Britain
Robert Bosch Ltd. (B.S.C.)
P.O. Box 98
Broadwater Park
North Orbital Road
Denham
Uxbridge
UB 9 5HJ
Tel. Service: +44 (0844) 736 0109
Fax: +44 (0844) 736 0146
E-Mail: boschservicecentre@bosch.com
Ireland
Origo Ltd.
Unit 23 Magna Drive
Magna Business Park
City West
Dublin 24
Tel. Service: +353 (01) 4 66 67 00
Fax: +353 (01) 4 66 68 88
Bosch Power Tools 1 618 C00 62X | (27.8.12)

OBJ_BUCH-1628-002.book Page 20 Monday, August 27, 2012 12:22 PM
20 | English
Australia, New Zealand and Pacific Islands
Robert Bosch Australia Pty. Ltd.
Power Tools
Locked Bag 66
Clayton South VIC 3169
Customer Contact Center
Inside Australia:
Phone: +61 (01300) 307 044
Fax: +61 (01300) 307 045
Inside New Zealand:
Phone: +64 (0800) 543 353
Fax: +64 (0800) 428 570
Outside AU and NZ:
Phone: +61 (03) 9541 5555
www.bosch.com.au
Republic of South Africa
Customer service
Hotline: +27 (011) 6 51 96 00
Gauteng – BSC Service Centre
35 Roper Street, New Centre
Johannesburg
Tel.: +27 (011) 4 93 93 75
Fax: +27 (011) 4 93 01 26
E-Mail: bsctools@icon.co.za
KZN – BSC Service Centre
Unit E, Almar Centre
143 Crompton Street
Pinetown
Tel.: +27 (031) 7 01 21 20
Fax: +27 (031) 7 01 24 46
E-Mail: bsc.dur@za.bosch.com
Western Cape – BSC Service Centre
Democracy Way, Prosperity Park
Milnerton
Tel.: +27 (021) 5 51 25 77
Fax: +27 (021) 5 51 32 23
E-Mail: bsc@zsd.co.za
Bosch Headquarters
Midrand, Gauteng
Tel.: +27 (011) 6 51 96 00
Fax: +27 (011) 6 51 98 80
E-Mail: rbsa-hq.pts@za.bosch.com
People’s Republic of China
China Mainland
Bosch Power Tools (China) Co., Ltd.
567, Bin Kang Road
Bin Jiang District 310052
Hangzhou, P.R.China
Service Hotline: 400 826 8484
Fax: +86 571 8777 4502
E-Mail: contact.ptcn@cn.bosch.com
www.bosch-pt.com.cn
HK and Macau Special Administrative Regions
Robert Bosch Hong Kong Co. Ltd.
21st Floor, 625 King’s Road
North Point, Hong Kong
Customer Service Hotline: +852 2101 0235
Fax: +852 2590 9762
E-Mail: info@hk.bosch.com
www.bosch-pt.com.hk
Indonesia
PT. Multi Mayaka
Kawasan Industri Pulogadung
Jalan Rawa Gelam III No. 2
Jakarta 13930
Indonesia
Tel.: +62 (21) 46 83 25 22
Fax: +62 (21) 46 82 86 45/68 23
E-Mail: sales@multimayaka.co.id
www.bosch-pt.co.id
Philippines
Robert Bosch, Inc.
28th Floor Fort Legend Towers,
3rd Avenue corner 31st Street,
Fort Bonifacio Global City,
1634 Taguig City, Philippines
Tel.: +63 (2) 870 3871
Fax: +63 (2) 870 3870
matheus.contiero@ph.bosch.com
www.bosch-pt.com.ph
1 618 C00 62X | (27.8.12) Bosch Power Tools

