Siemens ET975MK21E: инструкция
Характеристики, спецификации
Инструкция к Варочной Панели Siemens ET975MK21E
Оглавление
- Указания по технике безопасности Указания по тех нике безопасности при эксплуатации прибора
- Мокрая посуда и конфорки Трещины на стекло керамической поверхности Конфорка нагрева ется, индикатор не работает Варочная панель отключается Неквалифицирован ный ремонт
- Причины повреждений
- Защита окружающей среды Экологичная утилизация Рекомендации по экономии электроэнергии
- Знакомство с прибором
- Панель управления
- Конфорки Индикация остаточного тепла
- Управление варочной панелью Включение и выключение варочной панели Управление конфоркой
- Установка ступени нагрева
- Таблица приготовления Ступень слабого нагрева
- Ступень слабого нагрева
- Жарение в сенсорном режиме Сковороды для жарения в сенсорном режиме
- Режимы жарения Установка
- Выключение сенсорного режима жарения
- Таблица блюд для жарения в сенсорном режиме Режим жарения
- Режим жарения
- Программы жарения
- Блокировка для безопасности детей Включение и выключение блокировки для безопасности детей Автоматическая блокировка для безопасности детей
- Таймер Автоматическое выключение конфорки
- Автоматическая установка Примечание
- Автоматический таймер Бытовой таймер
- Автоматическое защитное отключение
- Блокировка для чистки
- Базовые установки
- Изменение базовых установок
- Чистка и уход
- Скребок для стеклянных поверхностей Уход Рама варочной панели
- Самостоятельное устранение мелких неисправностей Индикация Неисправность Способ устранения
- Индикация Неисправность Способ устранения Сервисная служба

Инструкция по эксплуатации
Стеклокерамическая
варочная панель
ET975MK21E
901840

Информация для предварительного ознакомления. Официальной информацией изготовителя не является.
Содержание
Указания по технике безопасности. . . . . . . . . 3
Указания по технике безопасности
при эксплуатации прибора . . . . . . . . . . . . . . . . . . 3
Причины повреждений. . . . . . . . . . . . . . . . . . . . . . 5
Защита окружающей среды . . . . . . . . . . . . . . . 6
Экологичная утилизация . . . . . . . . . . . . . . . . . . . . 6
Рекомендации по экономии электроэнергии. . . 6
Знакомство с прибором . . . . . . . . . . . . . . . . . . . 7
Панель управления . . . . . . . . . . . . . . . . . . . . . . . . . 8
Конфорки . . . . . . . . . . . . . . . . . . . . . . . . . . . . . . . . . 9
Индикация остаточного тепла. . . . . . . . . . . . . . . . 9
Управление варочной панелью . . . . . . . . . . . 10
Включение и выключение варочной панели . . . 10
Управление конфоркой . . . . . . . . . . . . . . . . . . . . 10
Таблица приготовления . . . . . . . . . . . . . . . . . . . . 12
Жарение в сенсорном режиме. . . . . . . . . . . . 14
Сковороды для жарения
в сенсорном режиме . . . . . . . . . . . . . . . . . . . . . . 14
Режимы жарения. . . . . . . . . . . . . . . . . . . . . . . . . . 15
Установка . . . . . . . . . . . . . . . . . . . . . . . . . . . . . . . . 15
Таблица блюд для жарения
в сенсорном режиме . . . . . . . . . . . . . . . . . . . . . . 17
Программы жарения. . . . . . . . . . . . . . . . . . . . . . . 19
Изготовитель не исключает возможности распространения данной инструкции также на новые
модели продукции, которые будут выведены на рынок после изготовления тиража этой инструкции
по эксплуатации при условии, что новые модели продукции будут идентичны актуальным с точки зре-
ния особенностей их эксплуатации.
Право на внесение изменений изготовитель оставляет за собой.

Информация для предварительного ознакомления. Официальной информацией изготовителя не является.
Содержание
Блокировка для безопасности детей . . . . . . 20
Включение и выключение блокировки
для безопасности детей . . . . . . . . . . . . . . . . . . . 20
Автоматическая блокировка
для безопасности детей . . . . . . . . . . . . . . . . . . . 20
Таймер . . . . . . . . . . . . . . . . . . . . . . . . . . . . . . . . . . 21
Автоматическое выключение конфорки . . . . . . 21
Автоматический таймер. . . . . . . . . . . . . . . . . . . . 23
Бытовой таймер . . . . . . . . . . . . . . . . . . . . . . . . . . 23
Автоматическое защитное отключение . . . 24
Блокировка для чистки . . . . . . . . . . . . . . . . . . . 25
Базовые установки . . . . . . . . . . . . . . . . . . . . . . 26
Изменение базовых установок . . . . . . . . . . . . . . 27
Чистка и уход . . . . . . . . . . . . . . . . . . . . . . . . . . . . 28
Стеклокерамическая поверхность . . . . . . . . . . . 28
Рама варочной панели . . . . . . . . . . . . . . . . . . . . . 29
Самостоятельное устранение
мелких неисправностей . . . . . . . . . . . . . . . . . . 30
Сервисная служба . . . . . . . . . . . . . . . . . . . . . . . 31
2

Информация для предварительного ознакомления. Официальной информацией изготовителя не является.
Указания по технике безопасности
Внимательно прочтите данную инструкцию по
эксплуатации. Она поможет Вам правильно и
безопасно управлять варочной панелью.
Обязательно сохраните инструкцию по
эксплуатации и монтажу, а также паспорт
прибора. При передаче прибора новому
владельцу не забудьте передать также при-
лагаемую к нему документацию.
Распакуйте и осмотрите варочную панель. В
случае обнаружения повреждений, связанных
с транспортировкой, не подключайте прибор.
Данный прибор предназначен только для
Указания по тех
бытового использования. Используйте вароч
-
нике безопасности
ную панель только для приготовления пищи.
при эксплуатации
прибора
Безопасная
Для обеспечения безопасности взрослые и
эксплуатация
дети
с физическими или психическими рас-
стройствами,
а также недостатком знаний и опыта
не должны допускаться к эксплуатации при-
бора без присмотра ответственного лица.
Перегретое масло
Перегретое масло или жир легко воспламе-
и жир
няются. Опасность возгорания! Оставайтесь
рядом с прибором, когда готовите блюда с
использованием масла или жира. Если масло
или жир воспламенится, никогда не тушите
пламя водой. Накройте пламя крышкой или
тарелкой. Выключите конфорку.
Горячие конфорки
Опасность ожога! Не прикасайтесь к горячим
конфоркам. Не позволяйте детям подходить
близко к прибору.
3
Информация для предварительного ознакомления. Официальной информацией изготовителя не является.
Опасность возгорания! Никогда не кладите
легковоспламеняющиеся предметы на вароч-
ную панель.
Опасность возгорания! Если под варочной
панелью находится выдвижной ящик, не сле-
дует хранить в нем воспламеняющиеся пред-
меты или аэрозольные баллончики.
Мокрая посуда
Опасность получения травмы! Попадание
и конфорки
жидкости между дном посуды и конфоркой
вызывает парообразование. Под давлением
пара кастрюля может неожиданно подскочить
вверх. Поэтому дно посуды и поверхность
конфорки всегда должны быть сухими.
Трещины на стекло
Опасность поражения электрическим током!
керамической
При обнаружении на стеклокерамической
поверхности сколов или трещин немедленно
поверхности
отключите прибор от электросети. Вызовите
специалиста Сервисной службы.
Конфорка нагрева
Опасность ожога! Если конфорка нагрева-
ется, индикатор
ется, но индикатор не работает, выключите
конфорку. Вызовите специалиста Сервисной
не работает
службы.
Варочная панель
Опасность возгорания! Если варочная панель
отключается
самопроизвольно отключается и после этого
перестает реагировать на управление, в даль-
нейшем она может так же самопроизвольно
включиться. Чтобы избежать этого, следует
отключить варочную панель от электросети.
Для этого выключите предохранитель в блоке
предохранителей. Вызовите специалиста
Сервисной службы.
Неквалифицирован
Опасность поражения электрическим током!
ный ремонт
При неквалифицированном ремонте прибор
может стать источником опасности. В слу
-
чае обнаружения неисправности прибора,
прежде всего, выключите предохранитель
в блоке предохранителей. Вызовите специ
-
алиста Сервисной службы. Любые ремонт
-
ные работы и замена электрического кабеля
должны производиться только прошедшим
специальное обучение специалистом Сер-
висной службы.
4

Информация для предварительного ознакомления. Официальной информацией изготовителя не является.
Причины
повреждений
Дно посуды
Неровное дно посуды может поцарапать стек-
локерамическую поверхность.
Избегайте нагревания пустой посуды. Это
может привести к повреждениям прибора.
Горячая посуда
Никогда не ставьте горячую посуду на панель
управления, зону индикаторов и раму. Это
может привести к их повреждению.
Соль, сахар и песок
Соль, сахар и песок могут поцарапать стекло-
керамическую поверхность. Не используйте
варочную панель в качестве полки или рабо-
чего стола.
Твердые и острые
Падение твердых или острых предметов
предметы
на варочную панель может привести к ее
повреждению.
Остатки пищи
Сахар и продукты с высоким содержанием
сахара могут повредить варочную панель.
Немедленно удаляйте остатки таких продук-
тов специальным скребком для стеклянных
поверхностей.
Неподходящие
Пятна с металлическим отливом могут появ-
чистящие средства
ляться на стеклокерамической поверхности
вследствие использования неподходящих
чистящих средств или трения посуды.
Фольга и пластмасса
При соприкосновении с горячими конфор-
ками алюминиевая фольга и пластмассовая
посуда могут расплавиться. Защитная пленка
для плит не предназначена для Вашей вароч-
ной панели.
5

Информация для предварительного ознакомления. Официальной информацией изготовителя не является.
6
Защита окружающей среды
Распакуйте прибор и утилизируйте упаковку
Экологичная
в соответствии с предписаниями по охране
утилизация
окружающей среды.
Данный прибор имеет маркировку в соот-
ветствии с европейской директивой 2002/96/
EG по утилизации старых электрических и
электронных приборов (waste electrical and
electronic equipment – WEEE), которая опре-
деляет порядок возврата и утилизации ста-
рых приборов на территории Европейского
союза.
Используйте посуду с толстым и плоским
Рекомендации
дном. Использование посуды с неплос
-
по экономии
ким дном приводит к увеличению расхода
электроэнергии
электроэнергии.
Диаметр дна посуды должен совпадать с
размером конфорки.
Обратите внимание: изготовители посуды
часто указывают верхний диаметр посуды,
который, как правило, больше диаметра
дна.
Выбирайте посуду с учетом количества
приготавливаемых продуктов. При приго
-
товлении в большой, но заполненной лишь
наполовину кастрюле расходуется много
электроэнергии.
Всегда накрывайте посуду подходящей
крышкой. При приготовлении без крышки
расход электроэнергии увеличивается в
четыре раза.

Информация для предварительного ознакомления. Официальной информацией изготовителя не является.
Варите с использованием небольшого
количества воды, благодаря этому Вы
сэкономите электроэнергию. К тому же в
овощах сохранятся все витамины и мине-
ральные вещества.
Своевременно переключайте конфорку на
более низкую ступень нагрева.
Используйте остаточное тепло варочной
панели. При продолжительном времени
приготовления можно выключить кон-
форку за 5-10 минут до окончания приго-
товления.
Знакомство с прибором
ET9..MK..
Ж 14,5 Ж 18/12
Ж 27,5/21 Ж 10
Ж = см
7

Информация для предварительного ознакомления. Официальной информацией изготовителя не является.
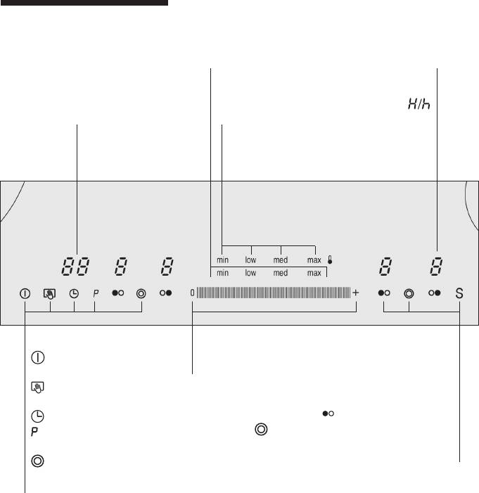
Панель
управления
Меню индикаторов
Индикация:
для режимов жарения
ступени нагрева конфорки 1 - 9
остаточного тепла
Индикатор
Индикаторы
таймера
ступеней сенсорного
режима жарения
Сенсоры:
Зона настройки
главного
для установки ступени нагрева
выключателя
конфорки и настройки таймера
блокировки
для чистки
Сенсоры
таймера
выбора конфорки
автоматических
подключения внешней зоны
программ
нагрева двухконтурной конфорки
подключения внешней
S сенсорного режима жарения
зоны нагрева двухкон-
турной конфорки
Символы
Если прикоснуться к символу, активируется
на панели управления
соответствующая функция.
Указания
Следите за тем, чтобы панель управления
всегда была сухой. Влага вызывает наруше
-
ния в работе прибора.
8

Информация для предварительного ознакомления. Официальной информацией изготовителя не является.
Конфорки
Конфорка Подключение и отключение
дополнительной зоны нагрева
Одноконтурная
конфорка
Двухконтурная
Прикоснитесь к символу .
конфорка
Подключение дополнительной зоны нагрева: загорается соответствующий
индикатор.
При включении конфорки автоматически выбирается размер зоны
нагрева, который был выбран в последний раз.
Для каждой конфорки на варочной панели
Индикация
предусмотрена двухступенчатая индикация
остаточного тепла
остаточного тепла.
Если на индикаторе отображается символ H,
это означает, что конфорка еще горячая. Ее
можно использовать для поддержания в теп-
лом состоянии небольшого блюда или рас-
тапливания шоколадной глазури. По мере
остывания конфорки индикация изменяется
на h. Когда конфорка охладится в достаточ-
ной степени, индикация погаснет.
9

Информация для предварительного ознакомления. Официальной информацией изготовителя не является.
Управление варочной панелью
В этой главе описано, как управлять конфор-
ками. В таблице Вы найдете время приготов
-
ления и ступени нагрева для различных блюд.
Варочная панель включается и выключается
Включение
главным выключателем.
и выключение
Включение: прикоснитесь к символу
. Заго-
варочной панели
рается индикатор над главным выключате-
лем. Варочная панель готова к работе.
Выключение: прикасайтесь к символу
до
тех пор, пока индикатор над главным выклю-
чателем не погаснет. Все конфорки выклю
-
чены. Индикация остаточного тепла продол
-
жает гореть до тех пор, пока конфорки не
охладятся в достаточной степени.
Примечание
Варочная панель автоматически выключается
примерно через 20 секунд после выключения
всех конфорок.
Нужная ступень нагрева конфорки устанавли-
Управление
вается с помощью зоны настройки на панели
конфоркой
управления.
Ступень нагрева 1 = минимальная мощность.
Ступень нагрева 9 = максимальная мощ-
ность.
Каждая ступень нагрева имеет промежуточ-
ное положение, обозначенное точкой.
10

Информация для предварительного ознакомления. Официальной информацией изготовителя не является.
Установка
Варочная панель должна быть включена.
ступени нагрева
1. Прикоснитесь к символу
для выбора
конфорки. На индикаторе конфорки заго
-
рается 0 и символ
.
2. Проводите пальцем по зоне настройки до
тех пор, пока на индикаторе конфорки не
появится нужная ступень нагрева.
Изменение ступени
Выберите конфорку и установите необхо-
нагрева
димую ступень нагрева с помощью зоны
настройки.
Выключение
Выберите конфорку и установите ступень
конфорки
нагрева 0 с помощью зоны настройки.
Указания
После выбора конфорки загорается символ
. Вы можете сразу же установить ступень
нагрева.
Температура конфорки регулируется вклю-
чением и выключением нагревательного эле-
мента. Даже при установке самой высокой
мощности нагревательный элемент может
включаться и выключаться.
11

Информация для предварительного ознакомления. Официальной информацией изготовителя не является.
В приведенной ниже таблице содержится
Таблица
несколько примеров.
приготовления
Время приготовления зависит от вида, веса и
качества продуктов. Поэтому возможны неко
-
торые отклонения от указанных значений.
Для доведения до кипения используйте сту-
пень нагрева 9.
Ступень
Продолжи
слабого
тельность
нагрева
приготов
ления на
ступени
слабого
нагрева, мин
Растапливание
Шоколад, шоколадная глазурь, масло, мед
1-2
–
Желатин
1-2
–
Разогрев и поддержание
в теплом состоянии
Густой суп (напр., чечевичный густой суп)
2
–
Молоко**
1.-2.
–
Сосиски в воде**
3-4
–
Размораживание и разогрев
Шпинат глубокой заморозки
2.-3.
20-30
Гуляш глубокой заморозки
2.-3.
10-15
Доведение до готовности,
варка на медленном огне
Клецки
4.-5.*
20-30
Рыба
4-5*
10-15
Белые соусы, например, соус бешамель
1-2
3-6
Взбитые соусы, например, голландский соус,
3-4
8-12
соус берне
Варка, приготовление на пару,
варка в собственном соку
Рис (с двойным количеством воды)
2-3
15-30
Молочная рисовая каша
1.-2.
25-35
Картофель в мундире
4-5
25-30
Отварной картофель
4-5
15-25
Макаронные изделия, лапша
6-7*
6-10
Рагу, супы
3.-4.
15-60
Овощи
2.-3.
10-20
Овощи глубокой заморозки
3.-4.
10-20
Приготовление в кастрюле-скороварке
4-5
–
12

Информация для предварительного ознакомления. Официальной информацией изготовителя не является.
Ступень
Продолжи
слабого
тельность
нагрева
приготов
ления на
ступени
слабого
нагрева, мин
Тушение
Рулеты
4-5
50-60
Жаркое
4-5
60-100
Гуляш
2.-3.
50-60
Жарение
Шницель, натуральный или панированный
6-7
6-10
Шницель глубокой заморозки
6-7
8-12
Котлета, натуральная или панированная
6-7
8-12
Стейк (толщиной 3 см)
7-8
8-12
Грудка птицы (толщиной 2 см)
5-6
10-20
Грудка птицы глубокой заморозки
5-6
10-30
Рыба и рыбное филе, натуральные
5-6
8-20
Рыба и рыбное филе, панированные
6-7
8-20
Рыба и рыбное филе глубокой заморозки,
6-7
8-12
панированные, например, рыбные палочки
Креветки
7-8
4-10
Жаркое на сковородке из мяса
6-7
6-10
глубокой заморозки
Оладьи
6-7
жарить
непрерывно
Омлет
3.-4.
жарить
непрерывно
Яичница-глазунья
5-6
3-6
Жарение во фритюре (порции по 150-200 г
жарить непрерывно в 1-2 л масла**)
Продукты глубокой заморозки, например,
8-9
картофель фри, куриные наггетсы
Крокеты
7-8
Фрикадельки
7-8
Мясо, например, кусочки цыпленка
6-7
Рыба панированная или в кляре
5-6
Овощи, грибы панированные или в кляре
5-6
Мелкая выпечка, например, пышки/пончики,
4-5
фрукты в кляре
* Приготовление на ступени слабого нагрева без крышки.
** Без крышки.
13

Информация для предварительного ознакомления. Официальной информацией изготовителя не является.
Жарение в сенсорном режиме
Если Вы пользуетесь конфоркой с сенсорным
режимом жарения, сенсор регулирует темпе-
ратуру сковороды.
Преимущества
Конфорка нагревается, только когда это
при жарении
необходимо. Это экономит электроэнергию.
Масло или жир не перегреваются.
Указания
Никогда не разогревайте жир без присмотра.
Ставьте сковороду по центру конфорки. Убе
-
дитесь, что Вы выбрали сковороду правиль-
ного диаметра.
Не закрывайте сковороду крышкой. Иначе
система регулировки работать не будет. Вы
можете использовать сетку для защиты от
брызг, она не будет мешать работе системы
регулировки.
Используйте только жир, подходящий для
жарения. Если Вы хотите использовать для
жарения сливочное масло, маргарин, олив-
ковое масло или топленое свиное сало, уста-
навливайте режим жарения «min».
Сковороду, подходящую для жарения в сен-
Сковороды
сорном режиме, Вы можете приобрести в спе-
для жарения
циализированном магазине или в Интернет-
в сенсорном
магазине www.siemens-eshop.com в качестве
режиме
специальной принадлежности (номер для
заказа HZ 390230).
Представленные ниже режимы жарения рас-
считаны на жаренье в такой специальной ско-
вороде.
Примечание
Для жарения в сенсорном режиме можно
также использовать обычные сковороды. Сна
-
чала проверьте сковороду в режиме жарения
«min», при необходимости измените режим.
При использовании более мощного режима
жарения сковорода может перегреться.
14

Информация для предварительного ознакомления. Официальной информацией изготовителя не является.
Режимы жарения
Режимы
Температура Подходит для
жарения
max
высокая картофельных оладий, жареного кар-
тофеля, стейков с кровью
med
средняя – высокая тонких продуктов для жарения –
таких, как шницели, панированные
блюда глубокой заморозки, овощи
low
низкая – средняя объемных продуктов для жарения –
таких, как фрикадельки, сосиски,
рыба
min
низкая омлетов, а также для продуктов,
обжариваемых в сливочном масле,
оливковом масле или маргарине
Выберите в таблице режим жарения, под-
Установка
ходящий для приготовления Вашего блюда.
Поставьте сковороду на конфорку.
При этом варочная панель должна быть вклю-
чена.
1. Прикоснитесь к символу S.
Загорается символ
A.
В меню индикаторов появляются возмож
-
ные режимы жарения.
15

Информация для предварительного ознакомления. Официальной информацией изготовителя не является.
2. В течение последующих 5 секунд выбе-
рите нужный режим жарения с помощью
зоны настройки.
Сенсорный режим жарения включен.
Большая двухконтурная конфорка автома
-
тически включается.
Символ температуры продолжает гореть,
пока не будет достигнута температура жаре-
ния. Затем раздается сигнал. Символ темпе
-
ратуры гаснет.
3. Положите в сковороду сначала жир для
жарения, а затем продукты.
Переворачивайте продукты как обычно, чтобы
они не пригорели.
Выключение
С помощью зоны настройки установите 0.
сенсорного режима
жарения
16

Информация для предварительного ознакомления. Официальной информацией изготовителя не является.
В таблице указано, какие режимы жарения
Таблица блюд
рекомендуется использовать для приготов-
для жарения
ления различных блюд. Время жарения зави
-
в сенсорном
сит от вида, веса, толщины и качества исход-
режиме
ных продуктов.
Режимы жарения указаны для специальных
сковород для жарения в сенсорном режиме.
При использовании других сковород режим
жарения может меняться.
Режим
Общее
жарения
время при
готовления
после
звукового
сигнала,
мин
Мясо
Шницель в панировке или без
med
6-10
Филе
med
6-10
Котлета
low
10-17
Кордон блю
low
15-20
Стейки с кровью (толщиной 3 см)
max
6-8
Стейки среднепрожаренные или
med
8-12
прожаренные (толщиной 3 см)
Грудки птицы (толщиной 2 см)
low
10-20
Колбаски отваренные или сырые
low
8-20
Гамбургеры / фрикадельки
low
6-30
Печеночный паштет
min
6-9
Бефстроганов, гирос
med
7-12
Мясной фарш
med
6-10
Бекон
min
5-8
Рыба
Рыба жареная
low
10-20
Рыбное филе в панировке или без
low/med
10-20
Омары, креветки
med
4-8
Блюда
Блины
med
непрерывно
из яиц
жарить
Омлеты
min
непрерывно
жарить
Яичница-глазунья
min/med
2-6
Яичница-болтунья
min
2-4
Императорский омлет
low
10-15
Гренки
low
непрерывно
жарить
17

Информация для предварительного ознакомления. Официальной информацией изготовителя не является.
Режим
Общее
жарения
время при
готовления
после
звукового
сигнала,
мин
Карто
Обжаренный вареный картофель
max
6-12
фельные
в мундире
блюда
Жареный сырой картофель*
low
15-25
Картофельные оладьи
max
непрерывно
жарить
Глазурованный картофель
med
10-15
Овощи
Чеснок/лук
min
2-10
Цуккини, баклажаны
low
4-12
Перец, зеленая спаржа
low
4-15
Грибы
med
10-15
Глазурованные овощи
med
6-10
Продукты
Шницель
med
15-20
глубокой
Кордон блю
low
10-30
заморозки
Грудки птицы
min
10-30
Куриные наггетсы
med
10-15
Гирос, кебаб
med
10-15
Рыбное филе натуральное или
low
10-20
панированное
Рыбные палочки
med
8-12
Картофель фри
med/max
4-6
Рагу/смесь овощей
min
8-15
Фаршированные блинчики
low
10-30
Камамбер/сыр
low
10-15
Прочие
Камамбер/сыр
low
7-10
блюда
Готовые сухие блюда, к которым
min
4-6
Вы добавляете воду, например,
макароны с соусом
Гренки
low
6-10
Жареный миндаль/другие орехи/
min
3-7
кедровые орехи*
* Выкладывать в холодную сковороду.
18

Информация для предварительного ознакомления. Официальной информацией изготовителя не является.
Программы жарения могут использоваться
Программы
только со специальной сковородой для жаре-
жарения
ния в сенсорном режиме.
Вы можете использовать программы жарения
для приготовления следующих блюд:
Программа
Блюдо
жарения
Р1 Шницель
Р2 Грудка птицы, кордон блю
Р3 Стейк с кровью
Р4 Стейк среднепрожаренный
или прожаренный
Р5 Рыба
Р6 Обжаренные в масле заморо-
женные овощи
Р7 Замороженный картофель фри
Р8 Блины
Р9 Омлет, яйца
Включение
Выберите конфорку.
программы жарения
1. Прикоснитесь к символу
. На индикаторе
ступени нагрева загорается 0. На индика-
торе программ загорается .
2. В течение последующих 5 секунд выбе-
рите нужную программу жарения с помо-
щью зоны настройки.
Программа жарения включается.
Символ температуры продолжает гореть,
пока не будет достигнута температура жаре-
ния. Затем раздается сигнал. Символ темпе
-
ратуры гаснет.
Положите в сковороду сначала жир для жаре-
ния, а затем продукты. Переворачивайте про
-
дукты как обычно, чтобы они не пригорели.
Выключение
С помощью зоны настройки установите 0.
программы жарения
19
- 1
- 2






