Siemens ER 847501E: инструкция
Характеристики, спецификации
Инструкция к Варочной Панели Siemens ER 847501E
Оглавление
- СОДЕРЖАНИЕ 1. Монтаж .................................................................................................... 4 2. Эксплуатация ....................................................................................... 15
- 3. На что следует обратить внимание .................................................... 19 4. Чистка и уход ........................................................................................ 22

Инструкция по эксплуатации
Газовая
варочная панель
Напечатано в России / апрель 2007 / 100 / GA2728
ER 847501E
901790
Информация по упаковочным материалам
и способам их утилизации
Уважаемая покупательница, уважаемый покупатель!
Для нашей высококачественной продукции необходима достаточная упаков
ка, чтобы защищать ее во время длительной транспортировки к Вам.
Однако упаковка, которой пользуется наша фирма, доведена до абсолютного
минимума, без которого невозможно защитить прибор во время транспорти
ровки.
Все материалы, которые используются для упаковки, не загрязняют окружаю
щую среду и полностью могут перерабатываться для вторичного использова
ния.
Картон на 80100% изготовлен из макулатуры.
Деревянные детали не подвергались химической обработке.
Пленка изготовлена из полиэтилена (PE), обвязочная лента изготовлена из
полипропилена (PP), а прокладки изготовлены из пенополистирола (PS) без
применения хлорированных/фторированных углеводородов. Эти материалы
представляют собой чистые углеводородные соединения и могут перераба
тываться для вторичного использования.
Благодаря переработке и вторичному использованию экономится сырье, и
уменьшается количество отходов.
Вы можете вернуть упаковку Вашего прибора для использования материала
тому продавцу, у которого Вы приобрели прибор.
О месте расположения центра сбора вторичного сырья и утилизации старых
приборов Вас могут информировать местные органы власти.
Пожалуйста, сделайте таким образом Ваш вклад в охрану окружающей среды
и вторичное использование материалов.
Наш вклад в охрану окружающей среды – мы используем бумагу, которая из
готовлена из отходов.
Информация для предварительного ознакомления. Официальной информацией изготовителя не является.
1
Если Вы хотите длительное время пользо
ваться всеми удобствами, предоставляе
мыми Вашей варочной панелью, пожалуй
ста, обратите особое внимание на указания,
которые даны в главах 3 и 4 настоящей ин
струкции по эксплуатации.
СОДЕРЖАНИЕ
1. Монтаж .................................................................................................... 4
Перед встраиванием .................................................................................... 4
Встраивание ................................................................................................. 5
Подключение к электросети ......................................................................... 6
Подключение к газовой сети (информация для монтера) ............................. 7
Предостережение ........................................................................................ 8
Перенастройка конфорок (за исключением конфорки «Wok»)
на другой тип газа (информация для монтера) ............................................. 9
Жиклер большого пламени ........................................................................... 9
Замена жиклера малого пламени ............................................................... 10
Проверка стабильности пламени ............................................................... 10
Таблица жиклеров ...................................................................................... 10
Перенастройка конфорки «Wok» на другой тип газа
(информация для монтера) ........................................................................ 12
Замена главного жиклера ........................................................................... 12
Регулировка первичного воздуха ............................................................... 12
Замена пластинки жиклера ........................................................................ 12
Замена жиклера малого пламени ............................................................... 13
Проверка стабильности пламени ............................................................... 13
Таблица жиклеров для конфорки «Wok» ...................................................... 14
2. Эксплуатация ....................................................................................... 15
Ваша новая варочная панель ...................................................................... 15
Важные указания по горелке «Wok» ............................................................ 15
Переключатель мощности газовой горелки ................................................ 16
Переключатель мощности газовой горелки «Wok» ..................................... 16
Поджиг ....................................................................................................... 17
Модели с устройством автоматической блокировки подачи газа ............... 18
Модели без устройства автоматической блокировки подачи газа ............. 18
Выключение подачи газа ............................................................................ 18
Примечания ................................................................................................ 18
2
Информация для предварительного ознакомления. Официальной информацией изготовителя не является.
3. На что следует обратить внимание .................................................... 19
Некоторые замечания относительно посуды .............................................. 19
Указания по приготовлению пищи на конфорке «Wok» ............................... 19
Перед первым приготовлением пищи ........................................................ 20
Важные указания ........................................................................................ 20
4. Чистка и уход ........................................................................................ 22
Как ухаживать за Вашей варочной панелью................................................ 22
Чистка ........................................................................................................ 22
Слабое загрязнение стеклокерамической поверхности ............................. 24
Сильное загрязнение стеклокерамической поверхности ........................... 24
Горелка и крышка горелки газовой конфорки ............................................. 24
Крышка горелки конфорки «Wok» ............................................................... 25
Решетка для посуды ................................................................................... 26
Информация для предварительного ознакомления. Официальной информацией изготовителя не является.
3

1. Монтаж
Эти встраиваемые варочные панели предусмот
Перед
рены для встраивания в вырез столешницы.
встраиванием
Подключение варочной панели должен произво
дить только электромонтер, имеющий на это
официальное разрешение. Только в этом случае
можно гарантировать, что будут соблюдены дей
ствующие инструкции и требования местных
энергоснабжающих предприятий по подключе
нию.
Размеры для встраивания Вы можете найти на
рисунке.
В случае, если под варочной панелью находится
выдвижной ящик, убедитесь, что в нем не нахо
дятся чувствительные к высоким температурам
или легко воспламеняющиеся предметы, напри
мер, аэрозольные баллоны или крем для обуви.
Используйте только ящик из теплостойких мате
риалов.
Не встраивайте варочную панель над невенти
лируемыми духовками, холодильниками, моро
зильниками, посудомоечными и стиральными
машинами.
4
Информация для предварительного ознакомления. Официальной информацией изготовителя не является.

Вытяжки следует устанавливать в соответствии с
инструкцией по монтажу вытяжки, однако на рас
стоянии не менее 650 мм от варочной панели.
В кухонном шкафу, в который встраивается ва
рочная панель, покрытие из пластмассы или
фанеры следует обработать жаростойким кле
ем. В противном случае это покрытие может,
особенно с узкой стороны, деформироваться
или отделиться.
Необработанные края выреза следует опечатать
водонепроницаемым материалом, например,
силиконом.
Перед подключением варочной панели проверь
те, соответствуют ли местные условия подклю
чения (вид и давление газа) настройкам прибо
ра. Обратите при этом внимание на специаль
ные предписания местных газоснабжающих
предприятий.
Параметры настройки указаны на типовой таб
личке прибора, расположенной на нижней сто
роне варочной панели.
Эта варочная панель не подключается к трубам
для отвода газообразных отходов. Их следует
установить и подключить в соответствии с дей
ствующими в настоящее время условиями уста
новки прибора. При этом обратите особое вни
мание на вентиляцию.
Допустимо применение деревянных плинтусов
Встраивание
в столешнице за встроенной варочной панелью,
если соблюдаются минимальные расстояния.
Применение пластмассовых плинтусов недопу
стимо.
Изменение цвета поверхностей объясняется
действием света.
Вставьте варочную панель в вырез столешницы
и закрепите упругими зажимными элементами.
Информация для предварительного ознакомления. Официальной информацией изготовителя не является.
5

Варочную панель следует встраивать таким об
разом, чтобы элементы управления располага
лись спереди.
При подключении варочной панели следует
Подключение
предусмотреть отключающее прибор от
электросети размыкающее устройство с ми
к электросети
нимальным расстоянием между контактами
3 мм.
В качестве таких размыкающих устройств мож
но использовать LSпереключатели, предохра
нители и контакторы.
При подключении к электросети следует ис
пользовать соединительные провода по край
ней мере типа H05VVF или H05VVH2F.
2
Поперечное сечение: 3G1 мм
.
При подключении прибора посредством штеке
ра, розетка для подключения прибора должна ос
таваться доступной и после монтажа прибора.
Если соединительные провода повреждены, их
следует заменить. Замена проводов должна осу
ществляться только нашей Сервисной службой.
Эти приборы по типу защиты от пожара от
носятся к классу «Y». Только приборы этого
типа можно пристраивать с одной стороны к сто
ящему рядом высокому шкафу.
CE: Этот прибор соответствует следующим ди
рективам Европейского сообщества:
– 72/23/EWG – директива по низкому напря
жению;
– 89/336/EWG – директива по электроприбо
рам;
– 90/396/EWG – директива по газовым прибо
рам.
6
Информация для предварительного ознакомления. Официальной информацией изготовителя не является.

Эти встраиваемые варочные панели относятся
Подключение
к приборам класса 3.
к газовой сети
Вид газа, на который варочную панель настрои
(информация
ли на заводе, указан с нижней стороны панели
рядом с местом подключения газа.
для монтера)
Соединительный уголок с прилагаемым уплот
нением привинтите в месте подключения к га
зовой сети.
В соответствии с действующими инструкциями
подключение варочной панели к газопроводу
следует производить после предварительной ус
тановки запорного крана. Этот кран всегда дол
жен оставаться легкодоступным.
Подключение природного газа или городского
газа осуществляется непосредственно через со
единительный элемент
1
/
2
".
Подключение сжиженного газа (пропанбутан)
осуществляется при промежуточном включении
соединительной детали диаметром 8х1 мм.
При планировке обратите внимание на положе
ние соединительного элемента. В месте подклю
чения к газовой сети должно иметься легко до
ступное запорное устройство. Мы рекоменду
ем установить безопасную газовую розетку в
соседнем шкафу слева.
Информация для предварительного ознакомления. Официальной информацией изготовителя не является.
7

Затем Вы можете герметично присоединить не
посредственно к соединительному патрубку ва
рочной панели безопасный газовый шланг дли
ной 80 см в соответствии с DIN 3383.
Максимальная допустимая длина состав
ляет 2,5 м.
Этот безопасный газовый шланг следует проло
жить таким образом, чтобы он не проходил че
рез зоны нагрева и не контактировал с нагреты
ми деталями варочной панели.
Он должен везде проходить свободно и не кон
тактировать с подвижными деталями кухонной
мебели и приборов (например, с выдвижными
ящиками).
Включайте предохранители и главный выключа
Предостережение
тель только после встраивания прибора. Прибор
следует встраивать в кухонную мебель в соот
ветствии с этой инструкцией по эксплуатации,
монтажу и техническому обслуживанию.
Мы предлагаем обратить внимание на то, что не
несем никакой ответственности за прямой и
опосредованный ущерб, обусловленный непра
вильным подключением или неквалифицирован
ным монтажом прибора. В любом случае перед
проведением ремонта следует отключить при
бор от электросети. Никогда не открывайте при
бор, при необходимости свяжитесь с нашей Сер
висной службой.
Особое внимание обратите на герметич
ность подключения!
Подключение прибора к газовой сети может
осуществлять только имеющий на это офи
циальное разрешение квалифицированный
специалист при соблюдении инструкций
DVGWTRGI 1986/96 или TRF 1988 (Германия)
или директивы
OO
OO
O VGW G1 (Австрия).
Кроме того, должны соблюдаться инструк
ции местной полиции и местных газоснабжа
ющих предприятий.
Только в этом случае будут соблюдены действу
ющие инструкции и условия подключения мест
ных энерго и газоснабжающих предприятий.
8
Информация для предварительного ознакомления. Официальной информацией изготовителя не является.

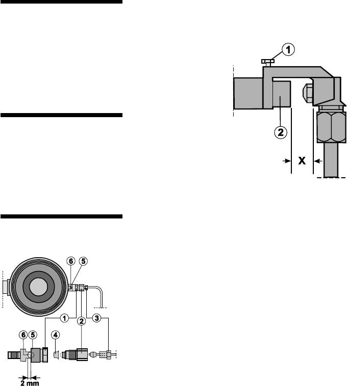
Жиклеры для перенастройки конфорок на
Перенастройка
другой вид газа Вы можете запросить в Сер
висной службе (см. прилагаемый перечень)
конфорок
или в специализированном магазине.
(за исключением
Перед переоборудованием конфорок на дру
конфорки «Wok»)
гой вид газа следует отключить варочную па
на другой тип газа
нель от электросети.
(информация
Вид газа, на который варочную панель настрои
для монтера)
ли на заводе, указан с нижней стороны панели
рядом с местом подключения газа.
Удалите крышку горел
Жиклер большого
ки, вывинтите жиклер
большого пламени (1)
пламени
и замените его в соот
ветствии с таблицей
жиклеров.
Снимите решетку и
Замена жиклера
крышку горелки.
малого пламени
Ослабьте крепежные
винты головки горелки
(2) и снимите головку горелки.
Указание: для варочных панелей с конфоркой
«Wok» ослабление крепежных винтов горелок см.
стр. 11.
Снимите с оси ручку переключателя мощности
газовой горелки.
Снимите раму со стеклянной поверхностью и
замените жиклер малого пламени (1) в соответ
ствии с таблицей жиклеров.
Затем установите раму со стеклянной поверхно
стью и привинтите головку горелки.
Наденьте на ось ручку переключателя мощнос
ти газовой горелки.
Поверх наклейки с заводскими настройками
приклейте этикетку с обозначением замененных
жиклеров.
Информация для предварительного ознакомления. Официальной информацией изготовителя не является.
9

После переоборудования конфорок проверьте
Проверка
стабильность пламени.
Для этого несколько раз поверните ручку за
стабильности
жженной горелки из положения максимального
пламени
пламени в положение минимального пламени.
Пламя при этом не должно гаснуть.
Используйте только жиклеры с клеймом!
Таблица жиклеров
Горелка Номинальн. Номинальн. Нагрузка Природн. Природн. Бутан + Бутан +
тепловая присоединен при газ Н/Е газ LL пропан пропан
нагрузка ная нагрузка малом G 20 G 25 G 30/31 G 30/31
природного Бутан + пламени 20 мбар 20 мбар 50 мбар 2830/
газа H
s
/ H
i
пропан 37 мбар
сзади 1,1 кВт/ 1,1 кВт
72 79 48 53 большая
0,30 кВт
справа 1,0 кВт 81 г/ч
43 43 26 29 малая
спереди
1,9 кВт/ 1,9 кВт
93 105 60 70 большая
слева +
0,38 кВт
1,75 кВт 138 г/ч
справа
48 48 28 31 малая
сзади 2,8 кВт/ 2,8 кВт
125 141 74 83 большая
0,60 кВт
слева 2,55 кВт 203 г/ч
58 58 34 39 малая
Номинальная потребляемая мощность 13,3 кВт – 968 г/ч
для сжиженного газа (с конфоркой «Wok»):
10
Информация для предварительного ознакомления. Официальной информацией изготовителя не является.

Жиклеры для переобо
Перенастройка
рудования конфорок
на другой вид газа Вы
конфорки «Wok»
можете запросить в
на другой тип газа
Сервисной службе
(информация
(см. прилагаемый пе
для монтера)
речень) или в специа
лизированном магази
не.
Перед переоборудо
ванием конфорок на
другой вид газа следу
ет отключить вароч
ную панель от элект
росети.
Вид газа, на который ва
рочную панель настрои
ли на заводе, указан с
нижней стороны панели
рядом с местом подклю
чения газа.
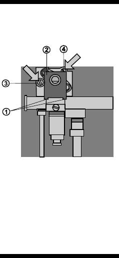
Снимите маленькую
крышку горелки (2),
большую крышку горел
ки (3), кольцо горелки (4)
и нижнюю часть большой крышки горелки (5).
Вывинтите отверткой 3 крепежных винта (6).
Снимите с оси ручку переключателя мощности
горелки «Wok».
Снимите раму со стеклянной поверхностью.
Информация для предварительного ознакомления. Официальной информацией изготовителя не является.
11

Вывинтите главный жиклер из воздухоподводно
Замена главного
го рукава с помощью гаечного ключа SW 10 (вра
щать влево). Одновременно гаечным ключом SW
жиклера
13 фиксируйте воздухоподводной рукав.
Ввинтите новый
главный жиклер,
при этом снова фик
сируйте гаечным
ключом воздухо
подводной рукав.
Ослабьте стопор
Регулировка
ный винт (1) и
сдвиньте втулку
первичного
смесителя (2) на
воздуха
расстояние, указан
ное в таблице жик
леров.
Снова затяните сто
порный винт (1).
С помощью гаечного ключа SW 8 вывинтите винт
Замена пластинки
(3) из детали с внутренней резьбой (2), при этом
фиксируйте эту деталь с помощью гаечного клю
жиклера
ча SW 12.
После этого с помощью гаечного ключа SW 12
вывинтите деталь с внутренней резьбой (2) из
детали (1), которую при этом фиксируйте с по
мощью гаечного ключа SW 12.
Выньте из детали (1) содержащуюся в ней плас
тинку жиклера (4) и замените ее пластинкой жик
лера соответствующего номера, который Вы мо
жете узнать из таблицы жиклеров.
Оба отверстия для впуска воздуха (6) скоррек
тируйте на 2 мм путем закручивания воздушной
втулки (5).
12
Информация для предварительного ознакомления. Официальной информацией изготовителя не является.

Ослабьте штекерный соединитель (1) микропе
Замена жиклера
реключателя (2).
малого пламени
С помощью маленькой отвертки отвинтите оба
жиклера малого пламени в газопроводной арма
туре.
Выньте жиклеры с помощью кусачек.
Вставьте и завинтите жиклеры в соответствии с
таблицей жиклеров.
3 = жиклер малого пламени с малым диаметром
расточенного отверстия
4 = жиклер малого пламени с большим диамет
ром расточенного отверстия
После этого закрутите все детали в обратном по
рядке и проверьте на герметичность, включив го
релку без установленной стеклокерамической
поверхности (зажигайте спичками).
Смонтируйте газовую варочную панель, дей
ствуя в обратной последовательности.
Поверх наклейки с заводскими настройками
приклейте этикетку с обозначением замененных
жиклеров.
После переоборудования конфорок проверьте
Проверка
стабильность пламени.
Для этого несколько раз поверните ручку за
стабильности
жженной горелки из положения максимального
пламени
пламени в положение минимального пламени.
Пламя при этом не должно гаснуть.
Информация для предварительного ознакомления. Официальной информацией изготовителя не является.
13

Используйте только жиклеры с клеймом!
Таблица жиклеров
для конфорки
«Wok»
Природный Природный Бутан+ Бутан+
газ Н/Е газ LL пропан пропан
G 20 G 25 G 30/31 G 30/31
20 мбар 20 мбар 50 мбар 2830/37
мбар
Главный жиклер 170 185 96 112
Пластинка жиклера № 6 № 34 № 7 № 7
(главный жиклер
для внутренней горелки)
Жиклер малого пламени 74,36 88,40 64,20 72,23
Зазор «Х» перед 10 мм 5 мм 7 мм 9 мм
смесительной втулкой
Номинальная
тепловая нагрузка 5,65,0 кВт
природного газа Hs – Hi
Номинальная
присоединенная нагрузка 5,6 кВт – 408 г/ч
сжиженного газа
Нагрузка при малом пламени 0,19 кВт
14
Информация для предварительного ознакомления. Официальной информацией изготовителя не является.

2. Эксплуатация
1 Экономичная горелка 1,1 кВт
Ваша новая
2 Горелка стандартной мощности 1,9 кВт
варочная панель
3 Горелка повышенной мощности 2,8 кВт
4 Горелка «Wok» 5,6 кВт
5 Переключатели мощности газовых горелок
Головку горелки 5 на корпус горелки 7, а также
Важные указания
крышку горелки 3 на головку горелки 5 уклады
вайте таким образом, чтобы препятствующий
по горелке «Wok»
перекручиванию штифт или выступ ложи
лись в отверстие или выемку.
Головка горелки 5 или крышка горелки 2 и 3 дол
жны быть правильно собраны, так как в против
ном случае нельзя гарантировать безупреч
ную работу горелки, да и варочную панель
можно повредить.
Информация для предварительного ознакомления. Официальной информацией изготовителя не является.
15

С помощью этого переключателя плавно регули
Переключатель
руется мощность газовых горелок.
мощности
«Малое пламя» = минимальная мощность
газовой горелки
«Большое пламя» = максимальная мощность
Положения переключателя:
Переключатель
Выключено Подача газа прекращается
мощности
Самое большое
Пламя внешнего и внутрен
газовой горелки
пламя
него кольца горелки установ
«Wok»
лено на высокий уровень
Большое пламя Пламя внешнего кольца
горелки установлено на
низкий уровень, пламя внут
реннего кольца горелки
установлено на высокий
уровень
Малое пламя
Пламя внутреннего кольца
установлено на высокий
уровень
Самое малое
Пламя внутреннего кольца
пламя
установлено на низкий уро
вень
16
Информация для предварительного ознакомления. Официальной информацией изготовителя не является.

Пояснение к регулировке мощности
переключателем:
Чтобы довести жидкость до кипения, установи
те переключатель в положение «Самое большое
пламя» или «Большое пламя». Для варки на «мед
ленном огне» можно установить переключатель
в любое положение между «Самым большим
пламенем» и «Малым пламенем».
Следует проследить за тем, чтобы при быстром
переключении на низкую мощность пламя не
гасло.
Для уменьшения уровеня пламени с высоко
го до низкого поверните переключатель мощ
ности конфорки влево до необходимого по
ложения.
Для увеличения уровеня пламени с низкого
до высокого поверните переключатель мощ
ности конфорки вправо до необходимого по
ложения, при этом на конфорке должна на
ходиться кастрюля.
Сначала, надавливая на ручку переключателя
Поджиг
мощности горелки, поверните ее влево (против
часовой стрелки) до положения «Самое большое
пламя» или «Большое пламя».
Для моделей с устройством автоматической
блокировки подачи газа с силой нажмите на руч
ку; только теперь газ появится в горелке и заго
рится под действием устройства синхронизиро
ванного искрового поджига.
В моделях без устройства автоматической бло
кировки подачи газа газ идет из горелки, как
только ручка переключателя мощности устанав
ливается в положение «Самое большое пламя»
или «Большое пламя».
С силой нажмите на ручку, чтобы газ загорелся
под действием устройства синхронизированно
го искрового поджига.
Информация для предварительного ознакомления. Официальной информацией изготовителя не является.
17

Не нажимайте на ручку переключателя мощнос
Модели с
ти в течение более чем 15 секунд. Если пламя в
горелке не появится в течение этих 15 секунд,
устройством
отпустите ручку и откройте дверь для проветри
автоматической
вания помещения, или подождите, по меньшей
блокировки
мере, одну минуту перед повторной попыткой
подачи газа
поджига.
После успешного поджига удерживайте ручку
нажатой в течение нескольких секунд (пример
но 67 секунд), пока газ не начнет идти без удер
жания ручки (для этого должен в достаточной
степени нагреться термодатчик). Если Вы отпу
стите ручку слишком рано, пламя погаснет.
Каждая газовая горелка оснащена устрой
ством автоматической блокировки подачи
газа! Для Вас это означает, что если пламя
погаснет (например, зальется кипящей жид
костью), газ перестанет идти.
Если по какойлибо причине пламя в горелке по
Модели без
гасло, переведите ручку переключателя мощно
сти в выключенное состояние и подождите, по
устройства
меньшей мере, одну минуту перед повторной
автоматической
попыткой поджига.
блокировки
подачи газа
Выключение газа осуществляется путем поворо
Выключение
та переключателя мощности в начальное поло
жение.
подачи газа
Использование варочных панелей с газовыми
Примечания
конфорками ведет к образованию тепла и влаж
ности в помещении, где они располагаются. По
этой причине следует обеспечить хорошее про
ветривание кухни: для этого должны быть откры
ты естественные вентиляционные отверстия или
следует использовать механическое вентиляци
онное устройство (например, вытяжку).
При длительной и интенсивной эксплуатации ва
рочной панели может потребоваться дополни
тельная вентиляция, достигаемая, например,
путем открывания окна или путем использова
ния более эффективной вентиляции, например,
с помощью более мощного механического вен
тиляционного устройства на высокой ступени
мощности.
18
Информация для предварительного ознакомления. Официальной информацией изготовителя не является.

3. НА ЧТО СЛЕДУЕТ ОБРАТИТЬ
ВНИМАНИЕ
Чтобы обеспечить максимальную эффектив
Некоторые
ность использования пламени, пламя не долж
но выходить за пределы размеров дна посуды,
замечания
которая стоит на конфорке, т.е. размер дна по
относительно
суды должен быть таким, чтобы полностью зак
посуды
рывалось пламя.
Если Вы будете всегда ставить посуду на кон
форку соответствующего размера, это сэконо
мит Вам деньги, время и энергию.
Следите за тем, чтобы кастрюля находилась по
центру горелки.
Рекомендуемый Минимальный
диаметр посуды диаметр посуды
Экономичная 100160 мм 100 мм
горелка
Горелка 140200 мм 120 мм
стандартной
мощности
Горелка 180240 мм 160 мм
повышенной
мощности
Горелка «Wok»:
для основной 140280 мм 140 мм
решетки
для < 140 мм
дополнитель
ной решетки
Диаметр дна кастрюли или сковороды не дол
Указания по
жен превышать 28 см. При использовании посу
ды большего размера горячие газы, образующи
приготовлению
еся при горении, выходят изпод посуды и на
пищи на конфорке
носят ущерб столешнице или стене, если они не
«Wok»
изготовлены из жаропрочных материалов.
Информация для предварительного ознакомления. Официальной информацией изготовителя не является.
19









