Hach-Lange POLYMETRON 9500 Basic User Manual: Монтаж
Монтаж: Hach-Lange POLYMETRON 9500 Basic User Manual

Контроллер позволяет подключать не более двух модулей датчиков вместе с одним
коммуникационным модулем. К модулям датчиков при помощи кабелей могут быть
подсоединены различные датчики. Указания по расположению кабелей датчиков приводятся в
руководствах по соответствующему датчику и соответствующему модулю.
Реле, выходы и сигналы
Контроллер имеет четыре настраиваемых релейных выхода и два аналоговых выхода.
Опциональный модуль аналоговых выходов позволяет увеличить число аналоговых выходов
до пяти.
Поиск устройств
Кроме двух случаев, контроллер автоматически, без вмешательства пользователя, ищет
подключенные устройства при включении питания. Первое исключение: первое включение
контроллера перед первым использованием. Второе исключение: включение питания после
сброса настроек контроллера к значениям по умолчанию. В обоих случаях на контроллере
выводятся экраны выбора языка, даты и времени. После установления настроек языка, даты и
времени контроллер выполняет поиск устройств.
Корпус контроллера
Корпус контроллера относится к классу NEMA 4X/IP66 и имеет антикоррозийное покрытие,
предназначенное для работы в агрессивной среде, такой как солевой туман или сероводород.
При работе вне помещения настоятельно рекомендуется предусмотреть защиту от
воздействия внешней среды.
Примечание: блоки, сертифицированные в соответствии с UL, предназначены для работы только в
помещениях и не соответствуют уровню защиты NEMA 4X/IP66.
Способы установки контроллера
Контроллер можно устанавливать на панели, на стене, на вертикальной или горизонтальной
трубе. Прилагаемая неопреновая уплотнительная прокладка может использоваться для
уменьшения вибрации. Прокладку можно использовать как основу при установке на панели до
отделения внутренней компоненты прокладки.
Монтаж
Установка компонентов и габаритные размеры
О С Т О Р О Ж Н О
Риск получения травмы. Работы, описываемые в данном разделе настоящего руководства пользователя,
должны выполняться только квалифицированным персоналом.
Контроллер можно установить на поверхности, на панели или на трубе (горизонтальной или
вертикальной). Варианты установки и инструкции приведены на Рисунок 2, Рисунок 3
на стр. 262, Рисунок 4 на стр. 263, Рисунок 5 на стр. 264 и Рисунок 6 на стр. 265.
При установке на горизонтальной трубе лапы крепления (Рисунок 2) закрепляются на
монтажной скобке в вертикальном положении.
При горизонтальной и вертикальной установке монтажная скобка присоединятся к
контроллеру, как показано на Рисунок 5 на стр. 264.
260
Русский

Рисунок 2 Элементы крепления
1 Лапы крепления (2x) 7 Стопорная шайба, внутренний диаметр ¼ дюйма
(4x)
2 Уплотнительная прокладка для установки на
8 Гайка шестигранная с зубчатой шайбой, M5 x
панели, неопрен
0,8 (4x)
3 Скобка для установки на стене или на трубе 9 Винты с плоскоконической головкой, M5 x 0,8 x
100 мм (4x) (для установки на трубах различных
диаметров)
4 Виброизолирующая прокладка для установки на
10 Винты с плоскоконической головкой, M5 x 0,8 x
трубе
15 мм (4x)
5 Виброизолирующая шайба для установки на
11 Кронштейн для монтажа панели
трубе (4x)
6 Плоская шайба, внутренний диаметр ¼ дюйма
(4x)
Русский 261

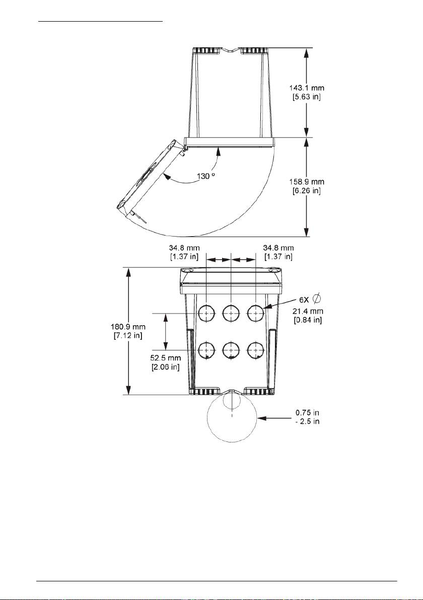
Установка контроллера
Рисунок 3 Размеры при монтаже на поверхности
262 Русский

Рисунок 4 Размеры при монтаже на панели
Примечание: есл идля монтажа панели будет использоваться кронштейн (поставляется в комплекте),
протолкните контроллер через отверстие в панели, а затем надвиньте кронштейн над контроллером
на боковой стороне панели. Для прикрепления кронштейна к контроллеру и фиксации контроллера на
панели используйте четыре винта 15 мм с полукруглой головкой (поставляются в комплекте).
Русский
263

Рисунок 5 Установка на трубе (вертикальной)
264 Русский

Рисунок 6 Вид сверху и снизу
Высоковольтный экран
Высоковольтные кабели контроллера находятся за экраном высокого напряжения в корпусе
контроллера. Экран должен находиться на месте, за исключением случаев установки модулей
или выполняемых квалифицированным инженером работ с кабелями питания, сигнализации,
выходов или реле. Запрещается снимать экран, если контроллер находится под напряжением.
Русский
265

Замечания, касающиеся электростатического разряда (ESD)
У В Е Д О М Л Е Н И Е
Опасность повреждения прибора. Чувствительные электронные компоненты могут быть повреждены
статическим электричеством, что приведет к ухудшению рабочих характеристик прибора или его
последующей поломке.
Выполните шаги в процедуре для предотвращения повреждения прибора электростатическим
разрядом:
• Коснитесь заземленной металлической поверхности, например, шасси прибора,
металлического трубопровода или трубы, чтобы снять электростатический заряд с теля.
• Избегайте чрезмерных перемещений. Транспортировку чувствительных к
электростатическим разрядам компонентов следует производить в антистатических
контейнерах или упаковках.
• Следует носить антистатический браслет, соединенный провод с заземляющим контактом.
• Следует работать в электростатически безопасном окружении с антистатическими
ковриками и ковриками для рабочего места.
Схема соединений
На Рисунок 7 приводится общий вид соединений внутри контроллера со снятым
высоковольтным экраном. В левой части рисунка показана обратная сторона крышки
контроллера.
Примечание: перед установкой модуля удалите колпачки разъемов.
Рисунок 7 Схема соединений
1
1 Подключение сервисного
4 Разъем коммуникационного
7 Клеммы реле
кабеля
модуля (напр., Modbus,
Profibus, опциональный
модуль 4-20 мА и др.)
1
2 Выход 4-20 мА
5 Разъемы питания
8 Соединитель проводки,
1
переменного и постоянного
дискретный вход
1
тока
3 Разъем модуля датчика 6 Клеммы заземления
1
Для облегчения доступа клеммы можно снять.
266
Русский

Разводка питания
П Р Е Д У П Р Е Ж Д Е Н И Е
Опасность поражения электрическим током. При выполнении работ по электромонтажу всегда отключайте
питание от прибора.
П Р Е Д У П Р Е Ж Д Е Н И Е
Опасность поражения электрическим током. При использовании прибора на открытом воздухе, в условиях
потенциальной повышенной влажности, может произойти короткое замыкание, поэтому необходимо
использовать специальные приспособления для подключения устройства к электросети.
О П А С Н О С Т Ь
Опасность поражения электрическим током. Не подключайте модель, требующую напряжения 24 В, к сети
переменного тока.
П Р Е Д У П Р Е Ж Д Е Н И Е
Опасность поражения электрическим током. Защитное заземление (PE) требуется для электропроводки от
100 до 240 В пер. тока и 24 В пост. тока. Отсутствие хорошего защитного заземления может привести к
поражению электрическим током и плохой работе вследствие электромагнитных помех. ВСЕГДА
подключайте надежное защитное заземление к зажиму контроллера.
У В Е Д О М Л Е Н И Е
Устанавливайте прибор таким образом, чтобы его было удобно в любой момент отсоединить или
выключить.
Контроллер выпускается в модификациях на 100-240 В~ и на 24 В=. Необходимо следовать
инструкциям по разводке питания для приобретенной модели.
Контроллер может подключаться к линии питания непосредственно или при помощи кабеля
питания. Независимо от типа монтажа подключение выполняется к одним и тем же клеммам.
Локальное отключение должно отвечать требованиям местных электротехнических правил и
норм и должно быть определено для всех типов установок. В случаях фиксированного
подключения линии питания и заземления для прибора должны соответствовать от 18 до
12 AWG.
Примечания:
• Перед выполнением любых электрических соединений высоковольтный экран должен быть
снят. По завершении всех соединений высоковольтный экран необходимо вернуть на место
перед закрытием крышки контроллера.
• Кабельный сальник изолирующего типа и шнур питания длиной менее 3 м (10 футов) с
тремя проводниками 18 калибра (включая заземление) можно использовать для
обеспечения класса защиты среды NEMA 4X/IP66.
• Контроллер можно заказать с предустановленным кабелем питания переменного тока.
Можно также заказать дополнительные кабели питания.
• Источник питания для контроллера с питанием 24 В= должен обеспечивать постоянство
напряжения 24 В= в пределах -15% +20%. Источник питания постоянного тока должен также
обеспечивать необходимый уровень защиты от скачков и подъемов напряжения в сети.
Процедура подключения
При подсоединении проводов питания необходимо следовать пронумерованным этапам, а
также Таблица 1 и Таблица 2. Каждый проводник вставляется в соответствующую клемму, так
чтобы изоляция доходила до клеммы, не оставляя оголенного провода. Осторожно затяните
клемму для обеспечения надежного контакта. Закройте все неиспользуемые отверстия в
корпусе контроллера гермовводами кабельного канала.
Русский
267

Таблица 1 Информация по разводке питания переменного тока (только для моделей с
питанием переменного тока)
Цвет — Северная
Клемма Описание
Цвет — ЕС
Америка
1 Фаза (L1) Черный Коричневый
2 Нейтраль (L2) Белый Синий
— Защитное заземление (PE)
Зеленый Желто-зеленый
Заземляющая клемма
Таблица 2 Информация по разводке питания постоянного тока (только для моделей с
питанием постоянного тока)
Цвет — Северная
Клемма Описание
Цвет — ЕС
Америка
1 +24 В пост. тока Красный Красный
2 Обратный провод 24 В пост. тока Черный Черный
— Защитное заземление (PE)
Зеленый Желто-зеленый
Заземляющая клемма
268 Русский

Русский 269

Сигнализация и реле
Контроллер снабжен четырьмя однополюсными реле без питания, рассчитанными на
максимальную резистивную нагрузку 100-250 В~, 50/60 Гц, 5 А. Контакты рассчитаны на
максимальную резистивную нагрузку 250 В переменного тока, 5 А для контроллера с питанием
переменного тока и на максимальную резистивную нагрузку 24 В постоянного тока, 5 А для
контроллера с питанием переменного тока. Реле не рассчитаны на индуктивную нагрузку.
Подключение реле
П Р Е Д У П Р Е Ж Д Е Н И Е
Опасность поражения электрическим током. При выполнении работ по электромонтажу всегда отключайте
питание от прибора.
П Р Е Д У П Р Е Ж Д Е Н И Е
Опасность возникновения пожара. Контакты реле рассчитаны на ток 5 А и не защищены
предохранителем. Внешняя нагрузка, подключаемая к реле, должна иметь устройство ограничения тока
не выше 5 А.
П Р Е Д У П Р Е Ж Д Е Н И Е
Опасность возникновения пожара. Не рекомендуется часто переключать общие контакты реле или
перемычки от сетевого источника питания внутри устройства.
П Р Е Д У П Р Е Ж Д Е Н И Е
Опасность поражения электрическим током. Для обеспечения защиты корпуса от воздействия
окружающей среды по классу NEMA/IP для ввода кабелей в устройство рекомендуется использовать
только разъемы и сальники кабелей класса не ниже NEMA 4X/IP66.
Контроллеры с питанием переменного тока (100—250 В)
П Р Е Д У П Р Е Ж Д Е Н И Е
Опасность поражения электрическим током. Контроллеры, питающиеся от сети переменного тока
(115 V–230 В), предназначены для подключения к сети переменного тока (то есть для напряжений,
превышающих 16 В-RMS, 22,6 В-PEAK или 35 В=) через реле.
Отсек для кабелей не рассчитан для подключения к источникам напряжения свыше 250 В~.
Контроллеры с питанием 24 В=
П Р Е Д У П Р Е Ж Д Е Н И Е
Опасность поражения электрическим током. Контроллеры с питанием 24 В предназначены для
подключения к сетям низкого напряжения (то есть для напряжений, не превышающих 16 В-RMS, 22,6 В-
PEAK или 35 В=).
Реле контроллера с питанием 24 В= предназначены для подключения к схемам НИЗКОГО
напряжения (напр., напряжений ниже 30 В — действующего, 42,2 В — пикового, 60 В —
постоянного тока). Отсек для кабелей не рассчитан на подключение к источникам более
высокого напряжения.
Разъем реле рассчитан на кабель диаметром 18-12 AWG (согласно указанной нагрузке). Не
рекомендуется использовать провод диаметром менее 18 AWG.
Нормально разомкнутые (NO) и общие (COM) контакты реле замыкаются при аварийном
сигнале или ином соответствующем условии. Нормально замкнутые (NC) и общие контакты
реле замкнуты, если аварийный сигнал или иное соответствующее условие отсутствуют
(кроме случаев, когда включен (установлен на "Yes") режим безопасного выхода из строя) или
когда выключено питание контроллера.
В большинстве случаев подключения реле используются либо клеммы NO и COM, либо
клеммы NC и COM. На пронумерованных схемах показаны этапы подключения к клеммам NO
и COM.
270
Русский

Русский 271

Подключение аналоговых выходов
П Р Е Д У П Р Е Ж Д Е Н И Е
Опасность поражения электрическим током. При выполнении работ по электромонтажу всегда отключайте
питание от прибора.
П Р Е Д У П Р Е Ж Д Е Н И Е
Опасность поражения электрическим током. Для обеспечения защиты корпуса от воздействия
окружающей среды по классу NEMA/IP для ввода кабелей в устройство рекомендуется использовать
только разъемы и сальники кабелей класса не ниже NEMA 4X/IP66.
В устройстве имеются два изолированных аналоговых выхода. Эти выходы обычно
используются для передачи аналоговых сигналов или для управления другими внешними
устройствами. Подключите кабели к контроллеру, как показано на Рисунок 8 и в Таблица 3.
Примечание: На Рисунок 8 показана задняя сторона крышки контроллера, а не внутренние элементы
основного отсека контроллера.
Рисунок 8 Подключение аналоговых выходов
Таблица 3 Подключения выходов
Кабели устройства записи Положение на монтажной плате
Выход 2- 4
Выход 2+ 3
Выход 1- 2
Выход 1+ 1
1. Откройте крышку контроллера.
2. Запитывайте провода через кабельный сальник.
3. При необходимости поправьте провод и затяните кабельный сальник.
4. Выполните подключения при помощи экранированной витой пары и подключите экран со
стороны управляемого элемента или со стороны контура управления.
• Не подключайте экран с обоих концов кабеля.
• При использовании неэкранированного кабеля может испускаться радиочастотное
излучение или уровень восприимчивости может оказаться выше допустимого.
• Максимальное сопротивление контура составляет 500 Ом.
272
Русский

5. Закройте крышку контроллера и затяните винты крышки.
6. Настройте выходы контроллера.
Проводные соединения с дискретным входом
П Р Е Д У П Р Е Ж Д Е Н И Е
Опасность поражения электрическим током. При выполнении работ по электромонтажу всегда отключайте
питание от прибора.
П Р Е Д У П Р Е Ж Д Е Н И Е
Опасность поражения электрическим током. Для обеспечения защиты корпуса от воздействия
окружающей среды по классу NEMA/IP для ввода кабелей в устройство рекомендуется использовать
только разъемы и сальники кабелей класса не ниже NEMA 4X/IP66.
Три дискретных входа предусмотрены для входов на корпусе коммутатора или входов
напряжения логического уровня. Выполните проводные подключения и настройте параметры
перемычки для контроллера, как показано на Рисунок 9, Таблица 4 и Рисунок 10.
Примечание: На Рисунок 9 показана задняя сторона крышки контроллера, а не внутренние элементы
основного отсека контроллера.
Рисунок 9 Проводные соединения с дискретным входом
Таблица 4 Соединения на входе
Дискретные входы Положение разъема - вход
Положение разъема - вход
коммутатора
напряжения
Вход 1+ 3 2
Вход 1- 2 3
Вход 2+ 6 5
Вход 2- 5 6
Вход 3+ 8 7
Вход 3- 7 8
Русский 273
Table of contents
- English..............................................................................................................................3 Deutsch..........................................................................................................................27 Italiano............................................................................................................................53 Français.........................................................................................................................79 Español........................................................................................................................105 Português....................................................................................................................131 中文...............................................................................................................................157 Nederlands.................................................................................................................180 Polski............................................................................................................................206 Suomi............................................................................................................................232 Русский........................................................................................................................256
- Additional information
- Installation
- User interface and navigation
- System startup
- Maintenance
- Zusätzliche Informationen
- Installation
- Benutzerschnittstelle und Navigation
- Inbetriebnahme
- Wartung
- Fehlersuche
- Ulteriori informazioni
- Informazioni generali
- Installazione
- Interfaccia utente e navigazione
- Avvio del sistema
- Manutenzione
- Risoluzione dei problemi
- Informations supplémentaires
- Généralités
- Montage
- Interface utilisateur et navigation
- Démarrage du système
- Entretien
- Recherche de panne
- Información adicional
- Información general
- Instalación
- Interfaz del usuario y navegación
- Arranque del sistema
- Mantenimiento
- Solución de problemas
- Informação adicional
- Informação geral
- Instalação
- Interface do utilizador e navegação
- Arranque do sistema
- Manutenção
- Resolução de problemas
- 附加信息
- 安装
- 用户界面及导航
- 系统启动
- 维护
- Meer informatie
- Algemene informatie
- Installatie
- Gebruikersinterface en navigatie
- Het systeem starten
- Onderhoud
- Foutenopsporing
- Dodatkowe informacje
- Instalacja
- Interfejs użytkownika i nawigacja
- Uruchamianie systemu
- Konserwacja
- Rozwiązywanie problemów
- Lisätiedot
- Asennus
- Käyttöliittymä ja selaaminen
- Järjestelmän käynnistäminen
- Huolto
- Vianmääritys
- Дополнительная информация
- Общая информация
- Монтаж
- Пользовательский интерфейс и управление курсором
- Запуск системы
- Техническое обслуживание

