Hach-Lange POLYMETRON 9500 Basic User Manual: Installatie
Installatie: Hach-Lange POLYMETRON 9500 Basic User Manual

te dempen. De pakking kan worden gebruikt als sjabloon voor paneelmontage, voordat het binnenste
gedeelte van de pakking van het omringende gedeelte wordt gescheiden.
Installatie
Montagemiddelen en afmetingen
V O O R Z I C H T I G
Risico op persoonlijk letsel. Alleen bevoegd personeel mag de in dit deel van de handleiding beschreven taken
uitvoeren.
De -controller kan op een oppervlak, paneel of buis worden gemonteerd (horizontaal of verticaal).
Voor montageopties en instructies zie Afbeelding 2, Afbeelding 3 op pagina 186, Afbeelding 4
op pagina 187, Afbeelding 5 op pagina 188 en Afbeelding 6 op pagina 189.
Voor montage aan een horizontale buis moeten de montagevoeten (Afbeelding 2) verticaal aan de
montagesteun worden bevestigd.
Bevestig de montagesteun zowel bij montage aan een horizontale als aan een verticale buis zoals
afgebeeld in Afbeelding 5 op pagina 188 aan de controller.
184 Nederlands

Afbeelding 2 Montagemiddelen
1 Montagevoet (2x) 7 Borgring, binnendiameter ¼ inch (4x)
2 Pakking voor paneelmontage, neopreen 8 Zeskantmoer met sluitring M5 x 0,8 (4x)
3 Steun voor wand- en buismontage 9 Bolkopschroeven M5 x 0,8 x 100 mm (4x) (te
gebruiken voor montage aan buizen met
verschillende diameter)
4 Trillingsdempende pakking voor buismontage 10 Bolkopschroeven M5 x 0,8 x 15 mm (4x)
5 Trillingsdempende onderlegring voor buismontage
11 Beugel voor paneelmontage
(4x)
6 Platte onderlegring, binnendiameter ¼ inch (4x)
Nederlands 185

Controller monteren
Afbeelding 3 Afmetingen wandmontage
186 Nederlands

Afbeelding 4 Afmetingen paneelmontage
Opmerking: Bij gebruik van de beugel voor paneelmontage (meegeleverd), duw de controller door het gat in het
paneel en schuif de beugel over de controller op de achterzijde van het paneel. Gebruik de vier 15 mm
cilinderkopschroeven (meegeleverd) om de beugel te bevestigen aan de controller en om de controller op het
paneel vast te zetten.
Nederlands
187

Afbeelding 5 Buismontage (verticale buis)
188 Nederlands

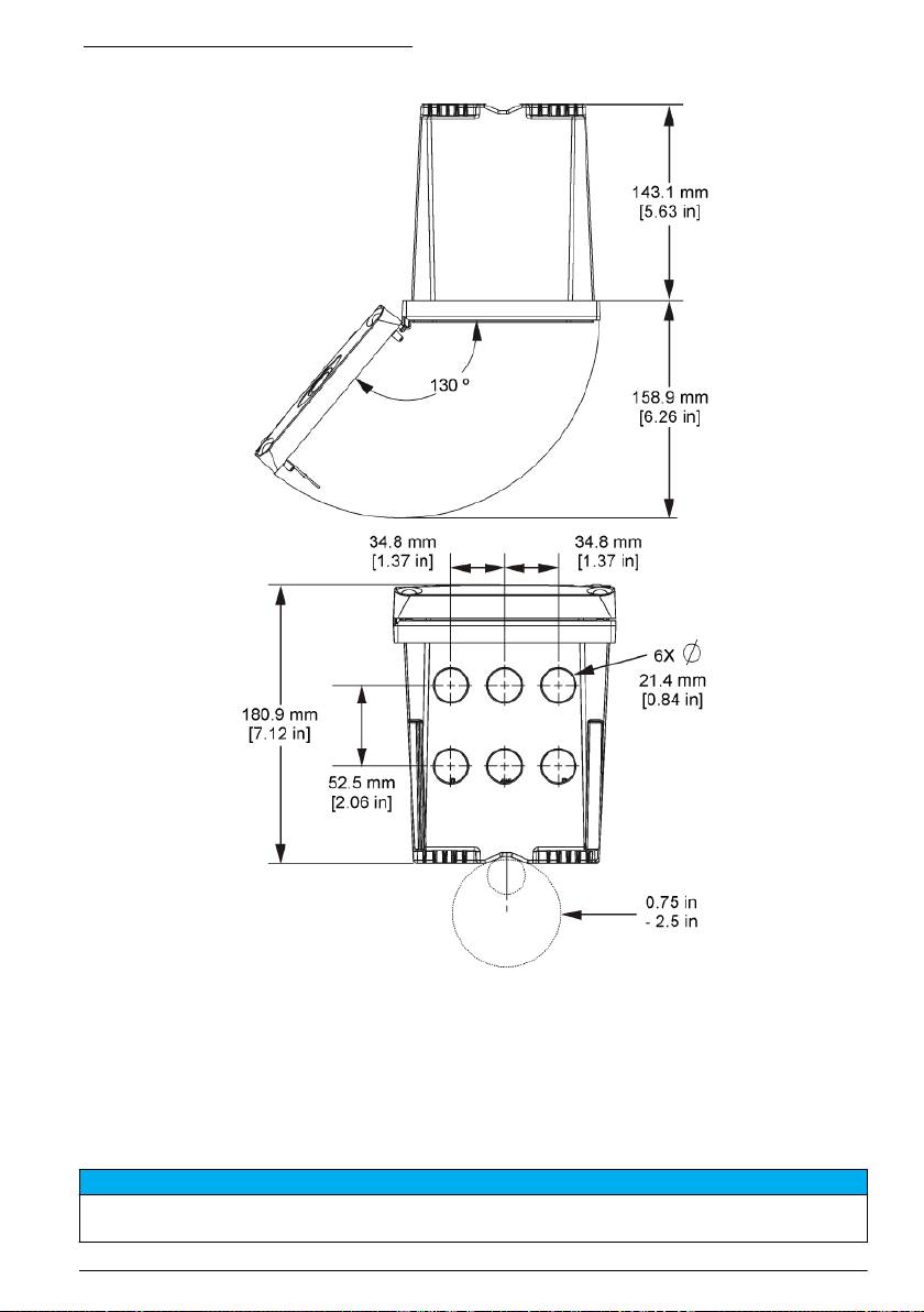
Afbeelding 6 Boven- en onderaanzicht
Hoogspanningsbarrière
De hoogspanningskabels voor de controller worden achter de hoogspanningsbarrière in de behuizing
van de controller geleid. Behalve tijdens het installeren van modules of als een bevoegde
installatietechnicus bedradingen voor netvoeding, alarmen, uitgangen of relais aanbrengt, moet de
barrière op zijn plaats blijven. Verwijder de barrière niet wanneer de controller onder spanning staat.
Overwegingen Elektrostatische ontlading (ESD)
L E T O P
Potentiële schade aan apparaat. Delicate interne elektronische componenten kunnen door statische elektriciteit
beschadigd raken, wat een negatieve invloed op de werking kan hebben of een storing kan veroorzaken.
Nederlands 189

Raadpleeg de stappen in deze procedure om beschadiging van het instrument door elektrostatische
ontlading te vermijden:
• Raak een geaard metalen oppervlak aan, zoals de behuizing van een instrument, een metalen
leiding of pijp om de statische elektriciteit van het lichaam weg te leiden.
• Vermijd overmatige beweging. Statisch-gevoelige onderdelen vervoeren in anti-statische
containers of verpakkingen.
• Draag een polsbandje met een aardverbinding.
• Werk in een antistatische omgeving met antistatische vloerpads en werkbankpads.
Bedradingsoverzicht
Afbeelding 7 toont een overzicht van de bedradingsaansluitingen in de controller bij verwijderde
hoogspanningsbarrière. De linkerzijde van de afbeelding toont de achterzijde van het
controllerdeksel.
Opmerking: Verwijder de afdekkingen van de connectoren voordat u de module installeert.
Afbeelding 7 Overzicht van bedradingsaansluitingen
1
1 Servicekabelaansluiting 4 Connector voor
7 Relaisaansluitingen
communicatiemodule (bijv.
Modbus, Profibus, optionele
4-20 mA-module, etc.)
1
1
1
2 Uitgang 4-20 mA
5 AC- en DC-voedingsconnector
8
3 Connector voor sensormodule 6 Aardingsklemmen
1
Aansluitingen kunnen worden verwijderd voor gemakkelijkere toegang.
Voedingsbedrading
W A A R S C H U W I N G
Potentieel gevaar van elektrische schok. Bij het aanbrengen van elektrische verbindingen dient men altijd de
stroom naar het instrument los te koppelen.
190 Nederlands

W A A R S C H U W I N G
Potentieel gevaar van elektrische schok. Als dit apparaat buiten of op mogelijke natte locaties wordt gebruikt,
moet een apparaat voor stroomonderbreking worden gebruikt om het apparaat op de stroomvoorziening aan te
sluiten.
G E V A A R
Elektrocutiegevaar. Niet de wisselstroom aan een model verbinden die 24 VDC gebruikt.
W A A R S C H U W I N G
Potentieel gevaar van elektrische schok. Voor bedradingstoepassingen van 100-240 VAC en 24 VDC is een
beschermende aardingsverbinding nodig. Het niet aansluiten op een goed geaarde verbinding kan leiden tot
risico op elektrische schok en slechte prestaties wegens elektromagnetische interferentie. Sluit ALTIJD een
goede aarding op de aansluitingsklem van de controller aan.
L E T O P
Installeer het apparaat op een locatie en in een positie waardoor eenvoudige toegang wordt verkregen om het
apparaat en de werking ervan uit te schakelen.
De controller is verkrijgbaar als model voor voeding met 100-240 VAC of met 24 VDC. Volg de juiste
bedradingsinstructies voor het aangeschafte model.
De controller kan op de netvoeding worden aangesloten door middel van een vaste bedrading in een
kabelbuis of door middel van een netsnoer. Onafhankelijk van de gebruikte bedrading wordt de
bedrading met dezelfde aansluitklemmen verbonden. Om aan de plaatselijke elektriciteitscode te
voldoen wordt een plaatselijke loskoppeling vereist en deze moet voor alle types installatie worden
geïdentificeerd. Bij vaste bedrading moeten de huisaansluitingen van de net- en veiligheidsaarde
voor het instrument worden uitgevoerd met een draad van 18 tot 12 AWG.
Opmerkingen:
• De spanningsbarrière moet worden verwijderd, voordat er enige elektrische aansluiting tot stand
wordt gebracht. Breng de spanningsbarrière na het aansluiten opnieuw aan voordat u het deksel
van de controller sluit.
• Een afdichtende wartel en een netsnoer van minder dan 3 meter (10 voet) lange met drie 18-
gauge geleiders (met inbegrip van een aardingskabel) kan worden gebruikt om te voldoen aan de
NEMA 4X/IP66-norm.
• Controllers kunnen worden besteld met voorgemonteerde AC-netsnoeren. Er kunnen ook extra
netsnoeren worden besteld.
• De DC-voedingsbron die de DC-controller met 24 VDC voedt, moet de spanning tussen de
voorgeschreven spanningsgrenzen van 24 VDC-15% +20% houden. De DC-voedingsbron moet
tevens voldoende bescherming bieden tegen spanningspieken en spanningsverschillen.
Bedradingsprocedure
Volg de genummerde stappen en zie voor de juiste kleurencodering voor de bedrading Tabel 1 of
Tabel 2. Steek elke draad zo ver in de juiste aansluitklem dat de isolatie zich tegen de connector
bevindt en er geen draadgedeelte blootligt. Trek na het aanbrengen zachtjes aan de constructie om
te controleren of alles goed vastzit. Sluit ongebruikte openingen in de controllerbox af met
afdichtpluggen voor de doorvoeropeningen.
Tabel 1 Informatie over de AC-voedingsbedrading (uitsluitend modellen met AC-voeding)
Klem Beschrijving Kleur—N.-Amerika Kleur—EU
1 Warm (L1) Zwart Bruin
2 Neutraal (L2) Wit Blauw
— Pin voor beschermende aarde (PE) Groen Groen en geel
Nederlands 191

Tabel 2 Informatie over de DC-voedingsbedrading (uitsluitend modellen met DC-voeding)
Klem Beschrijving Kleur—N.-Amerika Kleur—EU
1 +24 V DC Rood Rood
2 24 V DC retour Zwart Zwart
— Pen voor beschermende aarde (PE) Groen Groen en geel
192 Nederlands

Nederlands 193

Alarmen en relais
De controller is uitgerust met vier potentiaalvrije enkelpolige relais met een maximale ohmse
belasting van 100-250 VAC, 50/60 Hz, 5 A. De contacten hebben een maximale ohmse belasting
van 250 VAC, 5 A bij de met wisselstroom gevoede controller en een maximale ohmse belasting van
24 VDC, 5 A bij de met gelijkspanning gevoede controller. De relais zijn niet berekend op inductieve
belastingen.
Bedrading van relais
W A A R S C H U W I N G
Potentieel gevaar van elektrische schok. Bij het aanbrengen van elektrische verbindingen dient men altijd de
stroom naar het instrument los te koppelen.
W A A R S C H U W I N G
Potentieel brandgevaar. De relaiscontacten kunnen worden belast met een nominale stroom van 5 A en zijn niet
afgezekerd. Op de relais aangesloten externe belastingen moeten zijn voorzien van stroombegrenzers die de
stroom tot < 5 A beperken.
W A A R S C H U W I N G
Potentieel brandgevaar. Schakel de gemeenschappelijke relaisaansluitingen of de jumperdraad van de
netvoedingsaansluiting binnen in het instrument niet in serie.
W A A R S C H U W I N G
Potentieel gevaar van elektrische schok. Om de NEMA/IP-classificatie van de behuizing te behouden, mogen er
voor het leggen van kabels in het instrument uitsluitend doorvoertules en kabelwartels worden gebruikt die ten
minste voldoen aan NEMA 4X/IP66.
AC-gevoede (100—250 V) controllers
W A A R S C H U W I N G
Potentieel gevaar van elektrische schok. AC-aangedreven controllers (115 V–230 V) zijn ontworpen voor
relaisaansluitingen op AC-stroomcircuits (dus spanningen hoger dan 16 V-RMS, 22,6 V-PIEK of 35 VDC).
Het bedradingscompartiment is niet berekend op spanningsaansluitingen van meer dan 250 VAC.
24 VDC-gevoede controllers
W A A R S C H U W I N G
Potentieel gevaar van elektrische schok. 24 V-aangedreven controllers zijn ontworpen voor relaisaansluitingen op
laagspanningscircuits (dus spanningen lager dan 16 V-RMS, 22,6 V-PIEK of 35 VDC).
De relais van de 24 VDC-controllers zijn ontworpen voor aansluiting op LAAG-spanningscircuits
(d.w.z. spanning lager dan 30 V-RMS, 42,2 V-PIEK of 60 VDC). Het bedradingscompartiment is niet
berekend op spanningsaansluitingen boven deze niveaus.
De relaisconnector is geschikt voor een draad van 18 - 12 AWG (afhankelijk van de
belastingstoepassing). Draadmaten van minder dan 18 AWG worden niet aanbevolen.
De normaal open (NO, maakcontact) en gemeenschappelijke (COM) relaiscontacten spreken aan als
er een alarm- of andere conditie actief is. De normaal gesloten (NC, verbreekcontact) en
gemeenschappelijke (COM) relaiscontacten spreken aan als een alarm- of andere conditie inactief is
(tenzij de Fail-Safe-functie op Ja is ingesteld) of wanneer de voeding van de controller wordt
uitgeschakeld.
De meeste relaisaansluitingen gebruiken hetzij NO- en COM-klemmen of NC- en COM-klemmen. De
genummerde installatiestappen geven de aansluiting op de NO- en COM-klemmen weer.
194
Nederlands

Nederlands 195

Analoge uitgangsaansluitingen
W A A R S C H U W I N G
Potentieel gevaar van elektrische schok. Bij het aanbrengen van elektrische verbindingen dient men altijd de
stroom naar het instrument los te koppelen.
W A A R S C H U W I N G
Potentieel gevaar van elektrische schok. Om de NEMA/IP-classificatie van de behuizing te behouden, mogen er
voor het leggen van kabels in het instrument uitsluitend doorvoertules en kabelwartels worden gebruikt die ten
minste voldoen aan NEMA 4X/IP66.
Twee geïsoleerde analoge uitgangen zijn aanwezig. Dergelijke uitgangen worden normaliter gebruikt
voor analoge datauitvoer of voor het aansturen van andere externe apparaten. Sluit de bedrading
aan op de controller zoals weergegeven in Afbeelding 8 en Tabel 3.
Opmerking: Afbeelding 8 toont de achterzijde van het controllerdeksel en niet de binnenzijde van het
compartiment van de hoofdcontroller.
Afbeelding 8 Analoge uitgangsaansluitingen
Tabel 3 Uitgangsaansluitingen
Recorderbedrading Positie op de printplaat
Uitgang 2- 4
Uitgang 2+ 3
Uitgang 1- 2
Uitgang 1+ 1
1. Open het deksel van de controller.
2. Leid de draden door de kabelwartel.
3. Pas de draad als nodig aan en draai de kabelwartel vast.
4. Maak de recorderaansluitingen met gedraaide afgeschermde bedrading en sluit de afscherming
aan op het bestuurde onderdeeleinde of bij het regelluseinde.
• Verbind de afscherming niet aan beide uiteinden van de kabel.
• Gebruik van een niet afgeschermde kabel kan zorgen voor storingen en verschil in
meetwaarden.
• De maximale lusweerstand is 500 ohm.
196
Nederlands

5. Sluit het deksel van de controller en draai de schroeven van het deksel aan.
6. Configureer de uitgangen in de controller.
Bedradingsconfiguratie discrete ingang
W A A R S C H U W I N G
Potentieel gevaar van elektrische schok. Bij het aanbrengen van elektrische verbindingen dient men altijd de
stroom naar het instrument los te koppelen.
W A A R S C H U W I N G
Potentieel gevaar van elektrische schok. Om de NEMA/IP-classificatie van de behuizing te behouden, mogen er
voor het leggen van kabels in het instrument uitsluitend doorvoertules en kabelwartels worden gebruikt die ten
minste voldoen aan NEMA 4X/IP66.
Drie discrete ingangen zijn voorzien voor ingangen voor schakelsluiting of ingangen voor logische
spanningsniveaus. Maak de bedrading en configureer de jumperinstellingen op de controller, zoals
getoond in Afbeelding 9, Tabel 4 en Afbeelding 10.
Opmerking: Afbeelding 9 toont de achterzijde van het controllerdeksel en niet de binnenzijde van het
compartiment van de hoofdcontroller.
Afbeelding 9 Bedradingsconfiguratie discrete ingang
Tabel 4 Ingangsaansluitingen
Discrete ingangen Connectorstand -
Connectorstand -
schakelaaringang
spanningsingang
Ingang 1+ 3 2
Ingang 1- 2 3
Ingang 2+ 6 5
Ingang 2- 5 6
Ingang 3+ 8 7
Ingang 3- 7 8
Nederlands 197
Table of contents
- English..............................................................................................................................3 Deutsch..........................................................................................................................27 Italiano............................................................................................................................53 Français.........................................................................................................................79 Español........................................................................................................................105 Português....................................................................................................................131 中文...............................................................................................................................157 Nederlands.................................................................................................................180 Polski............................................................................................................................206 Suomi............................................................................................................................232 Русский........................................................................................................................256
- Additional information
- Installation
- User interface and navigation
- System startup
- Maintenance
- Zusätzliche Informationen
- Installation
- Benutzerschnittstelle und Navigation
- Inbetriebnahme
- Wartung
- Fehlersuche
- Ulteriori informazioni
- Informazioni generali
- Installazione
- Interfaccia utente e navigazione
- Avvio del sistema
- Manutenzione
- Risoluzione dei problemi
- Informations supplémentaires
- Généralités
- Montage
- Interface utilisateur et navigation
- Démarrage du système
- Entretien
- Recherche de panne
- Información adicional
- Información general
- Instalación
- Interfaz del usuario y navegación
- Arranque del sistema
- Mantenimiento
- Solución de problemas
- Informação adicional
- Informação geral
- Instalação
- Interface do utilizador e navegação
- Arranque do sistema
- Manutenção
- Resolução de problemas
- 附加信息
- 安装
- 用户界面及导航
- 系统启动
- 维护
- Meer informatie
- Algemene informatie
- Installatie
- Gebruikersinterface en navigatie
- Het systeem starten
- Onderhoud
- Foutenopsporing
- Dodatkowe informacje
- Instalacja
- Interfejs użytkownika i nawigacja
- Uruchamianie systemu
- Konserwacja
- Rozwiązywanie problemów
- Lisätiedot
- Asennus
- Käyttöliittymä ja selaaminen
- Järjestelmän käynnistäminen
- Huolto
- Vianmääritys
- Дополнительная информация
- Общая информация
- Монтаж
- Пользовательский интерфейс и управление курсором
- Запуск системы
- Техническое обслуживание

