Hach-Lange POLYMETRON 9500 Basic User Manual: 安装
安装: Hach-Lange POLYMETRON 9500 Basic User Manual

安装
安装组件和尺寸
警 告
存在人身伤害危险。只有合格的专业人员,才能从事手册此处所述的工作任务。
控制器可以安装在表面、面板或管道(水平管或立管)上。有关安装选项和说明,请参阅图 2、图 3
第 162、图 4 第 163、图 5 第 164 和图 6 第 165。
对于横管安装,安装支脚(图 2)必须连接到垂直位置的安装支架中。
对于立管和横管安装,均须将安装支架连接到控制器(如图 5 第 164 所示)。
图 2 安装组件
1 安装支脚(2 个) 7 锁紧垫圈,内径 ¼ 英寸(4 个)
2 面板安装的密封圈,氯丁橡胶 8 M5 x 0.8 Keps 六角螺母(4 个)
3 壁式和管式安装的支架 9 盘头螺钉,M5 x 0.8 x 100mm(4 个)(用于可变直
径管道安装式安装)
4 管式安装的减振垫 10 盘头螺钉,M5 x 0.8 x 15 mm(4 个)
5 管式安装的减振垫圈(4 个) 11 用于安装面板的支架
6 平垫圈,内径 ¼ 英寸(4 个)
中文
161

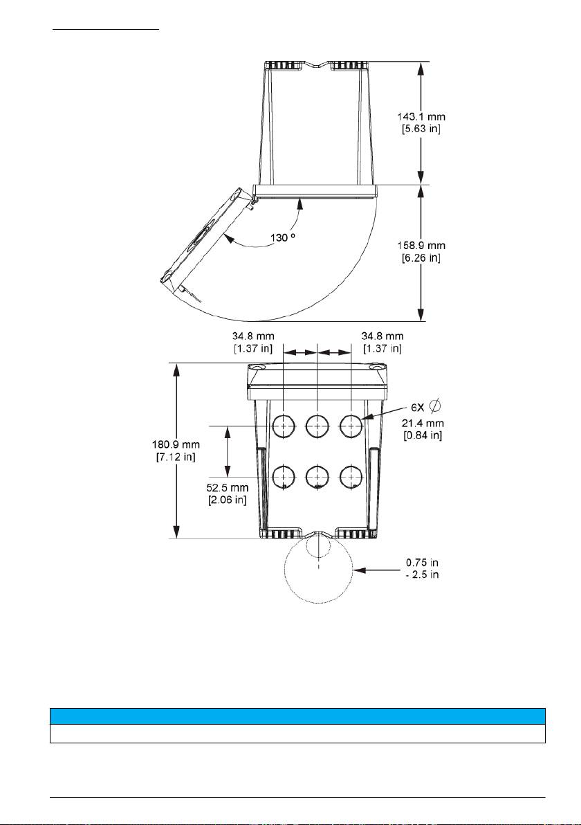
控制器安装
图 3 表面安装尺寸
162
中文

图 4 面板安装尺寸
注:
如果用支架进行面板安装(随机附带支架),请通过面板上的孔洞推动控制器,然后在面板背面用支架滑过控制
器。用四颗
15
毫米盘头螺丝(随机附带)将支架连接到控制器上,然后将控制器固定到面板上。
中文
163

图 5 管道安装(立管)
164
中文

图 6 顶视图和底视图
高电压防护层
控制器的高电压配线位于控制器外壳中高电压防护层的后面。除非安装了模块或合格的安装技术人员
布线电源、报警、输出或继电器,否则必须配备防护层。在对控制器上电时,不要卸下防护层。
静电放电 (ESD) 注意事项
注 意
可能导致仪器损坏。静电会损害精密的内部电子组件,从而导致仪器性能降低或最终出现故障。
请参阅此流程中的步骤以防止 ESD 损坏仪器:
• 接触接地金属表面(如仪器外壳、金属导管或管道),以将静电排出机壳外。
中文
165

• 避免过度移动。运送静电敏感的组件时,请使用抗静电容器或包装。
• 配戴连接到接地线缆的腕带。
• 使用抗静电地板垫和工作台垫,以使工作区具备静电安全性。
布线概述
图 7 显示在卸下高电压防护层的情况下,控制器内部接线连接概览。图左侧显示控制器盖的背部。
注:
在模块安装前取下连接器上的接头盖帽。
图 7 接线连接概览
1
1 维修服务电缆连接 4 通信模块连接器(如 Modbus,
7 继电器连接
Profibus 和可选的 4-20 mA 模块
等)
1
1
1
2 4-20 mA 输出
5 交流和直流电源连接器
8
3 传感器模块连接器 6 接地端子
1
可以卸下端子以方便进入。
电源接线
警 告
可能存在电击致命危险。进行任何电气连接时,请务必断开仪器的电源。
警 告
可能存在电击致命危险。如果此设备在户外或在可能受潮的场所使用,则必须用防高压触电装置将此设备连接到其
主电源。
危 险
存在电击致命危险。请勿将交流电源连接到 24V 直流电源型号中。
警 告
可能存在电击致命危险。100-240 VAC 和 24 VDC 的布线应用均需要防护性接地 (PE) 地线。由于存在电磁干扰,
PE 接地连接不良可能导致电击致命危险及设备性能不佳。始终将接地良好的地线连接到控制器端口。
166
中文

注 意
请将设备安装在便于切断设备开关及便于操作的场所和位置。
控制器有 100-240V 交流供电的型号或 24V 直流供电的型号可供选购。请遵照所购型号的相关接线说
明操作。
控制器可采取导线管硬接线连接电源或连接到电源线。不管使用的电线如何,都将在相同端子进行连
接。为符合当地的电气规范,应有本地断开设计,且应视为针对所有的安装类型。在硬接线应用中,仪
器的电源线和安全接地线必须为 18 至 12 AWG。
注意:
• 在进行任何电气连接前,必须拆除电压防护层。进行所有连接后,在闭合控制器盖前将电压防护层放
回原位。
• 可使用密封式电缆密封套以及一根长度不超过 3 米(10 英尺)的带有 18 规格导体的电源线(包括
一根安全接地线)来维持 NEMA 4X/IP66 环境等级。
• 可订购带预安装交流电源线的控制器。也可订购其他电源线。
• 为 24V 直流供电的控制器供电的直流电流必须稳压在指定的 24 VDC-15% +20% 电压限度内。直流
电源还必须提供充分的浪涌和线路瞬态保护。
接线程序
按照编号的步骤及表 1 或表 2,对控制器进行电源接线。将所有电线插入相应的端子,直到对连接器绝
缘且无裸线暴露在外为止。插入后轻轻拖曳,确保连接牢固。用导管开口密封塞密封所有控制器上不使
用的开口。
表 1 交流电源接线信息(仅限使用交流电源的型号)
终端 说明
色彩—北美 色彩—欧盟
1
火线 (L1)
黑色 棕色
2
零线(L2) 白色 蓝色
—
保护接地 (PE) 接地片 绿色 绿色和黄色
表 2 直流电源接线信息(仅限直流供电型号)
终端 说明
色彩—北美 色彩—欧盟
1 +24 VDC
红色 红色
2
24 VDC 逆流 黑色 黑色
—
保护接地 (PE) 接地片 绿色 绿色和黄色
中文
167

168
中文

报警和继电器
控制器配备四个未加电、单极继电器,额定最大阻性为 100-250 VAC,50/60 Hz,5A。交流供电的控
制器触点的额定最大阻性为 250 VAC、5A,而直流供电的控制器触点的额定最大阻性为 24 VDC、5A。
继电器无额定电感负载。
继电器接线
警 告
可能存在电击致命危险。进行任何电气连接时,请务必断开仪器的电源。
警 告
可能存在火灾危险。继电器触点的额定电流为 5A,且不会熔化。连接到继电器的外部负载必须配备限流装置,将电
流限制为 5A 以下。
警 告
可能存在火灾危险。请勿串联公共继电器连接或仪器内连接主电源的跳线。
警 告
可能存在电击致命危险。将电缆接入仪器时,务必使用防护等级至少为 NEMA 4X/IP66 的导线管配件和电缆衬垫,
以维护 NEMA 4X/IP 环境评级。
交流线路 (100—250 V) 供电的控制器
警 告
可能存在电击致命危险。交流干线供电控制器 (115 V–230 V) 设计用于连接继电器和交流干线电路(例如,电压高于
16 V-RMS、22.6 V-PEAK 或 35 VDC)。
接线室不得进行超过 250V 的交流电压连接。
24V 直流供电的控制器
警 告
可能存在电击致命危险。24 V 供电控制器设计用于连接继电器和低压电路(例如,电压低于 16 V-RMS、22.6 V-
PEAK 或 35 VDC)。
24 VDC 控制器继电器可连接到至低电压电路(例如,电压低于 30 V-RMS、42.2 V-PEAK 或 60 VDC)。
接线室不得进行超过上述水平的电压连接。
中继器接头使用 18-12 AWG 电线(由负载情况决定)。不推荐使用线号小于 18 AWG 的电线。
激活警报或其他状态后,“常开”(NO) 和“公共”(COM) 继电器触点将连接起来。去激活警报或其他状态后
(除非“Fail Safe(失效安全)”设为“Yes(是)”),或断开控制器的电源后,“常关”(NC) 和“公共”(COM)
继电器触点将连接起来。
大多数继电器连接使用 NO 和 COM 端子或 NC 和 COM 端子。编号的安装步骤说明如何连接到 NO
和 COM 端子。
中文
169

170
中文

模拟输出连接
警 告
可能存在电击致命危险。进行任何电气连接时,请务必断开仪器的电源。
警 告
可能存在电击致命危险。为了保持外壳的 NEMA/IP 环境防护等级,将电缆接入仪器时,务必使用防护等级至少达到
NEMA 4X/IP66 的导线管配件和电缆衬垫。
提供两条隔离模拟输出这些输出常用于模拟信号或控制其他外部设备。对控制器进行配线连接,如图 8
和表 3 所示。
注:
图 8
显示控制器盖的背部,而不是主控制器室的内部。
图 8 模拟输出连接
表 3 输出连接
记录器电线 电路板位置
输出 2-
4
输出 2+
3
输出 1-
2
输出 1+
1
1. 打开控制器盖。
2. 通过电缆密封套送线
3. 根据需要调整电线并拧紧电缆密封套
4. 使用双绞屏蔽线进行连接,以及连接受控组件末端或控制环路末端的屏蔽罩。
• 请勿连接电缆两端的屏蔽罩。
• 使用非屏蔽电缆可能会导致射频发射或磁化级别高于所允许的范围。
• 最大环路电阻为 500 欧姆。
5. 合上控制器盖并紧固盖用螺钉。
6. 配置控制器中的输出。
中文
171

离散输入线连接
警 告
可能存在电击致命危险。进行任何电气连接时,请务必断开仪器的电源。
警 告
可能存在电击致命危险。为了保持外壳的 NEMA/IP 环境防护等级,将电缆接入仪器时,务必使用防护等级至少达到
NEMA 4X/IP66 的导线管配件和电缆衬垫。
为开关闭合输入或逻辑电平电压输入提供三路离散输入。如 图 9、 表 4 和 图 10 所示进行线路连接,
并为控制器配置跳线设置。
注:
图 9
显示控制器盖的背部,而不是主控制器室的内部。
图 9 离散输入线路连接
表 4 输入连接
离散输入 连接器位置 - 开关量输入 连接器位置 - 电压输入
输入 1+
3 2
输入 1-
2 3
输入 2+
6 5
输入 2-
5 6
输入 3+
8 7
输入 3-
7 8
172
中文
Table of contents
- English..............................................................................................................................3 Deutsch..........................................................................................................................27 Italiano............................................................................................................................53 Français.........................................................................................................................79 Español........................................................................................................................105 Português....................................................................................................................131 中文...............................................................................................................................157 Nederlands.................................................................................................................180 Polski............................................................................................................................206 Suomi............................................................................................................................232 Русский........................................................................................................................256
- Additional information
- Installation
- User interface and navigation
- System startup
- Maintenance
- Zusätzliche Informationen
- Installation
- Benutzerschnittstelle und Navigation
- Inbetriebnahme
- Wartung
- Fehlersuche
- Ulteriori informazioni
- Informazioni generali
- Installazione
- Interfaccia utente e navigazione
- Avvio del sistema
- Manutenzione
- Risoluzione dei problemi
- Informations supplémentaires
- Généralités
- Montage
- Interface utilisateur et navigation
- Démarrage du système
- Entretien
- Recherche de panne
- Información adicional
- Información general
- Instalación
- Interfaz del usuario y navegación
- Arranque del sistema
- Mantenimiento
- Solución de problemas
- Informação adicional
- Informação geral
- Instalação
- Interface do utilizador e navegação
- Arranque do sistema
- Manutenção
- Resolução de problemas
- 附加信息
- 安装
- 用户界面及导航
- 系统启动
- 维护
- Meer informatie
- Algemene informatie
- Installatie
- Gebruikersinterface en navigatie
- Het systeem starten
- Onderhoud
- Foutenopsporing
- Dodatkowe informacje
- Instalacja
- Interfejs użytkownika i nawigacja
- Uruchamianie systemu
- Konserwacja
- Rozwiązywanie problemów
- Lisätiedot
- Asennus
- Käyttöliittymä ja selaaminen
- Järjestelmän käynnistäminen
- Huolto
- Vianmääritys
- Дополнительная информация
- Общая информация
- Монтаж
- Пользовательский интерфейс и управление курсором
- Запуск системы
- Техническое обслуживание

