Karcher Nettoyeur haute pression HDS 1000 De: инструкция
Раздел: Узкоспециализированное и бизнес оборудование
Тип:
Инструкция к Karcher Nettoyeur haute pression HDS 1000 De

HDS 1000 BE
HDS 1000 DE
Deutsch 5
English 20
Français 35
Italiano 51
Nederlands 67
Español 82
Português 98
Dansk 114
Norsk 129
Svenska 143
Suomi 158
Ελληνικά 173
Türkçe 190
Русский 205
Magyar 222
Čeština 238
Slovenščina 253
Polski 267
Româneşte 283
Slovenčina 298
Hrvatski 313
Srpski 328
Български 343
Eesti 360
Latviešu 374
Lietuviškai 389
Українська 404
中文 421
www.kaercher.com/register-and-win
59659430 08/13

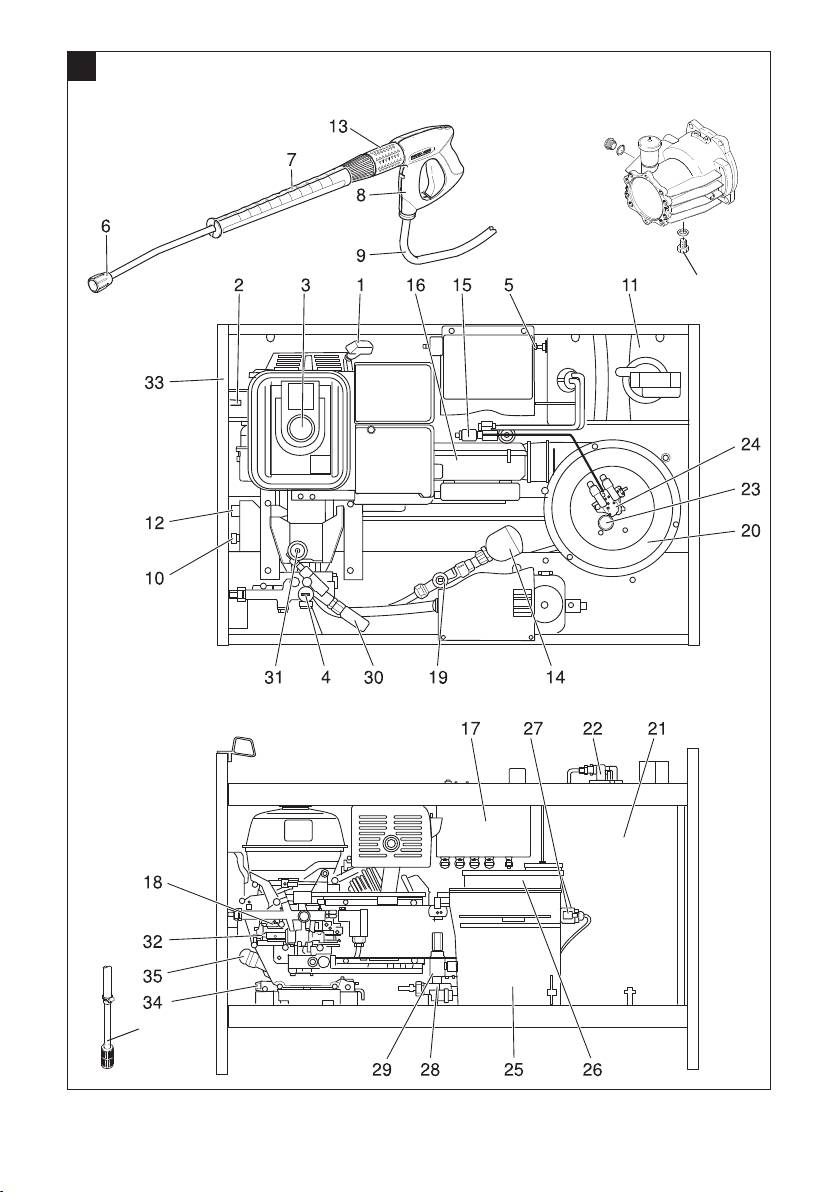
1 HDS 1000 BE
37
36
2

2 HDS 1000 DE
37
36
3

3
32
5
1
HDS 1000 BE
4 6 5
OFF
ON
START
CHEM%
HDS 1000 DE
4
1.
2.
4

Lesen Sie vor der ersten Benut-
Altgeräte enthalten wertvolle re-
zung Ihres Gerätes diese Origi-
cyclingfähige Materialien, die ei-
nalbetriebsanleitung, handeln Sie danach
ner Verwertung zugeführt
und bewahren Sie diese für späteren Ge-
werden sollten. Batterien, Öl
brauch oder für Nachbesitzer auf.
und ähnliche Stoffe dürfen nicht
– Vor erster Inbetriebnahme Sicherheits-
in die Umwelt gelangen. Bitte
hinweise Nr. 5.951-949.0 unbedingt le-
entsorgen Sie Altgeräte deshalb
sen!
über geeignete Sammelsyste-
– Bei Transportschaden sofort Händler
me.
informieren.
Bitte Batterie oder Akku umwelt-
– Packungsinhalt beim Auspacken prü-
gerecht entsorgen. Batterien
fen.
und Akkus enthalten Stoffe, die
nicht in die Umwelt gelangen
Inhaltsverzeichnis
Pb
dürfen. Bitte entsorgen Sie die-
se deshalb über geeignete
Umweltschutz. . . . . . . . . . . DE . . .1
Sammelsysteme.
Symbole in der Betriebsanlei-
tung . . . . . . . . . . . . . . . . . . DE . . .1
Bitte Motorenöl, Heizöl, Diesel und Benzin
Geräteelemente . . . . . . . . . DE . . .2
nicht in die Umwelt gelangen lassen. Bitte
Symbole auf dem Gerät . . . DE . . .2
Boden schützen und Altöl umweltgerecht
entsorgen.
Bestimmungsgemäße Verwen-
dung . . . . . . . . . . . . . . . . . . DE . . .2
Hinweise zu Inhaltsstoffen (REACH)
Sicherheitshinweise . . . . . . DE . . .3
Aktuelle Informationen zu Inhaltsstoffen fin-
Sicherheitseinrichtungen . . DE . . .4
den Sie unter:
www.kaercher.de/REACH
Inbetriebnahme . . . . . . . . . DE . . .4
Bedienung . . . . . . . . . . . . . DE . . .7
Symbole in der Betriebsanlei-
Lagerung . . . . . . . . . . . . . . DE . . .9
tung
Transport . . . . . . . . . . . . . . DE . . .9
Pflege und Wartung . . . . . . DE . . .9
Gefahr
Hilfe bei Störungen. . . . . . . DE . .11
Für eine unmittelbar drohende Gefahr, die
Garantie . . . . . . . . . . . . . . . DE . .13
zu schweren Körperverletzungen oder zum
Tod führt.
Zubehör und Ersatzteile . . . DE . .13
EG-Konformitätserklärung . DE . .13
몇 Warnung
Technische Daten. . . . . . . . DE . .14
Für eine möglicherweise gefährliche Situa-
tion, die zu schweren Körperverletzungen
Umweltschutz
oder zum Tod führen könnte.
Vorsicht
Die Verpackungsmaterialien
sind recyclebar. Bitte werfen Sie
Für eine möglicherweise gefährliche Situa-
die Verpackungen nicht in den
tion, die zu leichten Verletzungen oder zu
Hausmüll, sondern führen Sie
Sachschäden führen kann.
diese einer Wiederverwertung
zu.
– 1
5DE

