Karcher Nettoyeur haute pression HD 5-15 CX+: инструкция
Раздел: Узкоспециализированное и бизнес оборудование
Тип:
Инструкция к Karcher Nettoyeur haute pression HD 5-15 CX+

HD 5/12 C, HD 5/12 CX
HD 5/13 C, HD 5/13 CX
HD 5/15 C, HD 5/15 CX
HD 5/17 C, HD 5/17 CX
HD 6/13 C, HD 6/13 CX
www.kaercher.com/register-and-win
Deutsch 6
English 17
Français 28
Italiano 39
Nederlands 50
Español 61
Português 73
Dansk 85
Norsk 96
Svenska 107
Suomi 118
Ελληνικά 129
Türkçe 141
Русский 152
Magyar 165
Čeština 176
Slovenščina 187
Polski 198
Româneşte 210
Slovenčina 221
Hrvatski 232
Srpski 243
Български 254
Eesti 266
Latviešu 277
Lietuviškai 288
Українська 299
中文 312
334
Δ
ϳΒήόϠ
59647890 10/13

2

3

4

5

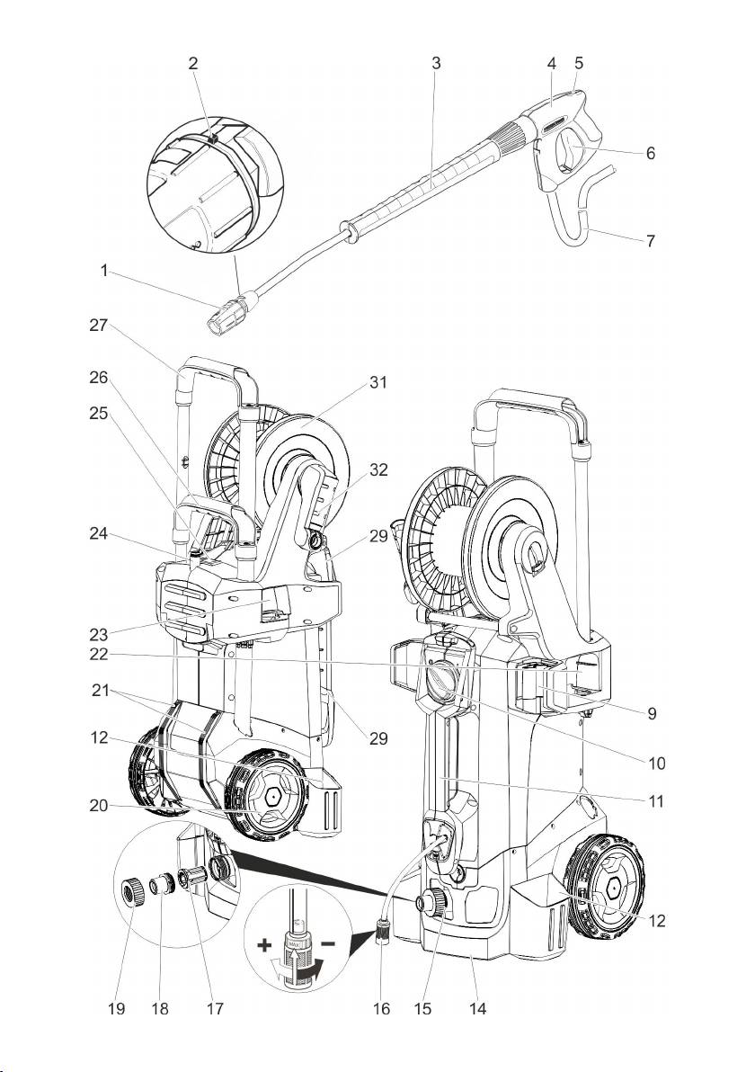
Lesen Sie vor der ersten Benut-
17 Sieb
zung Ihres Gerätes diese Origi-
18 Schlauchstutzen
nalbetriebsanleitung, handeln Sie danach
19 Überwurfmutter
und bewahren Sie diese für späteren Ge-
20 Radkappe
brauch oder für Nachbesitzer auf.
21 Gleitkufe/Stehkufe
Inhaltsverzeichnis
22 Düsenablage für Rotordüse (Rotordüse
nur bei Variante HD...Plus im Lieferum-
Geräteelemente . . . . . . . . . DE . . .1
fang)
Sicherheitshinweise . . . . . . DE . . .1
23 Düsenablage für Dreifachdüse
Bestimmungsgemäße Verwen-
24 Transporthalterung für Flächenreiniger
dung . . . . . . . . . . . . . . . . . . DE . . .2
25 Entriegelung Schubbügel
Sicherheitseinrichtungen . . DE . . .2
26 Schubbügel, unten (eingeschoben)
Umweltschutz. . . . . . . . . . . DE . . .2
27 Schubbügel, oben (ausgezogen)
Vor Inbetriebnahme . . . . . . DE . . .2
28 Schlauchablage
Inbetriebnahme . . . . . . . . . DE . . .3
29 Kabelhalter
Bedienung . . . . . . . . . . . . . DE . . .3
30 Strahlrohrhalter ohne Klemmung
Transport . . . . . . . . . . . . . . DE . . .5
31 Schlauchtrommel
Lagerung . . . . . . . . . . . . . . DE . . .6
32 Kurbel
Pflege und Wartung . . . . . . DE . . .6
Farbkennzeichnung
Hilfe bei Störungen. . . . . . . DE . . .6
Zubehör und Ersatzteile . . . DE . . .7
– Bedienelemente für den Reinigungs-
Garantie . . . . . . . . . . . . . . . DE . . .7
prozess sind gelb.
EG-Konformitätserklärung . DE . . .8
– Bedienelemente für die Wartung und
den Service sind hellgrau.
Technische Daten. . . . . . . . DE . . .9
Geräteelemente
Sicherheitshinweise
Bitte Bildseite vorne ausklappen
– Vor erster Inbetriebnahme Sicherheits-
1 Düse
hinweise Nr. 5.951-949.0 unbedingt le-
sen!
2 Markierung der Düse
– Jeweilige nationale Vorschriften des
3 Strahlrohr
Gesetzgebers für Flüssigkeitsstrahler
4 Handspritzpistole
beachten.
5 Sicherungshebel
– Jeweilige nationale Vorschriften des
6 Hebel der Handspritzpistole
Gesetzgebers zur Unfallverhütung be-
7 Hochdruckschlauch
achten. Flüssigkeitsstrahler müssen re-
8 Gummiband (nicht bei Geräten mit
gelmäßig geprüft und das Ergebnis der
Schlauchtrommel)
Prüfung schriftlich festgehalten werden.
9 Strahlrohrhalter mit Klemmung, für den
Symbole in der Betriebsanleitung
Transport
10 Geräteschalter
Gefahr
11 Tragegriff
Für eine unmittelbar drohende Gefahr, die
12 Köcher Strahlrohr
zu schweren Körperverletzungen oder zum
Tod führt.
13 Hochdruckanschluss
14 Haltegriff
몇 Warnung
15 Wasseranschluss
Für eine möglicherweise gefährliche Situa-
16 Reinigungsmittel-Saugschlauch mit Fil-
tion, die zu schweren Körperverletzungen
ter und Reinigungsmitteldosierung
oder zum Tod führen könnte.
6 DE
– 1

