Panasonic TYWK5P1SW: instruction
Class: Audio and DJ Equipment
Type:
Manual for Panasonic TYWK5P1SW

Fitting Instructions
Plasma TV wall-hanging bracket (Vertical mounting type)
Before commencing work, carefully read these Instructions and the Manual for the plasma TV
to ensure that fitting is performed correctly.
(Please save these instructions. You may need them when maintaining or moving the
bracket.)
English
Anleitung zur Anbringung
Wandhalterung zum Anbringen des Plasma-Fernsehers (Typ für vertikale Anbringung)
Vor der Ausführung lesen Sie bitte diese Anleitung und die Bedienungsanleitung für das
Plasma-Fernseher sorgfältig durch, damit die Anbringung richtig ausgeführt wird.
(Bitte bewahren Sie diese Anleitung auf. Sie kann bei der Wartung oder der erneuten
Anbringung der Halterung benötigt werden.)
Deutsch
Montage-instructies
Muurbevestigingssteun voor plasmatelevisie (voor verticale montage)
Lees deze installatiehandleiding en de bedieningshandleiding voor de plasmatelevisie zorgvuldig
door voordat u begint, zodat de montagewerkzaamheden op de juiste wijze worden uitgevoerd.
(Bewaar deze handleiding. U hebt de handleiding weer nodig wanneer u de
bevestigingssteun verwijdert of verplaatst.)
Nederlands
Istruzioni per il montaggio
Supporto per il montaggio a parete del televisore al plasma (tipo per montaggio verticale)
Prima di iniziare il montaggio leggere attentamente queste istruzioni ed il manuale dello
televisore al plasma per poter procedere al montaggio in modo corretto.
(Conservare poi queste istruzioni che si renderanno necessarie per la manutenzione e
Italiano
l’eventuale spostamento della staffa.)
Instructions de montage
Applique de fixation au mur du téléviseur à plasma (type pour montage vertical)
Avant de commencer le travail, lisez attentivement ces instructions ainsi que le mode
d’emploi de téléviseur à plasma de manière à réaliser un montage convenable.
(Conservez soigneusement les présentes instructions. Vous pouvez en avoir besoin pour
effectuer un entretien ou si vous désirez déplacer l’applique.)
Français
Instrucciones de instalación
Soporte para colgar el televisor de plasma en una pared (Tipo de montaje vertical)
Antes de empezar el trabajo, lea atentamente estas instrucciones y el manual de el televisor
de plasma para asegurar una instalación correcta.
(Guarde estas instrucciones. Podrá necesitarlas cuando haga trabajos de mantenimiento o
mueva el soporte.)
Español
Instruções de montagem
Suporte de instalação na parede do televisor com ecrã de plasma (Montagem vertical)
Antes de começar a trabalhar, leia com atenção estas instruções e o manual do televisor com
ecrã de plasma, para ter a certeza de que a montagem é feita correctamente.
Model No.
(Guarde estas instruções. Pode precisar delas quando fizer a manutenção ou deslocar o
suporte.)
Português
Monteringsanvisningar
TY-WK5P1SW
Väggupphängningshållare för plasmatelevision (vertikal monteringstyp)
Innan arbetet påbörjas ska du noga läsa dessa anvisningar och bruksanvisningen som
medföljer plasma-TV:n för att försäkra att arbetet utförs på rätt sätt.
(Bevara dessa anvisningar. Du kan behöva anlita dem på nytt för underhåll eller flyttning av
hållaren.)
Svenska
Opsætningsinstruktioner
Vægophæng til plasma-tv (Type til lodret montering)
Før arbejdet påbegyndes, skal De omhyggeligt læse disse instruktioner og
betjeningsvejledningen til plasma-tv'et for at sikre at opsætningsarbejdet udføres korrekt.
(Gen disse instruktioner. De kan få brug for dem ved vedligeholdelse, eller hvis ophænget
Dansk
skal flyttes.)
Инструкция по установке
Кронштейн для настенного крепления широкоформатного плазменного
телевизора (Для вертикального монтажа)
Перед проведением работ внимательно прочитайте эту Инструкцию и Руководство для
плазменного дисплея, чтобы убедиться в том, что установка выполняется правильно.
(Сохраните, пожалуйста, эту инструкцию. Она может Вам понадобиться для
Русский
технического обслуживания или перемещения.)
Інструкції з встановлення
Настінний кронштейн для плазмового телевізора (Для вертикального монтажу)
Перед початком робіт уважно прочитайте ці інструкції та інструкції з експлуатації
плазмового дисплея, аби забезпечити правильний монтаж.
(Збережіть ці інструкції, оскільки вони можуть знадобитись Вам, коли виникне
необхідність у технічному обслуговуванні або встановленні кронштейна в іншому місці.)
Українська
中文
Hướng dẫn lắp đặt
Giá đỡ treo tường TV Plasma (loại treo thẳng đứng)
Hãy đọc cẩn thận những hướng dẫn dưới đây và tham khảo sách chỉ dẫn TV plasma trước
khi tiến hành lắp ráp nhằm đảm bảo cho công việc lắp ráp được thực hiện chính xác.
(Hãy lưu những chỉ dẫn này lại vì bạn có thể dùng đến chúng khi bảo trì hoặc dịch chuyển
giá đỡ.)
Tiếng Việt
TQZJ091-1

Safety precautions
English
WARNING
Ensure that the installation location is strong enough to support long-term use.
• If its strength becomes insufficient over the course of long-term use, the plasma TV may drop, possibly causing
injury.
Fitting work and connection equipment expansion should never be done by any other than a qualified
installation specialist.
• Incorrect fitting may cause equipment to fall, resulting in injury.
Include a safety factor when considering the strength of the proposed fitting location.
• If strength is not sufficient the equipment may fall, resulting in injury.
Do not fit at a location that cannot bear the load.
• If the fitting location lacks sufficient strength the equipment may fall.
Do not disassemble or modify the wall-hanging bracket.
• Otherwise the unit may be dropped and become damaged, and personal injury may result.
CAUTION
Do not use any television and displays other than those given in the catalogue.
• Otherwise the unit may be dropped and become damaged, and personal injury may result.
Do not fit at any locations subject to humidity, dust, smoke, steam or heat.
• This may have an adverse effect on the plasma TV and cause fire or electric shock.
The work of fitting or removing the plasma TV must be performed by at least two people.
• The plasma TV may fall and cause injury.
Do not fit facing upwards, sideways or upside down.
• This may cause heat to build up inside the plasma TV unit, resulting in a fire.
Leave clearances all around the plasma TV of at least 10 cm (3.9 inches) above, at least 10 cm (3.9 inches)
on the left, at least 15 cm (5.9 inches) on the right and at least 10 cm (3.9 inches) below. Ensure that the
space between the back of the plasma TV and the wall behind is not blocked.
• The plasma TV unit has air blow holes on the top, and air suction holes on the bottom and rear. Covering these
may result in a fire.
Install the plasma TV by taking only the steps which are specified in these instructions: Do not install it in
any other way.
• Otherwise the unit may be dropped and become damaged, and personal injury may result.
Install the mounting screws and power cable in such a way that they will not make contact with the inside
parts of the wall.
• Electric shocks may result from contact with any metal objects inside the wall.
For installation, use the special-purpose constituent parts.
• Otherwise, the plasma TV may fall off the wall, possibly causing injury.
Remove the product that will not be used any longer.
• Otherwise the product may fall down and personal injury may result.
Requests regarding handling
1) Exercise care when selecting the location for the TV because it may discolor or deform due to light or heat if
it is placed where it is exposed to direct sunlight, or near a heater.
2) Clean the wall-hanging bracket by wiping it with a soft, dry cloth (such as cotton or flannel). If the bracket is
very dirty, remove the dirt using a neutral detergent diluted in water, and then wipe it clean with a dry cloth.
Do not use benzene, thinner, or furniture wax as this may cause the coating to peel.
(For information on cleaning the display unit, see the display unit’s instruction manual. If using a chemically-
treated cloth, follow the instructions supplied with the cloth.)
3) Do not affix adhesive tape or stickers to the product. Doing so may dirty the surface of the wall-hanging
bracket. Do not allow long-term contact with rubber, vinyl products or the like. (Doing so will cause
deterioration.)
4) Take care during installation as shocks can cause ‘panel cracks’ to the plasma TV unit.
Caution:
This bracket is intended for only Panasonic plasma TV models (See back cover).
Use with other apparatus is capable of resulting in instability causing possible injury.
PROFESSIONAL INSTALLATION IS REQUIRED.
PANASONIC DISCLAIMS ANY PROPERTY DAMAGE AND/OR SERIOUS INJURY, INCLUDING DEATH
RESULTING FROM IMPROPER INSTALLATION OR INCORRECT HANDLING.
2

[ The images shown in this manual are for illustrative
Components
purpose only.]
English
TY-WK5P1SW Wall-hanging bracket (Vertical mounting type)
Parts used to assemble the wall-hanging bracket
Base upper and lower
Bracket base left fitting
Bracket base right fitting
M5x10 screws for
fittings (2)
(1)
(1)
assembling the
fixture (4)
Parts used for installation
View of fully assembled fixtur
M8×24 Allen head
Positioning stickers (2)
countersunk screws (4)
Dished toothed washers (4) Long bolt for securing the unit (1)
Screw M6 x 50 for securing
the unit (1)
Insulation spacers (4)
Allen wrench (included tool) (1)
Please note the following before proceeding with installation:
♦ The plasma TV unit which will be attached to the wall-hanging bracket consists of the display unit,
tuner unit and speakers.
Precautions for wall-hanging bracket fitting
♦ The wall-hanging bracket is for use in attaching a plasma TV unit to a vertical wall for viewing. Do not fit to
any surface other than a vertical wall.
♦ To ensure correct plasma TV performance and prevent trouble, do not fit at any of the following locations.
• Near sprinklers or fire/smoke detectors
• Where there is a risk of exposure to vibration or impact
• Near high-voltage wires or dynamic power supplies
• Near sources of magnetism, heat, water vapor or soot
• Locations exposed to air blown from heating equipment
• Where droplets of condensation from an air conditioner or other unit may form.
♦ Fit using techniques suited to the structure and materials of the fitting location.
♦ Use commercially available screws with a nominal diameter of 6 mm (0.2 inches) that are suited to the wall
material (wood, steel frame, concrete etc.) you are fitting the bracket to.
♦ For the TV power supply plug, use a power supply outlet that can be reached easily.
♦ Ensure good air flow so that the equipment ambient temperature does not exceed 40 °C (104 °F). Failure to
do this may cause heat to build up inside the plasma TV, resulting in malfunction.
♦ Spread a soft blanket or cloth over the floor so that the plasma TV and floor will not be marked or scratched
during the assembly and installation work.
♦ When screwing down the parts, ensure that the screws are neither insufficiently tightened nor over tightened.
♦ Take sufficient care to ensure safety around you when performing the assembly and installation work or while
moving about during the course of the work.
♦ Do not install the Plasma TV underneath ceiling lamps (spotlights, halogen lamps, etc.). Otherwise, the
cabinet may be bent or damaged by high heat.
3

[ Never use any other method than specified to
Fitting procedure
install.]
English
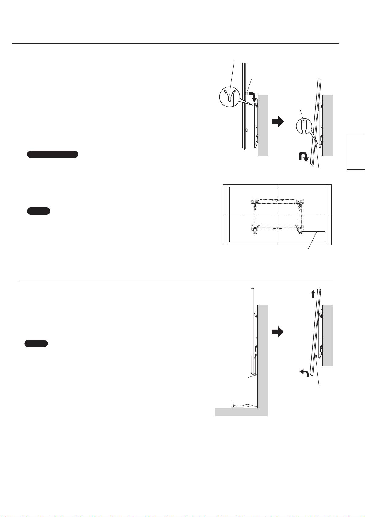
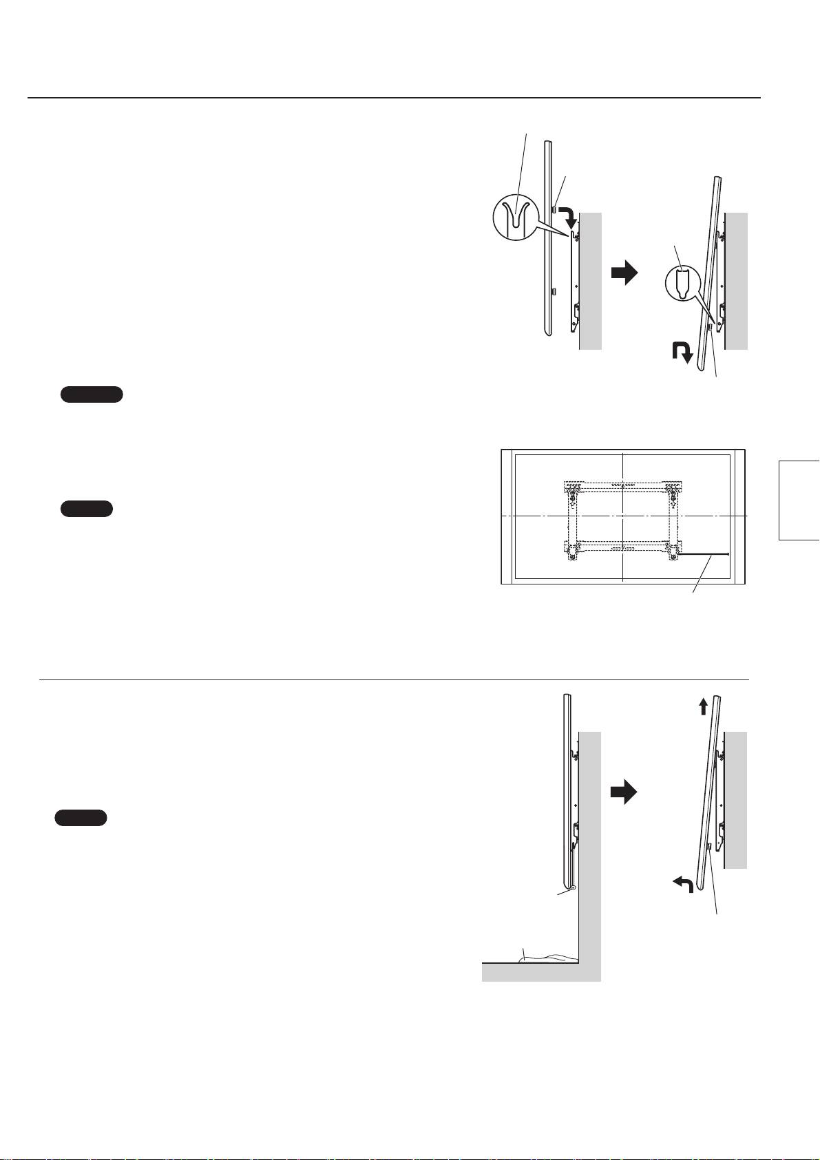
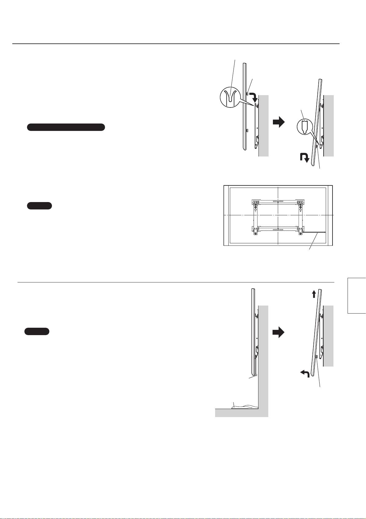
1. Assembling the wall-
hanging bracket
Inside : 46-inch model
Outside : 50 or 54-inch
1. Remove the screws for securing the
model
bracket base left and right fittings.
Screw for securing the
bracket base fitting
2. Lay the base upper and lower fittings
and the bracket base left and right fittings
Base upper and lower fittings
and as shown in the figure.
Bracket base left
3. Fit the tabs of the bracket base left and
fitting
right fittings into the cutouts of the base
upper and lower fittings above, and secure
them using the two screws used to
assemble the bracket.
(Tightening torque: 1.2 to 1.5 N•m)
4. Open slightly the bottom of the bracket
base left and right fittings, and fit their
tabs into the cutouts of the base upper
Tab
and lower fittings, and secure them using
the two screws used to assemble the
bracket.
Cutout
(Tightening torque: 1.2 to 1.5 N•m)
Bracket base
M5x10 screws for
right fitting
assembling the fixture
5. Tighten the screws for securing the bracket
Base upper and lower fittings
base left and right fittings which were
loosen in step 1.
Note
• Please hold the bracket base left and right
fittings as you work with the assembled wall
hanging bracket. Holding the base upper and
lower fittings might deform this unit.
Unit: mm (inches)
2. Checking the strength of the
600 (23.6)
installation location
80
440
80
1. The wall-hanging bracket weighs approximately 2.3 kg
(3.1)
(17.3)
(3.1)
(5.1 lbs).
17.5
(0.7)
Refer to the instruction manual of the plasma TV, and check
the weight of the plasma TV unit which will be fitted into the
wall-hanging bracket.
2. Refer to the outline drawing of the wall-hanging bracket
shown on the right, and check the wall strength at the six
325
(12.8)
installation positions shown. If the strength at any of these
positions is lacking, provide sufficient reinforcement.
Notes
• There are five pre-drilled mounting holes at the top and another
five at the bottom of the wall-hanging bracket.
59.5
(2.3)
Use the spare holes provided if wood or some other material is
used for the wall and a sufficient level of mounting strength cannot
Wall mounting holes (at 6 points)
be ensured by anchoring the fixture at the six positions shown on
the right.
Use the screws without fail to anchor the fixture.
However, bear in mind that, depending on which materials the
mounting surface is made of, cracks may form on the surface if the
screws are used at positions which are too close together.
• Mount or place only a plasma TV on the fixture: Do not mount or
place any other product.
• For details on the dimensions applying when the plasma TV is
mounted, refer to the outline drawing (See back cover).
4

English
3. Installing the wall-hanging bracket on
the wall
Notes
In the case of the 46-inch model, limit
• If it is necessary to embed bolts or nuts in the wall prior to
the extent to which the screws and bolts
installing the wall-hanging bracket because the wall is made
protrude to within 5 mm (0.2 inches).
of concrete, for instance, locate the positions of the holes by
putting the actual wall-hanging bracket in place on the wall or
by calculating the hole positions from the outline drawing, and
then embed bolts and nuts with a nominal diameter of 6 mm (0.2
inches) or their equivalent. When embedding the bolts, ensure that
their heads protrude by 10 to 15 mm (0.4 to 0.6 inches) from the
surface of the wall.
In the case of the 46-inch model, limit the extent to which the
screws and bolts used in the center holes of the base upper and
lower fittings (3 holes on each fitting) protrude from the wall to
within 5 mm (0.2 inches).
• For installing the wall-hanging bracket onto the wall, use screws
with a nominal diameter of 6 mm (0.2 inches) or their equivalent
available from a hardware store and suited to the materials of the
installation area on the wall.
• Anchor the screws in at least six locations.
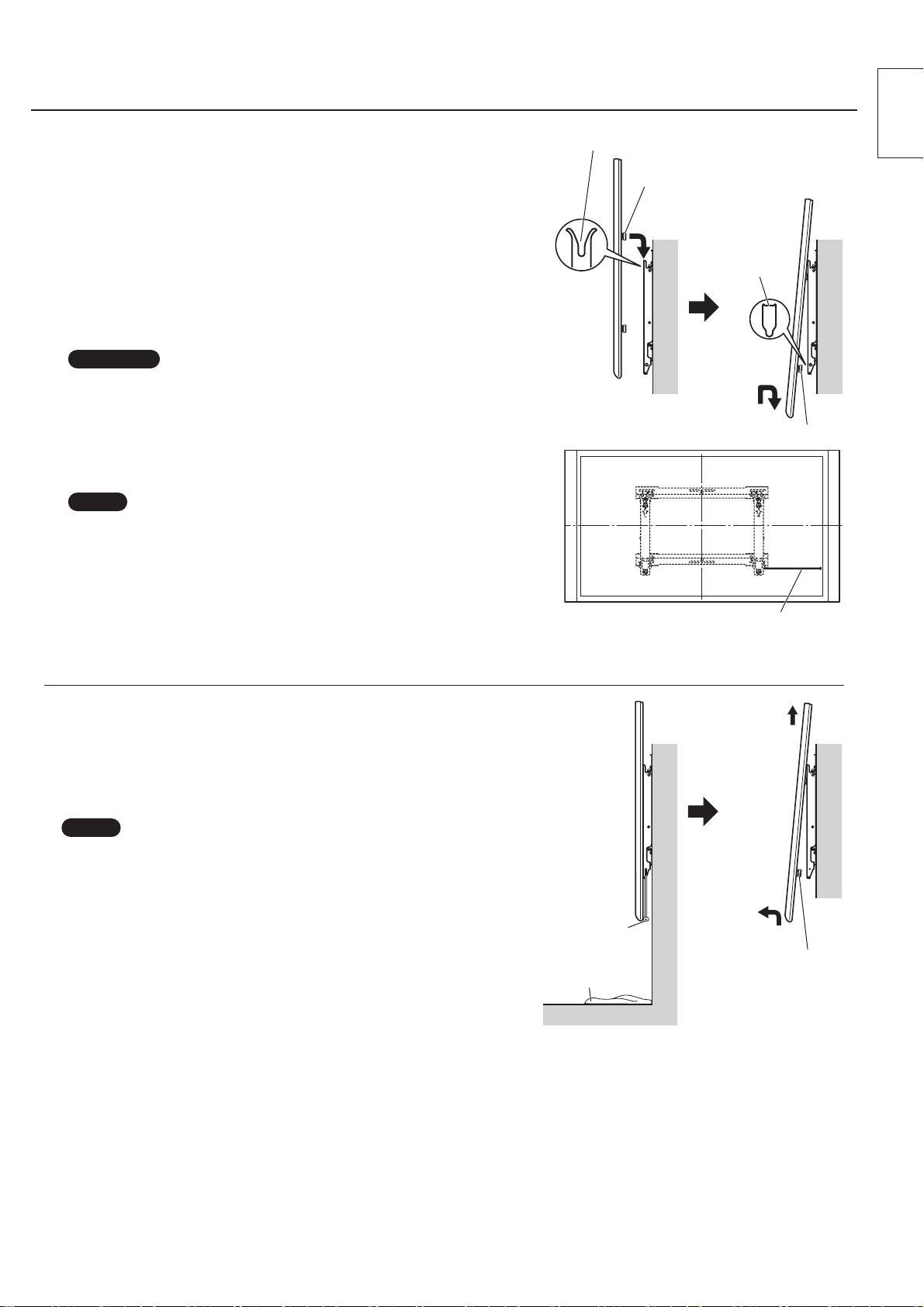
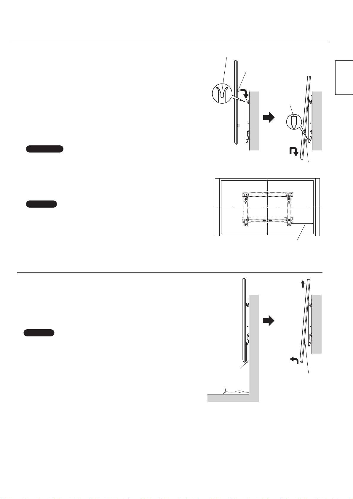
1. Install the wall-hanging bracket so that the arrows indicated
on it are pointing upward.
2. First of all, secure the screw in the upper center hole .
3. Use a level to ensure that the fixture is not tilting on one
side, and then secure the screws in the five remaining holes.
Arrows
4. To provide a guideline for attaching the plasma TV unit,
Unit: mm (inches)
adhere the two positioning stickers to the wall in the same
(Example showing where the stickers
places as shown in the figure on the right. For the adhesion
are adhered on the 54-inch model)
positions (one at the left and one at the right), refer to the
Positioning stickers
Positioning stickers
outline drawings (See back cover).
)
• The positioning seals are adhered at positions which are 80 mm
a: 414 (16.3) a: 414 (16.3)
80
(3.1 inches) above the plasma TV unit.
(
(3.1)
b: 345 (13.6)
5.
Loosely secure the long bolt for securing the unit (by rotating
the bolt through 2 or 3 turns) into the screw hole located
underneath the right side of the bracket base right fitting.
Note
• When only the display unit of the 46-inch model is to be used, the
Long bolt for securing the unit
long bolt for securing the unit will be visible from the right side. If
the installation conditions or other factors are such that this bolt is
unsightly, use the screw for securing the unit instead to secure
the unit loosely. In this case, use a long Phillips head screwdriver
(at least 40 cm (15.7 inches) long).
5

Fitting procedure
English
4. Attaching the insulation spacers to the
display unit
1. Remove the top part of the outer cardboard box used for the plasma
TV unit, and pull the protective bag down.
To ensure that the plasma TV unit does not fall over, provide support at
the front.
2. Open the accessory pad.
Accessory pad
Remove the installation stand, accessory box and speaker box from
the outer cardboard box.
3. Remove the four caps from the display unit using a Phillips head
Cap
screwdriver.
Phillips head screwdriver
Note
• Keep the installation stand and also the caps which were removed in a safe
Cap
place.
4. Using the supplied Allen wrench , mount the 4 Allen head
countersunk screws , 4 dished toothed washers and 4 insulation
spacers provided at the locations where the caps were attached, as
shown in the figure on the right.
(Tightening torque: 3 to 4 N•m)
• If the insulation spacers are not attached during the assembly process,
the display unit may be damaged as a result.
5. Connect the HDMI cable (either the one provided or one obtained
separately) to the display unit.
Use the HDMI cable in the length which is appropriate for the distance
from where the tuner unit is to be installed.
Notes
• For details on how to attach the speakers and other parts packed with
the plasma TV unit and to connect the HDMI cable, refer to the operating
instructions of the plasma TV unit.
• When a full Hi-Vision wireless unit is to be used, follow the instructions given in
the unit’s operating instructions.
6

Cutout at top
English
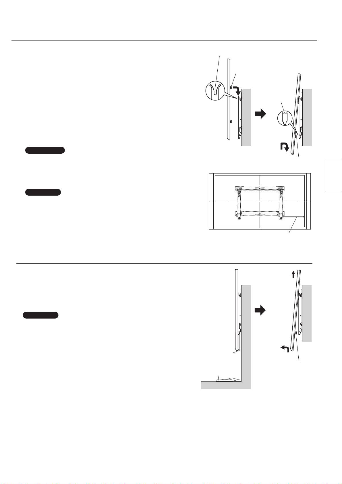
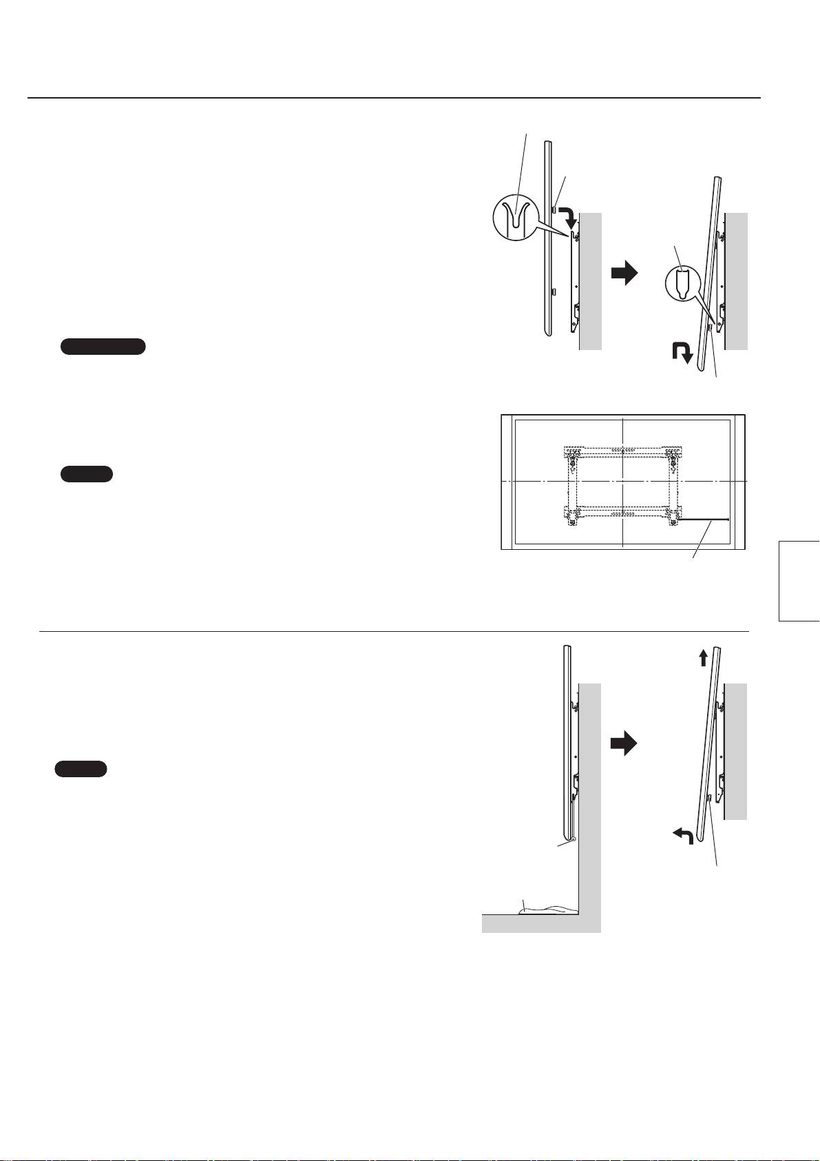
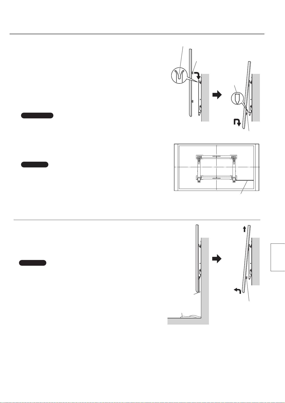
5. Attaching and securing the display unit
to the wall-hanging bracket
Insulation spacer at top
1. Using the positioning stickers adhered to the wall as guidelines,
align the top of the display unit at the left and right.
2.
2. Engage the insulation spacers at the top of the display unit with
the cutouts at the top of the bracket unit, and slowly lower them
Hole at
into place.
bottom
3. While lifting the display unit slightly, insert the bottom insulation
spacers into the holes at the lower end of the wall-hanging
bracket, and then pull the display unit straight down into place.
CAUTION
Surface of wall
Surface of wall
• If the plasma TV is lifted too much, its top part will become disengaged
from the wall-hanging bracket.
3.
Insulation spacer at bottom
4. Tighten up the long bolt for securing the unit , which was
secured loosely in step 5 of section 3, until it will go no further.
Note
• Tightening up the long bolt for securing the unit or the screw for
securing the unit too much may cause the bracket to be bent out of
shape.
5. Lift the display unit slightly, and check that it is firmly secured in
place.
4. Long bolt for securing the unit
6. Connect the HDMI cable to the tuner unit.
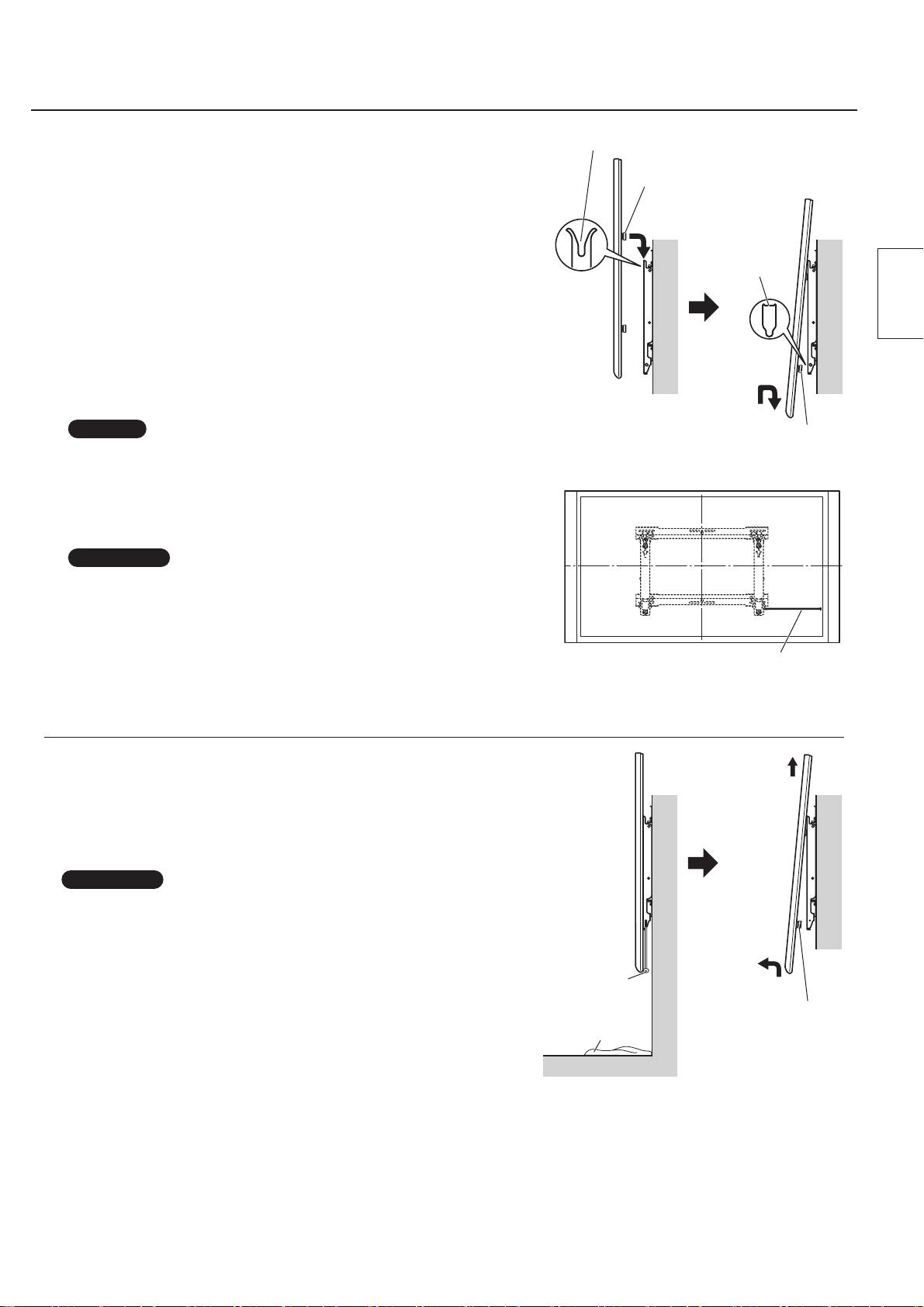
How to remove the plasma TV from the
4.
wall-hanging bracket
1. Place a soft blanket or piece of cloth underneath the plasma TV unit.
Remove the long bolt for securing the unit or the screw for
securing the unit which is attached to the side of the wall-hanging
bracket.
Note
• Otherwise, the long bolt for securing the unit or the screw for
securing the unit may drop down by mistake, leaving marks on the
Surface of wall
Surface of wall
surface of the floor.
Long bolt for
2. Disconnect the wires connecting the plasma TV to the other units.
securing the
unit
3.
3. While lifting the bottom part of the plasma TV, pull the plasma TV
toward you.
Blanket or piece
Insulation spacer at the
of cloth
bottom
4. Once the insulation spacers at the bottom have been released, lift
the plasma TV straight up.
Floor surface
5. Ensure that the plasma TV unit, which has now been removed from
the wall-hanging bracket, is kept upright while it is being handled so
that no load will be applied to its front or back panel.
7

Sicherheitsmaßnahmen
Warnung
Vergewissern Sie sich, dass der Installationsort auch für den Langzeitgebrauch stark genug ist.
• Falls die Stärke bei Langzeitgebrauch unzureichend wird, kann das Display herunterfallen und ggf. Verletzungen
verursachen.
Das Anbringen und die Verbindung der Geräte sollte immer von einer für die Installation qualifizierten
Person ausgeführt werden.
Deutsch
• Falsches Zubehör kann zum Herunterfallen des Gerätes und zur Verletzung von Personen führen.
Aus Sicherheitsgründen sollte die Festigkeit des vorgesehenen Anbringungsortes immer sichergestellt werden.
• Wenn keine ausreichende Festigkeit gegeben ist, kann dies zum Herunterfallen des Gerätes und zu Verletzungen
von Personen führen.
Nicht an einem Ort anbringen, der das Gewicht des Gerätes nicht tragen kann.
• Wenn der Anbringungsort keine ausreichende Festigkeit aufweist, kann das Gerät herunterfallen.
Die Wandhalterung nicht zerlegen oder modifizieren.
• Anderenfalls kann das Gerät herunterfallen und Verletzungen oder Schäden verursachen.
Vorsicht
Nicht an einem Ort anbringen, an dem Feuchtigkeit, Staub, Rauch, Dampf oder übermäßige Wärme
vorhanden ist.
• Dadurch kann der Plasma-Fernseher beschädigt und Feuer oder elektrischer Schlag verursacht werden.
Nicht für Fernseher verwenden, die nicht in diesem Katalog aufgeführt sind.
• Andernfalls kann das Gerät herunterfallen und dabei beschädigt werden oder Verletzungen verursachen.
Das Anbringen oder Abnehmen des Plasma-Fernsehers muss immer von mindestens zwei Personen
ausgeführt werden.
• Der Plasma-Fernseher kann herunterfallen und Verletzungen verursachen.
Nicht nach oben, auf die Seite oder nach unten weisend anbringen.
• Dadurch kann im Plasma-Fernseher ein Wärmestau entstehen und Feuer verursachen.
Auf der Oberseite und auf der linken Seite des Plasma-Fernsehers ist jeweils ein Freiraum von mindestens
10 cm einzuhalten, auf der rechten Seite ein Freiraum von mindestens 15 cm, und an der Unterseite ein
Freiraum von mindestens 10 cm. Zwischen der Rückseite des Plasma-Fernsehers und der Wand dahinter ist
ebenfalls für einen ausreichenden Freiraum zu sorgen.
• Der Plasma-Fernseher ist mit Luftaustrittsöffnungen auf der Oberseite und Lufteintrittsöffnungen auf der Unterseite
und Rückseite ausgestattet. Das Abdecken dieser Öffnungen kann Feuer verursachen.
Gehen Sie zur Installation des Plasma-Fernsehers ausschließlich wie in dieser Anleitung beschrieben vor:
Die Installation darf auf keine andere Weise ausgeführt werden.
• Anderenfalls kann das Gerät herunterfallen und Verletzungen oder Schäden verursachen.
Achten Sie bei der Installation darauf, dass die Kreuzschlitzschrauben und das Netzkabel keine in der Wand
vorhandenen Metallgegenstände berühren.
• Bei Kontakt mit Metallgegenständen, die in der Wand vorhanden sind, besteht die Gefahr von elektrischem Schlag.
Verwenden Sie zur Installation ausschließlich die Spezial-Befestigungsteile im Lieferumfang.
• Anderenfalls kann der Plasma-Fernseher von der Wand herunterfallen und Verletzungen verursachen.
Die Deckenhalterung demontieren, wenn sie nicht mehr verwendet werden soll.
• Anderenfalls kann die Halterung herunterfallen und Verletzungen verursachen.
Vorsichtsmaßnahmen bei der Handhabung
1) Der Aufstellungsort des Plasma-Fernsehers sollte sorgfältig ausgesucht werden, weil das Gehäuse
sich aufgrund von Lichtstrahlen oder Wärme verfärben oder verformen kann, wenn es direkter
Sonneneinstrahlung ausgesetzt ist oder in der Nähe eines Heizgerätes aufgestellt wird.
2)
Reinigen Sie die Wandhalterung mit einem weichen, trockenen Tuch (z. B. aus Baumwolle oder Flannel). Bei
starker Verschmutzung der Wandhalterung wischen Sie die Schmutzflecken mit einem Tuch ab, das mit einer
Lösung aus einem neutralen Reinigungsmittel und Wasser angefeuchtet ist, und reiben Sie anschließend mit
einem trockenen Tuch nach. Verwenden Sie auf keinen Fall Benzol, Farbverdünner oder Möbelwachs, da
derartige Substanzen ein Abblättern der Lackierung verursachen können. (Informationen zum Reinigen des
Displays finden Sie in der Bedienungsanleitung des Displays. Bei Verwendung eines chemisch behandelten
Reinigungstuchs sind die Anweisungen der dem Tuch beiliegenden Gebrauchsanweisung sorgfältig zu
beachten.)
3) Kein Klebeband oder Aufkleber am Gerät anbringen. Dadurch kann die Wandhalterung verunreinigt werden.
Vermeiden Sie den Langzeitkontakt mit Gummi, Vinylprodukten und dergleichen. (Anderenfalls kommt es zu
einer Verschlechterung des Produkts.)
4)
Gehen Sie bei der Montage vorsichtig vor, da Stöße zu ‘Bildschirmrissen’ am Plasma-Fernsehgerät führen können.
Vorsicht:
Diese Halterung ist ausschließlich für Plasma-Fernsehermodelle der Marke Panasonic vorgesehen (Siehe
hinteren Einband).
Die Verwendung mit anderen Geräten kann zu Instabilität führen und Verletzungen zur Folge haben.
DIE INSTALLATION IST PROFESSIONELL DURCHZUFÜHREN.
Panasonic übernimmt keine Haftung für Sachschäden und/oder schwere Verletzungen, einschließlich Todesfall,
die auf unsachgemäße Installation oder falsche Handhabung zurückzuführen sind.
8

[ Die Abbildungen in dieser Anleitung dienen lediglich zu
Bauteile
Erläuterungszwecken.]
TY-WK5P1SW Wandhalterung (Typ für vertikale Anbringung)
Bauteile der Wandhalterung
Obere und untere Schiene
Linke Schiene
Rechte Schiene
Schrauben M5 x 10
(2)
(1)
(1)
für Zusammenbau
Deutsch
der Schienen (4)
Befestigungsteile
Ansicht der Wandhalterung im
Innensechskant-
Positionieraufkleber (2)
zusammengebauten Zustand
Senkschrauben M8×24 (4)
Zahnscheiben (4) Lange
Einheit-Befestigungsschraube (1)
Einheit-Befestigungsschraube
M6 x 50 (1)
Isoliermuffen (4)
Innensechskantschlüssel
(mitgeliefertes Werkzeug) (1)
Bitte beachten Sie die folgenden Hinweise, bevor Sie mit der Installation beginnen:
♦ Die Plasma-Fernsehereinheit, die an der Wandhalterung zu befestigen ist, besteht aus Displayeinheit,
Tunereinheit und Lautsprechern.
Vorsichtsmaßnahmen für das Anbringen der Wandhalterung
♦ Die Halterung für die Wandbefestigung wird für das Anbringen eines Plasma-Fernsehers an einer vertikalen
Wand verwendet. Die Halterung sollte nur für die Befestigung an einer vertikalen Wand verwendet werden.
♦ Zur Sicherstellung der richtigen Funktion des Plasma-Fernsehers und zur Vermeidung von Problemen sollte
es nicht an den folgenden Orten aufgestellt werden.
• In der Nähe von Sprinkleranlagen oder Feuer-/Rauchdetektoren.
• An Orten, an denen Vibrationen oder Stöße auftreten können.
• In der Nähe von Hochspannungsleitungen oder Stromversorgungsanlagen.
• Neben Quellen von Magnetismus, Hitze, Wasserdampf und Ruß.
• An Orten, an denen warme Luft von Heizgeräten ausgeblasen wird.
• An einem Ort, an dem sich Kondenswasser von einer Klimaanlage oder einem anderen Gerät bilden kann.
♦ Die Befestigung der Halterung sollte der Struktur und dem Material des Anbringungsortes entsprechen.
♦ Verwenden Sie gängige Schrauben mit einem nominalen Durchmesser von 6 mm, die dem Wandmaterial
(Holz, Stahlrahmen, Beton usw.) angemessen sind, an dem Sie die Halterung anbringen.
♦ Die für den Plasma-Fernseher verwendete Steckdose sollte einfach zu erreichen sein.
♦
Stellen Sie einen ausreichenden Luftfluß sicher, damit die Umgebungstemperatur des Gerätes 40 °C nicht übersteigt. Bei
Nichtbeachtung kann es zu einem Wärmestau im Plasma-Fernseher kommen, wodurch Fehlfunktionen auftreten können.
♦ Breiten Sie eine weiche Decke oder ein Tuch auf dem Boden aus, damit der Plasma-Fernseher und der
Boden während des Zusammenbaus und der Aufstellung nicht zerkratzt werden.
♦ Achten Sie beim Festschrauben der Teile darauf, dass die Schrauben weder ungenügend noch zu stark
festgezogen werden.
♦ Achten Sie auf die Sicherheit in Ihrer Umgebung, wenn Sie die Zusammenbau- und Aufstellungsarbeiten
durchführen oder sich bei diesen Arbeiten bewegen.
♦ Installieren Sie den Plasma-Fernseher auf keinen Fall unterhalb von starken Deckenleuchten
(Punktstrahlern, Halogenlampen), die starke Wärme abgeben.
Anderenfalls können sich Kunststoffteile des Gehäuses verziehen oder beschädigt werden.
9

[ Wenden Sie auf keinen Fall eine andere Montagemethode
Befestigung
als in dieser Anleitung angegeben an.]
1. Zusammenbau der
Wandhalterung
Innen: 46-Zoll-Modell
Außen: 50- oder
1.
Entfernen Sie die Schrauben für Befestigung
54-Zoll-Modell
der linken und rechten Schiene.
Schraube für
Schienenbefestigung
Deutsch
2. Legen Sie die obere und die untere
Schienen sowie die linke und die
Obere und untere Schiene
rechte Schiene wie in der Abbildung
gezeigt auf eine ebene Unterlage.
Linke Schiene
3.
Passen Sie die Laschen der linken und
rechten Schiene in die Aussparungen in
der oberen und unteren Schiene ein, und
sichern Sie die Teile mit den zwei Schrauben
für Zusammenbau der Wandhalterung.
(Anzugsmoment: 1,2–1,5 N•m)
4.
Öffnen Sie jeweils die Unterseite der linken
und rechten Schiene geringfügig, passen
Lasche
Sie deren Laschen in die Aussparungen in
der oberen und unteren Schiene ein, und
Aussparung
sichern Sie die Teile mit den zwei Schrauben
für Zusammenbau der Wandhalterung.
Rechte Schiene
Schrauben M5 x 10
(Anzugsmoment: 1,2–1,5 N•m)
für Zusammenbau der
Schienen
Obere und untere Schiene
5. Ziehen Sie die in Schritt 1 gelösten
Schrauben für Befestigung der linken
und rechten Schiene wieder an.
Hinweis
• Halten Sie die zusammengebaute
Wandhalterung bei der Handhabung stets an
der linken und rechten Schiene. Die Halterung
kann deformiert werden, wenn sie an der
oberen und unteren Schiene gehalten wird.
Einheit: mm
2. Überprüfen der Tragfähigkeit der
600
44080 80
Installationsstelle
1. Das Gewicht der Wandhalterung beträgt ca. 2,3 kg.
Schlagen Sie in der Bedienungsanleitung des
Plasmafernsehers nach, um das Gewicht des
Plasmafernsehers zu ermitteln, der an der Wandhalterung
befestigt werden soll.
2. Überprüfen Sie die Stärke der Wand unter Bezugnahme
auf die Maßzeichnung rechts an den 6 gezeigten
Befestigungsstellen, und sorgen Sie für eine ausreichende
Armierung, falls die Stärke der Wand nicht ausreicht.
Hinweise
• An der Oberseite und Unterseite der Wandhalterung sind jeweils 5
59.5 17.5325
Montagelöcher vorgesehen.
Verwenden Sie diese Reservelöcher, wenn die Wand aus Holz
oder einem anderen Material besteht und bei Verankerung der
Löcher für Wandmontage (6 Stellen)
Wandhalterung an den 6 in der Abbildung rechts gezeigten Stellen
Verwenden Sie unbedingt die Schrauben zur
keine ausreichende Tragfähigkeit gewährleistet ist.
Bitte beachten Sie jedoch, dass sich je nach Werkstoff der
Verankerung der Wandhalterung.
Montagefläche Risse in der Oberfäche bilden können, wenn die
Schrauben zu nah aneinander verwendet werden.
• Befestigen Sie ausschließlich einen Plasmafernseher an der
Wandhalterung: Keinerlei andere Gegenstände dürfen daran
montiert werden.
• Einzelheiten zu den Abmessungen nach Montage des
Plasmafernsehers sind der Maßzeichnung auf Siehe hinteren
Einband zu entnehmen.
10

3.
Montage der Wandhalterung an der Wand
Hinweise
Beim 46-Zoll-Modell ist das Ausmaß
•
Falls vor der Montage der Wandhalterung Bolzen oder Muttern
des Hervorstehens der Schrauben und
in die Wand eingebettet werden müssen, beispielsweise wenn
Bolzen auf 5 mm zu begrenzen.
die Wand aus Beton besteht, ermitteln Sie die Positionen der in
Deutsch
der Wand anzubringenden Bohrlöcher entweder, indem Sie die
zusammengebaute Wandhalterung gegen die Wand halten, oder unter
Bezugnahme auf die Maßzeichnung, und betten Sie dann Bolzen oder
Muttern mit einem Nenndurchmesser von 6 mm in die Wand ein.
Sorgen Sie beim Einbetten von Bolzen dafür, dass die Bolzenköpfe
um 10 bis 15 mm von der Oberfläche der Wand hervorstehen.
Beim 46-Zoll-Modell ist das Ausmaß des Hervorstehens der
Schrauben und Bolzen, die in den mittleren Löchern der oberen
und unteren Schiene (drei Löcher in jeder Schiene) verwendet
werden, von der Wand auf 5 mm zu begrenzen.
• Verwenden Sie im Fachhandel erhältliche Schrauben mit einem
Nenndurchmesser von 6 mm, die für den Werkstoff an der
Befestigungsstelle geeignet sind, zur Montage der Wandhalterung
an der Wand.
• Verankern Sie die Schrauben an mindestens 6 Stellen.
1. Montieren Sie die Wandhalterung so an der Wand, dass die
Pfeilmarkierungen an der Wandhalterung nach oben weisen.
2. Befestigen Sie zuerst die Schraube im oberen Mittelloch .
3. Nivellieren Sie die Wandhalterung unter Verwendung einer
Wasserwaage, und befestigen Sie dann die Schrauben in den
restlichen 5 Montagelöchern.
Pfeilmarkierungen
4. Befestigen Sie die zwei Positionieraufkleber an den in
Einheit: mm
der Abbildung rechts gezeigten Stellen an der Wand, die als
(Beispiel, das die Befestigung der
Anhaltspunkte für die Montage des Plasma-Fernsehers an
Aufkleber beim 54-Zoll-Modell zeigt)
der Wand dienen. Die Stellen zur Befestigung der Aufkleber
(je eine links und rechts) sind den Umrisszeichnungen
Positionieraufkleber
Positionieraufkleber
(Siehe hinteren Einband) zu entnehmen.
a: 414a: 414
(80)
• Die Positionieraufkleber sind jeweils an einer Stelle zu
befestigen, die um 80 mm oberhalb des Plasma-Fernsehers
liegt.
b: 345
5. Befestigen Sie die lange Einheit-Befestigungsschraube
provisorisch (durch Drehen der Schraube um 2 bis 3
Umdrehungen) in dem Schraubenloch, das sich unterhalb
der rechten Seite der rechten Schiene befindet.
Hinweis
Lange Einheit-Befestigungsschraube
•
Wenn nur die Displayeinheit des 46-Zoll-Modells verwendet werden soll,
ist die lange Einheit-Befestigungsschraube von der rechten Seite aus
sichtbar. Falls die Installationsbedingungen oder andere Faktoren dazu
führen, dass sich diese Schraube störend bemerkbar macht, verwenden
Sie stattdessen die Einheit-Befestigungsschraube zur provisorischen
Befestigung der Einheit. In einem solchen Fall müssen Sie einen langen
Kreuzschlitzschraubendreher (mindestens 40 cm lang) verwenden
.
11

Befestigung
4. Befestigen der Isoliermuffen an der
Displayeinheit
1. Entfernen Sie das Oberteil des äußeren Verpackungskartons des
Plasma-Fernsehers, und ziehen Sie den Schutzbeutel nach unten.
Sorgen Sie dabei für eine Stütze an der Vorderseite, um ein Umfallen
Deutsch
des Plasma-Fernsehers zu verhindern.
2. Nehmen Sie das Zubehörpolster ab.
Zubehörpolster
Entfernen Sie den Ständer, den Zubehörkarton und den
Lautsprecherkarton aus dem äußeren Verpackungskarton.
3. Entfernen Sie die vier Kappen mit einem Kreuzschlitzschraubendreher
Kappe
von der Displayeinheit.
Kreuzschlitzschraubendreher
Hinweis
• Bitte bewahren Sie den Ständer und die entfernten Kappen an einem
Kappe
sicheren Ort auf.
4. Verwenden Sie den mitgelieferten Innensechskantschlüssel , um die
4 Innensechskant-Senkschrauben , die 4 Zahnscheiben und die 4
Isoliermuffen im Lieferumfang wie in der Abbildung rechts gezeigt an
den Stellen zu befestigen, von denen die Kappen entfernt wurden.
(Anzugsmoment: 3–4 N•m)
• Falls die Isoliermuffen beim Zusammenbau nicht befestigt werden, kann
dies zu einer Beschädigung der Displayeinheit führen.
5. Schließen Sie das HDMI-Kabel (entweder das mitgelieferte oder ein
separat erworbenes Kabel) an die Displayeinheit an.
Verwenden Sie ein HDMI-Kabel mit einer Länge, die für den Abstand von
dem für die Tunereinheit vorgesehenen Aufstellungsort geeignet ist.
Hinweise
• Einzelheiten zur Befestigung der Lautsprecher und anderen Teile im
Lieferumfang des Plasma-Fernsehers sowie zum Anschließen des HDMI-
Kabels finden Sie in der Bedienungsanleitung des Plasma-Fernsehers.
• Wenn eine vollständig mit Hi-Vision kompatible drahtlose Einheit verwendet
werden soll, folgen Sie den Anweisungen in der Bedienungsanleitung der
Einheit.
12

Aussparung an Oberseite
5. Befestigen der Displayeinheit an der
Wandhalterung
Isoliermuffe an Oberseite
1. Richten Sie die Oberkante der Displayeinheit links und rechts
auf die an der Wand befestigten Positionieraufkleber aus.
2.
Deutsch
2. Passen Sie die Isoliermuffen an der Oberseite der Displayeinheit
in die Aussparungen an der Oberseite der Wandhalterung ein,
Loch an
und senken Sie langsam in Arbeitsstellung ab.
Unterseite
3. Heben Sie die Displayeinheit geringfügig an, passen Sie
die Isoliermuffen an der Unterseite in die Löcher in der
unteren Schiene der Wandhalterung ein, und ziehen Sie
die Displayeinheit dann senkrecht nach unten in ihre
Arbeitsstellung.
Oberfläche der Wand
Oberfläche der Wand
ACHTUNG
3.
• Heben Sie den Plasmafernseher nicht zu weit an, da sich sein Oberteil
anderenfalls von der Wandhalterung löst.
Isoliermuffe an Unterseite
4. Ziehen Sie die lange Einheit-Befestigungsschraube , die in
Schritt 5 von Abschnitt 3 provisorisch befestigt wurde, bis zum
Anschlag an.
Hinweis
• Wird die lange Einheit-Befestigungsschraube oder die Einheit-
Befestigungsschraube übermäßig weit angezogen, kann dies dazu
führen, dass sich die Wandhalterung verbiegt.
5. Heben Sie die Displayeinheit geringfügig an, und prüfen Sie
nach, dass sie sicher in Arbeitsstellung befestigt ist.
4. Lange Einheit-Befestigungsschraube
6. Schließen Sie das HDMI-Kabel an die Tunereinheit an.
Demontage des Plasmafernsehers von der
4.
Wandhalterung
1. Legen Sie eine Decke oder ein weiches Tuch unter den Plasma-
Fernseher.
Entfernen Sie an der Seite der Wandhalterung befestigte
lange Einheit-Befestigungsschraube bzw. Einheit-
Befestigungsschraube .
Hinweis
• Anderenfalls kann es vorkommen, dass der Fußboden zerkratzt wird,
wenn die lange Einheit-Befestigungsschraube oder die Einheit-
Oberfläche der Wand
Oberfläche der Wand
Befestigungsschraube versehentlich fallengelassen wird.
Lange Einheit-
2. Trennen Sie alle Kabel ab, mit denen der Plasma-Fernseher an
3.
Befestigungsschraube
andere Geräte angeschlossen ist.
Isoliermuffe an
3. Heben Sie die Unterseite des Plasmafernsehers an, und ziehen Sie
Decke oder Tuch
Unterseite
ihn dann nach vorn.
Fußboden
4. Wenn die Isoliermuffen an der Unterseite freigegeben worden sind,
heben Sie den Plasmafernseher senkrecht an.
5. Achten Sie darauf, den Plasma-Fernseher nach der Demontage von
der Wandhalterung stets in aufrechter Lage zu handhaben, damit
keinerlei Druck auf seine Vorderseite oder Rückseite ausgeübt wird.
13

Veiligheidsmaatregelen
Waarschuwing
Zorg ervoor dat de montageplaats sterk genoeg is voor langdurig gebruik.
• Als na langdurig gebruik de sterkte onvoldoende is, kan het plasmascherm vallen, waardoor letsel kan worden
veroorzaakt.
De montage en aansluitingen mogen uitsluitend door een vakkundige installatiemonteur worden uitgevoerd.
• Bij een verkeerde montage kan de apparatuur vallen met letsel tot gevolg.
Neem een bepaalde veiligheidsmarge in acht wanneer u de sterkte van de montagewand bepaalt.
• Als de wand niet sterk genoeg is, kan de apparatuur vallen met letsel tot gevolg.
Bevestig de apparatuur niet op een plaats die het gewicht niet kan dragen.
• Als de montageplaats niet sterk genoeg is, kan de apparatuur vallen met letsel tot gevolg.
Demonteer de muurbevestigingssteun niet en maak geen aanpassingen.
Nederlands
• Het toestel kan anders vallen en beschadigd raken, met mogelijk persoonlijk letsel tot gevolg.
Let op
Bevestig de apparatuur niet op een plaats die blootgesteld staat aan vocht, stof, rook, stoom of hitte.
• Dit kan een nadelige invloed hebben op de plasmatelevisie en kan tevens brand of een elektrische schok
veroorzaken.
Gebruik geen andere televisies dan in de catalogus staan aangegeven.
• Als u dat wel doet, bestaat de kans dat het toestel valt en beschadigd wordt, hetgeen tot verwondingen kan leiden.
Voor de montage en het verplaatsen van de plasmatelevisie zijn minimaal twee personen nodig.
• Dit om te voorkomen dat de plasmatelevisie valt en letsel veroorzaakt.
Monteer de plasmatelevisie niet naar boven of naar de zijkant gericht, of ondersteboven.
• Dit kan resulteren in oververhitting van de inwendige onderdelen van de plasmatelevisie met brand tot gevolg.
Houd minimaal 10 cm ruimte vrij boven en onder en links van de plasma-TV en tenminste 15 cm ruimte
rechts ervan. Laat ook voldoende ruimte open tussen het achterpaneel en de wand waarvoor de plasma-TV
staat of hangt.
• De plasmatelevisie heeft luchtuitvoergaten aan de bovenkant en luchtinvoergaten aan de onderkant en de
achterkant. Afdekking van deze openingen kan resulteren in brand.
Volg de installatiestappen in deze instructies nauwkeurig en installeer de plasmatelevisie op geen enkele
andere manier.
• Het toestel kan anders vallen en beschadigd raken, met mogelijk persoonlijk letsel tot gevolg.
Bevestig de bevestigingsschroeven en het netsnoer op zo’n manier dat ze geen contact maken met
onderdelen in de muur.
• Bij contact met metalen voorwerpen in de muur kan er sprake zijn van een elektrische schok.
Gebruik voor de installatie de speciaal hiervoor bestemde onderdelen.
• De plasmatelevisie kan anders van de muur vallen, met mogelijk persoonlijk letsel tot gevolg.
Verwijder het product als u het niet langer gebruikt.
• Anders bestaat de kans dat het product valt en letsel veroorzaakt.
Belangrijke opmerkingen betreffende de behandeling
1) Ga zorgvuldig te werk wanneer u een plaats uitzoekt voor de plasmatelevisie, want het scherm kan
verkleuren of vervormd raken als gevolg van licht of warmte wanneer het in direct zonlicht of in de buurt van
een verwarmingsradiator wordt geplaatst.
2) Reinig de muurbevestigingssteun door deze schoon te vegen met een zachte droge doek (van katoen, flanel
e.d.). Om hardnekkig vuil te verwijderen gebruikt u een sopje van wat neutraal wasmiddel, om daarna de
steun goed af te drogen met een droge doek. Gebruik geen benzeen, thinner of meubelwas, aangezien die
de deklaag kunnen doen afbladderen.
(Aanwijzingen voor het reinigen van het beeldscherm vindt u in de handleiding van het beeldscherm. Als u
een chemisch reinigingsdoekje gebruikt, volgt u de aanwijzingen behorend bij dat doekje.)
3) Bevestig geen kleefband of stickers op het product. Deze kunnen de afwerking van de
muurbevestigingssteun beschadigen. Voorkom langdurige aanraking met rubber of plastic voorwerpen.
(Dergelijke stoffen kunnen de afwerking aantasten.)
4) Ga bij de installatie voorzichtig te werk omdat door schokken ‘scheuren in het plasmascherm’ kunnen
ontstaan.
Le t op:
Deze steun is alleen bedoeld voor plasma-tv-modellen van Panasonic (zie de achterpagina).
Bij gebruik in combinatie met andere apparatuur kan de montage onstabiel zijn met mogelijk letsel tot gevolg.
INSTALLATIE DOOR EEN VAKMAN IS VEREIST.
PANASONIC IS NIET AANSPRAKELIJK VOOR EVENTUELE MATERIËLE BESCHADIGINGEN EN/
OF
ERNSTIG LETSEL INCLUSIEF FATAAL, ALS GEVOLG VAN ONJUIST INSTALLEREN OF ONJUIST
HANTEREN.
14

[ De afbeeldingen in deze handleiding dienen
Onderdelen
slechts tot voorbeeld.]
TY-WK5P1SW Muurbevestigingssteun (voor verticale montage)
Onderdelen voor montage van de muurbevestigingssteun
Boven- en onderprofiel
Linkersteunprofiel
Rechtersteunprofiel
M5x10-
(2)
(1)
(1)
steunmontageschroeven
(4)
Nederlands
Onderdelen voor de bevestiging
Gemonteerde steun
M8×24-inbusbouten met plat
Plaatsingsetiketten (2)
verzonken kop (4)
Getande veerklemmen (4) Lange bout voor vastzetten van
het toestel (1)
Schroef M6 x 50 voor vastzetten
van het toestel (1)
Isolatiebussen (4)
Inbussleutel
(bijgeleverd gereedschap) (1)
Houd rekening met het volgende voordat u tot installatie overgaat:
♦ Het complete samenstel van de plasma-TV voor ophanging aan de muurbevestigingssteun bestaat
uit het beeldscherm, de afstemeenheid en de luidsprekers.
Voorzorgsmaatregelen betreffende de montage van de muurbevestigingssteun
♦ De muurbevestigingssteun wordt gebruikt om de plasmatelevisie aan een verticale muur te hangen. U mag
de plasmatelevisie uitsluitend aan een verticale muur hangen.
♦ Om een correcte werking te verkrijgen en storingen te voorkomen, mag u de plasmatelevisie niet op een van
de volgende plaatsen ophangen.
• In de buurt van sprinklerinstallaties of rookmelders.
• Op plaatsen waar de apparatuur staat blootgesteld aan trillingen of schokken.
• In de buurt van hoogspanningskabels of dynamische stroombronnen.
• In de buurt van bronnen die magnetische stralen, hitte, waterdamp of roet afgeven.
• Op plaatsen die blootgesteld staan aan de warme lucht die door verwarmingsapparatuur wordt afgegeven.
• Op plaatsen waar zich condensdruppels van een airconditioner of ander apparaat kunnen vormen.
♦ Gebruik de juiste montagematerialen en werkwijzen om de plasmatelevisie te bevestigen.
♦ Gebruik in de handel verkrijgbare schroeven met een nominale diameter van 6 mm, die geschikt zijn voor het
wandmateriaal (hout, stalen frame, beton, enz.) waarop u de steun monteert.
♦
Gebruik een gemakkelijk bereikbaar stopcontact voor het aansluiten van het netsnoer van de plasmatelevisie.
♦ Zorg voor een goede luchtcirculatie zodat de omgevingstemperatuur niet hoger wordt dan
40 °C. Indien dit wel gebeurt, kunnen de inwendige onderdelen te heet worden met een defect tot gevolg.
♦ Leg een zachte deken of doek op de vloer zodat de plasmatelevisie en vloer niet worden beschadigd tijdens
het monteren en opstellen.
♦
Let er bij het vastdraaien van de schroeven en bouten op dat deze niet te los, maar ook niet te strak worden aangedraaid.
♦ Neem afdoende maatregelen om een veilige werkomgeving rondom u te creëren voor het uitvoeren van de
montage- en installatiewerkzaamheden, en om u vrij te kunnen bewegen tijdens deze werkzaamheden.
♦
Installeer de plasmatelevisie niet onder plafondlampen (spotlights, halogeenlampen, enzovoort) die veel warmte afgeven.
De kunststof onderdelen van de behuizing kunnen anders vervormen of beschadigd raken.
15

[ Gebruik alleen de aangegeven
Montageprocedure
installatiemethoden.]
1. De muurbevestigingssteun
monteren
Binnenste: 46-inch model
Buitenste: 50- of 54-inch
1. Verwijder de schroeven voor het
model
vastzetten van de linker en rechter
Schroef voor het bevestigen
steunprofielen.
van het steunprofiel
2. Leg het boven- en onderprofiel en het
Boven- en onderprofiel
linker- en rechtersteunprofiel en neer
zoals in de afbeelding.
Linkersteunprofiel
3. Pas de uitsteeksels (lipjes) van de linker en
Nederlands
rechter steunprofielen in de uitsparingen
van het bovenste steunprofiel en maak de
profielen vast met twee schroeven voor
de steunmontage.
(Schroefkracht: 1,2 – 1,5 N•m)
4. Buig de linker en rechter steunprofielen
aan de onderkant ietwat uiteen om de
Lipje
uitsteeksels (lipjes) in de uitsparingen van
het onderste steunprofiel te passen en
Uitsparing
maak de profielen vast met twee schroeven
voor de steunmontage.
Rechtersteunprofiel
M5x10-
(Schroefkracht: 1,2 – 1,5 N•m)
steunmontageschroeven
Boven- en onderprofiel
5. Nu kunt u de schroeven voor het
vastzetten van de linker en rechter
steunprofielen, die u in stap 1 losgemaakt
hebt, weer vastdraaien.
Opmerking
• Houd het linker- en rechtersteunprofiel vast als
u met de gemonteerde muurbevestigingssteun
werkt. Als u het boven- en onderprofiel
vasthoudt, kan deze eenheid vervormd raken.
Eenheid: mm
2. De sterkte van de bevestigingspunten
600
44080 80
controleren
1. De muurbevestigingssteun weegt ongeveer 2,3 kg.
Kijk in de bedieningshandleiding bij het plasmascherm hoe
zwaar het scherm is dat u wilt bevestigen aan de steun.
2. Bekijk de schematische tekening van de
muurbevestigingssteun (rechts) en controleer de sterkte van
de muur op de zes aangegeven bevestigingspunten. Als de
muur niet sterk genoeg is op een van deze punten, moet de
muur worden versterkt.
Opmerkingen
• Aan de boven- en onderkant van de muurbevestigingssteun
59.5 17.5325
bevinden zich twee maal vijf voorgeboorde bevestigingsgaten.
Gebruik de extra gaten als de muur is gemaakt van hout of ander
materiaal dat wellicht onvoldoende sterk is voor bevestiging van
Muurbevestigingsgaten (op zes plaatsen)
de steun aan de zes punten die u rechts ziet.
Gebruik alle schroeven om de steun goed te
Houd er echter rekening mee dat bij sommige muren, afhankelijk
van het materiaal van de muur, barsten kunnen optreden als de
bevestigen.
schroeven te dicht bij elkaar worden aangebracht.
• Bevestig of plaats alleen een plasmascherm en geen ander
product op de steun.
• Raadpleeg de schematische tekening op zie de achterpagina voor
de precieze bevestigingspunten van het plasmascherm.
16

3. De muurbevestigingssteun bevestigen
aan de muur
Opmerkingen
In het geval van het 46-inch model moet
• Soms is het noodzakelijk bouten of moeren in de muur aan te
u zorgen dat de schroeven en bouten
brengen voordat u de muurbevestigingssteun kunt bevestigen,
niet verder uitsteken dan 5 mm.
bijvoorbeeld omdat de muur van beton is. Bepaal dan waar deze
moeten komen door de steun tegen de muur te houden of bereken
de plaats op basis van de schematische tekening. Zet vervolgens
de bouten of moeren met een nominale diameter van 6 mm (of
gelijkwaardig) in de muur vast.
Zet bouten zo in de muur vast dat zij 10 tot 15 mm uitsteken.
Nederlands
In het geval van het 46-inch model moet u zorgen dat de
schroeven en bouten in de middelste openingen van de
boven- en onderprofielen (3 schroefgaten in elk profiel) aan de
muurkant niet verder uitsteken dan 5 mm.
• Gebruik voor bevestiging van de steun aan de muur bouten met
een nominale diameter van 6 mm (of gelijkwaardig), verkrijgbaar
bij een ijzerwinkel. Gebruik alleen bouten die geschikt zijn voor het
materiaal waarvan de muur is gemaakt.
• Zet de bouten op minimaal zes punten vast.
1. Bevestig de muurbevestigingssteun zodanig dat de pijlen op
de steun omhoog wijzen.
2. Draai eerst de schroef in het gat midden bovenin vast .
3. Gebruik een waterpas om ervoor te zorgen dat de steun niet
schuin hangt en bevestig vervolgens de schroeven in de
andere vijf gaten.
Pijlen
4. Om een richtlijn te hebben voor het aanbrengen van de
Eenheid: mm
plasma-TV plakt u de twee plaatsingsetiketten op de wand
(Voorbeeld om te tonen waar de
in de plaatsen die in de afbeelding rechts staan aangegeven.
etiketten worden geplakt bij het 54-inch model)
Zie voor de juiste plaatsing (één links en één rechts) ook de
Plaatsingsetiketten
Plaatsingsetiketten
overzichtstekeningen (Zie de achterpagina).
a: 414a: 414
• De plaatsingsetiketten moeten worden aangebracht op een
(80)
hoogte van 80 mm boven het plasma-TV-scherm.
b: 345
5. Maak de lange bout voor vastzetten van het toestel losjes
vast (draai de bout 2 of 3 slagen aan) in het schroefgat
onderaan de rechterkant van het rechter steunprofiel .
Opmerking
Lange bout voor vastzetten
• Wanneer u alleen het beeldscherm van het 46-inch model wilt
van het toestel
gebruiken, zal de lange bout voor vastzetten van het toestel
zichtbaar zijn vanaf de rechterkant. Als u dat hinderlijk vindt op de
gekozen installatieplaats of om andere redenen, gebruikt u dan in
plaats hiervan de schroef om het toestel losjes te bevestigen.
Gebruik in dat geval een lange (tenminste 40 cm lange)
kruiskopschroevendraaier.
17

Montageprocedure
4. De isolatiebussen bevestigen aan de
beeldschermeenheid
1. Verwijder het bovenstuk van de buitenste kartonnen doos van de
plasma-TV en trek de beschermende plastic zak omlaag. Houd de
plasma-TV aan de voorkant tegen, opdat deze niet omvalt.
2. Open het accessoirepaneel.
Accessoirepaneel
Neem de installatiestandaard, de accessoiredoos en de luidsprekerbox
uit de buitenste kartonnen doos.
Nederlands
3. Verwijder de vier doppen van de beeldschermeenheid met een
Beschermdopje
kruiskopschroevendraaier.
Kruiskopschroevendra aier
Opmerking
• Bewaar de installatiestandaard en ook de verwijderde doppen op een veilige
Beschermdopje
plaats.
4. Bevestig met de bijgeleverde inbussleutel de 4 inbusbouten met plat
verzonken kop , de 4 getande borgringen en de 4 isolatiebussen
die zijn bijgeleverd, op de plaatsen waar de doppen waren bevestigd,
zoals getoond in de afbeelding rechts.
(Schroefkracht: 3 - 4 N•m)
• Als de isolatiebussen niet worden bevestigd tijdens het installatiewerk,
zou het scherm beschadigd kunnen worden.
5. Sluit nu op de beeldschermeenheid de HDMI-kabel aan (de bijgeleverde
kabel of één die u apart hebt aangeschaft).
Gebruik een HDMI-kabel met een lengte die geschikt is voor de afstand
waarop u de afstemeenheid wilt installeren.
Opmerkingen
• Nadere aanwijzingen voor het aanbrengen van de luidsprekers en de andere
onderdelen die bij de plasma-TV horen en voor het aansluiten van de HDMI-
kabel vindt u in de handleiding van de plasma-TV.
• Als u een volledig draadloze Hi-Vision eenheid wilt gebruiken, volgt u dan de
aanwijzingen in de handleiding daarvan.
18

Uitsparing boven
5. Het beeldscherm ophangen
en vastmaken aan de
Isolatiebus boven
muurbevestigingssteun
1. Breng de bovenkant van de beeldschermeenheid links en rechts
2.
op de juiste hoogte met de plaatsingsetiketten die u aan de
wand hebt geplakt.
Gat onder
2. Haak de isolatiebussen aan de bovenkant van de
beeldschermeenheid in de uitsparingen bovenin de
muurbevestigingssteun en laat ze langzaam op hun plaats
zakken.
Muur
Muur
Nederlands
3. Til de beeldschermeenheid iets omhoog en schuif de onderste
isolatiebussen in de openingen aan de onderkant van de
muurbevestigingssteun en trek dan de beeldschermeenheid
recht omlaag op zijn plaats.
3.
LET OP
Isolatiebus onder
• Als u het plasmascherm te ver optilt, raakt de bovenkant los van de
muurbevestigingssteun.
4. Draai de lange bout voor vastzetten van het toestel, die u
in stap 5 van deel 3 losjes had aangedraaid, nu helemaal vast
totdat deze stevig vast zit.
Opmerking
• Als u de lange bout voor vastzetten van het toestel of
de bevestigingsschroef al te stevig vastdraait, kan de
muurbevestigingssteun daardoor verwrongen raken.
5. Til de beeldschermeenheid een eindje op en controleer of het
stevig vast zit.
4. Lange bout voor vastzetten van het
toestel
6. Sluit de HDMI-kabel aan op de afstemeenheid.
Het plasmascherm verwijderen van de
4.
muurbevestigingssteun
1. Leg een wollen deken of een zachte doek onder de plasma-TV.
Verwijder de lange bout voor vastzetten van het toestel of de
bevestigingsschroef die is aangebracht aan de zijkant van de
muurbevestigingseenheid.
Opmerking
Muur
Muur
• Anders zou de lange bout voor vastzetten van het toestel of de
schroef voor vastzetten van het toestel kunnen vallen en sporen
kunnen achterlaten op uw vloeroppervlak.
Lange bout voor
2. Maak de snoeren los waarmee de plasma-TV is aangesloten op de
vastzetten van
andere apparatuur.
het toestel
3.
3. Til het onderste deel van het plasmascherm op en trek het scherm
Deken of zachte
Isolatiebus onder
naar u toe.
doek
4. Til het plasmascherm recht omhoog zodra de onderste
Vloeroppervlak
isolatiebussen vrij zijn.
5. Wanneer u de plasma-TV verwijderd hebt van de
muurbevestigingssteun dient u het toestel steeds zorgvuldig
rechtop te houden, zodat er geen druk wordt uitgeoefend op het
voor- of achterpaneel.
19

Precauzioni di sicurezza
Attenzione
Accertarsi che il luogo di installazione sia sufficientemente robusto da sopportare l’utilizzo a lungo termine
• Se esso si indebolisce nel corso dell’utilizzo a lungo termine, l’apparecchio potrebbe cadere causando un
infortunio.
Le operazioni di montaggio e il collegamento di ulteriori apparecchi per l’espansione del sistema non
devono mai essere effettuate da persone che non siano tecnici adeguatamente qualificati.
• Un montaggio non corretto può comportare la caduta dell’apparecchio, con conseguenti possibili lesioni personali.
Nel calcolo della forza del luogo prescelto per il montaggio tener sempre conto di un fattore di sicurezza aggiuntivo.
• In caso di forza insufficiente l’apparecchio potrebbe cadere, con conseguenti possibili lesioni personali.
Non procedere al montaggio in un luogo che non sia in grado di sostenere il peso dell’apparecchio.
• Se il luogo di montaggio non è sufficientemente robusto, l’apparecchio può cadere.
Non smontare o modificare la staffa per montaggio alla parete.
• L’unità potrebbe altrimenti cadere danneggiandosi, e potrebbe causare incidenti alle persone.
Avvertenza
Non montare l’apparecchio in luoghi esposti a umidità, polvere, fumo, vapore o eccessivo calore.
Italiano
•
Tali condizioni possono influenzare negativamente il televisore al plasma o addirittura causare incendi o folgorazioni.
Non utilizzare televisori diversi da quelli indicati nel catalogo.
•
In caso contrario l’apparecchio può cadere, con conseguenti possibili danni all’apparecchio stesso e lesioni alle persone.
Il lavoro di montaggio o smontaggio del televisore al plasma deve essere effettuato da almeno due persone.
• Il televisore al plasma è molto pesante e una sua eventuale caduta può causare lesioni personali.
Non montare l’apparecchio rivolto verso l’alto, inclinato, o al contrario.
• Tali posizioni possono causare un eccessivo aumento di calore all’interno del televisore al plasma, con
conseguenti possibili principi di incendi.
Lasciare intorno al televisore al plasma uno spazio di almeno 10 cm sopra, di almeno 10 cm sulla sinistra,
di almeno 15 cm sulla destra e di almeno 10 cm sotto. Accertarsi che non ci siano ostruzioni tra la parte
posteriore del televisore al plasma e la parete.
• Sul televisore al plasma sono ubicate delle aperture di espulsione dell’aria calda sul lato superiore e di aspirazione
dell’aria circostante sul lato inferiore e sul retro.
Installare il televisore al plasma procedendo soltanto con i passi specificati in queste istruzioni. Non
installarlo in alcun altro modo.
• L’unità potrebbe altrimenti cadere danneggiandosi, e potrebbe causare incidenti alle persone.
Installare le viti di montaggio e il cavo di alimentazione in modo che non facciano contatto con le parti
interne della parete.
• Il contatto con un qualsiasi oggetto metallico all’interno della parete potrebbe causare scosse elettriche.
Per l’installazione, usare le parti costituenti di uso speciale.
• In caso contrario, il televisore al plasma potrebbe cadere dalla parete causando possibili incidenti.
Rimuovere il prodotto che non si ha più intenzione di usare.
• In caso contrario, potrebbe cadere e causare un incidente.
Trattamento e manipolazione
1) Scegliere con attenzione il luogo in cui si intende montare il televisore, perché una diretta esposizione
ai raggi solari può causare lo scolorimento della superficie del televisore, mentre il calore che emana da
apparecchi di riscaldamento comporta la possibile deformazione della cassa del televisore.
2)
Pulire la staffa di montaggio su parete con un panno morbido e asciutto (di cotone o flanella). Se la staffa è molto sporca,
togliere lo sporco con un detersivo neutro diluito con acqua, e asciugare poi con un panno asciutto. Non si devono usare
benzolo, solventi o cera per mobili, perché potrebbero rovinare la vernice di rivestimento. (Per le informazioni sul modo
di pulire lo schermo, vedere il manuale di istruzioni dello schermo. Se si usa un panno trattato chimicamente, seguire le
istruzioni che lo accompagnano.)
3)
Non applicare nastri adesivi o etichette al televisore. Tali prodotti possono causare delle macchie sulla superficie
della staffa di montaggio, o sulla superficie del dispositivo di copertura dei cavi per l’installazione alla parete. Evitare
il contatto per lunghi periodi di tempo con la gomma, prodotti di vinile o simili. (Ciò causa un deterioramento.)
4) Prestare attenzione durante l’installazione perché le scosse possono causare ‘fessure al pannello’ del
televisore al plasma.
Attenzione:
Questa staffa è progettata soltanto per i televisori al plasma Panasonic (vedere la copertina posteriore).
L’uso con altri apparecchi potrebbe provocare instabilità ed eventuali lesioni personali.
È NECESSARIA L’INSTALLAZIONE PROFESSIONALE.
PANASONIC NON È RESPONSABILE PER QUALSIASI DANNO DI PROPRIETÀ E/O GRAVE INFORTUNIO,
COMPRESA LA MORTE, CAUSATI DALL’INSTALLAZIONE SBAGLIATA O DAL MANEGGIAMENTO SCORRETTO.
20

[ Le immagini mostrate in questo manuale sono soltanto a
Parti
scopo illustrativo.]
TY-WK5P1SW
Staffa di montaggio alla parete (tipo per montaggio verticale)
Parti usate per l’assemblaggio della staffa di montaggio su parete
Raccordi superiore e
Raccordo sinistro base
Raccordo destro base
Viti M5x10 di
inferiore base (2)
staffa
(1)
staffa (1)
assemblaggio
attrezzatura (4)
Parti usate per l’installazione
Veduta dell’attrezzatura interamente
Viti esagonali a testa
Autoadesivi di posizionamento (2)
montata
conica M8×24 (4)
Italiano
Rondelle dentate concave (4)
Bullone lungo di fissaggio unità (1)
Vite M6 x 50 di fissaggio unità (1)
Distanziatori isolanti (4)
Chiave per brugole
(attrezzo in dotazione) (1)
Tenere presente quanto segue prima di procedere con l’installazione:
♦ L’unità del televisore al plasma che va attaccata alla staffa di montaggio su parete è composta
dall’unità del display, dall’unità del sintonizzatore e dagli altoparlanti.
Precauzioni per il montaggio della staffa alla parete
♦ La staffa per il montaggio alla parete serve ad applicare il televisore al plasma ad una parete verticale per
facilitarne la visione. Non montare l’apparecchio su pareti che non siano verticali.
♦ Per garantire un corretto funzionamento del televisore al plasma e prevenire possibili complicazioni, evitare
di montare l’apparecchio nei luoghi seguenti:
• nelle vicinanze di polverizzatori di acqua antincendio, o di rivelatori di fumo;
• in luoghi che possano trovarsi sottoposti a vibrazioni o urti;
• nelle vicinanze di cavi ad alta tensione o di dispositivi che forniscono energia elettrica;
• vicino a sorgenti magnetiche, calde, di vapore acqueo o fuligginose;
• in luoghi esposti a getti d’aria provenienti da apparecchi di riscaldamento;
• dove si potrebbero formare gocce di condensa da un climatizzatore o altra unità.
♦ Procedere al montaggio usando le opportune tecniche adatte alla struttura ed al materiale della parete sulla
quale si effettua il montaggio.
♦ Per il montaggio della staffa alla parete, usare viti di con un diametro nominale di 6 mm, disponibili in
commercio e adatte al materiale della parete (legno, struttura in acciaio, cemento, ecc.).
♦ Collegare il cavo di alimentazione del televisore al plasma ad una presa di corrente alternata di rete
facilmente accessibile.
♦ Fornire una ventilazione adeguata, in modo che la temperatura dell’ambiente nel quale si trova ubicato
l’apparecchio non superi i 40 °C. In caso contrario l’interno dell’apparecchio potrebbe surriscaldarsi, con
conseguenti possibili disfunzioni.
♦ Stendere una coperta o panno morbidi sul pavimento in modo che il televisore al plasma e il pavimento non
rimangano segnati o graffiati durante il lavoro di montaggio e di installazione.
♦ Avvitando le parti, accertarsi che le viti non siano insufficientemente strette o strette eccessivamente.
♦ Fare attenzione alla sicurezza intorno quando si esegue il lavoro di montaggio e di installazione, o
spostandosi durante il lavoro.
♦ Non installare il televisore al plasma sotto le lampade del soffitto (faretti, lampade alogene, ecc.). In caso
contrario, il suo mobile potrebbe essere deformato o danneggiato dal calore.
21

[ Non si deve usare alcun altro metodo
Procedura di montaggio
diverso da quello specificato.]
1. Assemblaggio della staffa di
montaggio su parete
Interno: Modello di 46 pollici
Esterno: Modello di 50 o 54
1. Togliere le viti di fissaggio degli accessori
pollici
sinistro e destro della base staffa.
Vite di fissaggio
accessorio base staffa
2. Disporre i raccordi superiore e inferiore
della base e i raccordi sinistro e destro
Raccordi superiore e
e della base staffa come mostrato
inferiore base
nella illustrazione.
Raccordo sinistro base
staffa
3. Inserire le appendici degli accessori destro
e sinistro della base staffa negli intagli degli
accessori superiore e inferiore della base
staffa sopra, e fissarli usando le due viti
usate per assemblare la staffa.
(Coppia di serraggio: da 1,2 a 1,5 N•m)
Italiano
4. Aprire leggermente la parte inferiore degli
accessori destro e sinistro della base
Appendice
staffa, inserire le loro appendici negli intagli
degli accessori superiore e inferiore della
Intaglio
base e fissarli usando le due viti usate
per assemblare la staffa.
Raccordo destro
Viti M5x10 di assemblaggio
(Coppia di serraggio: da 1,2 a 1,5 N•m)
base staffa
attrezzatura
Raccordi superiore e
5. Stringere le viti di fissaggio degli accessori
inferiore base
sinistro e destro della base staffa che
sono state allentate al passo 1.
Nota
• Durante il lavoro con la staffa di montaggio su
parete montata, prenderla per gli accessori
destro e sinistro della base staffa. Se la si
prende per gli accessori superiore e inferiore
della base, si potrebbe deformare questa unità.
Unità: mm
2. Controllo della forza del luogo di
600
44080 80
installazione
1. La staffa di montaggio su parete pesa circa 2,3 kg.
Vedere il manuale di istruzioni dello schermo al plasma e
controllare il peso dello schermo al plasma da installare
sulla staffa di montaggio su parete.
2. Vedere il disegno del profilo della staffa di montaggio su
parete mostrato a destra e controllare la forza della parete
sulle sei posizioni di installazione mostrate. Se la forza in
una qualsiasi di queste posizioni è insufficiente, provvedere
un rinforzo sufficiente.
Note
59.5 17.5325
•
Ci sono cinque fori di montaggio sulla parte superiore e altri cinque
sulla parte inferiore della staffa di montaggio su parete.
Usare i fori di riserva forniti se per la parete viene usato legno o altro
Fori di montaggio su parete
(usare almeno 6 punti di attacco)
materiale e non si può assicurare un livello sufficiente di forza di
montaggio fissando l’attrezzatura sulle sei posizioni mostrate a destra.
Bisogna assolutamente usare le viti per
Tenere però presente che, a seconda del materiale che compone
fissare l’attrezzatura.
la superficie di montaggio, su di essa si potrebbero formare delle
crepe se si usano le viti su posizioni che sono troppo vicine tra di
loro.
• Montare o sistemare soltanto uno schermo al plasma
sull’attrezzatura. Non montare o sistemare alcun altro prodotto.
• Per i dettagli sulle dimensioni applicabili quando si monta lo
schermo al plasma, vedere il disegno del profilo (vedere la
copertina posteriore).
22

3. Installazione sulla parete della staffa di
montaggio su parete
Note
Nel caso del modello di 46 pollici,
•
Se prima dell’installazione della staffa di montaggio su parete
limitare a 5 mm la sporgenza delle
è necessario incorporare bulloni o dadi perché la parete è, per
viti e dei bulloni.
esempio, di cemento, determinare la posizione dei fori mettendo in
posizione sulla parete l’attrezzatura di montaggio su parete, oppure
calcolare la posizione dei fori dal disegno del profilo, e incorporare
poi i bulloni e i dadi con un diametro nominale di 6 mm o equivalente.
Quando si incorporano i bulloni, accertarsi che la loro testa sporga
di 10 o 15 mm dalla superficie della parete.
Nel caso del modello di 46 pollici, limitare a 5 mm la sporgenza dalla
parete delle viti e dei bulloni usati nei fori centrali degli accessori
superiore e inferiore della base (3 fori su ciascun accessorio).
• Per l’installazione sulla parete della staffa di montaggio su parete,
usare viti con un diametro nominale di 6 mm o equivalente,
Italiano
da acquistare in un negozio di ferramenta, adatte al materiale
dell’area di installazione sulla parete.
• Fissare le viti in almeno sei posizioni.
1. Installare la staffa di montaggio su parete in modo che le
frecce indicate su di essa siano rivolte in alto.
2. Fissare prima di tutto la vite del foro centrale .
3. Usare una livella per accertarsi che l’attrezzatura non sia
inclinata su di un lato, e fissare poi le viti nei cinque fori
restanti.
Frecce
4. Per fornire una guida per attaccare l’unità del televisore al
Unità: mm
plasma, incollare i due autoadesivi di posizionamento alla
(Esempio che mostra dove sono
parete sugli stessi punti mostrati nella illustrazione a destra.
attaccati gli autoadesivi sul modello di 54 pollici)
Per le posizioni di attacco (uno a sinistra e uno a destra),
vedere i disegni del profilo (vedere la copertina posteriore).
Autoadesivi di
Autoadesivi di
• Gli autoadesivi di posizionamento vanno attaccati sulle posizioni
posizionamento
posizionamento
a: 414a: 414
che sono 80 cm sopra l’unità del televisore al plasma.
(80)
b: 345
5. Montare in modo allentato il bullone lungo di fissaggio
dell’unità (ruotando il bullone di 2 o 3 giri) nel foro della
vite situato sotto il lato destro dell'accessorio destro della
base staffa.
Nota
Bullone lungo di fissaggio unità
• Se si usa soltanto l’unità del display del modello di 46 pollici, il
bullone lungo di fissaggio dell’unità diventa visibile dal lato
destro. Se le condizioni di installazione o altri fattori sono tali che
il bullone non è visibile, usare invece la vite di fissaggio dell’unità
per fissare allentatamente l’unità. In tal caso, usare un lungo
cacciavite a croce (di almeno 40 cm di lunghezza).
23

Procedura di montaggio
4. Modo di attaccare i distanziatori isolanti
all’unità del display
1. Rimuovere la parte superiore della scatola di cartone esterna usata per
l’unità del televisore al plasma, e tirare giù la copertura di protezione.
Mettere un supporto davanti per assicurare che l’unità del televisore al
plasma non si rovesci.
2. Aprire l’imbottitura accessoria.
Imbottitura accessoria
Rimuovere il supporto di installazione, la scatola accessori e la scatola
diffusori dalla scatola di cartone esterna.
Italiano
3. Togliere i quattro tappi dell’unità del display usando un cacciavite a
Tappo
croce.
Cacciavite a croce
Nota
• Conservare in un luogo sicuro il supporto di installazione e anche i tappi
Tappo
rimossi.
4. Usare la chiave per brugole in dotazione per montare le 4 viti
esagonali a testa conica , 4 rondelle dentate concave e 4
distanziatori isolanti in dotazione dove erano attaccati i tappi, come
mostrato nella illustrazione a destra.
(Coppia di serraggio: da 3 a 4 N•m)
• Se durante il lavoro di assemblaggio non si attaccano i distanziatori isolanti
, si potrebbe danneggiare l’unità del display.
5. Collegare all’unità del display il cavo HDMI (quello in dotazione o uno
acquistato separatamente).
Il cavo HDMI deve avere una lunghezza appropriata alla distanza dove
va installata l’unità del sintonizzatore.
Note
• Per i dettagli sul modo di attaccare gli altoparlanti e altre parti imballate con
l’unità del televisore al plasma e di collegare il cavo HDMI, vedere le istruzioni
per l’uso dell’unità del televisore al plasma.
• Se si usa una unità Hi-Vision completamente senza cavi, seguire le sue
istruzioni per l'uso.
24

Intaglio sulla parte superiore
5. Modo di attaccare e di fissare l’unità del
display alla staffa di montaggio su parete
Distanziatore isolante sulla
1. Usando gli autoadesivi di posizionamento attaccati alla parete
parte superiore
come guida, allineare la parte superiore dell’unità del display a
destra e a sinistra.
2.
2. Inserire i distanziatori isolanti sulla parte superiore dell’unità del
Foro sulla
display negli intagli sulla parte superiore dell’unità della staffa, e
parte inferiore
abbassarli lentamente in posizione.
3. Sollevando leggermente l’unità del display, inserire i
distanziatori isolanti inferiori nei fori sulla parte inferiore della
staffa di montaggio su parete, e tirare poi giù diritta in posizione
l’unità del display.
Superficie della parete
Superficie della parete
PRECAUZIONE
3.
• Se si solleva troppo lo schermo al plasma, la sua parte superiore si
Italiano
stacca dalla staffa di montaggio su parete.
Distanziatore isolante sulla parte inferiore
4. Stringere il bullone lungo di fissaggio dell’unità , che era stato
montato in modo allentato al passo 5 della sezione 3, finché non
può girare ulteriormente.
Nota
• Se si stringe eccessivamente il bullone lungo di fissaggio dell’unità
o la vite di fissaggio dell’unità si potrebbe curvare la staffa
deformandola.
5. Sollevare leggermente l’unità del display e accertarsi che sia
fissata saldamente in posizione.
4. Bullone lungo di fissaggio unità
6. Collegare il cavo HDMI all’unità del sintonizzatore.
Modo di rimuovere lo schermo al plasma
4.
dalla staffa di montaggio su parete
1. Mettere una coperta o un panno sotto l’unità del televisore al
plasma.
Rimuovere il bullone lungo di fissaggio dell’unità o la vite di
fissaggio dell’unità attaccata sul fianco della staffa di montaggio
su parete.
Nota
• In caso contrario, il bullone lungo di fissaggio unità o la vite di
fissaggio unità potrebbero cadere per sbaglio, lasciando dei segni
Superficie della parete
Superficie della parete
sulla superficie del pavimento.
Bullone lungo di
2. Staccare i cavi che collegano il televisore al plasma alle altre unità.
fissaggio unità
3.
3. Sollevare la parte inferiore dello schermo al plasma e tirare lo
Distanziatore isolante
schermo al plasma verso di sè.
Coperta o panno
sulla parte inferiore
4. Quando i distanziatori isolanti sulla parte inferiore sono rilasciati,
Superficie pavimento
sollevare su diritto lo schermo al plasma.
5. Accertarsi che l’unità del televisore al plasma, che è stata ora
rimossa dalla staffa di montaggio su parete, venga mantenuta
diritta mentre è maneggiata, in modo che il suo pannello anteriore o
posteriore non subisca pressioni.
25

Précautions de sécurité
Avertissement
Assurez-vous que l’emplacement d’installation est assez résistant pour supporter une utilisation à long terme.
• Si sa force devient insuffisante suite à une utilisation à long terme, l’écran risque de tomber, ce qui pourrait
entraîner des blessures.
Les opérations de montage et de raccordement ne doivent être réalisés que par un technicien d’installation
compétent.
• Un montage incorrect peut provoquer la chute de l’appareil et partant une blessure.
Prenez une marge de sécurité lorsque vous évaluez la solidité de l’emplacement où l’appareil doit être
monté.
• Si la solidité est insuffisante, l’appareil peut tomber et provoquer une blessure.
Ne choisissez pas un emplacement d’installation qui ne soit pas à même de supporter la charge.
• Si l’emplacement d’installation n’est pas assez solide, l’appareil peut tomber.
Ne démontez pas ni ne modifiez l’applique de fixation au mur.
• Sinon, l’écran pourrait se décrocher du mur, ce qui pourrait causer des blessures.
Précaution
Ne choisissez pas un emplacement d’installation qui soit soumis à l’humidité, à la poussière, à la fumée, à
la vapeur, à la chaleur.
• Cela pourrait avoir un effet néfaste sur le téléviseur à plasma et être à l’origine d’un incendie ou d’une secousse
électrique.
N’utilisez pas d’autres téléviseurs que ceux mentionnés dans le catalogue.
• Sinon, l’appareil pourrait se décrocher et être abîmé, ce qui pourrait causer des blessures.
Français
Les opérations de pose et de dépose du téléviseur à plasma doivent être réalisées par au moins deux personnes.
• Dans le cas contraire, le téléviseur à plasma pourrait tomber et provoquer une blessure.
Ne montez pas l’appareil face tournée vers le haut, sur le côté ou à l’envers.
• Dans ces positions, la chaleur pourrait s’accummuler à l’intérieur du téléviseur à plasma, ce qui pourrait être à
l’origine d’un incendie.
Laissez un espace libre autour du téléviseur plasma d’au moins 10 cm au-dessus, 10 cm à gauche, 15 cm à
droite et 10 cm au-dessous. Assurez-vous que rien ne bloque l’espace entre l’arrière du téléviseur plasma et
le mur derrière celui-ci.
•
Le téléviseur à plasma possède des ouïes pour l’évacuation de la chaleur à la partie supérieure et d’autres ouïes pour
l’entrée d’air à la partie inférieure et à l’arrière. Ne les obstruez pas car cela pourrait être à l’origine d’un incendie.
Installez le téléviseur à plasma en suivant uniquement les étapes indiquées dans ces instructions : ne
l’installez pas d’une autre façon.
• Sinon, l’écran pourrait se décrocher du mur, ce qui pourrait causer des blessures.
Installez les vis de montage et le cordon d’alimentation de telle façon qu’ils n’entrent pas en contact avec
les parties internes du mur.
• Une électrocution pourrait résulter du contact avec des objets métalliques dans le mur.
Pour l’installation, utilisez les composants spécialisés.
• Sinon, le téléviseur à plasma pourrait se décrocher du mur, ce qui pourrait causer des blessures.
Retirez le produit si vous prévoyez ne plus l’utiliser.
• Autrement le produit risque de tomber et de causer des blessures.
Précautions d’installation
1) Choisissez l’emplacement d’installation du téléviseur de sorte qu’il ne soit pas exposé à la lumière vive ni à
la chaleur car cela peut le décolorer ou le déformer, en particulier dans le cas de la lumière du soleil ou de la
chaleur d’un appareil de chauffage.
2)
Nettoyez l’applique de suspension au mur en l’essuyant avec un chiffon doux et sec (en coton ou en flanelle, par
exemple.) Si l’applique est très sale, frottez-la avec un détergent neutre dilué dans l’eau, puis essuyez-la avec un chiffon
sec. N’utilisez pas de benzène, diluant ou cire pour meuble sous peine d’écailler le revêtement.
(Pour en savoir plus sur le nettoyage de l’écran, voir le mode d’emploi de l’écran. Si vous utilisez un chiffon traité
chimiquement, suivez les instructions qui l’accompagnent.)
3) Ne posez aucun ruban adhésif ni aucun autocollant sur l’appareil. L’un comme l’autre peuvent tacher
l’applique de fixation au mur. Évitez le contact prolongé avec des produits de caoutchouc, de vinyle, etc. (Cela
peut abîmer le support.)
4) Procédez avec précaution pendant l’installation, car des chocs pourraient faire ‘fissurer le panneau’ du
téléviseur à plasma.
Attention :
Cette applique est conçue exclusivement pour les modèles de téléviseur à écran plasma Panasonic (voir la
couverture de dos).
Utilisée avec un autre appareil, elle peut se révéler tout à fait inappropriée et être la cause indirecte de blessures.
L’INSTALLATION PAR UN PROFESSIONNEL EST INDISPENSABLE.
PANASONIC DECLINE TOUT DOMMAGE MATERIEL ET/OU BLESSURE GRAVE, Y COMPRIS LA MORT
RESULTANT D’UNE INSTALLATION OU D’UNE MANIPULATION INCORRECTE.
26

[ Les images du présent manuel ne sont présentées qu’à
Pièces
titre d’illustration.]
TY-WK5P1SW
Applique de fixation au mur (type pour montage vertical)
Pièces utilisées pour monter l’applique de fixation au mur
Fixations supérieure et
Fixation gauche de la
Fixation droite de la base
Vis M5x10 pour le
inférieure de la base (2)
base de l’applique (1)
de l’applique (1)
montage du dispositif
de fixation
(4)
Pièces utilisées pour l’installation
Vue du dispositif de fixation entièrement
Vis M8×24 à tête fraisée à six
Autocollants de positionnement
(2)
monté
pans creux (4)
Rondelles cuvettes dentées
Long boulon de serrage de l’unité
(1)
(4)
Vis M6 x 50 de serrage de l’unité
(1)
Français
Rondelles isolantes (4)
Clé hexagonale (outil fourni) (1)
Veuillez noter ce qui suit avant de procéder à l’installation :
♦ Le téléviseur plasma à poser sur l’applique de fixation au mur comprend une unité d’affichage, un
tuner et des enceintes.
Précautions relatives à l’applique de fixation au mur
♦ L’applique de fixation au mur a été conçue pour maintenir un téléviseur à plasma contre un mur vertical. Ne
montez pas cette applique sur une surface autre qu’un mur vertical.
♦ Pour que le téléviseur à plasma fonctionne convenablement et éviter les anomalies, ne choisissez pas un
emplacement tel que ceux énumérés ci-dessous.
• Emplacement près de sprinklers ou de détecteurs de fumée ou d’incendie
• Emplacement exposé aux vibrations et aux chocs
• Emplacement proche d’un câble haute tension ou d’une alimentation dynamique
• À proximité de sources de magnétisme, de chaleur, de vapeur d’eau ou de suie
• Emplacement exposé au souffle d’air d’un appareil de chauffage
• Là où des gouttes de condensation d’un climatiseur ou autre appareil peuvent se former
♦ Monter l’appareil en utilisant une technique qui convient compte tenu de la structure et des matériaux de
l’emplacement.
♦ Utilisez des vis du commerce d’un diamètre nominal de 6 mm adaptées à la nature du matériau (bois,
structure en acier, béton, etc.) constituant le mur sur lequel doit être montée l’applique.
♦ Pour alimenter le téléviseur, choisissez une prise secteur qui soit aisément accessible.
♦ Veillez à ce que l’air puisse circuler librement de manière que la température de l’appareil en fonctionnement
ne dépasse pas 40 °C. Dans le cas contraire, l’augmentation de température pourrait provoquer une
anomalie de fonctionnement.
♦ Étendez une couverture ou un chiffon moelleux sur le sol de sorte que le téléviseur à plasma et le plancher
ne soient pas marqués ou égratignés pendant les travaux de montage et d’installation.
♦ Lors du vissage des pièces, veillez à serrer suffisamment les vis mais aussi à ne pas trop les serrer.
♦ Soyez attentif à votre sécurité lorsque vous procédez au montage et à l’installation ou lorsque vous vous
déplacez au cours de la tâche.
♦ Ne pas installer du téléviseur à plasma sous des lampes de plafond (projecteurs, lampes halogènes, etc.).
Autrement le boîtier risque d’être déformé ou endommagé par la chaleur intense.
27

[Ne jamais utiliser une autre méthode que celle
Mode de pose
spécifiée pour l’installation.]
1. Montage de l’applique de
fixation au mur
Intérieur : modèle 46 pouces
Extérieur : modèle 50 ou 54
1. Déposez les vis de serrage des fixations
pouces
gauche et droite de la base.
Vis de serrage de la
fixation de la base
2. Posez les fixations supérieure et inférieure
de la base et les fixations gauche et
Fixations supérieure et inférieure
droite de la base de l’applique et
de la base
conformément à l’illustration.
Fixation gauche de la
base de l’applique
3. Posez les onglets des fixations gauche
et droite de la base dans les entailles des
fixations supérieure et inférieure de la base
au-dessus, et fixez les pièces à l’aide des
deux vis de montage.
(Couple de serrage : 1,2 à 1,5 N•m)
4. Ouvrez légèrement le bas des fixations
gauche et droite de la base, fixez leurs
Onglet
onglets dans les entailles des fixations
supérieure et inférieure de la base, et
Encoche
fixez les pièces à l’aide des deux vis de
montage.
Fixation droite de la
Vis M5x10 pour le montage
Français
(Couple de serrage : 1,2 à 1,5 N•m)
base de l’applique
du dispositif de fixation
Fixations supérieure et
5. Serrez les vis de serrage des fixations
inférieure de la base
gauche et droite de la base desserrées
à l’étape 1.
Remarque
• Tenez les fixations gauche et droite de la base
pendant que vous manipulez l’applique murale.
L’applique risque de se déformer si vous tenez
la base par les fixations supérieure et inférieure.
Unité : mm
2. Vérification de la solidité de
600
44080 80
l’emplacement d’installation
1. L’applique de fixation au mur pèse environ 2,3 kg.
Consultez le mode d’emploi du téléviseur plasma pour
vérifier le poids de l’ensemble du téléviseur plasma qui sera
fixé à l’applique de fixation au mur.
2. Consultez le dessin d’encombrement de l’applique de
fixation au mur illustrée sur la droite et vérifiez la résistance
du mur aux six emplacements d’installation indiqués.
Appliquez un renfort approprié si la résistance n’est pas
suffisante à ces emplacements.
Remarques
59.5 17.5325
• Vous trouverez cinq orifices pour montage pré-percés en haut et
en bas de l’applique de fixation au mur.
Utilisez les orifices inutilisés si le mur est en bois ou dans un autre
Orifices pour montage mural (6 points)
matériel et qu’un niveau adéquat de résistance n’est pas garanti
Utilisez sans faute les vis pour assujettir le
en assujettissant le dispositif de fixation aux six emplacements
illustrés à droite.
dispositif de fixation.
Gardez, toutefois, à l’esprit que, selon le matériau de
l’emplacement de fixation, des fissures peuvent apparaître à
la surface si les vis sont utilisées à des emplacements trop
rapprochés les un des autres.
• N’installez ou ne posez qu’un téléviseur plasma sur le dispositif de
fixation : n’installez pas, ni ne posez un autre appareil.
• Pour en savoir plus sur les dimensions applicables lorsque le
téléviseur plasma est installé, consultez le dessin d’encombrement
(voir la couverture de dos).
28

3. Montage de l’applique de fixation
murale sur le mur
Remarques
Dans le cas du modèle 46 pouces,
•
S’il s’avère nécessaire d’enfoncer les boulons ou les écrous dans le mur
ne laissez pas dépasser les vis et
avant d’installer l’applique de fixation au mur car le mur est en béton, par
boulons de plus de 5 mm.
exemple, repérez les emplacements des orifices en plaçant le dispositif
de fixation murale sur le mur ou en calculant les emplacements des
orifices d’après le dessin d’encombrement, puis enfoncez les boulons ou
écrous avec un diamètre nominale de 6 mm ou équivalent.
Lorsque vous enfoncez les boulons, assurez-vous que leur tête
dépasse de 10 à 15 mm de la surface du mur.
Dans le cas du modèle 46 pouces, ne laissez pas dépasser du
mur de plus de 5 mm les vis et boulons utilisés dans les orifices
centraux des fixations supérieure et inférieure de la base (3
orifices dans chaque fixation).
• Pour installer l’applique de fixation murale sur le mur, utilisez
des vis avec un diamètre nominal de 6 mm ou équivalent en
vente dans une quincaillerie et convenant aux matériaux de
l’emplacement d’installation sur le mur.
• Serrez les vis sur au moins six emplacements.
1. Installez l’applique de fixation au mur de sorte que les
Français
repères fléchés soient tournés vers le haut.
2. Commencez par serrer la vis dans l’orifice central
supérieur.
3. Utilisez un niveau pour garantir que le dispositif de fixation
ne penche pas d’un côté, puis serrez les vis dans les cinq
Flèches
orifices restants.
4. En guise de guide pour fixer le téléviseur plasma, posez
Unité : mm
les deux autocollants de positionnement sur le mur
(Exemple des points d’adhésion des
aux points illustrés ci-contre à droite. Pour les positions
autocollants sur le modèle 54 pouces)
d’adhésion (une à gauche et une à droite), reportez-vous aux
Autocollants de
Autocollants de
dessins d’encombrement (voir la couverture de dos).
positionnement
positionnement
• Les autocollants de positionnement se collent à des positions
a: 414a: 414
situées 80 mm au-dessus du téléviseur plasma.
(80)
b: 345
5. Serrez légèrement le long boulon de serrage de l’unité (en
faisant faire 2 ou 3 tours au boulon) dans l’orifice fileté situé
sous le côté droit de la fixation droite de la base.
Remarque
Long boulon de serrage de l’unité
• Si seule l’unité d’affichage du modèle 46 pouces est utilisée, le
long boulon de serrage de l’unité sera visible du côté droit. Si le
boulon est inesthétique en raison des conditions d’installation ou
d’autres facteurs, utilisez plutôt la vis de serrage de l’unité pour
fixer l’unité légèrement. Dans ce cas, utilisez un long tournevis à
pointe cruciforme (au moins 40 cm de long).
29

Mode de pose
4. Fixation des rondelles isolantes sur l’unité
d’affichage
1. Déposez la partie supérieure du carton d’emballage extérieur utilisé
pour le téléviseur plasma, et tirez le sac de protection vers le bas.
Pour éviter que le téléviseur plasma ne bascule, assurez-lui un soutien
à l’avant.
2. Ouvrez la feuille de protection des accessoires.
Feuille de protection des accessoires
Retirez du carton d’emballage extérieur le support d’installation, la
boîte d’accessoires et la boîte de haut-parleurs.
3. Retirez les quatre capuchons de l’unité d’affichage à l’aide d’un
Capuchon
tournevis à pointe cruciforme.
Français
Tournevis cruciforme
Remarque
• Conservez dans un endroit sûr le support d’installation et les capuchons
Capuchon
déposés.
4. À l’aide de la clé hexagonale fournie, montez les 4 vis à tête fraisée
à six pans creux , les 4 rondelles cuvettes dentées et les 4
rondelles isolantes fournies, aux emplacements où se trouvaient les
capuchons, tel qu’illustré ci-contre à droite.
(Couple de serrage : 3 à 4 N•m)
• Si les rondelles isolantes ne sont pas fixées lors du montage, l’écran
risque de subir des dommages.
5. Connectez le câble HDMI (celui fourni ou un câble acheté séparément) à
l’unité d’affichage.
Utilisez un câble HDMI d’une longueur adéquate, selon la distance à
laquelle sera installé le tuner.
Remarques
• Pour plus de détails sur la façon de fixer les enceintes et autres pièces
emballées avec le téléviseur plasma, ainsi que sur la façon de connecter le
câble HDMI, reportez-vous au mode d’emploi du téléviseur plasma.
• Si vous devez utiliser un appareil sans fil “full Hi-Vision”, suivez les instructions
du mode d’emploi de l’appareil.
30

Encoche en haut
5. Pose et serrage de l’unité d’affichage sur
l’applique de fixation au mur
1. En vous guidant sur les autocollants de positionnement collés
Rondelle isolante en haut
sur le mur, alignez le dessus de l’unité d’affichage à gauche et à
droite.
2.
2. Engagez les rondelles isolantes du dessus de l’unité d’affichage
Orifice
dans les encoches du dessus de l’applique, et faites-les
inférieur
descendre lentement pour les mettre en place.
3. Tout en soulevant légèrement l’unité d’affichage, insérez les
rondelles isolantes inférieures dans les orifices à l’extrémité
inférieure de l’applique de fixation au mur, puis tirez l’unité
d’affichage bien droit vers le bas pour la mettre en place.
Surface du mur
Surface du mur
3.
ATTENTION
• Si le téléviseur plasma est soulevé trop haut, sa partie supérieure se
Rondelle isolante en bas
dégagera de l’applique de fixation au mur.
4. Serrez complètement le long boulon de serrage de l’unité , que
vous avez serré légèrement à l’étape 5 de la section 3.
Français
Remarque
• Vous risquez de plier ou de déformer l’applique si vous serrez
excessivement le long boulon de serrage de l’unité ou la vis de
serrage de l’unité .
5. Soulevez légèrement l’unité d’affichage pour vérifier qu’elle est
fermement fixée.
4. Long boulon de serrage de l’unité
6. Connectez le câble HDMI au tuner.
Comment retirer le téléviseur plasma de
4.
l’applique de fixation au mur
1. Posez une couverture douce ou un bout de tissu doux sous le
téléviseur plasma.
Déposez le long boulon de serrage de l’unité ou la vis de serrage
de l’unité fixé(e) sur le côté de l’applique de fixation au mur.
Remarque
• Autrement, le long boulon de serrage de l’unité ou la vis de serrage
de l’unité risque d’être échappée par inadvertance et de marquer le
Surface du mur
Surface du mu
plancher.
Long boulon de
2. Déconnectez les câbles qui raccordent le téléviseur plasma aux
serrage de l’unité
autres appareils.
3.
3. Tout en soulevant la partie inférieure du téléviseur plasma, tirez-le
Couverture ou
Rondelle isolante
vers vous.
bout de tissu
en bas
4. Une fois les rondelles isolantes en bas dégagées, soulevez le
téléviseur plasma tout droit.
Surface du plancher
5. Assurez-vous que le téléviseur plasma, une fois retiré de l’applique
de fixation au mur, reste bien droit pendant sa manipulation pour
éviter qu’une charge ne soit appliquée sur son panneau avant ou
arrière.
31

Precauciones para su seguridad
Advertencia
Asegúrese de que el lugar de instalación sea lo suficientemente resistente como para poder ser utilizado
durante mucho tiempo.
• Si la resistencia dejara de ser suficiente a lo largo de la utilización durante mucho tiempo, la pantalla podría
caerse y probablemente causar lesiones a las personas.
El trabajo de instalación y la expansión del equipo de conexión nunca deberán ser realizados por una
persona que no sea un especialista en instalaciones cualificado.
• Una instalación mal hecha puede ser la causa de que el equipo se caiga y cause lesiones.
Tenga en cuenta la seguridad cuando considere la resistencia del lugar de instalación propuesto.
• Si la resistencia no es suficiente, el equipo podrá caerse y causar lesiones.
No haga la instalación en un lugar que no pueda aguantar el peso.
• Si el lugar de instalación no es lo suficientemente fuerte, el equipo podrá caerse.
No desarme ni modifique el soporte para colgar en pared.
• De lo contrario, la unidad podría caerse y dañarse, y podrían producirse lesiones a personas.
Precaución
No utilice otros televisors que los indicados en el catálogo.
• En caso de no ser así, la unidad puede caerse y dañarse, pudiendo causar daños a personas.
No haga la instalación en ningún lugar expuesto a la humedad, polvo, humo, vapor o calor.
• Esto podría causar un efecto adverso en el televisor de plasma y causar un incendio o una descarga eléctrica.
El trabajo de instalar o desinstalar el televisor de plasma deberá ser realizado por dos personas como mínimo.
• El televisor de plasma podría caerse y causar lesiones.
No lo instale mirando hacia arriba, hacia los lados o al revés.
•
Esto podría causar acumulaciones de calor en el interior del televisor de plasma, lo que podría dar origen a un incendio.
Deje espacios libres alrededor del TV de plasma, con un mínimo de 10 cm por la parte superior, 10 cm por el
lado izquierdo, 15 cm por el lado derecho y 10 cm por la parte inferior. Asegúrese de que el espacio entre la
parte posterior del TV de plasma y la pared que queda detrás del mismo no esté bloqueado.
Español
• El televisor de plasma tiene orificios de salida de aire en la parte superior y entrada de aire en la parte inferior y en
la parte trasera. Tapar estos orificios podría causar un incendio.
Instale el televisor de plasma siguiendo solamente los pasos especificados en estas instrucciones: No lo
instale de ninguna otra forma.
• De lo contrario, la unidad podría caerse y dañarse, y podrían producirse lesiones a personas.
Instale los tornillos de montaje y el cable de alimentación de forma que no hagan contacto con las partes
interiores de la pared.
• Tocar cualquier objeto metálico del interior de la pared puede causar descargas eléctricas.
Para hacer la instalación, utilice las piezas componentes para propósitos especiales.
• De lo contrario, el televisor de plasma podría caerse de la pared y causar lesiones a personas.
Retire el producto que no se va a utilizar más.
• De lo contrario, el producto podría caerse y causar lesiones a personas.
Acerca del manejo
1) Tenga cuidado al elegir la ubicación del televisor, porque éste podría perder color o deformarse debido a la
luz o al calor si se colocara en un lugar expuesto directamente a la luz solar o cerca de una calefacción.
2) Limpie la ménsula para colgar en pared pasando por ella un paño blando y seco (como los hechos con
algodón o franela). Si la ménsula está muy sucia, quite la suciedad utilizando un detergente neutro diluido en
agua, y pasando luego un paño seco. No utilice bencina, diluyente o cera para muebles porque éstos pueden
ser la causa de que se pele el revestimiento.
(Para conocer información sobre cómo limpiar la pantalla, consulte el manual de instrucciones de la misma.
Si utiliza un paño tratado químicamente, siga las instrucciones suministradas con el paño.)
3) No pegue cinta adhesiva ni pegatinas en el producto. Ambas podrían ensuciar la superficie del soporte para
colgar en pared. No permita tampoco el contacto prolongado con productos de goma, vinilo o similares. (Al
hacerlo se producirán deterioros.)
4) Durante la instalación, evite cualquier golpe, ya que podrían producirse ‘fisuras de panel’ en el televisor de
plasma.
Caution:
Este soporte ha sido diseñado para ser utilizado solamente con los TV de plasma de Panasonic (vea la
contraportada).
Si se utiliza con otros aparatos, la instalación no será estable y algunas personas podrían sufrir heridas.
LA INSTALACIÓN NECESITA SER REALIZADA POR PROFESIONALES.
PANASONIC NO SE HACE RESPONSABLE DE NINGÚN DAÑO CAUSADO EN PROPIEDADES NI
TAMPOCO DE LESIONES GRAVES, INCLUYENDO LA MUERTE, DEBIDOS A LA MALA INSTALACIÓN O AL
MANEJO INCORRECTO.
32

[ Las imágenes mostradas en este manual sólo tienen
Componentes
fines ilustrativos. ]
TY-WK5P1SW Soporte para colgar en pared (Tipo de montaje vertical)
Piezas utilizadas para ensamblar el soporte para colgar en pared
Accesorios superior e
Accesorio izquierdo de la
Accesorio derecho de la
Tornillos M5x10
inferior de la base (2)
base del soporte (1)
base del soporte (1)
para ensamblar
el soporte (4)
Piezas utilizadas para la instalación
Vista del soporte completamente
Tornillos Allen M8×24 de
Posicionamiento de las pegatinas
(2)
ensamblado
cabeza avellanada (4)
Arandelas dentadas convexas
Perno largo para asegurar la unidad
(1)
(4)
Tornillo M6 x 50 para
asegurar la unidad (1)
Espaciadores de aislamiento
(4)
Llave Allen
(herramienta incluida) (1)
Español
Tenga en cuenta lo siguiente antes de proseguir con la instalación:
♦ La unidad del TV de plasma que será colocada en el soporte para colgar en pared consiste en la
unidad de pantalla, unidad del sintonizador y altavoces.
Precauciones para la instalación del soporte para colgar en pared
♦ El soporte para colgar en pared se utiliza para colocar un televisor de plasma en una pared vertical. No lo
instale en ninguna otra superficie que no sea una pared vertical.
♦ Para asegurar el correcto funcionamiento del televisor de plasma y evitar problemas, no lo instale en
ninguna de las ubicaciones siguientes:
• Cerca de rociadores o detectores de fuego/humo
• Donde corra el riesgo de quedar expuesto a vibraciones o golpes
• Cerca de cables de alta tensión o fuentes de alimentación
• Cerca de campos magnéticos, fuentes de calor, vapor de agua u hollín
• Lugares expuestos a la salida del aire de equipos de calefacción
• Donde se puedan formar gotas de condensación de un acondicionador de aire o de otro aparato
♦ Haga la instalación utilizando técnicas adecuadas a la estructura y materiales del lugar de instalación.
♦ Utilice tornillos comercialmente disponibles de 6 mm de diámetro diseñados para el material donde se
instale el soporte para colgar en pared (madera, bastidor de acero, hormigón etc.).
♦ Conecte el televisor a una toma de corriente a la que pueda accederse fácilmente.
♦ Deje un espacio suficiente para que circule el aire y la temperatura del equipo no supere los 40 °C. De lo
contrario, se acumulará calor en el interior del televisor de plasma y éste podrá funcionar mal.
♦ Extienda una manta o paño blando sobre el suelo para que el televisor de plasma y el suelo no queden
marcados ni arañados durante el trabajo de montaje e instalación.
♦ Cuando atornille piezas, asegúrese de que los tornillos no estén flojos ni excesivamente apretados.
♦ Tenga suficiente cuidado para garantizar la seguridad a su alrededor cuando realice el trabajo de montaje e
instalación o mientras se mueve durante el curso del trabajo.
♦ No instale el televisor de plasma debajo de lámparas del techo (luces direccionales, lámparas halógenas,
etc.). De lo contrario, la caja puede doblarse o dañarse debido al calor intenso.
33

[ Para hacer la instalación no utilice ningún otro
Procedimiento de instalación
método diferente del especificado.]
1. Ensamblaje del soporte para
Interior: Modelo de 46
colgar en pared
pulgadas
1. Quite los tornillos para asegurar los
Exterior: Modelo de 50 ó 54
accesorios izquierdo y derecho de la
Tornillo para asegurar el accesorio
pulgadas
base del soporte.
de la base del soporte
2. Ponga los accesorios superior e inferior
Accesorios superior e inferior
de la base y los accesorios derecho
e izquierdo del soporte y como se
de la base
muestra en la figura.
Accesorio izquierdo de
3. Ponga las lengüetas de los accesorios
la base del soporte
izquierdo y derecho de la base del soporte
en los cortes de los accesorios superior e
inferior de la base de la parte superior, y
asegúrelos utilizando los dos tornillos
utilizados para ensamblar el soporte.
(Par de apriete: 1,2 a 1,5 N•m)
4.
Abra un poco la parte inferior de los
accesorios izquierdo y derecho de la base del
Lengüeta
soporte, ponga sus lengüetas en los cortes
de los accesorios superior e inferior de la
Hueco
base y asegúrelos utilizando los dos tornillos
utilizados para ensamblar el soporte.
Accesorio derecho de la
Tornillos M5x10 para
(Par de apriete: 1,2 a 1,5 N•m)
base del soporte
ensamblar el soporte
5. Apriete los tornillos para asegurar los
Accesorios superior e
accesorios izquierdo y derecho de la
inferior de la base
base del soporte que fueron aflojados en el
paso 1.
Español
Nota
• Sujete los accesorios derecho e izquierdo de
la base de la ménsula según trabaja con la
ménsula para montar en pared ensamblada.
Sujetar los accesorios superior e inferior de la
base podría deformar esta unidad.
Unidad: mm
2. Verificación de la resistencia del lugar
600
44080 80
de instalación
1.
El soporte para colgar en pared pesa aproximadamente 2,3 kg.
Consulte el manual de instrucciones del TV de plasma, y
verifique el peso de la unidad del TV de plasma que será
colocada en el soporte para colgar en pared.
2. Consulte el plano acotado del soporte para colgar en
pared mostrado a la derecha, y verifique la resistencia de
la pared en las seis posiciones de instalación mostradas.
Si la resistencia en cualquiera de esas posiciones no es
suficiente, proporcione el refuerzo que sea necesario.
Notas
• Hay cinco agujeros de montaje pretaladrados en la parte superior
59.5 17.5325
y otros cinco en la parte inferior del soporte para colgar en pared.
Utilice los orificios de repuesto provistos si se emplea madera
u otros materiales en la pared y no se puede asegurar un nivel
Agujeros para montaje en pared
suficiente de resistencia del montaje al fijar el soporte en las seis
(en 6 puntos)
posiciones mostradas a la derecha.
No obstante, tenga en cuenta que, dependiendo de los materiales
Utilice sin falta los tornillos para fijar el soporte.
de los que esté hecha la superficie de montaje, puede que
se formen grietas en la superficie si los tornillos se utilizan en
posiciones demasiado próximas entres sí.
• Monte o ponga solamente un TV de plasma en el soporte: No
monte ni coloque en él ningún otro producto.
• Para conocer detalles de las dimensiones aplicables cuando
se monta el TV de plasma, consulte el plano acotado (vea la
contraportada).
34

3. Instalación en la pared del soporte
para colgar en pared
Notas
En el caso del modelo de 46 pulgadas,
•
Si resulta necesario tener que meter pernos o tuercas en la pared antes
limite la distancia que sobresalen los
de instalar el soporte para colgar en pared, debido a que la pared es de
tornillos y los pernos a menos de 5 mm.
hormigón, por ejemplo, sitúe las posiciones de los agujeros poniendo el
soporte para colgar en pared en la pared o calculando las posiciones de
los agujeros empleando el plano acotado, y luego meta pernos y tuercas
con un diámetro nominal de 6 mm más o menos.
Cuando meta los pernos, asegúrese de que sus cabezas
sobresalgan entre 10 y 15 mm de la superficie de la pared.
En el caso del modelo de 46 pulgadas, limite a menos de 5 mm
la distancia que sobresalen de la pared los tornillos y los pernos
utilizados en los agujeros centrales de los accesorios superior e
inferior de la base (3 agujeros en cada accesorio).
• Para instalar el soporte para colgar en pared en la pared, utilice
tornillos con un diámetro nominal de 6 mm más o menos de
venta en ferreterías, procurando que éstos sean adecuados a los
materiales del lugar de instalación en la pared.
• Fije los tornillos en un mínimo de seis posiciones.
1. Instale el soporte para colgar en pared de forma que las
flechas marcadas en él apunten hacia arriba.
2. Primero, asegure el tornillo del agujero central superior .
3. Utilice un nivel para asegurar que el soporte no esté
inclinado hacia un lado, y luego asegure los tornillos en los
Español
cinco agujeros restantes.
Flechas
4. Para establecer una guía a fin de colocar la unidad del TV de
Unidad: mm
plasma, pegue las dos pegatinas de posicionamiento en
(Ejemplo que muestra dónde se pegan
la pared en los mismos lugares mostrados en la figura de la
las pegatinas en el modelo de 54 pulgadas)
derecha. Para conocer las posiciones de adhesión (una a la
Posicionamiento de las
Posicionamiento de las
izquierda y otra a la derecha), consulte los dibujos acotados
pegatinas
pegatinas
(vea la contraportada).
a: 414a: 414
• Los sellos de posicionamiento se pegan en posiciones situadas
(80)
a 80 mm por encima de la unidad del TV de plasma.
b: 345
5. Sin apretar mucho el perno largo para asegurar la unidad
(girándolo 2 ó 3 vueltas), colóquelo en el agujero roscado
situado debajo del lado derecho del accesorio derecho de
la base del soporte.
Perno largo para asegurar la
Nota
unidad
•
Cuando sólo vaya a utilizarse la unidad de pantalla del modelo de 46
pulgadas, el perno largo para asegurar la unidad podrá verse desde el
lado derecho. Si las condiciones de instalación u otros factores impiden
que se pueda ver este perno, utilice en su lugar el tornillo para asegurar la
unidad para asegurar la unidad pero sin apretarla. En este caso, utilice
un destornillador de punta Phillips (longitud mínima de 40 cm).
35

Procedimiento de instalación
4. Colocación de los espaciadores de
aislamiento en la unidad de pantalla
1. Quite la parte superior de la caja de cartón exterior utilizada para la
unidad del TV de plasma y tire de la bolsa de protección hacia abajo.
Para asegurarse de que la unidad del TV de plasma no se caiga,
proporcione apoyo en la parte delantera.
2. Abra la almohadilla accesoria.
Almohadilla accesoria
Quite el soporte de instalación, la caja de accesorios y la caja de
altavoces de la caja de cartón exterior.
3. Quite las cuatro tapas de la unidad de pantalla utilizando un
Tapa
destornillador de punta Phillips.
Destornillador de punta Phillips
Nota
• Guarde el soporte de instalación y también las tapas que fueron quitadas en
Tapa
un lugar seguro.
Español
4. Utilizando la llave Allen suministrada, instale los 4 tornillos Allen
de cabeza avellanada , las 4 arandelas dentadas convexas y los 4
espaciadores de aislamiento provistos en los lugares donde estaban
colocadas las tapas, como se muestra en la figura de la derecha.
(Par de apriete: 3 a 4 N•m)
• Si los espaciadores de aislamiento no se colocan durante el proceso de
ensamblaje, puede que la pantalla se estropee debido a ello.
5. Conecte el cable HDMI (el suministrado u otro que se puede obtener por
separado) en la unidad de pantalla.
Utilice un cable HDMI cuya longitud sea apropiada para la distancia
desde la posición donde se va a instalar la unidad del sintonizador.
Notas
• Para conocer detalles de cómo colocar los altavoces y otros componentes
embalados con la unidad del TV de plasma y cómo conectar el cable HDMI,
consulte las instrucciones de funcionamiento de la unidad del TV de plasma.
• Cuando se vaya a utilizar una unidad inalámbrica Hi-Vision completa, siga las
instrucciones dadas en las instrucciones de funcionamiento de la unidad.
36

Hueco de la parte superior
5. Colocación y fijación de la unidad de
pantalla en el soporte para colgar en
Espaciador de aislamiento en la
parte superior
pared
1. Utilizando como guía las pegatinas de posicionamiento pegadas
2.
a la pared, alinee la parte superior de la unidad de la pantalla por
la izquierda y por la derecha.
Agujero en la
parte inferior
2. Acople los espaciadores de aislamiento de la parte superior de
la unidad de pantalla con los cortes de la parte superior de la
unidad de pantalla y bájelos lentamente para colocarlos en su
lugar.
3. Mientras levanta un poco la unidad de pantalla, inserte los
espaciadores de aislamiento inferiores en los agujeros del
Superficie de la pared
Superficie de la pared
extremo inferior del soporte para colgar en pared, y luego tire
recto de la unidad de pantalla hacia abajo para colocarla en su
3.
lugar.
Espaciador de espaciamiento
AVISO
en la parte inferior
• Si el TV de plasma se levanta demasiado, su parte superior se soltará
del soporte para colgar en pared.
4. Apriete el perno largo para asegurar la unidad , que fue
colocado sin apretarlo en el paso 5 de la sección 3, hasta que no
pueda apretarlo más.
Nota
• Apretar demasiado el perno largo para asegurar la unidad o el
Español
tornillo para asegurar la unidad puede ser la causa de que el
soporte se doble y deforme.
5. Levante un poco la unidad de pantalla y verifique que esté
firmemente asegurada en su lugar.
4. Perno largo para asegurar la unidad
6. Conecte el cable HDMI a la unidad del sintonizador.
Cómo retirar el TV de plasma del soporte
4.
para colgar en pared
1. Ponga una manta o un trozo de tela blandos debajo de la unidad del
TV de plasma.
Quite el perno largo para asegurar la unidad o el tornillo para
asegurar la unidad que está colocado en el costado del soporte
para colgar en pared.
Nota
• De lo contrario, el perno largo para asegurar la unidad o el tornillo
para asegurar la unidad pueden caerse por error, dejando marcas en
Superficie de la pared
Superficie de la pared
la superficie del suelo.
Perno largo
para asegurar la
2. Desconecte los cables que conectan el TV de plasma a las otras
unidad
3.
unidades.
Manta o trozo
Espaciador de
3. Mientras levanta la parte inferior del TV de plasma, tire del propio
de tela
aislamiento en la parte
TV hacia usted.
inferior
4. Una vez soltados los espaciadores de aislamiento de la parte
Superficie del suelo
inferior, levante derecho el TV de plasma.
5. Asegúrese de que la unidad del TV de plasma, que no ha sido
retirado del soporte para colgar en pared, se mantenga en posición
vertical mientras se maneja para evitar así aplicar una carga a su
panel delantero o posterior.
37

Precauções de segurança
AVISO
Verifique se o local de instalação é suficientemente resistente para suportar uma utilização a longo prazo.
• Se a resistência se tornar insuficiente durante uma utilização prolongada, o televisor com ecrã de plasma pode
cair e provocar ferimentos em alguém.
O trabalho de montagem e ligação do equipamento só pode ser feita por um técnico de instalação
qualificado.
• Uma montagem incorrecta pode fazer cair o equipamento e ferir alguém.
Inclua um factor de segurança quando calcular a resistência do local de montagem proposto.
• Se a resistência não for suficiente o televisor pode cair e ferir alguém.
Não faça a montagem num local que não suporte a carga.
• Se o local de montagem não for suficientemente resistente o equipamento pode cair.
Não desmonte nem modifique o suporte de instalação na parede.
• Se não o fizer, a unidade pode cair e ficar danificada ou ferir alguém.
ATENÇÃO
Não utilize um televisor e ecrãs diferentes dos indicados no catálogo.
• Se não o fizer, a unidade pode cair e ficar danificada ou ferir alguém.
Não faça a montagem em locais onde haja humidade, pó, fumo, vapor ou calor.
• Isso pode afectar o televisor com ecrã de plasma e provocar um incêndio ou choque eléctrico.
O trabalho de montagem ou desmontagem do televisor com ecrã de plasma tem de ser feito, pelo menos,
por duas pessoas.
• O televisor com ecrã de plasma pode cair e ferir alguém.
Não o monte virado para cima, para os lados ou ao contrário.
• Se o fizer, pode produzir-se calor dentro do televisor com ecrã de plasma e provocar um incêndio.
Deixe um espaço de pelo menos 10 cm por cima, do lado esquerdo e por baixo do televisor com ecrã de
plasma; deixe pelo menos 15 cm livres do lado direito. Verifique se o espaço entre o painel traseiro do
televisor com ecrã de plasma e a parede está desobstruído.
• O televisor com ecrã de plasma tem ranhuras de ventilação na parte superior e de sucção do ar na parte inferior e
traseira. Se tapar essas ranhuras pode provocar um incêndio.
Instale o televisor com ecrã de plasma seguindo os passos especificados nestas instruções: Não faça a
instalação de uma maneira diferente.
• Se não o fizer, a unidade pode cair e ficar danificada ou ferir alguém.
Instale os parafusos de fixação e o cabo de alimentação de maneira a que não fiquem em contacto com as
Português
peças do interior da parede.
• O contacto com objectos metálicos que possam existir no interior da parede pode provocar um choque eléctrico.
Utilize as peças especiais fornecidas para a instalação.
• Se não o fizer, o televisor com ecrã de plasma pode cair da parede e ferir alguém.
Retire o equipamento que não vai utilizar mais.
• Se não o fizer, o equipamento pode cair e ferir alguém.
Requisitos de manuseamento
1) Tenha cuidado ao seleccionar o local para instalação do televisor porque se o colocar num local onde esteja
exposto directamente à luz solar ou junto de um aquecedor, pode perder a cor ou ficar deformado devido à
luz ou calor.
2) Limpe o suporte de instalação na parede com um pano seco e macio (de algodão ou flanela). Se o suporte
estiver muito sujo, limpe-o com um pano humedecido numa solução de detergente neutro e água e depois
seque-o com um pano seco. Não utilize benzina, diluente ou cera para móveis pois pode danificar o
revestimento.
(Para informações sobre a limpeza do ecrã, consulte o manual de instruções do ecrã. Se utilizar um pano
com tratamento químico, siga as instruções fornecidas com o pano.)
3) Não cole fita adesiva ou etiquetas auto-colantes no equipamento. Se o fizer, pode sujar a superfície do
suporte de instalação na parede. Não o deixe em contacto prolongado com produtos de borracha, vinil ou
outros do género. (Se o fizer, pode deteriorar o equipamento.)
4) Tome cuidado durante a instalação pois os choques podem provocar ‘rachas no ecrã’ do televisor com ecrã
de plasma.
Atenção:
Este suporte destina-se apenas aos modelos de televisor com ecrã de plasma da Panasonic (Consulte a
contracapa).
A utilização com outros aparelhos pode causar instabilidade e ferir alguém.
A INSTALAÇÃO TEM DE SER FEITA POR UM PROFISSIONAL.
A PANASONIC NÃO SE RESPONSABILIZA POR DANOS MATERIAIS E/OU FERIMENTOS GRAVES,
INCLUINDO A MORTE RESULTANTES DE UMA INSTALAÇÃO MAL FEITA OU DE UM MANUSEAMENTO
INCORRECTO.
38

[ As imagens mostradas neste manual servem apenas
Componentes
para fins de ilustração.]
TY-WK5P1SW Suporte de instalação na parede (Montagem vertical)
Peças utilizadas para montar o suporte de instalação na parede
Ferragem superior e
Ferragem esquerda da
Ferragem direita da base
Parafusos M5x10
inferior da base (2)
base do suporte (1)
do suporte (1)
para montagem da
estrutura (4)
Peças utilizadas na instalação
Vista da estrutura completamente montada
Parafusos Allen M8×24 de
Etiquetas autocolantes de
cabeça de embeber (4)
posicionamento (2)
Anilhas dentadas
Parafuso comprido para fixar a
côncavas (4)
unidade (1)
Parafuso M6 x 50 para
fixação da unidade (1)
Espaçadores de
isolamento (4)
Chave Allen (incluída) (1)
Português
Antes de proceder à instalação leia as indicações seguintes:
♦ O televisor com ecrã de plasma que vai montar no suporte de instalação na parede é constituído
pelo ecrã, sintonizador e altifalantes.
Precauções para montagem do suporte de instalação na parede
♦ O suporte de instalação na parede serve para montar o televisor com ecrã de plasma numa parede vertical
para visualização. Não monte o suporte numa superfície que não seja uma parede vertical.
♦ Para garantir o funcionamento correcto do televisor com ecrã de plasma e evitar problemas, não faça a
instalação em nenhum dos locais indicados a seguir.
• Perto de sprinklers ou detectores de fumo/incêndio
• Locais onde haja risco de exposição a vibrações ou impactos
• Junto de cabos de alta tensão ou fontes de alimentação dinâmicas
• Junto de fontes de magnetismo, calor, vapor de água ou fuligem
• Locais expostos ao ar que sai de um aparelho de aquecimento
•
Locais onde possam formar-se gotas de condensação de um aparelho de ar condicionado ou outro aparelho.
♦ Faça a montagem utilizando as técnicas adequadas à estrutura e materiais do local que vai ser utilizado.
♦ Utilize parafusos à venda no mercado com um diâmetro nominal de 6 mm adequados ao material da parede
(madeira, estrutura de metal, betão etc.) em que vai montar o suporte.
♦ Ligue a ficha do televisor a uma tomada de parede que seja de fácil acesso.
♦ Verifique se há uma boa circulação de ar para que a temperatura ambiente do equipamento não exceda os
40 °C. Se não o fizer, pode produzir-se calor dentro do televisor com ecrã de plasma e provocar problemas
no funcionamento.
♦ Estenda um cobertor ou um pano no chão para que o televisor com ecrã de plasma e o chão não fiquem
marcados ou riscados durante o trabalho de montagem e instalação.
♦
Quando aparafusar as peças, verifique se os parafusos não estão nem mal apertados nem apertados demais.
♦ Tome as precauções necessárias para garantir a segurança à sua volta durante a montagem e instalação ou
quando se movimenta durante o trabalho.
♦ Não instale o televisor com ecrã de plasma por baixo das lâmpadas do texto (focos, lâmpadas de halogénio,
etc.). Caso contrário, a caixa do televisor pode ficar torta ou danificada pelo calor.
39

[Nunca utilize qualquer outro método diferente
Procedimento de montagem
do especificado para fazer a instalação.]
1. Montagem do suporte de
Interior: Modelo de 46
instalação na parede
polegadas
1. Retire os parafusos de fixação das
Exterior: Modelo de 50 ou 54
ferragens esquerda e direita da base
Parafuso para fixação da
polegadas
do suporte.
ferragem da base do suporte
2.
Coloque a ferragem superior e inferior da base
Ferragem superior e inferior da
e as ferragens esquerda e direita da base
base
do suporte e , como se mostra na figura.
Ferragem esquerda da
base do suporte
3. Encaixe os dentes das ferragens esquerda
e direita da base do suporte nas ranhuras
das ferragens superior e inferior da base e
fixe-as com os dois parafusos utilizados
para montar a estrutura.
(Binário de aperto: 1,2 a 1,5 N•m)
4.
Abra ligeiramente a parte inferior das
ferragens esquerda e direita da base do
Dente
suporte e encaixe os dentes respectivos nas
ranhuras das ferragens superior e inferior
Ranhura
da base e fixe-as com os dois parafusos
utilizados para montar a estrutura.
Ferragem direita da
Parafusos M5x10 para
(Binário de aperto: 1,2 a 1,5 N•m)
base do suporte
montagem da estrutura
Ferragem superior e inferior da
5. Aperte os parafusos de fixação das
base
ferragens esquerda e direita da base
do suporte que desapertou no passo 1.
Nota
• Enquanto estiver a trabalhar com o suporte de
montagem na parede montado, agarre-o pelas
ferragens esquerda e direita da base. Se o
agarrar pelas ferragens superior e inferior da
Português
base pode deformar a unidade.
Unidade: mm
2. Verificação da resistência do local de
600
44080 80
instalação
1.
O suporte de instalação na parede pesa cerca de 2,3 kg.
Consulte o manual de instruções do televisor com ecrã de
plasma e verifique o peso do modelo que vai instalar no suporte.
2. Consulte o desenho do suporte de instalação na parede
mostrado à direita e verifique a resistência da parede nas
seis posições de instalação indicadas. Se a resistência
de uma destas posições não for suficiente, reforçe-a
adequadamente.
Notas
• Há cinco orifícios de montagem pré-furados na parte superior e
59.5 17.5325
outros cinco na parte inferior do suporte de instalação na parede.
Se a parede for de madeira ou de outro material e não for possível
garantir um nível suficiente de resistência para a instalação,
Orifícios de montagem na parede
(em 6 pontos)
utilize os orifícios restantes existentes e fixe a estrutura nas seis
posições mostradas à direita.
É absolutamente necessário utilizar
No entanto, não esqueça de que, dependendo dos materiais da
os parafusos para fixar a estrutura.
superfície de montagem, podem aparecer rachas na superfície se
colocar os parafusos em posições demasiado perto umas das outras.
•
Não monte nem coloque nada a não ser um televisor com ecrã de
plasma na estrutura: Não monte nem coloque qualquer outro produto.
• Para obter detalhes sobre as dimensões que se aplicam quando
o televisor com ecrã de plasma é montado, consulte o desenho
(consulte a contracapa).
40

3. Montagem do suporte de instalação na
parede
Notas
No caso do modelo de 46 polegadas,
• Se for necessário embeber os parafusos ou porcas na parede
os parafusos e porcas não podem ficar
antes de montar o suporte porque, por exemplo, a parede é de
saídos da parede mais de 5 mm.
betão, localize as posições dos orifícios colocando o próprio
suporte de montagem na parede ou calculando as posições dos
orifícios baseando-se no desenho e depois embeba os parafusos
e porcas de diâmetro nominal de 6 mm ou equivalente.
Quando embeber os parafusos, verifique se as cabeças
respectivas ficam saídas 10 a 15 mm da superfície da parede.
No caso do modelo de 46 polegadas, os parafusos e porcas
utilizados nos orifícios centrais das ferragens superior e inferior
da base (3 orifícios em cada ferragem) não podem ficar saídos
da parede mais de 5 mm.
•
Para montar o suporte na parede, use parafusos com um diâmetro
nominal de 6 mm ou equivalentes à venda nas lojas de ferragens e
adequados aos materiais da superfície de instalação na parede.
• Fixe os parafusos em pelo menos seis posições.
1. Monte o suporte de instalação na parede de maneira a que
as setas indicadas no mesmo fiquem a apontar para cima.
2. Primeiro de tudo, aperte o parafuso do orifício central
superior .
3. Use um nível para garantir que a estrutura não está inclinada
para um lado e depois aperte os parafusos dos cinco
Setas
orifícios restantes.
Português
4. Para ter um guia para fixação do televisor com ecrã
Unidade: mm
de plasma, cole as duas etiquetas autocolantes de
(Exemplo que mostra onde os autocolantes
posicionamento na parede, nos locais mostrados na
são colados no modelo de 54 polegadas)
figura da direita. Para obter detalhes sobre as posições de
Etiquetas autocolantes
Etiquetas autocolantes
aderência (uma do lado esquerdo e outra no lado direito),
de posicionamento
de posicionamento
consulte o desenho (consulte a contracapa).
a: 414a: 414
• As etiquetas autocolantes de posicionamento são colocadas
(80)
nas posições que se encontram 80 mm acima do televisor com
ecrã de plasma.
b: 345
5. Aperte ligeiramente o parafuso comprido para fixação da
unidade (rodando o parafuso 2 ou 3 voltas) no orifício
localizado por baixo do lado direito da ferragem direita da
base do suporte .
Parafuso comprido para
Nota
fixar a unidade
• Se tencionar utilizar apenas o ecrã do modelo de 46 polegadas,
o parafuso comprido para fixação da unidade será visível do
lado direito. Se as condições de instalação ou outros factores
não deixarem ver o parafuso, em vez dele, utilize o parafuso de
fixação da unidade para fixar o televisor ligeiramente. Neste
caso, utilize uma chave Phillips para parafusos compridos (com
um comprimento de pelo menos 40 cm).
41

Procedimento de montagem
4. Instalar os espaçadores de isolamento no
ecrã
1. Retire a parte superior da caixa de cartão exterior onde está o televisor
com ecrã de plasma e puxe o saco de protecção para baixo.
Para ter a certeza de que o televisor com ecrã de plasma não cai para a
frente, coloque um suporte na parte da frente do mesmo.
2. Abra o compartimento dos acessórios.
Compartimento dos acessórios
Retire a base de instalação, a caixa de acessórios e a caixa dos
altifalantes da caixa de cartão exterior.
3. Retire as quarto tampas do ecrã com uma chave de parafusos Phillips.
Tampa
Chave de parafusos Phillips
Nota
• Guarde a base de instalação e as tampas que retirou num local seguro.
Tampa
Português
4. Utilizando a chave Allen fornecida , monte os 4 parafusos Allen
de cabeça de embeber , as 4 anilhas dentadas côncavas e os 4
espaçadores de isolamento fornecidos, nos locais onde as tampas
estavam montadas, como se mostra na figura da direita.
(Binário de aperto: 3 a 4 N•m)
• Se os espaçadores de isolamento não forem instalados durante o
processo de montagem, o visor pode ficar danificado.
5. Ligue o cabo HDMI (o cabo fornecido ou um cabo vendido
separadamente) ao ecrã.
Utilize o cabo HDMI com um comprimento adequado à distância a que
vai instalar o sintonizador.
Notas
• Para obter informações sobre como montar os altifalantes e as outras peças
fornecidas com o televisor com ecrã de plasma e ligar o cabo HDMI, consulte
o manual de instruções do televisor.
• Se tencionar utilizar uma unidade sem fios Hi-Vision completa, siga as
instruções fornecidas no manual de instruções respectivo.
42

Ranhura na parte superior
5. Montar e fixar o ecrã no suporte de
instalação na parede
Espaçador de isolamento na
1. Utilizando as etiquetas autocolantes de posicionamento que
parte superior
colou na parede, como guia, alinhe a parte superior do ecrã do
lado direito e do lado esquerdo.
2.
2. Coloque os espaçadores de isolamento da parte superior do
Orifício na
ecrã nas ranhuras da parte superior do suporte e baixe-os
parte inferior
lentamente até encaixarem.
3. Enquanto levanta ligeiramente o ecrã, introduza os espaçadores
de isolamento da parte inferior, nos orifícios da extremidade
inferior do suporte de instalação na parede e encaixe o ecrã a
direito para baixo.
Superfície da parede
Superfície da parede
ATENÇÃO
3.
• Se levantar demais o televisor com ecrã de plasma, a parte superior
do mesmo desprende-se do suporte de instalação na parede.
Espaçador de isolamento
na parte inferior
4. Aperte o parafuso comprido para fixação da unidade , que
tinha apertado ligeiramente no passo 5 da secção 3, até não
entrar mais.
Nota
• Se apertar demasiado o parafuso comprido para fixação da unidade
ou o parafuso de fixação da unidade , pode entortar o suporte.
5. Levante ligeiramente o ecrã e verifique se está preso com
segurança.
4. Parafuso comprido para fixar a
6. Ligue o cabo HDMI ao sintonizador.
unidade
Português
Como retirar o televisor com ecrã de
4.
plasma do suporte de instalação na parede
1. Coloque um cobertor macio ou um pedaço de pano por baixo do
televisor com ecrã de plasma.
Retire o parafuso comprido para fixação da unidade ou o
parafuso de fixação da unidade , que está colocado na parte
lateral do suporte de instalação na parede.
Nota
• Caso contrário, se o parafuso comprido para fixar a unidade ou o
parafuso para fixação da unidade cair ao chão, acidentalmente, pode
Superfície da parede
Superfície da parede
deixar marcas no chão.
Parafuso
comprido para
2. Desligue os fios que ligam o televisor com ecrã de plasma às
fixar a unidade
3.
outras unidades.
Cobertor ou
Espaçador de
3. Levante a parte inferior do televisor com ecrã de plasma e puxe
pedaço de pano
isolamento
este último para si.
na parte inferior
4. Depois de soltar os espaçadores de isolamento da parte inferior,
Chão
levante o televisor com ecrã de plasma, a direito, para cima.
5. Ao retirar o televisor com ecrã de plasma do suporte de instalação
na parede, verifique se está virado para cima para impedir que seja
aplicada força demais no painel frontal ou posterior.
43

Säkerhetsföreskrifter
Varning
Se till att platsen för installationen har tillräcklig hållfasthet för att tillåta en längre tids användning.
• Om hållfastheten skulle minska med tiden kan det finnas risk för att skärmen faller ner och möjligen orsakar
skador.
Monteringsarbete och anslutning av kringutrustning bör endast utföras av en därtill kvalificerad specialist.
• Felaktig montering kan göra att utrustningen faller och orsakar skador.
Lämna alltid en säkerhetsmarginal när du överväger bärkraften i materialet på vilket utrustningen ska
monteras.
• Skador om materialet inte kan bära tyngden.
Montera aldrig på ett ställe som inte kan bära den aktuella tyngden.
• Om materialet inte är tillräckligt bärkraftigt kan utrustningen falla.
Försök inte att plocka isär eller modifiera väggupphängningshållaren.
• Annars kan det hända att enheten ramlar ner och skadas eller orsakar personskador.
Observera
Montera inte på ett ställe som kan utsättas för fukt, damm, rök, ånga eller hög värme.
• En sådan miljö kan orsaka fel på plasma-TV:n och skapa risk för brand eller elstötar.
Använd inga andra TV-apparater än de som anges i katalogen.
• I annat fall kan enheten tappas och utsättas för skador eller orsaka personskada.
Arbetet med att montera och demontera plasma-TV:n måste utföras av minst två personer.
• I annat fall kan plasma-TV:n falla och orsaka skador.
Montera inte så att skärmen är vänd uppåt, åt sidan eller nedåt.
• Detta kan leda till överhettning inuti plasma-TV:n och skapa risk för brand.
Lämna ett fritt utrymme runt plasma-TV:n på minst 10 cm ovanför, under och till vänster och minst 15 cm till
höger. Kontrollera att utrymmet mellan plasma-TV:ns baksida och väggen är fritt.
• Plasma-TV:n är försedd med luftuttagshål på ovansidan och luftintagshål på undersidan och baksidan. Täck inte
över dessa då detta skapar risk för brand.
Montera Plasma-TV:n genom att endast följa de steg som anges i dessa instruktioner. Montera den inte på
något annat sätt.
• Annars kan det hända att enheten ramlar ner och skadas eller orsakar personskador.
Montera monteringsskruvarna och nätkabeln på ett sådant sätt att de inte kommer i kontakt med insidan av
väggen.
• Kontakt med metallobjekt inuti väggen kan resultera i elektrisk stöt.
Använd endast de speciellt anpassade delarna som medföljer.
• Annars kan det hända att Plasma-TV:n ramlar ner från väggen och orsakar skada.
Avlägsna produkter som inte längre ska användas.
• I annat fall kan det inträffa att produkten faller ner, vilket kan resultera i personskador.
Svenska
Hantering av enheten
1) Var noga med att välja lämpligt ställe för montering av TV:n då den kan missfärgas eller deformeras om den
usätts för hög värme i form av solsken, element el.dyl.
2) Rengör väggfästet genom att torka av det med en mjuk och torr trasa (t.ex. bomull eller flanell). Om fästet
är mycket smutsigt, kan du ta bort smutsen med ett neutralt rengöringsmedel som är utspätt i vatten. Torka
sedan rent med en torr trasa. Använd inte bensen, thinner eller möbelpolish då dessa medel kan skada
beläggningen. (Se skärmen bruksanvisning för information om hur du rengör skärmen. Om du använder en
kemiskt behandlad trasa, ska du följa de instruktioner som medföljde trasan.)
3) Fäst inte tejp eller etiketter på produkten. Sådana kan fläcka ner väggupphängningshållaren eller ytan på
ledningsskyddet för installation tätt intill väggen. Låt inga gummi- eller plastprodukter vara i långvarig kontakt
med ytan. (Det kan orsaka försämring av ytfinishen.)
4) Var försiktig under installationen eftersom stötar kan orsaka sprickor i panelen på plasma-TV:n.
Observera:
Denna hållare är endast avsedd för Panasonic plasma-TV-modeller (se baksidan).
Användning med andra apparater kan leda till instabilitet som orsakar skador.
PROFESSIONELL INSTALLATION KRÄVS.
PANASONIC PÅTAR SIG INGET ANSVAR FÖR SKADOR PÅ EGENDOM OCH/ELLER ALLVARLIGA
PERSONSKADOR, INKLUSIVE DÖDSFALL, SOM BEROR PÅ OTILLFREDSSTÄLLANDE INSTALLATION
ELLER FELAKTIG HANTERING.
44

[ De bilder som visas i den här bruksanvisningen är
Beståndsdelar
bara avsedda för illustrativa syften.]
TY-WK5P1SW Väggupphängningshållare (vertikal monteringstyp)
Delar som används för att montera väggfästet
Basens övre och
Fästbasens vänstra
Fästbasens högra
Skruvar M5x10
ndre beslag (2)
beslag (1)
beslag (1)
för montering av
fixturen (4)
Monteringsdelar
Vy av komplett fixtur
Försänkta insexskruvar
Positioneringsmärke (2)
M8×24 (4)
Låsbrickor (4) Lång bult för montering av
enheten (1)
Skruv M6 x 50 för montering av
enheten (1)
Isoleringsdistanser (4)
Insexnyckel
(medföljande verktyg) (1)
Observera följande innan montering påbörjas:
♦ Plasma-TV:n som ska sättas i väggfästet består av skärm, mottagare och högtalare.
Svenska
Försiktighetsåtgärder vid montering av väggupphängningshållaren
♦ Väggupphängningshållaren är avsedd för montering av en plasma-TV:n på en jämn, lodrät vägg. Försök
aldrig att montera på andra ytor.
♦ Försäkra att plasma-TV:n fungerar på rätt sätt och ej utsetts för fel genom att undvika följande ställen.
• Nära en sprinkler eller brand/rökdetektor
• Ställen som kan utsättas för stötar och vibrationer
• Nära högspänningsledningar eller kraftutrustning
• Nära högspänningskablar eller nätaggregat
• Ställen som utsätts för luftutblås från värmeapparater
• Där droppar av kondens från en luftkonditioneringsanläggning eller annan enhet kan bildas
♦ Utför montering i enlighet med konstruktionen och materialen i väggen.
♦ Använd vanliga skruvar med en diameter på 6 mm, avsedda för materialet (trä, metall, betong osv) i väggen
där fästet ska monteras.
♦ Se till att det finns ett lättillgängligt vägguttag för TV:ns nätkabel.
♦ Försäkra god ventilation runt enheten så att den omgivande temperaturen ej överstiger 40 °C. I annat fall kan
det uppstå fel på plasma-TV:n beroende på överhettning.
♦ Lägg ut en mjuk filt eller tyg på golvet så att varken stället eller golvet får märken eller skrapas under arbetet
med ihopsättning och installation.
♦ När delarna skruvas ihop bör du se till att skruvarna varken är alltför hårt eller för löst åtdragna.
♦ Vidtag tillräckliga åtgärder för att försäkra dig om att du har en säker omgivning när du utför ihopsättnings-
och installationsarbetet, och när du rör dig omkring under arbetets gång.
♦ Montera inte plasmatelevision under taklampor (spotlights, halogenlampor, od.).
Annars kan höljet böjas eller skadas av den höga värme som alstras.
45

[ Använd aldrig någon annan metod än vad
Monteringsprocedur
som anges för installation.]
1. Montera väggfästet
1. Ta bort skruvarna som håller basens
Insida: 46-tumsmodell
vänstra och högra beslag.
Utsida: 50- eller
Skruv som håller basens
54-tumsmodell
2. Lägg basens övre och undre beslag och
beslag
fästbasens vänstra och högra beslag och
enligt figuren.
Basens övre och undre beslag
3. Passa in hakarna på basens vänstra och
högra beslag i uttagen på basens övre och
Fästbasens vänstra
undre beslag och sätt fast beslagen med de
beslag
två skruvarna .
(Åtdragningsmoment: 1,2 till 1,5 N•m)
4. Öppna nederdelen av de vänstra och högra
beslagen något så att hakarna passar
in i uttagen på basens övre och undre
beslag och sätt fast beslagen med de två
skruvarna .
Flik
(Åtdragningsmoment: 1,2 till 1,5 N•m)
5. Dra åt de skruvarna som håller basens
Uttag
vänstra och högra beslag som
Fästbasens högra
Skruvar M5x10 för
lossades i steg 1.
beslag
montering av fixturen
Basens övre och
Anm.
undre beslag
• Håll fästbasens vänstra och högra kopplingar
när du arbetar med det sammansatta
väggfästet. Om man håller i basens övre och
undre kopplingar kan det deformera enheten.
Enhet: mm
2. Kontrollera monteringsplatsens styrka
600
1. Väggfästet väger cirka 2,3 kg.
44080 80
Ta reda på plasmaskärmens vikt i dess bruksanvisning.
Svenska
2. Se konturskissen av väggfästet som visas till höger och
kontrollera väggens styrka vid de sex monteringspunkterna.
Om styrkan hos någon av dessa punkter är för svag, måste
lämpliga förstärkningsåtgärder utföras.
Anm.
• Det finns fem förborrade monteringshål i väggfästets övre del och
ytterligare fem i dess undre del.
Använd reservhålen om väggen består av trä eller annat material
som inte ger tillräcklig monteringsstyrka så att lämplig montering
59.5 17.5325
inte kan utföras med de sex positionerna som visas till höger.
Kom ihåg att beroende på monteringsytans material, kan det
bildas sprickor om två monteringsskruvar sitter med för kort
Väggmonteringshål (vid 6 punkter)
avstånd.
• Du får endast montera eller placera en plasma-TV på fixturen. Fäst
Använd skruvarna för att förankra fixturen.
eller placera inte någon annan produkt.
• För information om de dimensioner som gäller när din plasma-TV
är monterad, se konturskissen (se baksidan).
46

3. Montering av väggfästet på väggen.
Anm.
För 46-tumsmodellen måste du
• Om det är nödvändigt att förankra bultar eller muttrar i väggen
se till att skruvar och bultar inte
innan väggfästet monteras, t.ex. om det är en betongvägg, ska
sticker ut mer än 5 mm.
hålen märkas ut genom att man använder fixturen som mall eller
använder konturskissens mått för att beräkna hålens placering.
Förankra sedan bultar eller muttrar med en gängstorlek på 6 mm
eller motsvarande.
När man förankrar bultar måste man se till att deras huvuden
sticker ut 10 till 15 mm från väggytan.
För 46-tumsmodellen måste du se till att de skruvar och bultar
som sitter i fästbasens övre och nedre beslag (3 hål i varje
beslag) inte sticker ut från väggen mer än 5 mm.
• För att montera väggfästet på väggen ska man använda skruvar
med en gängstorlek på 6 mm eller motsvarande. Skruvar av rätt
dimension och av rätt typ för väggmaterialet finns att köpa på den
lokala järnhandeln.
• Montera minst sex skruvar.
1. Montera väggfästet så att dess pilar pekar uppåt.
2. Börja med att skruva i skruven i det övre centrumhålet .
3. Använd ett vattenpass för att få fixturen vågrät och skruva
sedan i de fem återstående skruvarna.
Pilar
4. För att få riktmärken för plasma-TV:n sätter du fast de två
Enhet: mm
positioneringsmärkena på väggen på de platser som visas
(Exemplet visar var märkena sätts
i figuren till höger. Placeringarna (en till vänster och en till
fast för 54-tumsmodellen)
höger) framgår av figurerna (se baksidan).
Positioneringsmärke
Positioneringsmärke
• Positioneringsmärkena fästs i lägen som är 80 mm ovanför
Svenska
a: 414a: 414
plasma-TV:n.
(80)
b: 345
5. Sätt in den långa bulten löst (genom att vrida bulten 2
eller 3 varv) i skruvhålet som sitter nertill på basens högra
beslag.
Anm.
• Om endast skärmen till 46-tumsmodellen ska användas
Lång bult för montering av enheten
kommer den långa bulten att synas på höger sida. Om
monteringsförhållanden eller annat gör att bulten inte syns
använder du i stället skruven för att löst hålla fast enheten. I
detta fall använder du en lång stjärnskruvmejsel (Phillips) (minst
40 cm lång).
47

Monteringsprocedur
4. Fastsättning av isoleringsdistanserna på
skärmenheten
1. Ta bort överdelen av plasma-TV:ns yttre kartong och dra ner
skyddspåsen.
Se till att ha ett stöd framtill så att inte plasma-TV:n kan ramla omkull.
2. Öppna tillbehörsförpackningen.
Tillbehörsförpackning
Ta bort stativet, tillbehörskartongen och högtalarkartongen från den
yttre papplådan.
3. Ta bort de fyra skydden från skärmen med en stjärnskruvmejsel
Lock
(Phillips).
Stjärnskruvmejsel av Phillips-typ
Anm.
• Spara stativet samt de lock som tagits bort på en säker plats.
Lock
4. Använd medföljande insexnyckel och sätt fast de 4 försänkta
insexskruvarna , 4 låsbrickorna och 4 isoleringsdistanserna på
de ställen där skydden satt. Se figuren till höger.
(Åtdragningsmoment: 3 till 4 N•m)
• Om isoleringsdistanserna inte monteras under monteringsprocessen,
kan det resultera i att bildskärmen skadas.
Svenska
5. Sätt fast HDMI-kabeln (den som medföljde eller annan) i skärmenheten.
Använd en HDMI-kabel som är lagom lång mellan skärmen och platsen
där mottagarenheten ska monteras.
Anm.
• Detaljerade anvisningar för anslutning av högtalare och annat som följde
med plasma-TV:n och för anslutning av HDMI-kabeln finns i plasma-TV:ns
bruksanvisning.
• Om en trådlös Hi-Vision-enhet ska användas följer du anvisningarna i den
enhetens bruksanvisningar.
48

Uttag i den övre delen
5. Sätta fast bildskärmen i väggfästet
1. Använd positioneringsmärkena på väggen som riktmärken och
Isoleringsdistans i den övre
rikta bildskärmens överkant mot vänster och höger märke.
delen
2. Haka fast de övre isoleringsdistanserna i bildskärmen i
2.
väggfästets övre uttag och sänk ner dem försiktigt på plats.
Hål i den
3. Lyft bildskärmen något och för in de nedre isoleringsdistanserna
undre delen
i väggfästets nedre hål och dra sedan bildskärmen rakt ner så
att distanserna fäster.
IAKTTAG FÖRSIKTIGHET
• Om plasma skärmen lyfts för högt, kommer dess övre del att lossa från
Väggens yta
Väggens yta
väggfästet.
3.
Isoleringsdistans i den
undre delen
4. Dra åt den långa bulten som sattes fast löst i steg 5, avsnitt 3,
så långt det går.
Anm.
• Om du drar åt den långa bulten eller skruven för hårt kan
väggfästet deformeras.
5. Lyft försiktigt bildskärmen något och kontrollera att den sitter
stadigt.
6. Anslut HDMI-kabeln till mottagaren.
4. Lång bult för montering av enheten
Hur man tar bort plasmaskärmen från
4.
väggfästet
Svenska
1. Lägg en mjuk filt eller tygtrasa under plasma-TV:n.
Ta bort den långa bulten eller skruven som sitter på sidan av
väggfästet.
Anm.
• I annat fall kan den långa bulten eller skruven för montering av
enheten falla ut av misstag och repa golvytan.
Väggens yta
Väggens yta
2. Lossa alla kablar som är anslutna till plasma-TV:n.
Lång bult för
3. Samtidigt som du lyfter upp plasmaskärmens underkant, drar du
montering av
den utåt mot dig.
enheten
3.
4. När isoleringsdistanserna i underdelen har lossats, lyfter du
Isoleringsdistans i
plasmaskärmen rakt uppåt.
Filt eller tygtrasa
underdelen
5. Kontrollera att plasma-TV:n, som nu tagits bort från väggfästet, står
Golvyta
upprätt när den flyttas så att inget tryck kan uppstå på bildskärmens
fram- eller baksida.
49

Sikkerhedsforholdsregler
Advarsel
Kontroller, at installationsstedet er stærkt nok til at holde til længere tids brug.
• Hvis dets styrke bliver utilstrækkelig efter længere tids brug, kan skærmen falde ned med risiko for tilskadekomst.
Opsætningsarbejde og tilslutning af udvidelsesudstyr må aldrig foretages af andre end en kvalificeret
installationsspecialist.
• Ukorrekt opsætning kan medføre, at udstyret falder ned, hvilket kan resultere i tilskadekomst.
Medregn en sikkerhedsfaktor, når du vurderer bærestyrken på det sted, hvor opsætning påtænkes.
• Hvis bærestyrken ikke er tilstrækkelig, kan udstyret falde ned, hvilket kan resultere i tilskadekomst.
Opsæt ikke på et sted, der ikke kan bære vægten.
• Hvis opsætningsstedet ikke har den fornødne styrke, kan udstyret falde ned.
Undlad at skille soklen ad og foretage ændringer af den.
• I modsat fald kan apparatet vælte og lide skade, og tilskadekomst kan blive resultatet.
Forsigtig
Opsæt ikke på steder, hvor der forekommer meget fugt, støv, røg, damp eller varme.
• Dette kan have negativ indflydelse på plasma-tv’et og forårsage brand eller elektrisk stød.
Brug ikke andre tv'er end dem, der er nævnt i kataloget.
• I modsat fald kan enheden tabes og blive beskadiget, ligesom det kan medføre personskader.
Arbejdet med opsætning og nedtagning af plasma-tv’et skal udføres af mindst to personer.
• Plasma-tv’et kan falde ned og forårsage tilskadekomst.
Opsæt ikke med ophænget vendt opad, sidelæns eller vendt på hovedet.
• Dette kan forårsage varmeophobning i plasma-tv’et, hvilket kan resultere i brand.
Lad der være en afstand hele vejen omkring plasma-tv’et, dvs. mindst 10 cm over det, mindst 10 cm på
venstre side, mindst 15 cm på højre side og mindst 10 cm under det. Sørg for, at mellemrummet mellem
bagsiden af plasma-tv’et og væggen bag det ikke er blokeret.
• Plasma-tv’et er forsynet med udluftningshuller i toppen, og luftindtagningshuller i bunden og på bagsiden.
Tildækning af disse kan resultere i brand.
Installer kun plasma-tv’et ved at udføre de trin, som er specificeret i disse anvisninger. Installation på andre
måder må ikke udføres.
• I modsat fald kan apparatet vælte og lide skade, og tilskadekomst kan blive resultatet.
Installer monteringsskruerne og netledningen på en sådan måde, at de ikke vil komme i berøring med de
indvendige dele af væggen.
• Elektrisk stød kan blive resultatet af kontakt med metaldele inden i væggen.
Til installationen anvendes de specielle, nødvendige dele.
• I modsat fald kan plasma-tv’et falde ned fra væggen med risiko for tilskadekomst til følge.
Fjern produktet, hvis det ikke længere skal anvendes.
• Ellers er der risiko for at produktet falder ned med personskade som resultat.
At bemærke ved håndtering
1) Udvis forsigtighed, når De vælger stedet for placering af tv’et, da det kan blive misfarvet eller deformeret som
følge af lys eller varme, hvis det placeres, hvor det er udsat for direkte sollys, eller nær et varmeapparat.
Dansk
2) Rengør vægophænget ved at tørre det af med en blød, tør klud (som for eksempel af bomuld eller flannel).
Hvis vægophænget er meget snavset, skal snavset fjernes med et neutralt rengøringsmiddel, som er fortyndet
med vand. Tør derefter efter med en tør klud. Anvend ikke benzen, fortynder eller møbelvoks, da dette kan
bevirke, at overfladebehandlingen skaller af.
(For information om rengøring af displayet, henvises til brugsvejledningen for displayet. Hvis du anvender en
kemisk behandlet klud, skal du følge de anvisninger, der følger med kluden).
3) Sæt ikke klæbebånd eller stickers på produktet. Disse kan misfarve vægophænget. Tillad ikke
længerevarende kontakt med gummi, vinylprodukter og lignende. (Dette De føre til forringelse af produktet).
4) Vær forsigtig under installationen, da stød kan forårsage revner i plasma-tv’ets panel.
Forsigtig:
Dette ophæng er kun beregnet til Panasonic plasmafjernsynsmodeller (Se bagsiden).
Brug med andre apparater kan medføre ustabilitet, som kan resultere i personskade.
PROFESSIONEL INSTALLATION ER PÅKRÆVET.
PANASONIC PÅTAGER SIG INTET ANSVAR FOR EJENDOMSSKADE OG/ELLER ALVORLIG
PERSONSKADE, INKLUSIVE DØD, SOM ER ET RESULTAT AF FEJLAGTIG INSTALLATION ELLER
FORKERT HÅNDTERING.
50

[ Illustrationerne i denne brugsvejledning er kun til
Komponenter
illustrationsformål.]
TY-WK5P1SW Vægophæng (Type til lodret montering)
Dele, der anvendes til at samle vægophænget
Øverste og nederste
Venstre beslag til
Højre beslag til
M5x10-skruer
basis-beslag (2)
ophæng (1)
ophæng (1)
til samling af
anordningen (4)
Dele, som anvendes til installationen
Billede af fuldt samlet anordning
M8×24 unbraco-
Positionsstickere (2)
undersænkskruer (4)
Krumme skiver med
Lang bolt til fastholdelse af
tænder (4)
enheden (1)
M6 x 50 skrue til fastholdelse
af enheden (1)
Isolationsmellemstykker (4)
Unbraconøgle
(medfølgende værktøj) (1)
Bemærk venligst følgende, inden De går videre med installationen:
♦ Plasma-tv’et, som vil blive monteret på vægophænget, består af et display, en tuner og højttalere.
Forsigtighedsregler for opsætning af vægophæng
♦ Vægophænget er til brug ved ophængning af plasma-tv’et, på en lodret væg. Opsæt ikke på en anden
overfladen end en lodret væg.
Dansk
♦
For at sikre at plasma-tv’et virker korrekt og forebygge problemer, må der ikke installeres på følgende lokaliteter.
• Nær sprinklere eller brand- og røgdetektorer
• Hvor der er risiko for udsættelse for vibrationer eller stød
• Nær højspændingsledninger eller dynamiske strømforsyninger
• Tæt på højspændingsledninger eller dynamiske strømkilder
• Steder udsat for luftstrøm fra opvarmningsinstallationer
• Hvor der kan dannes kondensdråber fra et klimaanlæg eller et andet apparat
♦ Foretag opsætning, idet der anvendes teknikker, der passer til strukturen og materialerne på
opsætningsstedet.
♦ Anvend M6 skruer, der fås i handlen og som er egnede til det materiale, som væggens overflade består af
(træ, stålramme, beton, osv.), når ophænget skal sættes op på væggen.
♦ Netledningsstikket skal sættes i en stikkontakt, der er nem at komme til.
♦ Sørg for god luftventilation, således at udstyrets omgivelsestemperatur ikke overstiger 40 °C. Negligeres
dette, kan det medføre varmeophobning i plasma-tv’et, hvilket vil føre til fejlfunktion.
♦ Læg et blødt tæppe eller et stykke stof på gulvet, således at plasma-tv’et og gulvet ikke får mærker eller
ridser under samlingen og installationsarbejdet.
♦
Når De skruer delene fast, skal De sørge for, at skruerne hverken er utilstrækkeligt strammet eller strammet for meget.
♦ Vær påpasselig med at opretholde sikkerheden omkring Dem, når De udfører samlings- og
installationsarbejdet, eller når De bevæger Dem omkring under arbejdet.
♦ Installer ikke plasma-tv under loftslamper (spotlys, halogenlamper etc.). Dette kan bevirke, at kabinettet
bliver skævt eller på anden måde lider skade på grund af den stærke varme.
51

[ Anvend aldrig nogen anden metode til
Opsætningsprocedure
installation end den specificerede.]
1. Samling af vægophænget
1. Fjern de skruer, der fastholder
Inderside: 46 tommers model
basisenhedens venstre og højre
Yderside: 50 eller 54 tommers
beslag.
Skrue til fastholdelse af
model
basis-beslag
2. Anbring det øverste og nederste
basisbeslag og de venstre og højre
basisbeslag og som vist på
Øverste og nederste beslag
illustrationen.
Venstre beslag til
3. Sæt tapperne på basisenhedens venstre
ophæng
og højre beslag ind i udskæringerne i
de øverste og nederste basis-beslag og
fastgør dem ved hjælp af de to skruer til
samling af delen.
(Stramningsmoment: 1,2 til 1,5 N•m)
4. Åbn bunden af de venstre og højre
basis-beslag og sæt deres tapper ind i
Tap
udskæringerne på i de øverste og nederste
basis-beslag og fastgør dem ved hjælp af
de to skruer til samling af delen.
Udskæring
(Stramningsmoment: 1,2 til 1,5 N•m)
Højre beslag til
M5x10-skruer til samling af
ophæng
anordningen
5. Stram de skruerne, der fastholder de
venstre og højre basis-beslag, som
Øverste og nederste beslag
løsnedes i trin 1.
Bemærk:
• Hold venligst i venstre og højre basis-
beslag til ophængning, når du arbejder med
vægophænget. Hvis du holder i øverste og
nederste basis-beslag, kan enheden blive
deformeret.
Enhed: mm
2. Bekræftelse af installationsstedets
600
44080 80
styrke
1. Vægophænget vejer omkring 2,3 kg.
Se brugsvejledningen for plasma-tv’et og kontroller vægten
af det plasma-tv’, som skal anbringes i vægophænget.
Dansk
2. Se tegningen af vægophænget, som vises til højre,
og kontroller væggens styrke ved de seks viste
installationspunkter. Sørg for tilstrækkelig forstærkning,
hvis styrken ved et eller flere af disse punkter er
utilstrækkelig.
Bemærk:
• Der er fem forudborede monteringshuller i undersiden af
59.5 17.5325
vægophænget.
Anvend de ekstra huller, hvis træ eller andre materialer anvendes
til væggen og en tilstrækkelig monteringsstyrke ikke kan opnås
Vægmonteringshuller (på 6 steder)
ved at fastgøre anordningen ved de seks positioner, som vises til
Anvend altid skruerne til at fastgøre anordningen.
højre.
Vær dog opmærksom på, at afhængigt af hvilke materialer
monteringsoverfladen er lavet af, kan der opstå revner i
overfladen, hvis skruerne anvendes i positioner, der sidder for tæt
ved hinanden.
• Monter eller anbring kun plasma-tv’et på anordningen. Andre
apparater må ikke anbringes på den.
• For detaljer om de anvendte mål, når plasma-tv’et monteres,
henviser vi til tegningen (se bagsiden).
52

3.
Installation af vægophænget på væggen
Bemærk:
I tilfælde af en 46 tommers model, skal
• Hvis det er nødvendigt at indlejre bolte eller møtrikker i væggen
den længde, som skruerne og boltene
inden installationen af vægophænget fordi væggen er lavet af
stikker frem, begrænses til under 5 mm.
beton, for eksempel, skal hullernes positioner bestemmes ved
at man anbringer den faktiske vægophængsanordning på plads
på væggen eller ved at man beregner hulpositionerne ud fra
tegningen og derefter indlejrer bolte og møtrikker med en nominel
diameter på 6 mm eller tilsvarende.
Når du indlejrer boltene, skal du sikre dig, at deres hoveder stikker
10 mm til 15 mm ud fra vægfladen.
I tilfælde af en 46 tommers model, skal den længde, som
skruerne og boltene, der anvendes i midterhullerne på de
øverste og nederste basis-beslag (3 huller på hvert beslag)
stikker frem, begrænses til under 5 mm.
• Til installation af vægophænget på væggen skal der anvendes
skruer med en nominel diameter på 6 mm eller tilsvarende, som
kan fås hos isenkræmmeren, og som er velegnede til materialet
på væggens installationssted.
• Fastgør skruerne på mindst seks steder.
1. Installer vægophænget således, at dets pilemarkeringer viser
opad.
2. Fastgør først og fremmest skruen i det øverste midterhul .
3. Anvend et vaterpas for at sikre, at anordningen ikke hælder
til en af siderne, og stram derefter skruerne i de fem
tilbageværende huller.
Pile
4. For at få en rettesnor med hensyn til montering af plasma-
Enhed: mm
tv’et, skal man sætte de to positionsstickere på væggen
(Eksemplet viser, hvor stickerne
på de samme steder som vist på illustrationen til højre.
sættes på 54-tommers modellen)
Angående påsætningspositionen (en til venstre og en til
Positionsstickere
Positionsstickere
højre), henvises til tegningerne (se bagsiden).
a: 414a: 414
• Positionsseglene er påsat på positioner, som er 80 mm over
(80)
plasma-tv’et.
Dansk
b: 345
5. Stram den lange bolt til fastholdelse af enheden løseligt
(ved at dreje bolten 2 eller 3 omdrejninger) i det skruehul,
der sidder under den højre side på basisenhedens højre
beslag.
Lang bolt til fastholdelse af
Bemærk:
enheden
• Hvis kun displayet på 46-tommers model skal anvendes, vil den
lange bolt til fastholdelse af enheden være synlig fra højre side.
Hvis betingelserne for installation eller andre forhold er sådan, at
denne bolt ikke kan ses, skal man anvende skruen til fastholdelse
af enheden i stedet til at fastholde enheden løseligt. Anvend i
dette tilfælde en lang Phillips-skruetrækker (mindst 40 cm lang).
53

Opsætningsprocedure
4. Installation af isolationsmellemstykker på
displayet
1. Fjern den øverste del af den ydre papkasse, som anvendes til plasma-
tv’et, og træk den beskyttende pose ned.
Sørg for støtte fortil, så det sikres, at plasma-tv’et ikke vælter.
2. Åbn tilbehørspuden.
Tilbehørspude
Fjern installationsstativet, tilbehørskassen og højttalerkassen fra den
ydre papkasse.
3. Fjern de fire hætter fra displayet ved hjælp af en Phillips-skruetrækker.
Hætte
Stjerneskruetrækker
Bemærk:
• Opbevar installationsstativet tillige med de hætter, der fjernedes, på et sted,
hvor de ikke bortkommer.
Hætte
4. Monter ved hjælp af den medfølgende unbraconøgle de fire
unbraco-undersænkskruer , krumme skiver med tænder og 4
isolationsmellemstykker , som sidder på de steder, hvor hætterne
sad, som vist på illustrationen til højre.
(Stramningsmoment: 3 til 4 N•m)
• Hvis isolationsmellemstykkerne ikke monteres under samlingen, kan det
medføre beskadigelse af skærmen.
Dansk
5. Forbind HDMI-kablet (enten det medfølgende eller et der er anskaffet
separat), til displayet.
Anvend HDMI-kablet med den længde, som er passende til den afstand,
på hvilken tuneren skal installeres.
Bemærk:
• Angående detaljer om, hvordan højttalerne og andre dele, som følger med
plasma-tv’et, monteres og hvordan man sætter HDMI-kablet i forbindelse,
henvises til betjeningsvejledningen for plasma-tv’et.
• Hvis en fuld Hi-Vision trådløs enhed skal anvendes, skal man følge de
anvisninger, som gives i enhedens betjeningsvejledning.
54

Øverste udskæring
5. Montering og fastgørelse af displayet til
vægophænget
Øverste
1. Ret toppen af displayet til venstre og højre ind efter
isolationsmellemstykke
positionsstickerne, som er sat på væggen som retningslinjer.
2.
2. Sæt isolationsmellemstykkerne ved toppen af displayet ind
i udskæringerne øverst på beslagenheden og sænk dem
langsomt på plads.
Hul i bunden
3. Løft displayet en smule og sæt samtidigt de nederste
isolationsmellemstykker ind i hullerne i den nederste ende af
vægophænget og træk derefter displayet lige ned og på plads.
Vægflade
Vægflade
FORSIGTIG
• Hvis plasma-tv’et løftes for meget, vil dets øverste del går af
3.
vægophænget.
Nederste
isolationsmellemstykke
4. Stram den lange bolt til fastholdelse af enheden , som
fastgjordes løseligt i trin 5 i sektion 3, indtil den ikke kan komme
længere.
Bemærk:
• Hvis den lange bolt til fastholdelse af enheden eller skruen til
fastholdelse af enheden strammes for meget, kan resultatet blive, at
beslaget bliver bøjet ud af form.
5. Løft displayet en smule og kontroller, at det sidder godt på
plads.
4. Lang bolt til fastholdelse af
enheden
6. Slut HDMI-kablet til tuneren.
Hvordan plasma-tv’et tages af
4.
vægophænget
1. Anbring et blødt tæppe eller et klæde under plasma-tv’et.
Fjern den lange bolt til fastholdelse af enheden eller skruen
til fastholdelse af enheden , som er fastgjort til siden af
vægophænget.
Bemærk:
Dansk
• Vær forsigtig, da den lange bolt til fastholdelse af enheden eller
Vægflade
Vægflade
skruen til fastholdelse af enheden ellers kan falde ned ved en
fejltagelse, hvorved der kan komme mærker på gulvet.
Lang bolt til
2. Tag de ledninger, som forbinder plasma-tv’et til de andre enheder,
fastholdelse af
ud af forbindelse.
enheden
3.
3. Løft undersiden af plasma-tv’et og træk samtidigt plasma-tv’et mod
Isolationsstykker
dig.
Tæppe eller klæde
på undersiden
4. Løft plasma-tv’et lige op, når isolationsstykkerne på undersiden er
frigjort.
Gulvflade
5. Sørg for, at plasma-tv’et, som nu er taget af vægophænget, holdes
opret, mens det håndteres, så der ikke er nogen belastning på dets
for- og bagside.
55

Меры предосторожности
ПРЕДУПРЕЖДЕНИЕ
Убедитесь в том, что место установки достаточно прочное, чтобы выдержать продолжительное использование.
• Если в результате продолжительного использования прочность станет недостаточной, дисплей может
опрокинуться, что может привести к травме.
Не допускайте выполнения установочных работ и удлинения подсоединенного оборудования
лицами, не являющимися квалифицированными специалистами по установке.
• Неправильная установка может привести к опрокидыванию оборудования, что может привести к травме.
При учете прочности предлагаемой позиции установки принимайте во внимание коэффициенты надежности.
• Недостаточная прочность привести к опрокидыванию оборудования, что может привести к травме.
Не выполняйте установку в местах, которые не способны выдерживать нагрузку.
• Если прочность в месте установки станет недостаточной, оборудование может упасть.
Не разбирайте и не переделывайте кронштейн для крепления на стену.
• Это может вызвать поломку или падение дисплея, а также привести к травмам.
ПРЕДОСТЕРЕЖЕНИЕ
Не используйте телевизоры и дисплеи, отличающиеся от приведенных в каталоге.
• В противном случае аппарат может упасть и повредиться, и это может привести к травме.
Не выполняйте установку в местах, подверженных воздействию влажности, пыли, дыма, пара или нагревания.
• Это может оказать отрицательное влияние на плазменный телевизор и привести к возгоранию или
поражению электрическим током.
Работы по установке и удалению плазменного телевизора должны выполняться, по крайней мере, вдвоем.
• Плазменный телевизор может упасть и вызвать травмы.
Не устанавливайте экраном, обращенным вверх, в сторону или вниз.
• Это может привести к накоплению тепла внутри плазменного телевизора, что может вызвать пожар.
Оставьте свободное пространство вокруг плазменного телевизора, по крайней мере, 10 см сверху, по
крайней мере, 10 см слева, по крайней мере, 15 см справа и, по крайней мере, 10 см снизу. Убедитесь
в том, что пространство между задней стороной плазменного телевизора и находящейся позади него
стеной не заблокировано.
• Сверху плазменного телевизора находятся входные отверстия для воздуха, а снизу и сзади находятся
выходные отверстия для воздуха.
Установите плазменного телевизора, выполнив только те шаги, которые указаны в этой Инструкции:
Не устанавливайте телевизор никаким другим способом.
• Это может вызвать неблагоприятное воздействие на функционирование плазменного дисплея, что может
привести к пожару или поражению электрическим током.
Установите крепежные винты и шнур питания таким образом, чтобы они не контактировали с
внутренними частями стены.
• В результате контакта с какими-либо металлическими предметами внутри стены может произойти
поражение электрическим током.
Для выполнения установки используйте специальные компоненты.
• В противном случае плазменного телевизора может упасть со стены, что возможно приведет к травме.
Удалите изделие, которое больше не будет использоваться.
• В противном случае изделие может упасть, и это может привести к травмам.
Правила обращения
1) При выборе места для телевизора необходимо соблюдать осторожность, потому что он может
изменить цвет или деформироваться из-за воздействия света или тепла, если он расположен под
прямым солнечным светом или около обогревателя.
2)
Для очистки протирайте кронштейн для крепления на стену мягкой сухой тканью (например, хлопковой
или фланелевой). Если кронштейн сильно загрязнен, удалите загрязнение с помощью нейтрального
Русский
моющего средства, растворенного в воде, а затем протрите начисто сухой тканью. Не используйте бензин,
растворитель или мебельную ваксу, так как они могут повредить покрытие.
(Относительно информации
о чистке дисплея см. инструкцию по эксплуатации дисплея. При использовании
химически обработанной ткани следуйте инструкции, поставляемой с тканью.)
3) Не прикрепляйте на изделие клейкую ленту или наклейки. Такие действия могут привести к загрязнению
поверхности кронштейна для крепления на стену. Не допускайте длительный контакт с резиной, изделиями
из винила или с чем-
то подобным. (Такие действия приведут к повреждению.)
4) Соблюдайте осторожность во время установки, так как удары могут привести к ‘растрескиванию
панелей’ корпуса плазменного телевизора.
ПРЕДУПРЕЖДЕНИЕ
Этот кронштейн предназначен только для моделей плазменных телевизоров Panasonic (См. заднюю
сторону обложки).
Использование с другими аппаратами может привести к неустойчивости, что возможно приведет к травме.
ТРЕБУЕТСЯ ПРОФЕССИОНАЛЬНАЯ УСТАНОВКА.
КОМПАНИЯ PANASONIC НЕ НЕСЕТ ОТВЕТСТВЕННОСТИ НИ ЗА КАКОЙ УЩЕРБ И/ИЛИ СЕРЬЕЗНЫЕ ТРАВМЫ, ВКЛЮЧАЯ
СМЕРТЬ, ПРОИЗОШЕДШИЕ ВСЛЕДСТВИЕ НЕПРАВИЛЬНОЙ УСТАНОВКИ ИЛИ НЕПРАВИЛЬНОГО ОБРАЩЕНИЯ.
56

[ Изображения, приведенные в этом руководстве,
Компоненты
используются только для пояснительных целей.]
Кронштейн для крепления на стену TY-WK5P1SW (Для вертикального монтажа)
Детали, используемые для сборки кронштейна для крепления на стену
Верхнее и нижнее
Левое крепление основания
Правое крепление
Винты M5x10 для
крепление основания
(2)
кронштейна
(1)
основания кронштейна
(1)
сборки крепежного
приспособления
(4)
Детали, используемые для установки
Вид полностью собранного крепежного
Винты с шестигранной
Установочные наклейки (2)
приспособления
потайной головкой
M8×24 (4)
Выпуклые зубчатые
Длинный болт для
шайбы (4)
закрепления аппарата (1)
Винт M6 x 50 для
закрепления аппарата (1)
Изоляционные
прокладки (4)
Торцовый ключ
(входит в комплект поставки)
(1)
Перед выполнением установки, пожалуйста, обратите внимание на следующие моменты:
♦ Система плазменного телевизора, которая будет прикреплена на кронштейн для крепления на
стену, состоит из дисплея, тюнера и акустических систем.
Меры предосторожности при монтаже кронштейна для крепления на стену
♦
Кронштейн для крепления на стену предназначен для установки плазменного телевизора на вертикальную
стену с целью просмотра. Не устанавливайте на любую другую поверхность, отличную от вертикальной стены.
♦ Чтобы обеспечить правильное функционирование плазменного телевизора и избежать проблем, не
устанавливайте его в следующих местах.
• Около разбрызгивателей системы пожаротушения и/или детекторов возгорания/задымления
• Где есть опасность воздействия вибрации или ударов
• Около проводов высокого напряжения или динамических источников питания
• Около источников магнитных полей, тепла, водяного пара или копоти
Русский
• Местах, подверженных воздействию потока воздуха из нагревательных приборов
• Где могут формироваться капли конденсата от воздушных кондиционеров или других устройств
♦
Выполняйте установку, используя технологии, подходящие для структуры и материалов места установки.
♦ Используйте имеющиеся в продаже винты номинальным диаметром 6 мм, подходящие для материала
стены (дерево, стальной каркас, бетон и т.д.), в котором будет закреплен кронштейн.
♦ Используйте для штепсельной вилки шнура питания телевизора легкодоступную сетевую розетку.
♦ Обеспечьте хорошую вентиляцию, чтобы внутренняя температура оборудования не превышала
40 °C. В противном случае это может привести к накоплению тепла внутри плазменного телевизора,
что может вызвать неисправность.
♦ Расстелите мягкое одеяло или ткань на полу так, чтобы плазменного телевизора и пол не испачкались
и не поцарапались во время работ по сборке и установке.
♦
Во время привинчивания деталей следите за тем, чтобы винты не были затянуты недостаточно и не были затянуты чрезмерно.
♦ Примите достаточные меры, чтобы обеспечить безопасность вокруг Вас при выполнении работ по
сборке и установке или во время перемещения в процессе выполнения работы.
♦
Не устанавливайте этот плазменный телевизор непосредственно под потолочными светильниками (например, под
источниками местного освещения, прожекторного освещения или галогенными лампами), которые обычно выделяют
много тепла. Такие действия могут привести к деформации или повреждению пластмассовых деталей корпуса.
57

[ Ни в коем случае не используйте для установки
Процедура монтажа
методы, отличные от указанного.]
1. Сборка кронштейна для
Внутри: модель с 46-
крепления на стену
дюймовым экраном
1. Удалите винты для прикрепления левого
Снаружи: модель с 50 или 54-
и правого креплений основания
Винт для прикрепления
дюймовым экраном
кронштейна.
крепления основания кронштейна
2. Положите верхнее и нижнее крепления
Верхнее и нижнее крепления
основанияg и левое и правое
крепления основания кронштейна и ,
основания
как показано на рисунке.
Левое крепление
3.
Совместите выступы на левом и правом
основания кронштейна
креплениях основания кронштейна с
вырезами на верхнем и нижнем креплениях
основания, описанных выше, а затем
прикрепите их с помощью двух винтов ,
используемых для сборки кронштейна.
(Крутящий момент: от 1,2 до 1,5 Н•м)
4.
Немного откройте нижнюю часть левого и
правого креплений основания кронштейна
Фиксатор
и совместите их выступы с вырезами на
верхнем и нижнем креплениях основания, а
Вырез
затем прикрепите их с помощью двух винтов
, используемых для сборки кронштейна.
Правое крепление
Винты M5x10 для
(Крутящий момент: от 1,2 до 1,5 Н•м)
основания кронштейна
сборки крепежного
5.
Завинтите винты для прикрепления левого
приспособления
Верхнее и нижнее крепления
и правого креплений основания
основания
кронштейна, которые были отвинчены при
выполнении действий пункта 1.
Примечание
•
При выполнении работ с собранным
кронштейном для крепления на стену,
пожалуйста, держите левое и правое крепления
основания кронштейна. Удерживание верхнего
и нижнего крепления основания может
привести к деформации блока.
Единицы: мм
2.
Проверка прочности позиции установки
600
1. Кронштейн для крепления на стену весит
44080 80
приблизительно 2,3 кг.
Обратитесь к инструкции по эксплуатации плазменного
телевизора и уточните вес плазменного телевизора, который
будет устанавливаться на кронштейн для крепления на стену.
2. Обратитесь к приведенному справа габаритному
чертежу кронштейна для крепления на стену и проверьте
прочность стены в шести указанных местах установки.
Если прочность стены в каком-либо из этих мест
недостаточна, обеспечьте достаточное усиление.
Русский
Примечания
•
Имеются пять предварительно просверленных отверстий для крепления
сверху и еще пять снизу кронштейна для крепления на стену.
59.5 17.5325
Используйте предусмотренные запасные отверстия, если стена
изготовлена из дерева или другого материала, и невозможно
обеспечить достаточный уровень прочности при закреплении
Отверстия для крепления на стену
крепежного приспособления в шести указанных справа местах.
(в 6 позициях)
Однако имейте в виду, что в зависимости от материала,
из которого изготовлена поверхность крепления, при
Обязательно используйте винты для закрепления
использовании винтов в слишком близко расположенных
крепежного приспособления.
местах возможно возникновение трещин на поверхности.
• Закрепляйте или располагайте на крепежном приспособлении
только плазменный телевизор: Не устанавливайте и не
размещайте никакие другие изделия.
• Относительно подробностей о размерах, применяемых
при
креплении плазменного телевизора, обращайтесь к
габаритному чертежу (См. заднюю сторону обложки).
58

3. Установка на стену кронштейна для
крепления на стену
Примечания
В случае модели с 46-дюймовым
•
Если необходимо заделать в стену винты или гайки до установки
экраном ограничьте расстояние,
кронштейна для крепления на стену, например, если стена
на которое выступают винты и
сделана из бетона, укажите места отверстий, поместив на
болты, до 5 мм.
место крепления на стене реальное крепежное приспособление
для крепления на стену, или вычислив места для отверстий
по габаритному чертежу, а затем заделайте винты и гайки
с
номинальным диаметром 6 см или эквивалентные им.
При заделывании болтов проверьте, чтобы их головки
выступали из поверхности стены на 10-15 мм.
В случае модели с 46-дюймовым экраном ограничьте расстояние,
на которое винты и болты, использующиеся в центральных
отверстиях верхнего и нижнего креплений основания (3 отверстия
для каждого крепления) выступают из стены, до 5 мм.
•
Для установки на стену кронштейна для крепления на стену
используйте винты с номинальным диаметром 6 мм или
эквивалентные им, приобретя их в магазине скобяных изделий, и
подходящие для материала стены в области установки.
• Прикрепите винты как минимум в шести местах.
1. Установите кронштейн для крепления на стену так, чтобы
нанесенные на нем стрелки указывали вверх.
2. Прежде всего, закрепите винт в центральном верхнем
отверстии .
3. Используйте уровень, чтобы убедиться в том, крепежное
приспособление не наклонено с одной стороны, а затем
Стрелки
закрепите винты в пяти оставшихся отверстиях.
4. Чтобы обозначить ориентир для прикрепления
Единицы: мм
плазменного телевизора приклейте две установочные
(Образец, показывающий места приклеивания
наклейки на стену в таких же самых местах, как
наклеек для модели с 54-дюймовым экраном)
показано на рисунке справа. Относительно подробностей
Установочные наклейки
Установочные наклейки
о местах наклеивания (одно слева и одно справа)
a: 414a: 414
обращайтесь к габаритным чертежам (См. заднюю
(80)
сторону обложки).
• Установочные наклейки приклеены в местах на 80 мм выше
плазменного телевизора.
b: 345
Русский
5.
Свободно зафиксируйте длинный болт для прикрепления
аппарата (повернув болт на 2 или 3 оборота) в
отверстии для винта, расположенном под правой
стороной правого крепления основания кронштейна .
Примечание
Длинный болт для
закрепления аппарата
• Только в случае использования модели с 46-дюймовым экраном
длинный болт для крепления аппарата будет виден с
правой стороны. Если условия установки или другие факторы
приводят к тому, что болт выглядит некрасиво, используйте
вместо него винт для крепления аппарата , чтобы нежестко
зафиксировать аппарат. В этом случае воспользуйтесь длинной
крестовой
отверткой (длиной не менее 40 см).
59

Процедура монтажа
4. Прикрепление изоляционных прокладок к
дисплею
1. Удалите верхнюю часть внешней картонной коробки,
использующейся для плазменного телевизора, и снимите
защитный пакет.
Чтобы не допустить падения телевизора, поддерживайте его
спереди.
2. Откройте дополнительную прокладку.
Дополнительная прокладка
Удалите установочную стойку, дополнительную коробку и коробку
акустических систем с внешней картонной коробки.
3. С помощью крестовой отвертки удалите с дисплея четыре
Колпачок
колпачка.
Крестовая отвертка
Примечание
• Сохраните установочную стойку, а также снятые колпачки в надежном
Колпачок
месте.
4. Using the supplied Allen wrench , mount the 4 Allen head
countersunk screws , 4 dished toothed washers and 4 insulation
spacers provided at the locations where the caps were attached, as
shown in the figure on the right.
(Tightening torque: 3 to 4 N•m)
• If the insulation spacers are not attached during the assembly process,
the display unit may be damaged as a result.
5. Connect the HDMI cable (either the one provided or one obtained
separately) to the display unit.
Use the HDMI cable in the length which is appropriate for the distance
from where the tuner unit is to be installed.
Русский
Notes
• For details on how to attach the speakers and other parts packed with
the plasma TV unit and to connect the HDMI cable, refer to the operating
instructions of the plasma TV unit.
• When a full Hi-Vision wireless unit is to be used, follow the instructions given in
the unit’s operating instructions.
60

Вырез сверху
5. Прикрепление и фиксация дисплея на
кронштейне для крепления на стену
Изоляционная прокладка
1. Используя наклеенные на стену установочные наклейки
сверху
в качестве направляющих, выровняйте верхнюю часть
дисплея слева и справа.
2.
2. Вставьте изоляционные прокладки на верхней части
Отверстие
дисплея в вырезы на верхней части кронштейна и медленно
сверху
опустите их на место.
3. Немного приподнимая дисплей, вставьте нижние
изоляционные прокладки в отверстия на нижней части
кронштейна для
крепления на стену, а затем опустите
дисплей прямо на место.
Поверхность стены
Поверхность стены
ПРЕДОСТЕРЕЖЕНИЕ
3.
• Если плазменный телевизор поднять слишком сильно, его верхняя
часть станет выступать из кронштейна для крепления на стену.
Изоляционная
прокладка снизу
4. Завинтите длинный винт для крепления аппарата ,
который был свободно зафиксирован при выполнении
действий пункта 5 раздела 3, пока он не будет завинчен до
упора.
Примечание
• Слишком сильное завинчивание длинного болта для крепления
аппарата или винта для крепления аппарата может привести
к деформации кронштейна.
5. Слегка приподнимите дисплей и проверьте, надежно ли он
4. Длинный болт для закрепления
зафиксирован на месте.
аппарата
6. Подсоедините кабель HDMI к тюнеру.
Как снять плазменный телевизор с
4.
кронштейна для крепления на стену
1. Поместите мягкое одеяло или кусок ткани под плазменный
телевизор.
Удалите длинный болт для крепления аппарата или винт для
крепления аппарата , который прикреплен к боковой стороне
кронштейна для крепления на стену.
Примечание
• В противном случае длинный болт для закрепления аппарата
или винт для закрепления аппарата могут по ошибке упасть,
Длинный
Поверхность стены
Поверхность стены
оставив следы на поверхности пола.
болт для
закрепления
Русский
2. Отсоедините провода, соединяющие плазменный телевизор с
аппарата
3.
другими устройствами.
Одеяло или
Изоляционная
3. Поднимая нижнюю часть плазменного телевизора, потяните
кусок ткани
прокладка снизу
плазменный телевизор на себя.
4. После того как снизу будут сняты изоляционные
прокладки,
Поверхность пола
поднимите плазменный телевизор прямо вверх.
5. Убедитесь в том, что плазменный телевизор, который теперь
снят с кронштейна для крепления на стену, располагается
вертикально, чтобы при обращении с ним к его передней или
задней панели не прилагалось никакого давления.
61

Запобіжні заходи
ПОПЕРЕДЖЕННЯ
Переконайтеся, що місце, де монтуватиметься виріб, достатньо міцне для забезпечення тривалого використання
кріплення.
•
Якщо з часом міцність стане недостатньою, дисплей може впасти і завдати травми.
Усі роботи з монтажу і підключення з’єднувального обладнання повинен виконувати кваліфікований спеціаліст.
• Неналежно виконаний монтаж може спричинити падіння виробу і призвести до травмування.
Під час розрахунку міцності вибраного місця для монтажу враховуйте коефіцієнт безпеки.
•
Якщо міцність монтажу буде недостатньою, виріб може впасти і завдати травми.
Не встановлюйте виріб у місцях, непридатних для витримування навантажень.
• Якщо місце для монтажу недостатньо міцне, виріб може впасти.
Не розбирайте і не модифікуйте настінний кронштейн.
• Це може призвести до пошкодження або падіння дисплея і отримання внаслідок цього травми.
ЗАСТЕРЕЖЕННЯ
Використовуйте лише ті телевізори та дисплеї, які наведені у каталозі.
• Інакше виріб може впасти і пошкодитися, водночас спричиняючи ризик отримання травм.
Не встановлюйте виріб у місцях із підвищеною вологістю, скупченням пилу, димом, водяною парою або
високою температурою.
• Ці чинники можуть негативно впливати на роботу плазмового телевізора, а також стати причиною пожежі чи
ураження електричним струмом.
Усі роботи зі встановлення та демонтажу плазмового телевізора мають виконуватися щонайменше двома людьми.
• Інакше виріб може впасти і завдати травми.
Не встановлюйте плазмовий дисплей лицьовою стороною вгору, на боці або нижньою стороною
догори.
• Це може спричинити скупчення тепла всередині телевізора, внаслідок чого може виникнути пожежа.
Залиште місце навколо плазмового телевізора - щонайменше 10 см зверху, 10 см ліворуч, 15 см
праворуч та 10 см унизу. Переконайтесь, що простір між задньою панеллю плазмового телевізора та
стіною не заблоковано.
•
Плазмовий телевізор має отвори для продуву повітря зверху та отвори для всмоктування повітря знизу та позаду.
Для установки плазмового телевізора використовуйте лише ті дії, які наведені в цих інструкціях: не
встановлюйте пристрій у жодний інший спосіб.
•
Недотримання цієї вимоги може призвести до падіння та пошкодження пристрою, а також травмування людини.
Закріпіть монтажні гвинти і кабель живлення таким чином, щоб вони не торкалися внутрішніх деталей стіни.
• Недотримання цієї вимоги може призвести до ураження електричним струмом від контакту з будь-якими
металевими предметами всередині стіни.
Використовуйте для установки спеціальні складові частини.
• Недотримання цієї вимоги може призвести до падіння плазмового телевізора зі стіни з можливим
травмуванням людини.
Демонтуйте виріб, котрий надалі не використовуватиметься.
• Інакше виріб може впасти та завдати травми.
Рекомендації стосовно поводження
1) Уважно вибирайте місце для встановлення телевізора, оскільки внаслідок дії світла або тепла (у разі
розміщення поблизу нагрівальних приладів або під прямим сонячним промінням) він може втратити
колір чи деформуватись.
2)
Чистьте настінний кронштейн м’якою сухою тканиною (наприклад бавовняною або фланелевою). Якщо
кронштейн сильно забруднено, змийте бруд водним розчином нейтрального миючого засобу, а потім
витріть кронштейн сухою тканиною. Не використовуйте бензол, розчинник або віск для меблів, тому що їх
застосування може призвести до відлущення фарби покриття.
(Щоб дізнатися, як чистити
дисплей, див. інструкцію до дисплея. При використанні хімічно обробленої тканини
спочатку уважно прочитайте інструкції до неї.)
3) Не прикріпляйте липку стрічку чи наліпки до виробу. Це може призвести до забруднення поверхні настінного
кронштейна. Запобігайте тривалому контакту пристрою з гумовими, вініловими та подібними виробами. (Це
призведе до погіршення властивостей пристрою.)
Українська
4) Будьте обережними під час встановлення виробу, оскільки струси можуть спричинити появу тріщин на
плазмовому дисплеї.
ЗАСТЕРЕЖЕННЯ
Цей настінний кронштейн призначений лише для плазмових дисплеїв Panasonic (Див. задній бік
обкладинки)
Використання з іншими пристроями може призвести до ненадійної фіксації, що може спричинити ризик
отримання травм.
МОНТАЖ ПОВИНЕН ВИКОНУВАТИСЬ СПЕЦІАЛІСТАМИ.
КОМПАНІЯ PANASONIC НЕ НЕСЕ ВІДПОВІДАЛЬНОСТІ ЗА БУДЬ-ЯКІ ПОШКОДЖЕННЯ ВЛАСНОСТІ
ТА/АБО СЕРЙОЗНІ ТРАВМИ, ВКЛЮЧАЮЧИ СМЕРТЬ, ЩО Є НАСЛІДКОМ НЕВІДПОВІДНОГО МОНТАЖУ
АБО НЕПРАВИЛЬНОГО ОБСЛУГОВУВАННЯ.
62

[ Зображення у цьому посібнику подаються лише з
Деталі
ілюстративною метою.]
Настінний кронштейн TY-WK5P1SW (Для вертикального монтажу)
Деталі для збирання настінного кронштейна
Верхні та нижні
Ліве кріплення основи
Праве кріплення основи
Гвинти М5х10
кріплення основи (2)
кронштейна (1)
кронштейна (1)
для збирання
конструкції
(4)
Деталі для монтажу
Вигляд повністю зібраної конструкції
Гвинти з утопленими
Розташувальні наклейки (2)
головками із внутрішнім
шестигранником M8×24 (4)
Увігнуті зубчасті шайби (4) Довгий болт для
закріплення пристрою (1)
Гвинт M6 x 50 для
закріплення пристрою (1)
Ізоляційні прокладки (4)
Торцевий ключ
(входить до комплекту) (1)
Зверніть увагу на наступну інформацію, перш ніж розпочинати встановлення:
♦ Плазмовий телевізор у комплекті, що буде приєднано до настінного кронштейна, складається з
дисплея, тюнера та динаміків.
Застережні заходи під час монтажу настінного кронштейна
♦ Настінний кронштейн використовується для закріплення плазмового телевізора на вертикальній стіні
для перегляду. Кронштейн дозволяється монтувати лише на вертикальній стіні.
♦ Щоб забезпечити належне функціонування плазмової панелі і запобігти виникненню несправностей, не
слід встановлювати телевізор у таких місцях:
• Поблизу розприскувачів або пожежних/димових детекторів
• В місцях, де є ризик вибуху
через вібрацію або поштовхи
• Поблизу високовольтних дротів або динамічних блоків живлення
• Поблизу джерел магнітного поля, тепла, пари або сажі
• В місцях, що піддаються впливу повітря, що видувається з опалювального обладнання
•
В місцях, де можуть утворюватись краплі конденсату від кондиціонерів повітря або іншого обладнання.
♦ Під час монтажу використовуйте метод кріплення, який найбільше відповідає структурі та матеріалу
поверхні, на якій встановлюватиметься кронштейн.
♦ Використовуйте наявні у продажу гвинти із номінальним діаметром 6 мм, які відповідають матеріалу
Українська
стіни, до якої кріпиться кронштейн (дерево, сталева конструкція, бетон тощо).
♦ Штепсель шнура живлення плазмового телевізора повинен легко діставати до
електричної розетки.
♦ Слід забезпечити нормальну вентиляцію, щоб температура у приміщенні, де знаходиться плазмовий
телевізор, не перевищувала 40 °C.
♦ Розстеліть м’яку ковдру або тканину на підлозі для того, щоб під час складання та монтажу дисплей та
підлога не подряпалися.
♦ При скріпленні деталей не затягуйте гвинти занадто сильно, але й
не допускайте недостатнього
затягування.
♦ Під час виконання робіт зі складання та монтажу або при пересуванні приділіть особливу увагу безпеці
робочого місця.
♦ Не можна монтувати плазмовий телевізор безпосередньо під освітленням на стелі (таким як точкові
світильники, прожектори або галогенні лампи), що зазвичай випромінює велику кількість тепла.
63

[ Використовуйте лише зазначені методи монтажу.]
Монтаж
1. Збирання настінного
Внутрішній бік: модель 46
кронштейна
дюймів
1. Вийміть гвинти, що фіксують ліве та
Зовнішній бік: модель 50 або
праве кріплення основи кронштейна.
Гвинт для фіксації кріплення
54 дюйма
основи кронштейна
2. Покладіть верхні та нижні кріплення
основи та ліве та праве кріплення
Верхні та нижні кріплення
основи кронштейна та , як показано
основи
на малюнку.
Ліве кріплення основи
кронштейна
3. Вставте упори лівого та правого
кріплення основи кронштейна у вирізи
верхніх і нижніх кріплень основи,
закріпіть
їх за допомогою двох гвинтів
для збирання кронштейна.
(Момент затягування: 1,2-1,5 Н•м)
4. Частково відкрийте нижню частину
лівого та правого кріплення основи
Виступ
кронштейна, вставте упори у вирізи
верхніх і нижніх кріплень основи,
Виріз
закріпіть їх за допомогою двох гвинтів
для збирання кронштейна.
Праве кріплення
Гвинти М5х10 для
(Момент затягування: 1,2-1,5 Н•м)
основи кронштейна
збирання конструкції
Верхні та нижні кріплення
5. Затягніть гвинти, щоб
закріпити ліве та
основи
праве кріплення основи кронштейна,
які було послаблено під час кроку 1.
Примітка
• Утримуйте ліве та праве кріплення основи
кронштейна під час роботи із зібраним
настінним кронштейном. Утримання
верхнього та нижнього кріплень основи може
призвести до деформації виробу.
Одиниці виміру: мм
2. Перевірка міцності стіни в місцях
600
44080 80
монтажу
1. Настінний кронштейн важить приблизно 2,3 кг.
Дивіться інструкцію до плазмового телевізора, щоб
перевірити вагу телевізора, який буде закріплено на
настінному кронштейні.
2. Дивіться схематичне креслення настінного кронштейна
праворуч, щоб перевірити міцність стіни в шести
місцях монтажу конструкції. Якщо будь-яке з цих місць
недостатньо надійне, додатково укріпіть його.
Примітки
• П’ять попередньо просвердлених отворів розміщені у верхній
59.5 17.5325
частині, а інші п’ять — у нижній частині настінного кронштейна.
Використовуйте додаткові отвори, якщо стіну зроблено
з дерева або іншого матеріалу, що не дозволяє досягти
Отвори для кріплення до стіни у 6 місцях
Українська
потрібного рівня міцності кріпленням конструкції в шести
Обов’язково використовуйте гвинти для
місцях, як показано на кресленні праворуч.
Однак майте на увазі,
що залежно від матеріалу, з якого
закріплення конструкції.
зроблено стіну, на поверхні можуть з’явитися тріщини, якщо
гвинти будуть розташовані дуже близько один до одного.
• Прикріплюйте до конструкції лише плазмовий телевізор: Не
намагайтеся прикріпити до неї жоден інший пристрій.
• Щоб отримати інформацію про точні розміри змонтованого
плазмового телевізора, дивіться схематичне креслення
(
Див. задній бік обкладинки).
64

3. Прикріплення настінного
кронштейна до стіни
Примітки
Для моделі 46 дюймів не
•
Якщо необхідно вмонтувати гвинти або гайки перед монтажем
допускайте виступання гвинтів
настінного кронштейна, оскільки стіна зроблена з бетону, розмітьте
і болтів більш ніж на 5 мм.
стіну, приклавши до неї кронштейн або вирахувавши відстань між
отворами за допомогою креслення, а після цього вмонтуйте гвинти
та гайки з номінальним діаметром 6 мм або еквівалентні.
Вмонтовуючи гвинти, переконайтеся, що вони залишаються
висунутими на відстані від 10 до 15 мм від поверхні.
Для моделі 46 дюймів не допускайте виступання зі стіни
гвинтів і болтів, що використовуються у центральних отворах
верхніх і нижніх кріплень основи (3 отвори у кожному
кріпленні), більш ніж на 5 мм.
• Для монтажу настінного кронштейна використовуйте гвинти з
номінальним діаметром 6 мм або еквівалентні, що придбані
в господарчому магазині і придатні для матеріалу
стіни в
області монтажу.
• Закріпіть гвинти щонайменше в шести місцях.
1. Установіть настінний кронштейн таким чином, щоб
стрілки на ньому були спрямовані вгору.
2. Спершу закрутіть гвинт у верхньому центральному
отворі .
3. За допомогою рівня відрегулюйте горизонтальне
положення конструкції, після чого закрутіть гвинти у
Стрілки
п’ятьох отворах, що залишились.
4. Щоб намітити контрольні лінії кріплення телевізора,
Одиниці виміру: мм
приклейте дві розташувальні наклейки до стіни
у місцях, показаних на схемі праворуч. Позиції для
(Для прикладу відображено, де
наклеювання (одна ліворуч, одна праворуч) дивіться на
приклеюються
наклейки для моделі 54 дюймів)
схематичному кресленні (Див. задній бік обкладинки)
Розташувальні
Розташувальні
• Розташувальні стрічки наклеюються на 80 мм вище
наклейки
наклейки
плазмового телевізора.
a: 414a: 414
(80)
b: 345
5. Несильно закрутіть довгий болт для кріплення пристрою
Українська
(два-три оберти) в отвір із різьбленням під правою
частиною правого кріплення основи кронштейна.
Примітка
Довгий болт для
• Лише для моделі 46 дюймів довгий болт для закріплення
закріплення пристрою
пристрою буде видно з правої сторони. Якщо через
умови встановлення або інші фактори цей болт виглядає
непривабливо, використайте замість нього гвинт для
закріплення пристрою , щоб несильно закріпити пристрій.
У цьому випадку використовуйте хрестоподібну викрутку
(довжиною щонайменше 40 см).
65

Монтаж
4. Прикріплення ізоляційних прокладок до
дисплея
1. Зніміть верхню частину зовнішньої картонної коробки від
плазмового телевізора та приберіть захисний пакет.
Щоб переконатися, що плазмовий телевізор не перекинеться,
потурбуйтесь про підставку спереду.
2. Відкрийте додаткову панель.
Додаткова панель
Вийміть монтажну підставку, коробку з приладдям і коробку з
динаміком із зовнішньої картонної коробки.
3. За допомогою хрестоподібної викрутки зніміть із дисплея чотири
Ковпачок
ковпачки.
Хрестоподібна викрутка
Примітка
• Тримайте монтажну підставку і також зняті кришки в надійному місці.
Ковпачок
4. За допомогою торцевого ключа (входить до комплекту)
установіть 4 гвинти з утопленими головками із внутрішнім
шестигранником , 4 увігнуті зубчасті шайби та 4 ізоляційні
прокладки у місцях, де було прикріплено ковпачки, як показано
на схемі праворуч.
(Момент затягування: 3-4 Н•м)
• Якщо під час монтажу не прикріпити ізоляційні прокладки , в
результаті може бути пошкоджено дисплей.
5. Під’єднайте кабель HDMI (з комплекту або придбаний окремо) до
дисплея.
Використовуйте кабель HDMI достатньої довжини для з’єднання
дисплея і тюнера.
Примітки
• Докладну інформацію щодо під’єднання динаміків та інших деталей
плазмового телевізора, а також під’єднання кабелю HDMI, див. в інструкції
з експлуатації плазмового телевізора.
• При використанні бездротового пристрою Hi-Vision дотримуйтесь інструкції
з експлуатації пристрою.
Українська
66

Виріз у верхній частині
5. Прикріплення та фіксація дисплея до
настінного кронштейна
Ізоляційна прокладка у
1. Використовуйте приклеєні до стіни розташувальні наклейки
верхній частині
як контрольні лінії, вирівняйте верхній край дисплея ліворуч
та праворуч.
2.
2. Розташуйте ізоляційні прокладки верхнього краю дисплея
Отвір у нижній
навпроти отворів у верхній частині кронштейна та повільно
частині
опустіть їх на місця.
3. Злегка підіймаючи дисплей, вставте нижні ізоляційні
прокладки до отворів у нижній частині настінного
кронштейна та
потягніть дисплей донизу.
Поверхня стіни
Поверхня стіни
ЗАСТЕРЕЖЕННЯ
• Якщо занадто сильно підняти телевізор, його верхня частина
3.
від’єднається від настінного кронштейна.
Ізоляційна прокладка
в нижній частині
4. Затягніть до кінця довгий болт для закріплення пристрою ,
який було несильно затягнуто під час кроку 5 розділу 3.
Примітка
• Занадто сильне затягнення довгого болта для закріплення
пристрою або гвинта для закріплення пристрою може
спричинити деформацію кронштейна.
5. Злегка підійміть дисплей і впевніться, що його надійно
закріплено на місці.
4. Довгий болт для закріплення
6. Під’єднайте кабель HDMI до тюнера.
пристрою
Від’єднання плазмового телевізора від
4.
настінного кронштейна
1. Підкладіть під плазмовий телевізор м'яку ковдру або тканину.
Видаліть довгий болт для закріплення пристрою або гвинт
для закріплення пристрою , який було прикріплено збоку до
настінного кронштейна.
Примітка
• Якщо цього не зробити, довгий болт для закріплення пристрою
або гвинт для закріплення пристрою можуть випадково випасти
Поверхня стіни
Поверхня стіни
та залишити подряпини на підлозі.
Довгий
болт для
2. Від’єднайте кабелі, що з’єднують плазмовий телевізор із іншими
закріплення
пристроями.
пристрою
3.
3. Піднімаючи нижню частину телевізора, потягніть його на себе.
Ковдра або
Ізоляційна прокладка
тканина
в нижній частині
4. Після від’єднання ізоляційних прокладок у
нижній частині,
просто підніміть телевізор.
Підлога
Українська
5. Переконайтеся, що знятий із настінного кронштейна плазмовий
телевізор розташовано у вертикальному положенні таким
чином, щоб уникнути навантаження на передню чи задню
панелі.
67

中文
68

