Panasonic TYTP42P30K: instruction
Class: Household, kitchen appliances, electronics and equipment
Type:
Manual for Panasonic TYTP42P30K

Model No.
TY-TP42P30K
TY-TP50P30K
TY-TP60P30K
TY-TP65P30K
取扱説明書
Mode d'emploi
Écran Tactile
光学式タッチパネル
業務用
使⽤说明书
Manual de instrucciones
光学式触摸⾯板
Panel Táctil
Operating Instructions
Инструкция по эксплуатации
Touch Panel
Сенсорная панель
Bedienungsanleitung
Басқару нұсқаулары
Touch Panel
Сенсорлық панель
Manuali di istruzioni
Інструкція з експлуатації
Touch Panel
Сенсорна панель
TQZJ400
2

このたびは、パナソニック製品をお買い上げいただき、
保証書別添付
まことにありがとうございます。
●取扱説明書をよくお読みのうえ、正しく安全にお使いください。
●ご使用前に「安全上のご注意」(4ページ)を必ずお読みください。
日本語
●保証書は「お買い上げ日・販売店名」などの記入を確かめ、取扱説明書とともに大切に保管してください。
在连接、操作或调整本产品之前,请仔细阅读相关说明。
请保管好说明书以备⽇后查阅。
中⽂
Before connecting, operating or adjusting this product, please read these instructions
completely.
Please keep this manual for future reference.
English
Bitte lesen Sie diese Bedienungsanleitung vollständig durch, bevor Sie dieses Gerät anschließen, in
Betrieb nehmen oder einstellen.
Bitte bewahren Sie diese Anleitung anschließend für spätere Bezugnahme griffbereit auf.
Deutsch
Prima di collegare, far funzionare o regolare questo prodotto, leggere completamente queste
istruzioni.
Conservare questo manuale per riferimenti futuri.
ItalianoEspañol
Avant d’effectuer les connexions, d’utiliser ou de régler cet appareil, veuillez lire dans son intégralité
ce mode d’emploi.
Veuillez le conserver pour toute consultation ultérieure.
FrançaisРусский
Antes de conectar, operar o ajustar este producto, le rogamos que lea estas instrucciones de
principio a fin.
Sírvase guardar este manual para futuras consultas.
Перед подсоединением, эксплуатацией или настройкой данного изделия, пожалуйста,
полностью прочитайте данную инструкцию.
Сохраните данное руководство для последующего использования.
Бұл өнімді қосу, басқару не реттемес бұрын осы нұсқауларды толығымен оқып шығыңыз.
Бұл нұсқаулықты алдағы уақытта пайдалану үшін сақтаңыз.
Казахский
Перш ніж підключати, починати експлуатацію і регулювати цей пристрій, просимо
повністю
прочитати цю інструкцію.
Зберігайте цей посібник для отримання довідок у майбутньому.
Українська
3

もくじ
■安全上のご注意....................................... 4
■動作条件................................................ 11
■お手入れ/上手な使いかた................... 6
■製品仕様................................................ 12
日本語
■構成部品................................................... 7
■外形寸法図............................................ 13
■タッチパネルの組み立て........................ 8
■ねじ穴図................................................ 13
■タッチパネルの取り付け........................ 9
■保証とアフターサービス..................... 14
■パソコンとの接続................................. 11
安全上のご注意
必ずお守りください
人への危害、財産の損害を防止するため、必ずお守りいただくことを説明しています。
■誤った使い方をしたときに生じる危害や損害の程度を区分して、説明しています。
「軽傷を負うことや、財産の
「死亡や重傷を負うおそれが
損害が発生するおそれがある
警告
ある内容」です。
注意
内容」です。
■お守りいただく内容を次の図記号で説明しています。(次は図記号の例です)
してはいけない内容です。 実行しなければならない内容です。
警告
■専門業者以外は取り付けを行
■本機の分解、改造はしないで
わないでください
ください
取り付けの不備により、落下し
分解禁止
火災・感電の原因となります。
て、けがの原因となります。
■故障や異常のまま使用しない
■近くに水などの入った容器を
でください
置かないでください
煙が出る、変なにおいがするなど
水ぬれ禁止
水などの液体がこぼれたり、中
の異常な状態で使用すると発火な
に入った場合、火災・感電の原
どの原因となります。
因となります。
●直ちに使用を中止してお買い上
花びん、植木鉢、コップ、化粧品、薬品や
げの販売店に修理をご依頼くだ
(
水など液体の入った容器
)
さい。お客様による修理は危険
ですから、おやめください。
4

安全上のご注意
必ずお守りください
警告
■水をかけたり、ぬらしたりしな
■異物を入れないでください
日本語
いでください
内部に金属類や燃えやすいものな
水ぬれ禁止
火災・感電の原因となります。
どを差し込んだり、落とし込んだ
りしないでください。
火災・感電の原因となります。
●特にお子様にはご注意ください。
注意
■カタログで指定した機器本体以
■指定方法以外の取り付けは行
外には使用しないでください
わないでください
倒れたり、破損してけがの原因と
取り付けの不備により、落下し
なることがあります。
て、けがの原因となります。
■湿気やほこりの多い所、油煙や
■取り付けの際は、専用の構成
湯気が当たるような所に置かな
部品をご使用ください
いでください
機器本体が落下したり、破損し
火災・感電の原因となることがあ
て、けがの原因となることがあ
ります。
ります。
■機器本体の取り付け、取り外し
■組み立て時、ねじ止めをする箇
は 2 人以上で行ってください
所は、すべてしっかりと止めて
機器本体が落下してけがの原因と
ください
なることがあります。
不十分な組み立てかたをすると、
外れたり破損してけがの原因とな
ることがあります。
■移動させるときは接続線をはず
してください
接続したまま移動させると、落下
・転倒し、けがの原因となること
があります。
業者様へのお願い
■ 取り付け終了後はお客様へこの説明書をお渡しください。
■ 取り付け不備、取り扱い不備による事故、損傷については、当社は責任を負いません。
5

お手入れ / 上手な使いかた
■設置するとき
タッチパネルは下記のような場所をさけて設置してください。
●直射日光のあたる所や強力な光源に近い所
本機は赤外線を使った光学式タッチパネルですので、影響を受け誤動作の原因となります。
日本語
●ほこりや湿気の多い所
●衝撃や振動の加わる所
●薬品や蒸気が発散している所や薬品に触れる所
●電気的ノイズ発生源(発電機、エアコンなど)に近い所
■使用するとき
●パソコンの電源を入れてから OS が立ち上がるまで、赤外線透過部および画面
赤外線
には触れないでください。
透過部
素子不良として検出され、正常に動作しなくなります。その場合はパソコンを
再起動してください。
また、USB ケーブルの抜き差しの場合も同様に、赤外線透過部および画面に
は触れないでください。
●
赤外線を使用した他の機器をご使用の場合は、誤動作しないよう離れた所でご使用ください。
●
タッチペンは、必ず本製品に同梱されている付属の専用タッチペンをご使用ください。
付属以外の製品をご使用の場合は、動作保証ができません。
●
タッチパネルご使用中は、タッチパネル本体を押すなど負荷をかけることのないようご注意ください。
■移動するとき
●移動のときは衝撃を与えないでください。故障の原因になることがあります。
●移動のときは機器本体を持って行ってください。
本機を持って移動させると故障の原因となることがあります。
●USB ケーブルを持って運搬しないでください。
USB ケーブルが損傷し故障の原因となることがあります。
■お手入れについて
必ず USB ケーブルを外してから行ってください。
●本機表面の汚れは柔らかい布で軽くふき取ってください。
ひどい汚れは、水で 100 倍に薄めた中性洗剤にひたした布を、かたく絞ってふき取り、
乾いた布で軽くふいてください。水滴が内部に入ると、故障の原因になる場合があります。
機器本体の画面も同様です。また画面を強くこすらないでください。
●赤外線透過部の汚れは柔らかい布でふき取ってください。
1 日 1 回は、赤外線透過部の汚れを柔らかい布でふき取ってください。
赤外線透過部の汚れが原因で不具合が発生した場合は、軽くふき取るだけで機能は回復します。
ひどい汚れは、水で 100倍に薄めた中性洗剤にひたした布を、かたく絞ってふき取り、乾いた布で仕上げてください。
●スプレー洗剤など直接かけないでください。
水滴が内部に入ると、故障の原因になる場合があります。
●殺虫剤、ベンジン、シンナーなど揮発性のものをかけないでください。
パネルが変質したり塗装がはがれます。
●ゴムやビニール製品などを長時間接触させないでください。
キャビネットが変質する原因となります。
化学ぞうきんをご使用の際は、その注意書に従ってください。
● 1年に一度は内部の掃除を販売店にご依頼ください。
内部にほこりがたまると、タッチ検出のための赤外線ビームの光量が低下して、動作不良に
なることがあります。1 年に一度は内部の掃除を販売店にご依頼ください。
6

構成部品
(部品と員数の確認を行ってください)
タッチパネル本体 (1個)
取り付け金具A ( 上用 ) (2 個)
取り付け金具B (4個)
日本語
取り付け用ねじA
(8本)
取り付け金具A ( 下用 ) (2 個)
取り付け用ねじB
(8本)
付属部品
USB 延長ケーブル (1本)
CD-ROM (1枚)
取扱説明書 (1部)
●
取扱説明書
●
ドライバーソフト
タッチペン (2本)
■ イラストはイメージイラストであり、実際の商品と形状が異なる場合があります。
■ 製品の仕様を予告なく変更する場合があります。
●
Windowsは米国 MicrosoftCorporationの米国およびその他の国における登録商標です。
®
®
(Windowsの正式名称は、Microsoft
Windows
OperatingSystemです)
●
その他、本書に記載されている社名および商品名は、各社の商標、登録商標および商品です。
7

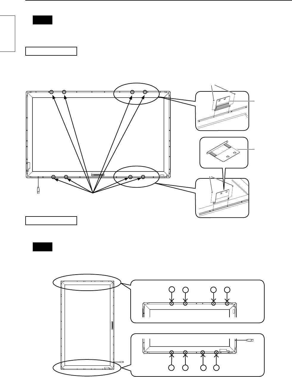
タッチパネルの組み立て
お願い
●作業中タッチパネル本体表面にキズや汚れが付かないように、きれいな布や毛布などをしき、
その上にパネル表面を下にして置いてください。
日本語
横型取り付けの場合
取り付け金具A ( 上用、下用 ) を取り付け用ねじA(各2本)でタッチパネル本体に取り付けてください。
取り付け位置のねじ穴は下図を参照してください。
縦型取り付けの場合も同じ手順で取り付けてください。
取り付けねじA
取り付け金具A
(上用)
取り付け金具A
(下用)
取り付けねじA
取り付け位置
(8か所のねじのない穴)
縦型取り付けの場合
金具を取り付ける位置を下図で確認し、ねじ ( 上下計8本 ) を外してください。
外したねじ穴に取り付け金具A ( 上用、下用 ) を取り付け用ねじA(各2本)で取り付けてください。
お願い
●42V 型以外のねじ穴は、「ねじ穴図」(13 ページ ) を参照してください。
●外したねじは保管してください。
上側(42V 型)
123456
上側(42V 型)
1
2
3
4
5
8

タッチパネルの取り付け
お願い
●取り付け作業は必ず 2人以上で行ってください。
●タッチパネルを下に置いたまま機器本体を上から重ねての取り付けは、絶対にしないでください。
日本語
タッチパネルが破損する恐れがあります。
組み立てたタッチパネルを機器本体の正面からはめ込みます。
お願い
●タッチパネルと機器本体前面部の間に隙間がないように取
り付けてください。
縦型取り付けの場合も同じ手順で取り付けてください。
USB 端子が正面から見て左下になるように取り付けてください。
取り付け金具 B の準備をしてください。
取り付け金具B
取り付け用ねじBを仮止めしてください。(2〜3回転)
上部左右の取り付け金具 A(上用)に取り付け金具 B を下図のように取り付けてください。
ねじは仮止め状態にしてください。
下部左右についても同じ手順で取り付けてください。
上部の取り付け
取り付け金具B
凹形状に金具Bのつめを
確実に挿入してください。
下部の取り付け
取り付け金具B
凹形状に金具Bのつめを
確実に挿入してください。
9

下図の位置合わせマークを基準にして、タッチパネルに片寄りのないように正面から調整してください。
日本語
画面端
タッチパネル
位置合わせマーク
電源ランプ表示部
位置調整後、仮止めしたねじを完全に固定してください。
●ねじを締めすぎると金具が変形する恐れがありますのでご注意く
ださい。
お願い
●タッチパネルと機器本体前面部の間に隙間がないようにしてくだ
さい。
●電源ランプ表示部から電源ランプの点灯が見えることを確認し、
位置がずれて見えない場合は左右にタッチパネルを動かし微調整
してください。
10

パソコンとの接続
USBコネクタAタイプ
USBコネクタAタイプ
(メス)
(オス)
パソコンの
タッチパネル
USB端子に
接続する
日本語
パソコン
機器本体
USBコネクタAタイプ
パソコンとの接続は
(オス)
機器本体の
取扱説明
書をご覧ください
注意
●USB延長ケーブル接続の際に画面上の赤外線透過部を指などで遮っていると、初期化中に不良有りと
検出され、そのまま使用すると部分的にタッチ検出ができなくなる場合があります。
その場合は、USB延長ケーブルをいったん外して再接続してください。この時、パソコンの再起動は
不要です。
●USB ケーブルは長さ制限(5m まで)があります。また、ケーブルによっては正常に動作しないことがあ
りますので、USB延長ケーブルは本体付属のものをご使用ください。
動作条件
パソコンOS
IBMPC/AT 互換機で、USB ポートを搭載している
下記OSが動作する機種
WindowsXP (SP2 以上、32bit 版または 64bit 版)
WindowsVista (32bit 版または 64bit 版 )
Windows7 (32bit 版または 64bit 版 )
注意
●USB ポートが正常動作している必要があります。
●以前のバージョンのドライバーがインストール済みの場合、タッチパネルの USB ケーブルをパソコンから
取り外した後にアンインストールし、改めてインストールしてください。
●タッチパネルドライバーのインストール、アンインストール方法については、付属の CD-ROM 内の
タッチパネルドライバーソフトインストールマニュアルを参照してください。
●Windows7 の場合、タッチパネルドライバーのインストールは不要です。
WindowsXP、Vistaをご使用の場合、USB延長ケーブルの接続及びタッチパネルドライバーソフトの
セットアップは、添付の CD-ROM内のドライバーソフトインストールマニュアルの手順に従ってください。
11

製品仕様
品番TY-TP42P30K TY-TP50P30K TY-TP60P30K TY-TP65P30K
種 類 タッチパネル
日本語
使
電源電圧 DC+5V± 10%
用
電源電流 DC+5V最大 500mA
電
源
供給方法 USBバスパワーより供給
検出方式 赤外線遮断検出方式
934.1 ㎜(幅)×
1124.1 ㎜(幅)×
1348.1 ㎜(幅)×
1468.1 ㎜(幅)
パネル開口部
524.1 ㎜(高さ)
638.1 ㎜(高さ)
766.1 ㎜(高さ)
× 839.1 ㎜(高さ)
925 ㎜(幅)×
1105 ㎜(幅)×
1330 ㎜(幅)×
1435 ㎜(幅)×
検出領域
520 ㎜(高さ)
615 ㎜(高さ)
750 ㎜(高さ)
805 ㎜(高さ)
タ
ッ
有効検出領域 上記検出領域+上下、左右 1.0 ㎜
チ
1481(幅)×
1769(幅)×
2129(幅)×
2297(幅)×
分解能
パ
833(高さ)
985(高さ)
1201(高さ)
1289(高さ)
ネ
検出ピッチ 2.5㎜×2.5㎜
ル
部
出力方式 座標出力
186 個(横)×
222 個(横)×
267 個(横)×
288 個(横)×
光学素子数
105 個(縦)
124 個(縦)
151 個(縦)
162 個(縦)
光学素子ピッチ 5.0㎜(横)× 5.0 ㎜(縦)
最小スタイラス 7.0㎜(横)× 7.0 ㎜(縦)
USB1.1 準拠
インターフェイス
使用信号:+DATA、-DATA、VCC、GND
※1
許容温度 稼動時 0℃ 〜 40℃(温度勾配 25℃ /Hr 以下)
※1
許容湿度 稼動時 20% 〜 80%(結露しないこと)
側面光 2000lx 以上 (入射角度 20 ゜)
耐外来光
正面光 10000lx 以上 (入射角度 90 ゜)
パネル形状 平面パネル(フラットタイプ)
幅 :
1028.2 ㎜
幅 :
1218.2 ㎜
幅 :
1442.2 ㎜
幅 :
1562.2 ㎜
外形寸法
高さ:
618.2 ㎜
高さ:
732.2 ㎜
高さ:
860.2 ㎜
高さ:
933.2 ㎜
( 突起部、取付金具は除く )
奥行:
12 ㎜
奥行:
12 ㎜
奥行:
12 ㎜
奥行:
12 ㎜
質 量 約 2.4kg 約 2.7kg 約 3.1kg 約 3.3kg
エスカッション材質 アルミニウム
対応パソコン IBMPC/AT 互換機でUSBポート搭載機
対 応 O S MicrosoftWindowsXP/Vista/7
※1
タッチパネル単体の場合(機器本体に取り付ける場合は、該当機器の条件に従ってください)
12

外形寸法図
外形寸法図
(単位:㎜)
外形寸法表
( 単 位:㎜)
42V 型用 50V 型用 60V 型用 65V 型用
日本語
A
A 1028.2 1218.2 1442.2 1562.2
79.2
B 618.2 732.2 860.2 933.2
*(89)
C 621.4 735.4 863.4 936.4
47
47
47
12
B
C
※取り付けする機器および締付けの状態により
*(89)
寸法が変動することがあります。
47
79.2
ねじ穴図
(縦型取り付けの場合)
●42V型については 8 ページに記載しています。
1234 56
50V 型
上部
下部
123 4 56
123456
78 9
60V 型
上部
下部
1234567
12 3 4 56
65V 型
上部
下部
12 3 4 5 6 7
13

(よくお読みください)
保証とアフターサービス
使いかた・お手入れ・修理などは…
▼お買い上げの際に記入されると便利です
■まず、お買い求め先へご相談ください
販売店名
日本語
電話 ( ) −
お買い上げ日 年 月 日
1.保証書
(別添付)
お買い上げ日・販売店名などの記入を必ず確かめ、お買い上げの販売店からお受け取りく
ださい。よくお読みのあと、保存してください。
2.保証期間
お買い上げ日から本体 1 年間。
3.修理を依頼されるとき
CD-ROM の中の取扱説明書の「修理を依頼される前に」の表や、組み合わせをされた機
器の「取扱説明書」もよくお読みのうえ調べていただき、直らないときは、まず USB ケー
ブルの接続をはずして、お買い上げの販売店へご連絡ください。
●
保証期間中は
保証書の規定に従って出張修理をさせていただきます。
●
保証期間を過ぎているときは
修理すれば使用できる製品については、お買い上げの販売店が修理させていただきます。
なお、修理料金については販売店にご相談ください。
●
修理料金の仕組み
修理料金は、技術料・部品代・出張料などで構成されています。
技術料は、診断・故障個所の修理および部品交換・調整・修理完了時の点検などの
作業にかかる費用です。
部品代は、修理に使用した部品および補助材料代です。
出張料は、お客様のご依頼により製品のある場所へ技術者を派遣する場合の費用です。
●
補修用性能部品の保有期間 8 年
当社は、この光学式タッチパネルの補修用性能部品を、製造打ち切り後 8 年保有して
います。
注)補修用性能部品とは、その製品の機能を維持するために必要な部品です。
【ご相談窓口におけるお客様の個人情報のお取り扱いについて】
パナソニック株式会社およびグループ関係会社は、お客様の個人情報をご相談対応や修理対応などに利用さ
せていただき、ご相談内容は録音させていただきます。また、折り返し電話をさせていただくときのために
発信番号を通知いただいております。なお、個人情報を適切に管理し、修理業務等を委託する場合や正当な
理由がある場合を除き、第三者に開示・提供いたしません。
個人情報に関するお問い合わせは、ご相談いただきました窓口にご連絡ください。
〒 571-8504 大阪府門真市松生町1番15号 大阪(06)6905 − 5574
©
Panasonic Corporation 2012
14

⽬录
■ 有关设置的安全注意事项................ 15
■ 计算机连接............................ 21
■ 维护 ................................. 16
■ 操作条件.............................. 21
■ 组件 ................................. 17
■ 规格.................................. 22
■
组装触摸⾯板.......................... 18
■ 外部尺⼨.............................. 23
■ 安装触摸⾯板.......................... 19
■ 螺钉孔的图纸.......................... 23
有关设置的安全注意事项
中⽂
警告
只有合格的技术⼈员才能执⾏安装⼯作。
安装不当可能会导致设备意外摔落,从⽽导致⼈员伤害。
请勿拆解或改装设备。
否则可能会引起⽕灾或触电。
如果发⽣异常,请停⽌使⽤设备。
如果在设备冒烟、发出异味或其他异常情况下使⽤本设备,可能会引起⽕灾或其他事故。
应⽴即停⽌使⽤,并联系您的经销商以进⾏修理。切勿⾃⾏修理,因为此举很危险。
切勿将设备放置在装有⽔或其他液体的容器附近。
如果⽔或其他液体溅到设备上或进⼊设备内,可能会引发⽕灾或触电。( 例如 :花瓶、花盆、玻璃杯、以及装有
化妆⽔、化学液体或⽔的瓶⼦ )
勿将设备弄湿。
否则可能会引起⽕灾或触电。
切勿让异物进⼊设备。
切勿插⼊或让⾦属物品或易燃材料进⼊设备,因为会引发⽕灾或触电。“请特别注意⼉童的举动。”
注意
切勿将本设备与⽬录中指定的主要装置以外的任何其他装置配合使⽤。
否则装置可能会跌落并受损,造成⼈员伤害。
请仅按照所述的程序进⾏安装。
安装不当可能会导致设备意外摔落,从⽽导致⼈员伤害。
请勿将设备放置在湿度较⼤或灰尘过多的地⽅,或者任何可能使设备暴露于油烟或蒸汽的地⽅。
否则可能会引起⽕灾或触电。
仅使⽤特定的组件进⾏安装。
否则主要装置可能会跌落受损,从⽽导致⼈员伤害。
在安装或拆卸主要装置的时候,需要两⼈或更多⼈⼀起合作。
否则主要装置可能会跌落,导致⼈员伤害。
在组装设备的时候,请紧固所有螺丝。
组装不当可能会导致设备意外摔落或受损,从⽽导致⼈员伤害。
在移动设备之前请拔下连接电缆的插头。
否则可能会导致意外跌落或翻倒,从⽽导致⼈员伤害。
安装技术⼈员需注意的事项
■ 请在安装之后向客户提供这些使⽤说明书。
■
松下公司对因不当安装或违规操作导致的任何事故或损坏概不负责。
15

