Samsung UE19D4000NW: instruction
Class: Household, kitchen appliances, electronics and equipment
Type:
Manual for Samsung UE19D4000NW

LED TV
User Manual
imagine the possibilities
Thank you for purchasing this Samsung product.
To receive more complete service, please register
your product at
www.samsung.com/register
Model _____________ Serial No. _____________
E-MANUAL
Contact SAMSUNG WORLDWIDE
If you have any questions or comments relating to Samsung products, please contact the SAMSUNG customer care centre.
Country
Customer Care Centre
Web Site
ALBANIA 42 27 5755 -
AUSTRIA 0810 - SAMSUNG (7267864, € 0.07/min) www.samsung.com
BELGIUM 02-201-24-18 www.samsung.com/be (Dutch)
www.samsung.com/be_fr (French)
BOSNIA 05 133 1999 -
BULGARIA 07001 33 11 www.samsung.com
CROATIA 062 SAMSUNG (062 726 7864) www.samsung.com
CZECH 800 - SAMSUNG (800-726786) www.samsung.com
Samsung Zrt., česká organizační složka, Oasis Florenc, Sokolovská394/17,
180 00, Praha 8
DENMARK 70 70 19 70 www.samsung.com
FINLAND 030 - 6227 515 www.samsung.com
FRANCE 01 48 63 00 00 www.samsung.com
GERMANY 01805 - SAMSUNG(726-7864 € 0,14/Min) www.samsung.com
GREECE
"1. Για προϊόντα πληροφορικής και κινητής τηλεφωνίας
www.samsung.com
Από σταθερό 80111-SAMSUNG (80111 7267864), αστική χρέωση
Από κινητό 210 6897691
2. Για φωτογραφικές μηχανές, βιντεοκάμερες, τηλεοράσεις & οικιακές
συσκευές
Από κινητό και σταθερό 2106293100"
HUNGARY 06-80-SAMSUNG(726-7864) www.samsung.com
ITALIA 800-SAMSUNG(726-7864) www.samsung.com
KOSOVO +381 0113216899 -
LUXEMBURG 261 03 710 www.samsung.com
MACEDONIA 023 207 777 -
MONTENEGRO 020 405 888 -
NETHERLANDS 0900-SAMSUNG (0900-7267864) (€ 0,10/Min) www.samsung.com
NORWAY 815-56 480 www.samsung.com
POLAND 0 801 1SAMSUNG(172678) / 022-607-93-33 www.samsung.com
PORTUGAL 80820-SAMSUNG(726-7864) www.samsung.com
RUMANIA "1. 08010 SAMSUNG (72678) – doar din reţeaua Romtelecom, tarif local;
www.samsung.com
2. 021.206.01.10 – din orice reţea, tarif normal "
SERBIA 0700 Samsung (0700 726 7864) www.samsung.com
SLOVAKIA 0800 - SAMSUNG(0800-726 786) www.samsung.com/sk
SPAIN 902 - 1 - SAMSUNG (902 172 678) www.samsung.com
SWEDEN 0771 726 7864 (SAMSUNG) www.samsung.com
SWITZERLAND 0848 - SAMSUNG(7267864, CHF 0.08/min) www.samsung.com/ch
www.samsung.com/ch_fr/(French)
U.K 0330 SAMSUNG (7267864) www.samsung.com
EIRE 0818 717100 www.samsung.com
LITHUANIA 8-800-77777 www.samsung.com
LATVIA 8000-7267 www.samsung.com
ESTONIA 800-7267 www.samsung.com
TURKEY 444 77 11 www.samsung.com
© 2011 Samsung Electronics Co., Ltd. All rights reserved.
BN68-03420G
LED TV
User Manual
BN68-03420G-02
[UD4000-BT]BN68-03420G.indb 1 2011-4-28 16:16:21

For more information on how to use e-Manual (P. 12)
Figures and illustrations in this User Manual are provided for reference only and may differ from actual product appearance.
Product design and specifications may be changed without notice.
Important Warranty Information Regarding Television Format Viewing
1. Functionalities related to Digital TV (DVB) are only available in countries/areas where DVB-T (MPEG2 and MPEG4 AVC) digital terrestrial
signals are broadcasted or where you are able to access to a compatible DVB-C (MPEG2 and MPEG4 AAC) cable-TV service. Please check
with your local dealer the possibility to receive DVB-T or DVB-C signal.
2. DVB-T is the DVB European consortium standard for the broadcast transmission of digital terrestrial television and DVB-C is that for the broadcast
transmission of digital TV over cable. However, some differentiated features like EPG (Electric Programme Guide), VOD (Video On Demand) and so
on, are not included in this specification. So, they cannot be workable at this moment.
3. Although this TV set meets the latest DVB-T and DVB-C standards, as of [August, 2008], the compatibility with future DVB-T digital terrestrial
and DVB-C digital cable broadcasts cannot be guaranteed.
4. Depending on the countries/areas where this TV set is used some cable-TV providers may charge an additional fee for such a service and
you may be required to agree to terms and conditions of their business.
5. Some Digital TV functions might be unavailable in some countries or regions and DVB-C might not work correctly with some cable service
providers.
6. For more information, please contact your local Samsung customer care centre.
✎
The reception quality of TV may be affected due to differences in broadcasting method between the countries. Please check the TV
performance in the local SAMSUNG Authorized Dealer, or the Samsung Call Centre whether it can be improved by reconfiguring TV
setting or not.
Still image warning
Avoid displaying still images (like jpeg picture files) or still image element (like TV programme logo, panorama or 4:3 image format, stock or news
bar at screen bottom etc.) on the screen. Constant displaying of still picture can cause ghosting of LED screen, which will affect image quality. To
reduce risk of this effect, please follow below recommendations:
• Avoid displaying the same TV channel for long periods.
• Always try do display any image on full screen, use TV set picture format menu for best possible match.
• Reduce brightness and contrast values to minimum required to achieve desired picture quality, exceeded values may speed up the burnout
process.
• Frequently use all TV features designed to reduce image retention and screen burnout, refer to proper user manual section for details.
Securing the Installation Space
Keep the required distances between the product and other objects (e.g. walls) to ensure proper ventilation.
Failing to do so may result in fire or a problem with the product due to an increase in the internal temperature of the product.
✎
When using a stand or wall-mount, use parts provided by Samsung Electronics only.
• If you use parts provided by another manufacturer, it may result in a problem with the product or an injury due to the product falling.
✎
The appearance may differ depending on the product.
✎
Be careful when you contact the TV because some parts can be somewhat hot.
Installation with a stand. Installation with a wall-mount.
10 cm
10 cm
10 cm10 cm
10 cm
10 cm
10 cm
Correct Disposal of This Product (Waste Electrical & Electronic Equipment)
(Applicable in the European Union and other European countries with separate collection systems)
This marking on the product, accessories or literature indicates that the product and its electronic accessories (e.g. charger, headset,
USB cable) should not be disposed of with other household waste at the end of their working life. To prevent possible harm to
the environment or human health from uncontrolled waste disposal, please separate these items from other types of waste and
recycle them responsibly to promote the sustainable reuse of material resources. Household users should contact either the retailer
where they purchased this product, or their local government office, for details of where and how they can take these items for
environmentally safe recycling. Business users should contact their supplier and check the terms and conditions of the purchase
contract. This product and its electronic accessories should not be mixed with other commercial wastes for disposal.
Correct disposal of batteries in this product
(Applicable in the European Union and other European countries with separate battery return systems)
This marking on the battery, manual or packaging indicates that the batteries in this product should not be disposed of with other
household waste at the end of their working life. Where marked, the chemical symbols Hg, Cd or Pb indicate that the battery contains
mercury, cadmium or lead above the reference levels in EC Directive 2006/66. If batteries are not properly disposed of, these
substances can cause harm to human health or the environment. To protect natural resources and to promote material reuse, please
separate batteries from other types of waste and recycle them through your local, free battery return system.
English - 2
[UD4000-BT]BN68-03420G.indb 2 2011-4-28 16:16:22

Accessories
✎
Please make sure the following items are included with your TV. If any items are missing, contact your dealer.
✎
The items’ colours and shapes may vary depending on the models.
✎
Cables not included in the package contents can be purchased separately.
CAUTION: INSERT SECURELY LEST SHOULD BE DETACHED IN SET
y Remote Control & Batteries (AAA x 2)
y Power Cord
y Owner’s Instructions
y Cleaning Cloth
y Warranty Card / Safety Guide (Not available in some locations)
y Component / AV Adapter y Scart Adapter y CI Card Adapter
✎
An administration fee may be charged if either
(a) an engineer is called out at your request and there is no defect in the product
(i.e. where you have failed to read this user manual)
(b) you bring the unit to a repair centre and there is no defect in the product
(i.e. where you have failed to read this user manual).
✎
The amount of such administration charge will be advised to you before any work or home visit is carried out.
English - 3
[UD4000-BT]BN68-03420G.indb 3 2011-4-28 16:16:23

Viewing the Control Panel
✎
The product colour and shape may vary depending on the model.
Control Panel
Speakers
Remote control sensor Aim the remote control towards this spot on the TV.
Power Indicator Blinks and turns off when the power is on and lights up in standby mode.
SOURCE
E
Toggles between all the available input sources. In the on-screen menu, use this
button as you would use the ENTER
E
button on the remote control.
MENU Displays an on-screen menu, the OSD (on screen display) of your TV’s features.
Y
Adjusts the volume. In the OSD, use the
Y
buttons as you would use the ◄
and ► buttons on the remote control.
z
Changes the channels. In the OSD, use the
z
buttons as you would use the
▼ and ▲ buttons on the remote control.
P
(Power)
Turns the TV on or off.
Standby mode
Do not leave your TV in standby mode for long periods of time (when you are away on a holiday, for example). A small amount
of electric power is still consumed even when the power button is turned off. It is best to unplug the power cord.
English - 4
[UD4000-BT]BN68-03420G.indb 4 2011-4-28 16:16:23

Viewing the Remote Control
✎
This is a special remote control for the visually impaired persons and has Braille points on the Power, Channel, and
Volume buttons.
Displays and selects the available video
Turns the TV on and off.
sources.
HDMI
Selects the HDMI mode directly.
Press to directly access to channels.
Alternately select Teletext ON, Double, Mix
Returns to the previous channel.
or OFF.
Cuts off the sound temporarily.
Adjusts the volume.
Changes channels.
Displays the main on-screen menu.
Displays channel lists on the screen.
Displays the My Downloads, Watch TV
CONTENT
Displays the EPG (Electronic Programme
and Source.
Guide).
Quickly select frequently used functions.
Displays information on the TV screen.
Selects the on-screen menu items and
changes the values seen on the menu.
Exits the menu.
Returns to the previous menu.
Buttons used in the Channel List,
A B C D
Channel Manager, My Downloads
menu, etc.
P.MODE SRS
DUAL I-II
E-MANUAL AD/SUBT.
P.MODE: Selects picture mode.
SRS: Selects the SRS TruSurround HD
mode.
DUAL I-II: Select Dual sound mode.
Use these buttons in a specific feature.
E-MANUAL: Displays the e-Manual guide.
For details, refer to the e-Manual.
P.SIZE: Selects the picture size.
AD: Audio Description selection. (Not
available in some locations)
SUBT.: Displays digital subtitles.
Installing batteries (Battery size: AAA)
English - 5
[UD4000-BT]BN68-03420G.indb 5 2011-4-28 16:16:24

Connecting to an Antenna
When the TV is initially powered on, basic settings proceed automatically.
✎
Preset: Connecting the mains and antenna.
TV Rear Panel
VHF/UHF AntennaCable
or
Plug & Play (Initial Setup)
When the TV is initially powered on, a sequence of on-screen prompts will assist in configuring basic settings. Press the
POWER
P
button. Plug & Play is available only when the input source is set to TV.
✎
To return to the previous step, press the Red button.
Selecting a language
Press the ▲ or ▼ button, then press the ENTER
E
button.
1
POWER
Select the desired OSD (On Screen Display) language.
Selecting Store Demo
Press the ◄ or ► button, then press the ENTER
E
button.
2
or Home Use
P
Select the Home Use mode. Store Demo mode is for retail
environments.
To return the unit’s settings from Store Demo to Home Use (standard):
Press the volume button on the TV. When the OSD volume is displayed,
press and hold MENU for 5 sec.
Store Demo is only for shop display. If you select it, several functions
are not able to use. Please select Home Use when you watch at home.
Selecting a country
Press the ▲ or ▼ button, then press the ENTER
E
button.
3
Select the appropriate country.
✎
After selecting the country in the Country menu, some models may proceed with an
additional option to setup the pin number.
✎
When you input the PIN number, 0-0-0-0 is not available.
✎
The option may differ depending on country.
Setting the Clock
Set the Clock Mode automatically or manually.
4
Mode
Auto: Select the time zone (depending on the country) where you are located.
Manual: Allows you to manually set the current date and time.
Selecting an antenna
Press the ▲ or ▼ button, then press the ENTER
E
button.
5
Select the desired broadcasting signal.
Selecting a channel
Press the ▲ or ▼ button, then press the ENTER
E
button.
6
Select the channel source to memorise. When setting the antenna source to Cable, a step
appears allowing you to assign numerical values (channel frequencies) to the channels. For
more information, refer to Channel → Auto Tuning.
Press the ENTER
E
button at any time to interrupt the memorisation process.
Enjoy your TV.
Select the Watch TV. Press the ENTER
E
button.
7
If You Want to Reset This Feature...
Select System - Plug & Play (Initial Setup). Enter your 4 digit PIN number. The default PIN number is “0-0-0-0”. If you want to
change the PIN number, use the Change PIN function.
You should do Plug & Play (MENU → System) again at home although you did in shop.
✎
If you forget the PIN code, press the remote control buttons in the following sequence in Standby mode, which resets
the PIN to “0-0-0-0”: MUTE → 8 → 2 → 4 → POWER (on).
English - 6
[UD4000-BT]BN68-03420G.indb 6 2011-4-28 16:16:26

Connecting to an AV devices
¦ Available devices: DVD, Blu-ray player, HD cable box, HD STB (Set-Top-Box) satellite
receiver, VCR, Digital Audio System, Amplifier, DVD Home Theatre, PC
HDMI, HDMI/DVI connection
HDMI OUT
DVI OUT
AUDIO OUT
R-AUDIO-L
Using an HDMI cable or HDMI to DVI Cable (up to 1080p)
✎
HDMI IN 1(DVI), 2, PC/DVI AUDIO IN
x
For better picture and audio quality, connect to a digital device using an HDMI cable.
x
An HDMI cable supports digital video and audio signals, and does not require an audio cable.
– To connect the TV to a digital device that does not support HDMI output, use an HDMI/DVI and audio cables.
x
The picture may not display normally (if at all) or the audio may not work if an external device that uses an older
version of HDMI mode is connected to the TV. If such a problem occurs, ask the manufacturer of the external
device about the HDMI version and, if out of date, request an upgrade.
x
Be sure to use an HDMI cable with a thickness of 14 mm or less.
x
Be sure to purchase a certified HDMI cable. Otherwise, the picture may not display or a connection error may
occur.
x
A basic high-speed HDMI cable or one with ethernet is recommended. This product does not support the
ethernet function via HDMI.
English - 7
[UD4000-BT]BN68-03420G.indb 7 2011-4-28 16:16:26

Component connection
G
G
COMPONENT OUT
B
B
P
R
P
B
Y
R
R
R
R
AUDIO OUT
W
W
R-AUDIO-L
AV connection
VIDEO OUT
Y
Y
R
R
AUDIO OUT
W
W
R-AUDIO-L
SCART connection
EXT
Using a Component (up to 1080p) or Audio/Video (480i only) and Scart Cable
✎
In Ext. mode, DTV Out supports MPEG SD Video and Audio only.
✎
To obtain the best picture quality, the Component connection is recommended over the A/V connection.
English - 8
[UD4000-BT]BN68-03420G.indb 8 2011-4-28 16:16:30

Connecting to a PC and Audio device
¦ Available devices: Digital Audio System, Amplifier, DVD Home Theatre
Audio connection
OPTICAL
Headphones connection
Using an Optical (Digital) cable or Headphone Connection
✎
DIGITAL AUDIO OUT (OPTICAL)
x
When a digital audio system is connected to the DIGITAL AUDIO OUT (OPTICAL) jack, decrease the volume
of both the TV and the system.
x
5.1 CH (channel) audio is available when the TV is connected to an external device supporting 5.1 CH.
x
When the receiver (home theatre) is set to on, you can hear sound output from the TV’s optical jack. When the
TV is receiving a DTV signal, the TV will send 5.1 CH sound to the home theatre receiver. When the source is
a digital component such as a DVD / Blu-ray player / cable box / STB (Set-Top-Box) satellite receiver and is
connected to the TV via HDMI, only 2 CH audio will be heard from the home theatre receiver. If you want to
hear 5.1 CH audio, connect the digital audio out jack from your DVD / Blu-ray player / cable box / STB satellite
receiver directly to an amplifier or home theatre.
✎
Headphones
H
: You can connect your headphones to the headphones output on your set. While the
headphones are connected, the sound from the built-in speakers will be disabled.
x
Sound function may be restricted when connecting headphones to the TV.
x
Headphone volume and TV volume are adjusted separately.
English - 9
[UD4000-BT]BN68-03420G.indb 9 2011-4-28 16:16:35

¦ Using an HDMI cable or HDMI to DVI Cable / a D-sub Cable
✎
Connecting through the HDMI cable may not be supported depending on the PC.
✎
An HDMI cable supports digital video and audio signals, and does not require an audio cable.
PC connection
HDMI OUT
DVI OUT
AUDIO OUT
AUDIO OUT
PC OUT
Display Modes (D-Sub and HDMI/DVI Input)
Optimal resolution is 1360 x 768 @ 60Hz.
Mode Resolution
Horizontal Frequency
Pixel Clock Frequency
(KHz)
Vertical Frequency (Hz)
(MHz)
Sync Polarity (H / V)
640 x 350 31.469 70.086 25.175 + / -
IBM
720 x 400 31.469 70.087 28.322 - / +
640 x 480 35.000 66.667 30.240 - / -
MAC
832 x 624 49.726 74.551 57.284 - / -
31.469 59.940 25.175 - / -
640 x 480
37.861 72.809 31.500 - / -
37.500 75.000 31.500 - / -
37.879 60.317 40.000 + / +
800 x 600
48.077 72.188 50.000 + / +
VESA DMT
46.875 75.000 49.500 + / +
48.363 60.004 65.000 - / -
1024 x 768
56.476 70.069 75.000 - / -
60.023 75.029 78.750 + / +
1360 x 768 47.712 60.015 85.500 + / +
✎✎
NOTE
x
For HDMI/DVI cable connection, you must use the HDMI IN 1(DVI) jack.
x
The interlace mode is not supported.
x
The set might operate abnormally if a non-standard video format is selected.
x
Separate and Composite modes are supported. SOG(Sync On Green) is not supported.
English - 10
[UD4000-BT]BN68-03420G.indb 10 2011-4-28 16:16:39

Changing the Input Source
¦ Source List
Use to select TV or other external input sources such as DVD / Blu-ray players / cable box / STB satellite receiver
connected to the TV.
■ TV / Ext. / PC / AV / Component / HDMI1/DVI / HDMI2 / USB
✎
In the Source List, connected inputs will be highlighted.
✎
If you want to see connected devices only, move to Connected using ◄ or ► button.
✎
Ext. and PC always stay activated.
✎
If the connected external devices are not highlighted, press the red button. The TV will search for connected
devices.
How to use Edit Name
In the Source, press the TOOLS button, and then you can set an external input sources name you want.
■ VCR / DVD / Cable STB / Satellite STB / PVR STB / AV Receiver / Game / Camcorder / PC / DVI PC / DVI Devices / TV / IPTV / Blu-ray /
HD DVD / DMA: Name the device connected to the input jacks to make your input source selection easier.
✎
When connecting a PC to the HDMI IN 1(DVI) port with HDMI cable, you should set the TV to PC mode under Edit Name.
✎
When connecting a PC to the HDMI IN 1(DVI) port with HDMI to DVI cable, you should set the TV to DVI PC mode under Edit Name.
✎
When connecting an AV devices to the HDMI IN 1(DVI) port with HDMI to DVI cable, you should set the TV to DVI Devices mode under
Edit Name.
Information
You can see detailed information about the selected external device.
✎
For best cable connection to this product, be sure to use cables with a maximum thickness as below:
x
Maximum thickness - 0.55 inches (14mm)
Connecting to a COMMON INTERFACE slot
Attaching the CI Card Adaptor
Attach the adapter as shown in the right.
To connect the CI CARD Adapter, follow these steps.
✎
Make sure that you attach the adaptor before you mount the TV on a wall.
1. Insert the CI CARD Adapter into the two holes on the product 1.
✎
Please find the two holes on the rear of the TV. The two holes are beside the COMMON
INTERFACE port.
✎
Press it firmly at center of adapter to ensure it is fully lock.
2. Connect the CI CARD Adapter into the COMMON INTERFACE port.
3. Insert the “CI or CI+ CARD”.
Using the “CI or CI+ CARD”
To watch paid channels, the “CI or CI+ CARD” must be inserted.
y If you do not insert the “CI or CI+ CARD,” some channels will display the message “Scrambled
Signal”.
y The pairing information containing a telephone number, the “CI or CI+ CARD” ID the Host ID and other
information will be displayed in about 2~3 minutes. If an error message is displayed, please contact
your service provider.
y When the configuration of channel information has finished, the message “Updating Completed” is
displayed, indicating the channel list is updated.
✎
NOTE
x
You must obtain a “CI or CI+ CARD” from a local cable service provider.
x
When removing the “CI or CI+ CARD”, carefully pull it out with your hands since dropping the “CI
or CI+ CARD” may cause damage to it.
x
Insert the “CI or CI+ CARD” in the direction marked on the card.
x
The location of the COMMON INTERFACE slot may be different depending on the model.
x
“CI or CI+ CARD” is not supported in some countries and regions; check with your authorized dealer.
x
If you have any problems, please contact a service provider.
x
Insert the “CI or CI+ CARD” that supports the current antenna settings. The screen will be distorted or will not be seen.
English - 11
[UD4000-BT]BN68-03420G.indb 11 2011-4-28 16:16:41

How to view the e-Manual
E-MANUAL
You can find instructions about your TV’s features in the e-Manual in your TV. To
use, press the E-MANUAL button on your remote. Move the cursor using the up/
down/right/left buttons to highlight a category, then a topic, and then press the
ENTER
E
button. The e-Manual displays the page you want to see.
You can also access it through the menu:
O
MENU
m
→ Support → e-Manual → ENTER
E
✎
To return to the e-Manual main menu, press the E-MANUAL button on the remote.
✎
You cannot use Try Now directly if the TV is set to an external input source.
Screen Display
1
1 Currently displayed video, TV Programme, etc.
2 The category list. Press ◄ or ► button to select
2
category you want.
Basic Features
3 Displays the sub-menu list. Use the arrow buttons on
Picture Menu
3
your remote to move the cursor. Press ENTER
E
button to select the sub-menu you want.
Sound Menu
4 } Blue (Index): Displays the index screen.
5 E Enter: Selects a category or sub-menu.
6 e Exit: Exit the e-Manual.
}
Index
E
Enter
e
Exit
4 5 6
How to toggle between an e-Manual topic and the corresponding OSD menu(s).
Basic Features > Picture Menu (3/17)
Picture
a
Try Now
Picture Mode : Standard ►
Backlight : 7
Contrast : 95
Brightness : 45
Sharpness : 50
E-MANUAL
Colour : 50
Tint (G/R) : G50/R50
a
Try Now
b
Home
{
Zoom
}
Index
L
Page
e
Exit
Screen Adjustment
✎
This function is not enabled in some menus.
Method 1 Method 2
1. If you want to use the menu that corresponds to an
1. Press the ENTER
E
button when a topic is displayed.
e-Manual topic, press the red button to select Try Now.
“Are you sure?” appears. Select Yes, and then press the
2. To return to the e-Manual screen, press the E-MANUAL
ENTER
E
button. The OSD window appears.
button.
2. To return to the e-Manual screen, press the E-MANUAL
button.
English - 12
[UD4000-BT]BN68-03420G.indb 12 2011-4-28 16:16:46

Viewing the Contents
Basic Features > Picture Menu (3/17)
1 Contents Area: Contains the topic contents, if you
selected a sub-menu. To move previous or next
page, press the ◄ / ► button.
2 Try Now: Displays the OSD menu that corresponds
1
to the topic. To return to the e-Manual screen, press
the E-MANUAL button.
3 Home: Moves to the e-Manual home screen.
4 Zoom: Magnifies a screen. You can scroll through the
magnified screen by using ▲ / ▼ buttons.
a
Try Now
b
Home
{
Zoom
}
Index
L
Page
e
Exit
5 L (Page): Moves to previous or next page.
2 3 4 5
Using the Zoom mode
Select the Zoom, and then press ENTER
E
to magnify
the screen. You can scroll through the magnified screen
by using the ▲ or ▼ buttons.
✎
To return to the screen to normal size, press the
RETURN button.
U
Move
R
Return
How to search for a topic on the index page
✎
This function may not be supported depending on the language.
1. If you want to search a keyword, press the blue button to select Index.
2. Press the ◄ or ► button to select a character order you want.
3. Press the ▲ or ▼ button to select a keyword you want to see, and then press the ENTERE button.
4. You can view the corresponding e-Manual instruction screen.
✎
To close the Index screen, press the RETURN button.
English - 13
[UD4000-BT]BN68-03420G.indb 13 2011-4-28 16:16:50

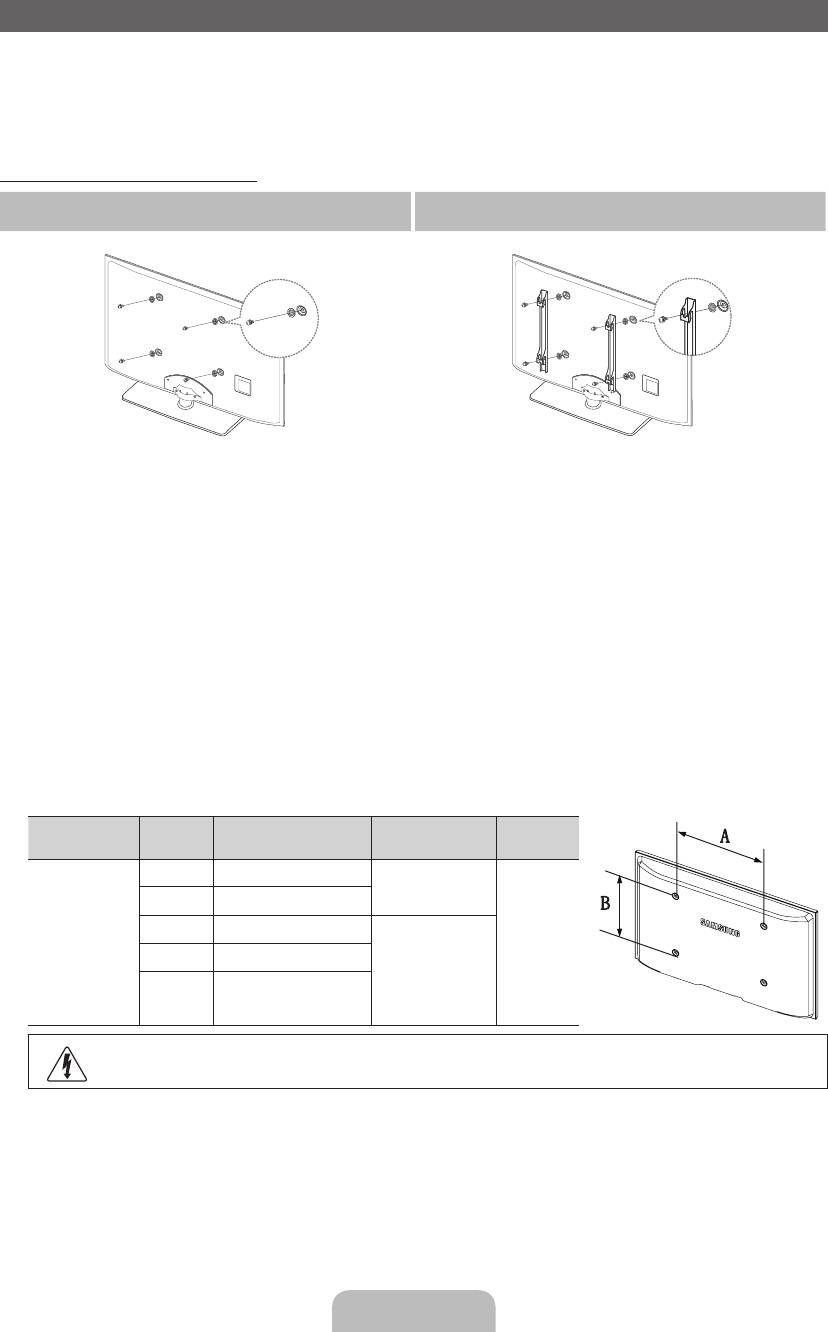
Installing the Wall Mount
The wall mount kit (sold separately) allows you to mount the TV on the wall.
For detailed information on installing the wall mount, see the instructions provided with the wall mount. Contact a technician for
assistance when installing the wall mount bracket.
Samsung Electronics is not responsible for any damage to the product or injury to yourself or others if you elect to install the
TV on your own.
Wall Mount Kit Specifications (VESA)
Case A. Installing the SAMSUNG Wall-Mount Case B. Installing another company’s Wall-Mount
1
English - 14
1
1
1
✎
Wall mount kit is not supplied but sold separately.
Install your wall mount on a solid wall perpendicular to the floor. When attaching to other building materials, please contact
your nearest dealer. If installed on a ceiling or slanted wall, it may fall and result in severe personal injury.
✎
NOTE
x
Standard dimensions for wall mount kits are shown in the table below.
x
When purchasing our wall mount kit, a detailed installation manual and all parts necessary for assembly are provided.
x
Do not use screws that do not comply with the VESA standard screw specifications.
x
Do not use screws longer than the standard dimension, as they may cause damage to the inside of the TV set.
x
For wall mounts that do not comply with the VESA standard screw specifications, the length of the screws may differ
depending on their specifications.
x
Do not fasten the screws too strongly, this may damage the product or cause the product to fall, leading to personal
injury. Samsung is not liable for these kinds of accidents.
x
Samsung is not liable for product damage or personal injury when a non-VESA or non-specified wall mount is used or
the consumer fails to follow the product installation instructions.
x
Do not exceed 15 degrees tilt when mounting this TV.
Product
inches VESA Spec. (A * B) Standard Screw Quantity
Family
19~22 75 X 75
M4
27 200 X 100
32~40 200 X 200
LED-TV
4
46~60 400 X 400
M8
65~75 600 X 400
Do not install your Wall Mount Kit while your TV is turned on. It may result in personal injury due to electric
shock.
[UD4000-BT]BN68-03420G.indb 14 2011-4-28 16:16:52

Troubleshooting
If the TV seems to have a problem, first try this list of possible problems and solutions. If none of these troubleshooting tips
apply, visit “www.samsung.com,” then click on Support, or call Samsung customer service centre.
Issues Solutions and Explanations
The TV will not turn on. • Make sure the AC power cord is securely plugged in to the wall outlet and the TV.
• Make sure the wall outlet is working.
• Try pressing the POWER button on the TV to make sure the problem is not the remote. If
the TV turns on, refer to “Remote control does not work” below.
There is no picture/video. • Check cable connections (remove and reconnect all cables connected to the TV and
external devices).
• Set your external device’s (Cable/Set top Box, DVD, Blu-ray etc) video outputs to match
the connections to the TV input. For example, if an external device’s output is HDMI, it
should be connected to an HDMI input on the TV.
• Make sure your connected devices are powered on.
• Be sure to select the TV’s correct source by pressing the SOURCE button on the remote
control.
• Reboot the connected device by reconnecting the device’s power cable.
The remote control does not work. • Replace the remote control batteries with the poles (+/–) in the right direction.
• Clean the sensor’s transmission window on the remote.
• Try pointing the remote directly at the TV from 5~6 feet away.
The cable/set top box remote control
• Program the Cable/Set top box remote control to operate the TV. Refer to the Cable/Set
doesn’t turn the TV on or off, or
user manual for the SAMSUNG TV code.
adjust the volume.
✎
You can keep your TV as optimum condition to upgrade the latest firmware on web site (samsung.com -> Support ->
Downloads) by USB.
✎
This TFT LED panel uses a panel consisting of sub pixels which require sophisticated technology to produce. However,
there may be a few bright or dark pixels on the screen. These pixels will have no impact on the performance of the
product.
Licence
List of Features
Excellent Digital Interface & Networking: With a built-in HD digital tuner, nonsubscription HD broadcasts can be viewed without
a cable box / STB (Set-Top-Box) satellite receiver.
My Downloads
Allows you to play music files, pictures, and movies saved on a USB device.
Anynet+(HDMI-CEC)
Allows you to control all connected Samsung devices that support Anynet+ with your Samsung TV’s remote.
English - 15
[UD4000-BT]BN68-03420G.indb 15 2011-4-28 16:16:53

Securing the TV to the Wall
Caution: Pulling, pushing, or climbing onto the TV may cause the TV to fall. In particular, ensure that your
children do not hang over or destabilize the TV; doing so may cause the TV to tip over, resulting in serious
injuries or death. Follow all safety precautions provided on the included Safety Flyer. For added stability, install
the anti-fall device for safety purposes, as follows.
To avoid the TV from falling
1. Put the screws into the clamps and firmly fasten them onto the
wall. Confirm that the screws have been firmly installed onto the
wall.
✎
You may need additional material such as an anchor
depending on the type of wall.
✎
Since the necessary clamps, screws, and string are not
supplied, please purchase these additionally.
2. Remove the screws from the centre back of the TV, put the
screws into the clamps, and then fasten the screws onto the TV
again.
✎
Screws may not be supplied with the product. In this case,
please purchase the screws of the following specifications.
✎
Screw Specifications
x
For a 19 Inch LED TV: M4
3. Connect the clamps fixed onto the TV and the clamps fixed onto
Wall
the wall with a strong string and then tie the string tightly.
✎
NOTE
x
Install the TV near to the wall so that it does not fall backwards.
x
It is safe to connect the string so that the clamps fixed on the wall are equal to or lower than the clamps fixed on
the TV.
x
Untie the string before moving the TV.
4. Verify all connections are properly secured. Periodically check connections for any sign of fatigue for failure. If you have any
doubt about the security of your connections, contact a professional installer.
Storage and Maintenance
✎
If you remove the attached sticker on the TV screen, clean the residues and then watch TV.
Do not spray water or a cleaning agent directly onto the
Clean the product with a soft cloth dapped in a small amount
product. Any liquid that goes into the product may cause a
of water.
failure, fire, or electric shock.
English - 16
[UD4000-BT]BN68-03420G.indb 16 2011-4-28 16:16:55

Specifications
Display Resolution 1360 X 768
Environmental Considerations
Operating Temperature
10°C to 40°C (50°F to 104°F)
Operating Humidity
10% to 80%, non-condensing
Storage Temperature
-20°C to 45°C (-4°F to 113°F)
Storage Humidity
5% to 95%, non-condensing
TV System Analogue: B/G, D/K, L, I (Depending on your country selection)
Digital: DVB-T/DVB-C
Colour/Video System Analogue: PAL, SECAM, NTSC-4.43, NTSC-3.58, PAL60
Digital: MPEG-2 MP@ML, MPEG-4, H.264/AVC MP@L3, MP@L4.0, HP@L4.0
Sound System BG, DK, L, NICAM, MPEG1, DD, DD+, HEAAC
HDMI IN Video: 1080 24p, 1080p, 1080i, 720p, 576p, 480p
Audio: 2Ch Linear PCM 32/44.1/48kHz, 16/20/24bits.
Model Name UE19D4000 / UE19D4010 / UE19D4020
Screen Size
19 inches
Sound
(Output)
3 W X 2
Dimensions (WxDxH)
Body
455.4 X 29.9 X 285.6 (mm)
With stand
455.4 X 144.8 X 339.5 (mm)
Weight
Without Stand
3.1 kg
With Stand
3.4 kg
✎
Design and specifications are subject to change without prior notice.
✎
For information about power supply, and more about power consumption, refer to the label attached to the product.
English - 17
[UD4000-BT]BN68-03420G.indb 17 2011-4-28 16:16:56

Další informace o použití Elektronické příručky (str.12)
Obrázky ailustrace vtéto uživatelské příručce slouží pouze pro informaci amohou se lišit od skutečného vzhledu výrobku.
Provedení aspecifikace výrobku se mohou změnit bez předchozího upozornění.
Důležité záruční informace týkající se formátu obrazu při sledování televizoru
1. Funkce spojené sdigitálním televizním vysíláním (DVB) jsou dostupné pouze vzemích/oblastech, kde jsou vysílány signály pozemního
digitálního vysílání DVB-T (MPEG2 a MPEG4 AVC) nebo kde je přístup ke kompatibilní službě kabelové televize DVB-C (MPEG2 a MPEG4
AAC). Ohledně příjmu signálů DVB-T nebo DVB-C kontaktujte svého místního prodejce.
2. DVB-T je evropský standard digitálního televizního vysílání přes pozemní vysílače a DVB-C je standard digitálního televizního vysílání vsítích
kabelových televizí. Vtěchto standardech však nejsou zahrnuty zvláštní služby, jako například EPG (Elektronický programový průvodce), VOD (Video-
On-Demand) adalší. Tyto služby proto nejsou vtuto chvíli podporovány.
3. Ačkoli tento televizor splňuje nejnovější standardy DVB-T a DVB-C kdatu [srpen, 2008], kompatibilitu sbudoucím pozemním digitálním
vysíláním DVB-T akabelovou televizí DVB-C nelze zaručit.
4. Vzávislosti na zemi nebo oblasti, ve které se nacházíte, mohou někteří poskytovatelé kabelového televizního vysílání za takovou službu vybírat
zvláštní poplatek amůže být třeba váš souhlas sjejich smluvními podmínkami.
5. Některé funkce digitální televize nemusí být vněkterých zemích dostupné aDVB-C nemusí uněkterých poskytovatelů služeb kabelové
televize fungovat správně.
6. Další informace získáte ve vašem středisku péče o zákazníky Samsung.
✎
Kvalita příjmu televizoru může být negativně ovlivněna rozdíly ve způsobu vysílání vrůzných zemích. Prověřte výkon televizoru umístního
autorizovaného prodejce společnosti SAMSUNG nebo vcentru telefonické podpory společnosti Samsung azjistěte, zda jej lze zlepšit
změnou konfigurace nastavení televizoru.
Upozornění týkající se statických obrázků
Nezobrazujte na obrazovce statické obrázky (např. obrazové soubory JPEG) nebo statické obrazové prvky (např. logo televizního programu,
panoramatický formát obrazu nebo formát 4:3, informační pruh scenami akcií nebo se zprávami ve spodní části obrazovky atd.). Dlouhodobé
zobrazování statických obrazů může na obrazovce LED způsobit zbytkový obraz anepříznivě tak ovlivnit kvalitu obrazu. Abyste snížili riziko vzniku
tohoto jevu, postupujte podle níže uvedených doporučení:
• Nezobrazujte po delší dobu stejný televizní kanál.
• Vždy se obraz snažte zobrazit na celou obrazovku. Použijte nabídku pro nastavení formátu televizního obrazu anastavte nejbližší možný
formát.
• Snižte hodnoty jasu akontrastu na minimum nutné pro dosažení požadované kvality obrazu. Nadměrné hodnoty mohou urychlit vznik
zbytkového obrazu.
• Používejte často všechny funkce televizoru určené pro zkrácení doby zobrazení stejného obrazu apro snížení rizika vytváření zbytkového
obrazu. Podrobné údaje naleznete vpříslušné části uživatelské příručky.
Zabezpečení prostoru instalace
Zajistěte potřebnou vzdálenost mezi výrobkem ajinými objekty (např. zdmi), aby byla umožněna dostatečná ventilace.
Vopačném případě může dojít kpožáru nebo problémům svýrobkem vdůsledku zvýšení teploty uvnitř výrobku.
✎
Při použití stojanu nebo při montáži na zeď používejte pouze díly společnosti Samsung Electronics.
• Použijete-li díly jiného výrobce, může dojít kpotížím svýrobkem nebo ke zranění způsobenému jeho pádem.
✎
Vzhled se může lišit vzávislosti na modelu.
✎
Při kontaktu stelevizorem buďte opatrní, některé části mohou být horké.
Instalace se stojanem. Instalace sdržákem na zeď.
10 cm
10 cm
10 cm10 cm
10 cm
10 cm
10 cm
Správná likvidace tohoto výrobku (odpady zelektrických aelektronických zařízení)
(Platí vEvropské unii avdalších evropských zemích se zavedenými systémy třídění odpadu.)
Toto označení na výrobku, na příslušenství avtištěných materiálech znamená, že by se tento výrobek ajeho elektronická příslušenství
(např. nabíječka, sluchátka či kabel USB) na konci životnosti neměly likvidovat společně sjiným domovním odpadem. Oddělením od
jiných druhů odpadu azodpovědnou recyklací podpoříte trvale udržitelné opakované využití materiálních zdrojů, zabráníte znečištění
životního prostředí nebo poškození zdraví způsobenému neřízenou likvidací odpadu. Domácí uživatelé by měli kontaktovat buď
maloobchodního prodejce, ukterého tento výrobek zakoupili, nebo úřad místní správy, avyžádat si informace otom, kam ajak
mohou tyto jednotky dopravit za účelem recyklace bezpečné pro životní prostředí. Firemní uživatelé by se měli obrátit na svého
dodavatele azkontrolovat podmínky kupní smlouvy. Tento výrobek ajeho elektronická příslušenství by neměla být slučována sjiným
hospodářským odpadem.
Správná likvidace baterií vtomto výrobku
(Platí vEvropské unii avdalších evropských zemích se zavedenými systémy samostatného sběru baterií.)
Toto označení na baterii, vpříručce nebo na obalu znamená, že by baterie na konci své životnosti neměla být likvidována společně
sjiným domovním odpadem. Označení chemickými symboly Hg, Cd nebo Pb znamená, že baterie obsahuje vyšší úroveň rtuti,
kadmia nebo olova, než určuje směrnice ES2006/66. Pokud nebudou baterie vhodně zlikvidovány, tyto látky mohou poškozovat
zdraví nebo životní prostředí. Vzájmu ochrany přírodních zdrojů aopětovného použití materiálů vás žádáme, abyste oddělili baterie od
ostatních typů odpadu arecyklovali je vrámci místního systému recyklace baterií.
Čeština– 2
[UD4000-BT]BN68-03420G.indb 2 2011-4-28 16:16:57

Příslušenství
✎
Přesvědčte se, zda jste obdrželi spolu stelevizorem všechny následující položky. Pokud některé položky chybí, obraťte se na prodejce.
✎
Barva atvar výrobku se mohou ujednotlivých modelů lišit.
✎
Kabely, které nejsou zahrnuty do obsahu balení, lze zakoupit samostatně.
UPOZORNĚNÍ: KONEKTORY ŘÁDNĚ ZAPOJTE TAK, ABY SE OD ZAŘÍZENÍ NEODPOJILY
y Dálkový ovladač abaterie (AAA x 2)
y Napájecí kabel
y Návod kpoužití
y Čisticí textilie
y Záruční list / Bezpečnostní příručka (vněkterých zemích nejsou dostupné)
y Adaptér Component/AV y Adaptér Scart y Adaptér karet CI Card
✎
Správní poplatek bude účtován vpřípadě, že
(a) je na vaši žádost přivolán technik a na výrobku není odhalena žádná závada
(např. když jste řádně nenastudovali uživatelskou příručku),
(b) přinesete výrobek do opravárenského střediska ana výrobku není odhalena žádná závada
(např. když jste řádně nenastudovali uživatelskou příručku).
✎
Výše takového správního poplatku vám bude oznámena před tím, než bude provedena jakákoli práce nebo než dojde
knávštěvě technika.
Čeština– 3
[UD4000-BT]BN68-03420G.indb 3 2011-4-28 16:16:57

Seznámení sovládacím panelem
✎
Barva itvar výrobku mohou být různé vzávislosti na modelu.
Ovládací panel
Reproduktory
Snímač dálkového ovladače Zaměřte dálkový ovladač na tento bod na televizoru.
Indikátor napájení Blikne azhasne při zapnutí napájení asvítí vpohotovostním režimu.
SOURCE
E
Přepíná mezi všemi dostupnými vstupními zdroji. Toto tlačítko používejte vnabídce na
obrazovce stejným způsobem, jako tlačítko ENTER
E
na dálkovém ovladači.
MENU Slouží kzobrazení nabídky na obrazovce (OSD) sfunkcemi televizoru.
Y
Slouží knastavení hlasitosti. Vnabídce na obrazovce lze tlačítka
Y
použít
stejným způsobem jako tlačítka ◄ a ► na dálkovém ovladači.
z
Slouží kpřepínání kanálů. Vnabídce na obrazovce používejte tlačítka
z
stejným způsobem jako tlačítka ▼ a ▲ na dálkovém ovladači.
P
(Napájení)
Slouží kzapnutí či vypnutí televizoru.
Pohotovostní režim
Nenechávejte televizor vpohotovostním režimu delší dobu (například po dobu dovolené). Ivpřípadě, kdy je přístroj tlačítkem
napájení vypnutý, stále spotřebovává malé množství energie. Nejlepší je odpojit napájecí kabel.
Čeština– 4
[UD4000-BT]BN68-03420G.indb 4 2011-4-28 16:16:58

