ASRock 990fx extreme9: 1. 主機板簡介
1. 主機板簡介: ASRock 990fx extreme9

1. 主機板簡介
謝謝你採用了
990FX Extreme9
主機板 , 本主機板由華擎嚴格製造 , 品質可靠 , 穩定
性好 , 能夠獲得卓越的性能。此快速安裝指南包括了主機板介紹和分步驟安裝指導。
您可以查看支持光碟裡的使用手冊了解更詳細的資料。
由於主機板規格和 BIOS 軟體將不斷更新 , 本手冊之相關內容變更恕不另
行通知。請留意華擎網站上公布的更新版本。你也可以在華擎網站找到最
新的顯示卡和 CPU 支援列表。
華擎網址:http://www.asrock.com
如果您需要與此主機板有關的技術支援 , 請參觀我們的網站以了解您使用
機種的規格訊息。
www.asrock.com/support/index.asp
1.1 包裝盒內物品
990FX Extreme9
主機板 (ATX 規格 )
990FX Extreme9
快速安裝指南
990FX Extreme9
支援光碟
一張華擎 SLI_Bridge_2S 卡
一張華擎 3-Way SLI-2S1S Bridge 卡
六條 Serial ATA(SATA) 數據線 ( 選配 )
兩條 Serial ATA(SATA) 硬碟電源線 ( 選配 )
一塊 I/O 擋板
一個包含 2.5 吋傳統硬碟/固態硬碟架的前置 USB 3.0 面板
四個硬碟螺絲
六個機殼螺絲
一個後USB 3.0托架
ASRock提醒您...
®
TM
TM
若要在Windows
8 / 8 64位元 / 7 / 7 64位元 / Vista
/ Vista
64位
元中發揮更好的效能,建議您將儲存裝置組態中的BIOS選項設為AHCI模
式。有關BIOS設定的詳細資訊,請參閱支援光碟中的「使用者手冊」。
繁體中文
177
ASRock 990FX Extreme9 Motherboard

1.2 主機板規格
架構 - ATX 規格
- 頂級黃金電容器設計(百分百日本製造的高品質導電高分子電
容器)
- 多重濾波電容 (MFC)(以 3 種電容過濾不同的雜訊:DIP 固態
電容、POSCAP 及 MLCC)
處理器 - 支援 Socket AM3+ 處理器
TM
- 支援 Socket AM3 處理器 : AMD Phenom
II X6 / X4 /
X3 / X2(920 / 940 除外 ) / Athlon II X4 / X3 / X2
/ Sempron 處理器
- 八核心 CPU 就緒
- 支援 UCC (Unlock CPU Core)
- Digi 電源設計
- 高級 12 + 2 電源相位設計
- 雙堆疊 MOSFET (DSM)
- 支援高達 140W 的 CPU
- 支援 AMD Cool ‘n’ Quiet 冷靜技術
- 支援 FSB 2600 MHz (5.2 GT/s)
- 支援非同步超頻技術
- 支援 Hyper-Transport 3.0 (HT 3.0) 技術
晶片組 - 北橋 : AMD 990FX
- 南橋 : AMD SB950
系統記憶體 - 支援雙通道記憶體技術
- 4 個 DDR3 DIMM 插槽
- 支援 DDR3 2450( 超頻 )/2100( 超頻 )/1600/1333/1066
non-ECC、un-buffered 記憶體
- 系統最高支援 64GB 容量
®
- 支援 Intel
Extreme Memory Profile(XMP)1.3/1.2
- 支援 AMD Memory Profile(AMP)
擴充插槽 - 4 x PCI Express 2.0 x16 插槽 (PCIE1: x16 模式、PCIE3:
x4 模式、PCIE4/PCIE5:單個 x16 (PCIE4) / x8 (PCIE5) 或
兩個 x8/x8 模式 )
- 1 x PCI Express 2.0 x1 插槽
繁體中文
- 1 x PCI 插槽
TM
TM
- 支援 AMD Quad CrossFireX
、3-Way CrossFireX
和
TM
CrossFireX
®
TM
TM
TM
- 支援 NVIDIA
Quad SLI
、3-Way SLI
和 SLI
技術
音效 - 7.1 聲道高清晰音效 , 支援內容保護功能
(Realtek ALC898 音效編解碼器 )
- 支援高級藍光音效
178
ASRock 990FX Extreme9 Motherboard

網路功能 - PCIE x1 Gigabit LAN 10/100/1000 Mb/s
®
- Intel
82583V
- 支援網路喚醒(Wake-On-LAN)
- 支援預先開機執行環境(PXE)
Rear Panel I/O I/O 界面
( 後背板輸入 / - 1 個 PS/2 滑鼠接口
輸出接口 ) - 1 個 PS/2 鍵盤接口
- 1 個同軸 SPDIF 輸出接口
- 1 個光纖 SPDIF 輸出接口
- 4 個可直接使用的 USB 2.0 接口
- 4 個可直接使用的 USB 3.0 接口
- 2 個 eSATA3 接口
- 1 個 RJ-45 區域網接口與 LED 指示燈 (ACT/LINK LED 和
SPEED LED)
- 1 個 IEEE 1394 接口
- 1 個 CMOS 數據清除開關
- 高清晰音效插孔:側置喇叭 / 後置喇叭 / 中置喇叭 /
低音喇叭 / 音效輸入 / 前置喇叭 / 麥克風
SATA3 - 6 x AMD SB950 SATA3 6.0Gb/s 接頭,支援 RAID (RAID 0,
RAID 1, RAID 0+1, JBOD 和 RAID 5), NCQ, AHCI 和熱插拔功
能
- 2 x ASMedia ASM1061 SATA3 6.0Gb/s 接頭,支援 NCQ, AHCI
和熱插拔功能
USB 3.0 - 4 x Etron EJ188H的後置USB 3.0接頭,支援USB 1.1/2.0/3.0
到 5Gb/s
- 2 x Etron EJ188H 的前置 USB 3.0 接頭 ( 支援 4 個 USB 3.0
接頭 ),支援 USB 1.1/2.0/3.0 到 5Gb/s
接頭 - 8 x SATA3 6.0Gb/s 接頭
- 1 x 紅外線模組接頭
- 1 x 消費性紅外線模組插座
- 1 X 序列埠
- 1 x IEEE 1394 接頭
- 1 x 電源指示燈接頭
- 2 x CPU 風扇接頭 (1 x 4 針 , 1 x 3 針 )
- 3 x 機箱風扇接頭 (1 x 4 針 , 2 x 3 針 )
- 1 x 電源風扇接頭 (3 針 )
- 24 針 ATX 電源接頭
繁體中文
- 8 針 12V 電源接頭 ( 高密度電源接頭 )
- 前置音效接頭
- 2 x USB 2.0 接口 ( 可支援 4 個額外的 USB 2.0 接口 )
179
ASRock 990FX Extreme9 Motherboard

- 2 x USB 3.0 接口 ( 可支援 4 個額外的 USB 3.0 接口 )
- 1 x Dr. Debug (7 段顯示器偵錯 LED)
- 1 個 LED 電源開關
- 1 個 LED 重置開關
BIOS - 32Mb AMI UEFI Legal BIOS ( 支援 GUI)
- 支援即插即用(Plug and Play,PnP)
- ACPI 1.1 電源管理喚醒功能
- 支援 jumperfree 免跳線模式
- 支援 SMBIOS 2.3.1
- CPU,VCCM,NB,SB 電壓多功能調節器
支援光碟 - 驅動程式、工具軟體、防毒軟體(試用版本 )、CyberLink
MediaEspresso 6.5 試用版、Google Chrome Browser 和
Toolbar
硬體監控器 - CPU 溫度偵測
- 主板溫度偵測
- CPU/ 機箱 / 電源風扇轉速計
- CPU/ 機箱靜音風扇
- CPU/ 機箱 / 電源風扇多速控制
- 電壓範圍:+12V, +5V, +3.3V, 核心電壓
®
®
TM
操作系統 - Microsoft
Windows
8/8 64 位元 /7/7 64 位元 /Vista
/
TM
Vista
64 位元 /XP/XP 64 位元
認證 - FCC, CE, WHQL
- 支援 ErP/EuP( 需要同時使用支援 ErP/EuP 的電源供應器 )
* 請參閱華擎網站了解詳細的產品訊息 : http://www.asrock.com
繁體中文
180
ASRock 990FX Extreme9 Motherboard

1.3 跳線設置
插圖所示的就是設置跳線的方法。當跳線
帽放置在針腳上時 , 這個跳線就是“短
接”。如果針腳上沒有放置跳線帽 , 這個
跳線就是“開路”。插圖顯示了一個 3 針
腳的跳線 , 當跳線帽放置在針腳 1 和針腳 2
之間時就是“短接”。
接腳 設定
清除 CMOS
(CLRCMOS1, 3 針腳跳線 )
( 見第 2 頁第 29 項 )
默認設置
清除 CMOS
註:
CLRCMOS1 可供您清除 CMOS 中的資料。若要清除及重設系統參數並恢復為預設設
定,請先關閉電腦電源,並從電源插座中拔下電源線,等待 15 秒鐘之後,使用跳
線帽使 CLRCMOS1 的 pin2 及 pin3 短路 5 秒的時間。但請勿於更新 BIOS 後立即清除
CMOS。如需於更新 BIOS 後立即清除 CMOS,您必須先開機再關機,然後再執行 CMOS
清除操作。請注意,只有在移除 CMOS 電池的情況下,密碼、日期、時間、使用者
預設設定檔、1394 GUID 及 MAC 位址才會清除。
Clear CMOS開關的功能與Clear CMOS跳線相同。
繁體中文
181
ASRock 990FX Extreme9 Motherboard

1.4 接頭
此類接頭是不用跳線帽連接的,請不要用跳線帽短接這些接頭。
跳線帽不正確的放置將會導致主機板的永久性損壞 !
接頭 圖示 說明
Serial ATA3 接口 這裡有八組 Serial ATA3
(SATA3_1_2: 見第 2 頁第 18 項 )
(SATA3) 接口支援 SATA 數據
(SATA3_3_4: 見第 2 頁第 17 項 )
線作為內部儲存設置。
(SATA3_5_6: 見第 2 頁第 16 項 )
目前 SATA3 界面理論上
(SATA3_A1_A2: 見第 2 頁第 15 項 )
可提供高達 6.0Gb/s 的數據
傳輸速率。
SATA3_1 SATA3_3 SATA3_5 SATA3_A1
SATA3_2 SATA3_4 SATA3_6 SATA3_A2
Serial ATA (SATA) SATA 數據線的任意一端均可
數據線 連接 SATA3 硬碟或者主機板上的
( 選配 )
SATA3 接口。
Serial ATA (SATA) 請將 SATA 電源線黑色的一端
電源線 連接到 SATA 驅動器的電源接
( 選配 )
口。然後將 SATA 電源線白色
的一端連接到電源適配器的
連接到 SATA 硬碟
電源接口
電源接口。
連接到電源
適配器
USB 2.0 擴充接頭 除了位於 I/O 面板的四個
(9 針 USB4_5)
USB 2.0 接口之外,這款
( 見第 2 頁第 26 項 )
繁體中文
主機板有兩組 USB 2.0 接
針。每組 USB 2.0 接針可以
支援兩個 USB 2.0 接口。
(9 針 USB6_7)
( 見第 2 頁第 25 項 )
182
ASRock 990FX Extreme9 Motherboard

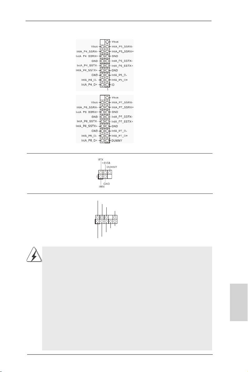
USB 3.0 擴充接頭 除了位於 I/O 面板的四個
(19 針 USB3_4_5)
USB 3.0 接口之外,這款
( 見第 2 頁第 12 項 )
主機板有兩組 USB 3.0 接
針。每組 USB 3.0 接針可以
支援兩個 USB 3.0 接口。
(19 針 USB3_6_7)
( 見第 2 頁第 11 項 )
紅外線模組接頭 這個接頭支援一個選配的模
(5 針 IR1)
組 , 可用來無線傳輸和接收紅
( 見第 2 頁第 32 項 )
外線。
前置音效接頭 可以方便連接音效設備。
GND
P RESENCE#
(9 針 HD_AUDIO1)
M IC_RET
OUT_RET
( 見第 2 頁第 34 項 )
1
O UT2_L
J _SENSE
O UT2_R
M IC2_R
M IC2_L
1. 高清晰音效 (High Definition Audio, HDA) 支援智能音效接口檢測功能
(Jack Sensing), 但是機箱面板的連線必須支持 HDA 才能正常使用。請按我
們提供的手冊和機箱手冊上的使用說明安裝您的系統。
2. 如果您使用 AC’97 音效面板 , 請按照下面的步驟將它安裝到前面板音效接針 :
A. 將 Mic_IN(MIC) 連接到 MIC2_L。
B. 將 Audio_R(RIN) 連接到 OUT2_R, 將 Audio_L(LIN) 連接到
OUT2_L。
C. 將 Ground(GND) 連接到 Ground(GND)。
D. MIC_RET 和 OUT_RET 僅用於 HD 音效面板。您不必將它們連接到
AC’97 音效面板。
繁體中文
E. 開啟前置麥克風。
®
在 Windows
XP / XP 64 位元作業系統中 :
選擇”Mixer”。選擇”Recorder”。接著點選”FrontMic”。
®
TM
TM
在 Windows
8 / 8 64 位元 / 7 / 7 64 位元 / Vista
/ Vista
64
位元作業系統中 :
183
ASRock 990FX Extreme9 Motherboard

在 Realtek 控制面板中點選”FrontMic”。調整”Recording
Volume”。
系統面板接頭 可接各種不同燈,電源開關及
(9 針 PANEL1)
重啟鍵等各種連線。
( 見第 2 頁第 28 項 )
請根據下面的腳位說明連接機箱上的電源開關、重開按鈕與系統狀
態指示燈到這個接頭。請先注意針腳的正負極。
PWRBTN( 電源開關 ):
連接機箱前面板的電源開關。您可以設定用電源鍵關閉系統的方式。
RESET( 重開開關 ):
連接機箱前面板的重開開關。當電腦當機且無法正常重新啟動時 , 可
按下重開開關重新啟動電腦。
PLED( 系統電源指示燈 ):
連接機箱前面板的電源狀態指示燈。當系統運行時 , 此指示燈亮起。
當系統處於 S1 待命模式時 , 此指示燈保持閃爍。當系統處於 S3/S4 待
命模式或關機 (S5) 模式時 , 此指示燈熄滅。
HD LED( 硬碟活動指示燈 ):
連接機箱前面板的硬碟動作指示燈。當硬碟正在讀取或寫入數據時 ,
此指示燈亮起。
前面板設計因機箱不同而有差異。前面板模組一般由電源開關、
重開開關、電源指示燈、硬碟活動指示燈、喇叭等構成。將您的機
箱前面板連接到此接頭時 , 請確認連接線與針腳上的說明相對應。
機箱喇叭接頭 請將機箱喇叭連接到這個接
(4 針 SPEAKER1)
頭。
( 見第 2 頁第 19 項 )
電源指示燈接頭 請將機箱電源指示燈連接到
繁體中文
(3 針 PLED1)
此接頭,以指示系統電源狀
( 見第 2 頁第 30 項 )
態。當系統正在運行時,
LED 指示燈亮。在 S1 模式
下,LED 指示燈會不停閃
爍。在 S3/S4 或 S5 模式 ( 關
機 ) 下,LED 指示燈會熄滅。
184
ASRock 990FX Extreme9 Motherboard

機箱 , 電源風扇接頭 請將風扇連接線接到這個接
(4 針 CHA_FAN1)
頭,並讓黑線與接地的針腳
( 見第 2 頁第 20 項 )
相接。CHA_FAN1/2/3 可由 UEFI
或 AXTU 設定。
(3 針 CHA_FAN2)
( 見第 2 頁第 6 項 )
(3 針 CHA_FAN3)
( 見第 2 頁第 24 項 )
(3 針 PWR_FAN1)
( 見第 2 頁第 9 項 )
CPU 風扇接頭 請將 CPU 風扇連接線接到這個
FAN_S PEED_CONTROL
(4 針 CPU_FAN1)
CPU_FAN_SPEED
接頭,並讓黑線與接地的針腳
+ 12V
( 見第 2 頁第 4 項 )
相接。
GND
1 2 3 4
雖然此主板支持 4-Pin CPU 風扇 (Quiet Fan, 靜音風扇 ), 但是沒有調速功能的
3-Pin CPU 風扇仍然可以在此主板上正常運行。如果您打算將 3-Pin CPU 風扇
連接到此主板的 CPU 風扇接口 , 請將它連接到 Pin 1-3。
Pin 1-3 連接
3-Pin 風扇的安裝
(3 針 CPU_FAN2)
GND
+ 12V
( 見第 2 頁第 5 項 )
CPU_FAN_SPEED
ATX 電源接頭 請將 ATX 電源供應器連接到這
12
24
(24 針 ATXPWR1)
個接頭。
( 見第 2 頁第 10 項 )
1
13
雖然此主機板提供 24-pin ATX 電源接口 , 但是您仍然可以使
12
24
用傳統的 20-pin ATX 電源。為了使用 20-pin ATX 電源 , 請順
著 Pin 1 和 Pin 13 插上電源接頭。
繁體中文
20-Pin ATX 電源安裝說明
1
13
185
ASRock 990FX Extreme9 Motherboard

ATX 12V 電源接口 請注意,必需將帶有 ATX 12V
8 5
(8 針 ATX12V1)
插頭的電源供應器連接到這個
4 1
( 見第 2 頁第 1 項 )
插座,這樣就可以提供充足的
電力。如果不這樣做,就會導
致供電故障。
雖然此主機板提供 8-pin ATX 12V 電源接口 , 但是您仍然可以使用傳統的
4-pin ATX 12V 電源。為了使用 4-pin ATX 12V 電源 , 請
8 5
順著 Pin 1 和 Pin 5 插上電源接頭。
4-Pin ATX 12V 電源安裝說明
4 1
IEEE 1394 接口 除了位於 I/O 面板的一個默
RXTPAM_0
GND
(9 針 FRONT_1394)
認 IEEE 1394 接口之外,這
R XTPBM_0
+ 12V
( 見第 2 頁第 33 項 )
GND
款主機板有一組 IEEE 1394
接針。這組 IEEE 1394 接針
1
+ 12V
可支援一個 IEEE 1394 接口。
R XTPBP_0
GND
RXTPAP_0
序列埠 這個序列埠 COM1 支援一個序
(9 針 COM1)
列埠的裝置。
( 見第 2 頁第 31 項 )
消費性紅外線模組插座 此插座可用於連接遙控器。
(4 針 CIR1)
( 見第 2 頁第 27 項 )
繁體中文
186
ASRock 990FX Extreme9 Motherboard

前USB 3.0面板安裝指南
步驟 1
備妥搭售的 USB 3.0 前面板、四顆硬碟螺絲
步驟 2
用四顆硬碟螺絲,將 2.5”硬碟/
及六顆機殼螺絲。
固態硬碟鎖至 USB 3.0 前面板上。
步驟 3
將前USB 3.0面板裝入底座的 2.5 吋磁碟機槽
步驟 4
用六顆機殼螺絲,將 USB 3.0
中。
前面板鎖至硬碟槽內。
步驟 5
將前USB 3.0纜線插入主機板上的USB 3.0座
步驟 6
前USB 3.0面板隨即可供使用。
(USB3_4_5或USB3_6_7)。
後USB 3.0托架安裝指南
步驟 1
鬆開前USB 3.0面板上的兩顆螺絲。
步驟 2
將USB 3.0纜線和後USB 3.0托
架放在一起。
步驟 3
將兩顆螺絲鎖回後USB 3.0托架。
步驟 4
將後USB 3.0托架放入底座中。
繁體中文
187
ASRock 990FX Extreme9 Motherboard
Table of contents
- Motherboard Layout
- I/O Panel
- 1. Introduction
- 2. Installation
- 3. BIOS Information
- 1. Einführung
- 2. BIOS-Information
- 1. Introduction
- 2. Informations sur le BIOS
- 1. Introduzione
- 2. Informazioni sul BIOS
- 1. Introducción
- 2. BIOS Información
- 1. Введение
- 2. Информация о BIOS
- 1. Introdução
- 2. Informações da BIOS
- 1. Giriş
- 2. BIOS Bilgileri
- 1. 제품소개
- 2. 시스템 바이오스 정보
- 1. 主板簡介
- 2. BIOS 信息
- 1. 主機板簡介
- 2. BIOS 訊息
- 1. Penjelasan
- Installing OS on a HDD Larger Than 2TB






